ICS 7k100.99
G 71
GB 29518—2013
DieSeI engines NOX reduction agent—AqUeOUS Urea SOlUtiOn (AUS 32)
(ISO 22241-1 :2006,DieSeI engines一NOr reduction agent AUS 32一
Part 1:QUality requirements; ISO 22241 2:2006,DieSel engines—N∩x reduction
agent ΛUS 32—Part 2:TeSt methods; ISO 22241-3:2008JDieSel engines—
NoX reduction agent AUS 32一一Part 3: HandIing J tansportation and storage, MoD)
2013-05-07 ^ 布
2013-07-01 实施
附录A (规范性附录)AUS 32中的尿素含量的测定(总氮法)
附录G (规范性附录)AUS 32中金属含量的测定(电感耦合等离子发射光谱法)
附录H (规范性附录)傅里叶红外光谱仪检测AUS 32的一致性
附录M (资料性附录)本标准与ISO 22241相比的结构变化情况
附录N (资料性附录)本标准与ISO 22241的技术性差异及其原因
ɪ.
刖 舌
本标准的第4章和第5章为强制性的,其余为推荐性的。
本标准按照GB/T 1. 1-2009给出的规则起草。
本标准使用重新起草法修改采用ISO 22241-1:2006(柴油发动机氮氧化物还原剂AUS 32第1 部分:质最要求》、ISO 22241-2:2006«柴油发动机氮氧化物还原剂AUS 32第2部分:试验方法》和 ISO 22241-3:2008«柴油发动机氮氧化物还原剂AUS 32第3部分:处理、运输和储存K
本标准与ISO 22241-1:2006 JSO 22241-2:2006和ISO 22241-3:2008相比结构上有较多调整,附 录M中列岀了本标准与ISO 22241-1:2006 JSO 22241-2:2006和ISO 22241-3:2008的章条编号对照 —览表。
本标准与 ISO 22241-1: 2006、ISo 22241-2:2006 和 ISO 22241-3: 2008 相比存在技术性差异, 附录N中给出了相应技术性差异及其原因一览表。
本标准由中华人民共和国环境保护部提出。
本标准由全国石油产品和润滑剂标准化技术委员会石油燃料和润滑剂分技术委员会(SAC/ TC 280/SC 1)归口。
本标准起草単位:中国石化销售有限公司华北分公司、中国环境科学研究院、中国石油化工股份有 限公司润滑油分公司、中国环境科学研究院、中国石油销售分公司、中国石油兰州润滑油研究开发中心、 四川美丰化工股份有限公司。
本标准主要起草人:张新昌、赵扬、耿立波、郝春晓、顾惠明、李爽、王永红、陶家明。
1范围
本标准规定了柴油发动机氮氧化物还原剂——尿素水溶液(AUS 32)的术语和定义、标识、技术要 求和试验方法、检验规则、标志、包装、运输和贮存,并对该产品的加注接口做出了推荐要求。
本标准适用于柴油车选择性催化还原系统用氮氧化物还原剂-尿素水溶液(AUS 32)。
2规范性引用文件
下列文件对于本文件的应用是必不可少的。凡是注日期的引用文件,仅注H期的版本适用于本文 件。凡是不注日期的引用文件,其最新版本(包括所有的修改单)适用于本文件。
GB/T 601化学试剂标准滴定溶液的制备
GB/T 614 化学试剂 折光率测定通用方法(GB/T 614—2006,1SO 6353-1 : 1982,NEQ)
GB/T 1884 原油和液体石油产品密度实验室测定法(密度计法)(GB∕T 1884 20。0,CqV ISO 3675:1998)
GB/T 1885 石油计量表(GB/T 1885—1998,eqv ISO 91-2: 1991)
GB/T 6682 分析实验室用水规格和试验方法(GB/T 6682—2008,1So 3696: 1987,MoD)
SH/T 0604 原油和石油产品密度测定法(U形振动管法)(SH/T 0604 2000,eqv ISO 12185 = 1996)
ISO 4259 石油产品试验方法 精密度数据确定法(PetrOIeUn) PrOdUCtS—DeterminatiOn and application Of PreCiSiOn data in relation to methods Of test)
ISO 9020色漆和淸漆用黏合剂 胺类树脂的自由甲醛含量的测定 亚硫酸钠滴定法(BinderS for PaintS and VarniSheS—DeterminatiOn Of free-formaIdehyde COntent Of amino TeSinS—SOdiUnl SUlfite titrimetric method)
3术语和定义
下列术语和定义适用于本文件。
3. 1
选择性催化还原系统 SeIeCtiVe CatalytiC reduction SyStemJSCR
安装在柴油发动机排气系统中,通过注入还原剂,将排气中的氮氧化物催化还原成気气和水的催化 转化装置。
3.2
AUS 32 安用尿素 Urea for AUS 32
工业上生产的只含有痕最缩二脈、氨和水的尿素,不含醛和其他物质(如抗结块剂),不含硫和硫化 物、氣化物、硝酸盐和其他化合物。
注:对于上述所提到的污染物,在尿素生产过程中都会产生影响,要严格控制含蛍及测试方法,作为农业生产用的 尿素通常都含有上述化合物•
3.3
纯水 pare Water
用单次蒸馋、去离了化、超滤或反渗透等方法制取的符合GB/T 6682规定的三级水。
3∙4
氮氧化物还原剂---尿素水溶液(AUS 32) NOX redaction agent—AqUeOUS Urea SOIUtiOn(AUS 32)
用不含其他任何添加物(如3. 2所示)的AUS 32专用尿素与纯水一起配制的水溶液,该溶液中尿 素含量为32∙5%(质最分数),并符合第5章所规定的技术要求,简称AUS 320
注:符合表1要求的示踪剂可作为添加物.
4标识
符合本标准的AUS 32的加注泵和容器上应具有下列标识:
AUS 32 GB 29518
5技术要求和试验方法
柴油发动机氮氧化物还原剂——尿素水溶液(AUS 32)的技术要求和试验方法见表Ie
表1柴油发动机氮氧化物还原剂一尿素水溶液(AUS 32)技术要求和试验方法
|
__________项目 |
质量指标 |
试验方法 | ||
|
尿索含信•(质髭分数)/% |
3】・8〜33.2 |
附录Ad | ||
|
密度b(20 p)/(kg/n?) |
1 087.0-1 093.0 |
SH/T 0604β | ||
|
折光率。20 |
1.381 4 〜1.384 3 |
GB/T 614 | ||
|
碱度(以NH3计)(质量分数)/% |
不大于 |
0.2 |
附录B | |
|
石R(质荡数)/% |
_ 不大于 |
0.3 |
__附-C | |
|
醛类(以 HCH0计)∕(mg∕kg) |
不大于 |
5 |
附录D | |
|
不溶物/(mg/kg)______ |
不大于 |
20 |
附录E | |
|
磷酸盐(以PO4计)∕(mg∕kg) |
不大于 |
0.5 |
_ 附录F | |
|
钙/(mg/kg) |
不大于 |
0.5 | ||
|
铁/(mg/kg) |
不大于 |
0.5 | ||
|
杂质含最 |
铜/(mg/kg) |
不大于 |
・0.2 | |
|
锌/(mg/kg) |
不大于 |
0.2 | ||
|
信/(mg/kg) |
不大于 |
0.2 |
附录G | |
|
镣/(mg/kg) |
不大于 |
0.2 | ||
|
铝/(mg/kg) |
不大于 |
0.5 | ||
|
镁/(mg/kg) |
不大于 |
0.5 | ||
|
钠 /(mg/kg) |
不大于 |
0.5 | ||
|
钾/(mg/kg) |
不大于 |
0.5 | ||
|
一致性确认_____________________________ |
与参考谐图二j一 |
附录H | ||
|
注:如果有必要向AUS 32中添加示踪剂,应保证示踪剂不影响AUS 32满足本表中的技术要求,也不会损害 | ||||
|
SCR系统。 | ||||
|
厂目标值32∙5%(质员分数). ■目标值 1 090. 0 kg∕τn3 β C目标值1.382 9. d计算时未从氮中扣除氨. | ||||
|
,也可使用GB/T 1884和GB/T 1885,对结果有异议时,以SH/T 0604 |
为仲裁方法L | |||
6检验规则
6.1检验项目及分类
本产品检验分为出厂检验和型式检验"
6. 1. 1 出厂检验
出厂检验包括出厂批次捡验和出厂周期检验。
出厂批次检验项目为尿素含量、密度、碱度、缩二脈。
本产品在原材料和工艺条件没有发生可影响产品质量变化时,出厂周期检验项y :醛类、磷酸盐、不 溶物、折光率、一致性确认、钙、铁、铜、锌、铭、镣、铝、镁、钠、钾含量,每月检测一次。
6.1.2型式检验
型式检验项目为第5章所规定的所有项目。
在下列情况下进行型式检验:
a) 新产品投产或产品定型鉴定;
b) 原料来源或生产工艺发生变化;
¢)出厂检验结果与上次型式检验结果有较大差异。
6.2组批
在原料、工艺不变的条件下,产品每生产一釜或-健为一批。
6.3取样
按照附录I的规定取样,取样量应包括保留样品备查的量。
6.4判定规则
出厂检政的结果全部符合表1中的技术要求时,则判定该批产品合格。
6.5复检规则
如果出厂检验的结果中有不符合表1所规定的要求时,则按照6. 3规定自同批产品中重新抽取双 倍样品对不合格项目进行复检。若复检结果仍然不符合指标,则判定该批产品不合格。
7标志、包装、运输和储存
7. 1标志
盛装AUS 32的容器应标志清整,至少应包括以下内容:
a) 产品名称、包装规格、产品标准粲号;
b) 产品的出厂日期;
C)生产厂名、地址、联系方式I
d)防雨、防晒、储存温度(一5 C〜25 P)、向上标志。
7.2包装
包装材料不得影响AUS 32的质量,应按照附录J中的规定选择包装材料。
7.3运输和储存
按照附录J的规定运输和储存。
8加注接口
参照附录K和附录L的规定。
附录A
(规范性附录)
AUS 32中的尿素含昼的测定(总氮法)
A. 1范围
本附录规定了总氮法测量AUS 32中尿素含量的方法。
本方法适合检测尿素含量在30.0%〜35.0%(质髭分数)的尿素水溶液。
A.2方法概要
样品在氧气流中高温燃烧,样品中的氮全部转化为氮氧化物。所生成的干扰成分被适当的吸收剂 去除,氮氧化物被定量还原成分子氮后被热导检测器检测。尿素含鱼通过从总氮中扣除縉二腿中的氮 计算得出。
A.3仪器与设备
A. 3.1自动定氮仪
燃烧法自动定氮仪。
A. 3.2分析天平
感量 O. OOO 1 gn
A. 3.3辅助工具
示例:
——傑子;
——平头微域刮勺;
——移液管,大小从10 “L到1 OOO |丄的固定或可变容敏移液管;
——实验室當用玻璃仪器.
瓦4试剂和材料
A. 4. 1 水
符合GB/T 6682中二级水的要求。
A.4.2助燃剂及其他耗材
根据所使用的定気仪选用。下列示例仅供参考,可根据需要使用其他容器或物质"
示例:
——锡襄或类似的样品容器;
——不含気的助燃剂,如藤糖、纤维素;
-…-不含氮的液体吸收剤,如氧化镁。
A. 4.3氮标准物质
优先选用认证的标准物质,如乙二胺四乙酸(ethylGnediamine tetraacetic acid, EDTΛ)和烟酸酰胺 (HiCotiniC acid amide),也可使用纯度较高的低缩二脈含量的尿素(如纯净的尿素品体或分析纯尿素), 或仪器生产商建议或提供的其他类似标准物质。
A, 4.4氧气
纯度不低于99. 995%。
Λ.4.5其他气体
根据所使用定観仪的要求选用。
A.5分析步骤
A.5. 1样品的准备
样品应完全溶解,不能有尿素晶体。如有必要,可将样品加热到不超过40 °C。
ʌ. 5.2标准曲线绘制
根据所使用定氮仪的要求,按照A.5.4的步骤建立标准曲线。
A.5.3检验仪器的工作状态和标准曲熒
用适当的标准物质检验仪器工作状态及标准曲线,最好使用经过认证的尿素标准溶液。检验頻次 视所用定氮仪的要求而定。
A.5.4测定
称取一定质量的样品放在符合定氮仪要求的适当容器(如锡囊)中。样品的取样量应保证其含氮量 在标准曲线的中间范围。
用大约三倍髭的助燃剂(如不含氮的纤维素)和液体吸收剂(如氧化镁)。
当使用液体送样系统时,样品体积不得小于100 μL0样品质景根据SH/T 0604得到的密度计算 得到。
向定氮仪(或电脑)中输入所需数据(如质量、样品种类)。将已称量的样品送入分析仪中,开始 燃烧。
毎个样品至少做三次测定。
A.6结果计算与表示
A.6. 1结果计算
应首先计算标准曲线的漂移,通过浏暈空白的读数来矫正分析的结果。然后使用仪擦自带的程序 来对标准曲线进行校正。
如果试验结果的相对标准偏差(RSD)大于1 %,则要重新对样品进行检测。
至少用三次氮含量试验结果计算平均值,样品的尿素含量按式(A.1)计算:
WV =2.143 8 X (WM -FX u⅛) ..............................( A. 1 )
式中:
WU ——尿素含量(质量分数),% ;
SN ——含氮量平均值(质量分数),保劉两位小数,%;
F——缩二麻转化为氮的因子(0.407 6);
WBi 根据附录C测定的缩二脈的浓度(质量分数),%°
A.6.2结果表示
以三次独立测定结果的算术平均值做测定结果。计算结果保留到小数点后一位,以%表示。
A.7精密度
见表A-Io
表A. 1精密度
|
尿素含量(质堂分数)叫/% |
車复性 |
再现性R∕% |
|
30. 0—35. 0 |
0.4 |
LG |
A. 8试验报告
试验报告至少应包括如下内容;
a) 被试样品-的种类和描述;
b) 对本标准的引用;
C)试验结果;
d)采用特定操作产生的偏差;
C)试验H期。
附录B
(规范性附录)
AUS 32碱度的测定
B. 1范围
本附录规定K AUS 32碱度(以NH3计)的测星方法,测量范围为0.10%~0. 50%(质量分数)。
B.2方法概要
称取适量样品,加入100 mL水,用0.01 mol∕L的标准盐酸溶液滴定至终点(PH为5.7),进而计 算样•品中的诚度CU NH3计)e
B.3仪器与设备
B.3. 1分析天平:感量0. OOo 1 g =
B. 3 2 PH计:澳!定灵敏度0.0W pH,配有坡璃PH电极。
B.3.3电磁搅拌器。
B. 3.4 15GmL高型烧杯。
B. 3.5 100 mL 1 筒。
B. 3.6自动滴定仪。
B.3.7滴定管:容量25 mL,分度值为0. 1 mL1,
B- 3.8移液管;经过检定的IOmL移液管(J
B.4试剂和材料
B. 4. 1 水
符合GB/T 6682中三级水的要求。
B.4.2盐酸标准溶液
按照GB/T 601中规定的步骤配制浓度为M(HCl)J = O. 1 mol∕L盐酸标准溶液。
B.4.3缓冲溶液
根据所用PH计的要求选用。一般为4. 008、8. 00及9.184。
注:可依据所使用检测仪葬要求的不同选择不同的校准用标准缓冲溶液,
B. 5分析步骤
B. 5. 1 PH计标定
用PH为4. 008和PH为9.180的标准緩冲溶液检査电位计的功能,确保正常。PH为8. 00的标 准缓冲溶液用于电位计的日常检验。
B. 5. 2 0. 01 nw]/L盐酸标准简定溶液的配制
用移液管准确量取10 mL标定好的0.1 mol∕L的盐酸标准滴定溶液,置于IOO mL容量瓶中,用水 稀释至刻度,摇匀,得到0.01 mol∕L的盐:酸标准滴定溶液。
B.5.3初步測坦
取1 g样品,精偷至0.05 g,把样品放入到150 mL烧杯中,并加入100 mL水。用0.01 mol∕L的 盐酸标准溶液滴定该溶液至PH为5. 7。
计算氨的含量,根据样品中氨的含量,按照表B. 1确定样品的取样数量,精确到0. 05 go
表B. 1取样星
|
,氨含度/% |
0.02 |
0.05 |
0,1 |
Or 2-0.5 |
|
取样量/g |
10 |
5 |
2 |
1 |
B.5.4測量
依据预实验的结果称取砰质量的均质样品,准确至0. 05 g,放入盛有100 mL水的150 mL烧杯中。
用O. Ol mol/L的盐酸标准滴定溶液边搅拌边以正常速度滴定至PH为7. 5,再缓慢地滴定至PH为5.7。
B.6结果计算与表示
B.6.1结果计算
碱度(以NH3计)的质量分数,按式(B∙l)计算,
VXCXM 2
√B.1 )
5 =OTS X 1 OOO ×10°
式中:
W(NKɔ 碱度(以NH3计)(质量分数),%‘
V ——滴定中消耗的盐酸标准溶液体积,单位为离升(mL) J C ——盐酸标准滴定溶液的浓度,单位为摩尔每升(mol/L) J
M ——氨的摩尔质量,单位为克每摩尔(g∕mol),M=17. 03; g 样品质量,单位为克(g)。
B. 6.2结果表示
以两次试验结果的算术平均值作为试验最终结果,数据保留到0.01%(质量分数)。
B∙ 7精密度
表B.2精密度
|
碱含最(质量分数 |
虞复性r∕¾ |
再现性R∕% |
|
0.1—0.5 |
0.01 |
0.2×x |
|
注:*是两次试验结果的平均值。_________________________________ | ||
B. 8试验报告
报告应至少包括以下内容:
a) 被试样品的种类和描述;
b) 对本标准的引用;
C)试验结果;
d)釆用特定操作产生的偏差;
Q试验口期,
附录C
(规范性附录) AUS 32中缩二脈的测定
C. 1范围
本附录规定了用分光光度法溯定AUS 32中缩二脈的含量,适用范围是縮二脈的含量为0.1%〜 0.5⅜(质量分数)。
G 2方法概要
•在酒石酸钾钠的械性溶液中,缩二股与二价铜反应生成一种紫红色化合物,该化合物在波长 55Onm处有最大吸收峰。用分光光度计在波长55Onm处测定该紫红色化合物的吸光度。用缩二脉标 准溶液绘制成标准曲线,再由样品的吸光度在标准曲线k计算缩二脈的浓度。
C.3仪器与设备
C 3. 1分析天平;感量0.001 ga
C.3.2真空抽滤装置:滤膜孔径O.45pm°
C.3.3分光光度计;可用于波长550 nɪn的测定,50 mm的吸收池。
C 3.4容最瓶;经检定的1 OoO mL、25O mL、50 mL容量瓶。
C.3.5恒温水浴:可恒温在30 °C±1 °C。
C.3.6 移液管:2 mL、5 mb. 10 mL、20 mL 移液管。
C. 3.7旋转蒸发器。
C.4试剂和材料
C.4. 1 水
符合GB/T 6682中三级水的要求。使用前煮沸以除去二氧化碳。
C 4. 2饱和碳酸钾溶液
C.4.3硫酸铜溶液
将15 g的CUSo4・5H∙0溶解到无二氧化碳的水中,转移至IooO mJ,容量瓶中并用水定容。
C.4.4碱性酒石酸钾钠溶液
将40 g NaaH溶辭在500 mL水中。冷却后,加入50 g酒石酸钾钠(KNaCJi4O5・4电0),搅拝 溶解,转移到1 OOO mL容量瓶中,加水至刻度。静置Id后使用。
C. 4. 5 缩二脈标准溶液,0.8 mg/mL
缩二脈使用前应在105 °C的烘箱中干燥3 h。将800 mg缩二脈溶解于无二氧化碳的水中,并定容 至IoOO mLβ也可购买市售经过检定的产品。
缩二脈可通过以下方式提纯:
——将50 g缩二脈加入到浓度为25%的500 mL氨溶液中,搅拌15 min,
——过滤,用无氨的水冲洗后烘干;
—溶于乙醇(10 g∕L)中,过滤,低温加热至初始体积的1/4使其浓缩;
—冷却到5 T后过滤;
——在80 P真空干燥器中烘干;
——按步骤C. 5. 5用光度计检査其纯度。
在乙辞中重结晶应重复进行,直到不再能提纯为止。
C.5分析步骤
C. 5. 1可能的干扰因素
分光光度法要求待溜溶液应透明,因此先将试样通过0. 45 μm的过滤装置以获得透明溶液。
氨与二价铜形成吸收550 nm的光能的有颜色化合物。该方法只在氨含量不超过500 mg/kg的条 件下适用。
为了去除超出500 mg/kg的氨,将50 g试样置于旋转蒸发器上的1 L烧瓶中,加入15 mL饱和碳 酸钾溶液,在转速为60 r∕min,温度为40 *C,2 kPa〜3 kPa的真空压力下蒸发1 h至最终体积约为 20 mLQ再将其转移至25OmL容量瓶中定容。
C. 5.2标准曲线绘制
分别移取0 mL、2 mL、5 mLJ0 mL、15 mL、20 mL和25 mL縮二腿标准溶液至7个50 mL容量 瓶中,分别加水至混合物总体积约25 mL.在每次加水后,边搅拌边加入10 mL碱性酒石酸钾钠溶液 和10 mL硫酸铜溶液,将容量瓶放入30 *C±1 IC恒温水浴中,放置15 min.
取出容量瓶冷却至室温后,加水稀释至刻度,摇匀。用厚度为50 mm的吸收池,以水为参比溶液, 在波长550 nm下进行吸光度测定。
用空白溶液的吸光度进行校正。以标准溶液的缩二豚含量为横坐标,相应的吸光度为纵坐标,建立 标推曲线。标准曲线在浓度范围内应有良好的线性关系。
C. 5.3校正因子的计算
按式(C.1)计算校正因子:
6
fil 6
F= -----= ——..............................(C.1 )
∑ (Elei-E2) ∑ (E>u~K2) i≡l ∙≡1
式中:
F —校正因子,单位为毫克(mg);
mβ,i—缩二脈第i个试样质量,单位为亳克(Ing)J
Ei,i ―第i个试样的吸光度;
E2 —空白试验吸光度。
标准曲线和校正因子应每年重复测定一次,并存档。
C 5. 4光系数的计算
光系数应每星期测定一次。
取10 mL缩二脈标准溶液(含8 mg缩二脈),按分析步骤进行检测。然后按照式(C. 2)计算光 系数。
式中:
FD -—光系数,单位为毫克(mg);
Ei ——标准溶液吸光度(两次试验的平均值);
E2——空白试验吸光度。
光系数偏差应在校正因子的土5%以内。在测定样品的时候,将用到光系数。
C.5.5測量
称取IOOg样品,准确至0. 01 g,在250 mL容髭瓶中加水稀释至刻度线,并混合均匀。
取10 mL样品加到50 mL容量瓶中,加水至大约25 mL。加入IO mL酒石酸钾钠溶液和10 mL 硫收铜溶液,每次加入后都搅拌。将容量瓶浸入30 βC±l °C的恒温水浴中,放置约15 mino
按照同样的步骤和试剂量平行进行空白试验。
冷却至室温后,用水定容至刻度,并混合均匀。用厚度为50 mm的吸收池,以水为参比溶液,在波 长550 nm下进行吸光度测定Q
C.6结果计算与表示
C. 6.1结果计算
缩二脈含量按式(C. 3)计算:
(ES-EB) X F1>× 250 vlnn TnSXloXlOOo ʌ
(C.3 )
式中
WPi——缩二脈含量(质量分数'%;
ES——样品吸光度;
EB ——空白试验吸光度(试剂空白+样品空白,
FD——光系数,单位为避克(mg);
g ——试穀溶液样品质国,单位为克(g)°
C6∙2结果表示
以两次试验结果的算术平均值作为试验最终结果,数据保留到0∙01%(质量分数"
C. 7精密度
见表
表C∙1精密度
|
縮二豚含圾(质燉分数)wfl√% |
重复性r∕¼ |
再现性R∕% |
|
O.l~O∙5 |
0.01 |
Or 04 |
C 8试验报吿
试验报告至少应包括如下内容:
a) 被试样品的种类和描述;
b) 对本标准的引用;
C)试捻结果;
d)采用特定操作产生的偏差;
Q试验日期。
附录D
(规范性附录)
AUS 32中酸类的测定
D. 1范围
本附录规定了测量AUS 32中游离醛和结合醛(以HCoH计)含员的方法,测最范围为 0. 5 mg∕kg~10 mg/kgo
D.2方法概要
甲醛在浓硫酸溶液中与变色酸生成紫色化合物,该化合物在565 nm处有最大吸收峰,用分光光度 计检测样品在565 nm处的吸光度,然后根据标准曲线计算样品中醛的含量。
D.3仪器与设备
D. 3.1分析天平
感量 0.001 g.
D. 3.2分光光度计
能测量565 nm的吸收峰,10 mm吸收池。
D. 3.3容量瓶
500 mL容最瓶和经过检定的50 mL容量瓶。
D. 3.4移液管
经过检定的大小从0.2 mL到25 mL的固定或可变容量移液管均可。
D.4试剂和材料
D. 4. 1 水
符合GB/T 6682中三级水的要求。
D. 4.2硫酸
分析纯,98%(质最分数)。
D. 4. 3变色酸(4,5・二羟基棊-2,7-二磺酸钠盐或4,5-二羟基蔡-2,7-二磺酸钠盐二水合物)溶液
浓度为3%(质蛍分数).为配制该溶液,将41 mL硫酸缓慢加入到410 mL水中,并不断搅拌。冷 却到室温后,加入15 g变色酸后摇匀。
注:该溶液盛放在棕色玻璃瓶中,至少能使用三个月。
D. 4.4甲醛标准溶液
向500 mL容髭瓶中加入浓度为37%的甲醛溶液6. 5 g〜7 g,加水稀释至刻度线,混合均匀。
可采用ISO 9020的方法测定溶液中甲醛的含量。
稀释溶液比例1 : IOoOe瓶身上标注甲醛含最的精确值(即上一步测定的甲醛含量除以IoOo所 得到的值)。
或者使用经过认证的甲醛标准溶液,稀释成5 μg∕mL的标准溶液。
D.5分析步骤
D.5. 1标准曲线的绘制
分别移取0.2 mL、0. 5 mLJ mL、2 mL、5 mL和10 mL甲醛标准使用溶液于6个So mL容量瓶 中,加水至总混合溶液体积约10 mL, 一边揺动,一边加入1 mL变色酸溶液,缓慢加入20 InL疏酸,整 个过程约5 minO在加入硫酸的过程中,温度会超过100 C,有利于反应完全。在室温下放置15 min, 不要采取任何降温措施。
同时进行空白试验,与样品的试毁步骤及所用试剂均相同。
溶液冷却至室温后,加水稀释至刻度,揺匀。用厚度为10 mm的吸收池,以水为参比溶液,在波长 565 nm下进行吸光度测定。
用空白试验的吸光度进行校正,建立标准曲线。标准曲线在浓度范围内应有良好的线性关系。
D. 5.2校正因子的计算
按式(D.1)计算校正因子“
6
ɪ] TnHCHO.i
F =飞........ ..............................(D. 1 )
W(EZ - EQ
式中:
F ——校正因子,单位为微克(∕χg);
mHCHo——第£个样品甲醛的质量,单位为微克(μg);
Ew —第3个样品的吸光度;
F2 ——空白试验吸光度I=
标准曲线和校正因子应每年进行绘制和计算,并存档管理。
D.5.3标准曲线的检査
标准曲线应每3个月按以下方法进行检査"
准备3个50 mL容量瓶,取2 mL甲醛标准溶液注入其中,加水使混合溶液体积约为10 mLφ按
D. 5. 4的歩骤和D. 6规定的方法计算醪含虫。
比较测蛍值与标准溶液的浓度,如果偏差小于或等于2%,该曲线能继续使用。如果偏差大于2%, 则要再次进行检査,若还大于2%,则要重新建立曲线。
D.5∙4测量
称取5 g〜Iog样品,精确到0. 01 g,置于50 mL容量瓶中,用水稀释至总混合溶液体积约10 mL。 一边搅拌,一边加入1 mL变色酸溶液,缓慢加入20mL硫酸,整个过程约5 Inina在加入硫酸的过程 中,温度会超过IOO °C。在室温下中放置15 min,不要采取任何降温措施。
同时进行空白试验的平行测定,试验步骤及所有试剤不变。
溶液冷却至室温后,加水稀释至刻度线,混勾。以水作为参比溶液,在波长565 Ilm处,用10 mm吸 收池进行吸光度的测定。
D.6结果计算与表示
D.6. 1结果计算
按式(D. 2)计算AUS 32中醛类的含量。
SA=頌丄二垃^ɪ ..............................( D. 2 )
ms
式中:
SA----酷类含景,单位为圣克每千克(mg/kg) J
ES——样品的吸光度;
ER ——空白试验的吸光度(试剂空白和试样空白):
F——校正因子,单位为微克(μg);
ms ——试验溶液样品质量,单位为克(g)。
D.6.2结果表示
以两次试验结果的算术平均值作为试验最终结果,试验结果精确到O. 1 mg/kgβ
D.7精密度
见表D. 1。
, 表D. 1精密度
|
糜含量 WA/(tng/kg) 重复性 r∕(mg∕kg) |
再现性丑/(mg/kg) |
|
0.5 〜IO 0.14 |
O4 5×x |
注:3是阴次试验结果的平均值。
D.8试验报告
试验报告至少应包括如F'内容:
a) 被试样品的种类和描述;
b) 对本标准的引用;
C)试验结果;
d) 采用特定操作产生的偏差;
e) 试验H期。
附录E
(规范性附录)
AUS 32中不溶物的含骨(重量法)
E. 1范围
本附录规定了使用重髭法检测AUS 32中不溶物含県的方法,适用于不溶物含量大于1 mg/kg的 AUS 32的检测。
E.2方法概要
样品通过滤膜过滤,不溶物的质量通过重蛍法计算。
E.3仪器与设备
E.3. 1真空过滤装置:适用47 mm~SO mm直径的滤膜(I
E∙3.2濾膜:孔径0.8μm,混合纤维素防膜。
E.3.3培养皿:带盖培养皿,适合放置滤膜(如:80 mm×15 mm)。
E.3.4平头锻子。
E.3.5分析天平:感gO.O] τ∏βo
E.3.6烘箱:能恒温在(105-2) ,C范围内。
E.3.7干燥器:带有干燥剂的干燥器。
注:琉破和氣化铐不适合作为本实验的干燥剂。
E. 3.8实验室常用玻璃仪器。
E.4试剂
水:符合GB/T 6682中的二级或一级水。
E.5分析步骤
E.5. 1样品准备
样品中不应有尿素晶体存在,若有必要,可在试验前如热,但不超过40 βC,以便尿素晶体全部溶解。
滤膜应在试验前用水清洗,用大约IOO mL水在真.空过滤装置中清洗滤膜,使水均匀地流过滤膜, 滤膜在烘箱中干燥,直到质量保持恒定,并保存在培养皿中(一个滤膜使用一个培养皿),然后把培养皿 放在干燥器中。滤膜应在试捡前称金,精确到0.Ol Tnge
注:波膜应•一直在培养JllI中称世。
E.5.2测景
样品在使用前应充分摇动使其保持均匀,然后取IOO mL〜150 mL样品放入到干燥的称域过的玻 璃烧杯中,称信精确到0.01 g,加入200 InL水。
过滤装置必须适合滤膜的安装,在开启真空前使用少许水(1 TnL-2 mL)把滤膜弄湿。将准备好 的样品倒入过滤装置中,调整好真空泵的压力,使样品能快速通过滤膜。
玻璃烧杯应用水清洗5次,每次水用最在30 mL〜50 mL,清洗F来的水应通过滤膜。另外,真空 过滤装置中的样品皿也要清洗。在第一次清洗前,应保证样品完全通过了波膜(允许滤膜哲时干燥)。
拆除真空过滤装置,波膜在105 P的烘箱中干燥2 h。拿出后放置在干燥器中冷却到室温,然后称 量(精确至0∙ Ol mg),直至滤膜质最恒定。
注:应确保尿素中的所有残渣都转移到滤膜上,如果发现滤膜黏着在过滤装置的玻璃板上,这说明滤膜的淸洗还不 够,这些滤膜应抛弃并筮新开始试验。
E.6结果计算与表示
E. 6.1结果计算
按式(E. 1)计算AUS 32中不溶物的含量。
四=竺耳二竺旦X I OOO ..............................( E. 1 )
ms
式中:
SiaS —不溶物含量,单位为臺克每千克(mg/kg);
5 - 干燥的滤膜与样品不溶物的总质敏,单位为毫克(mg);
四——干燥空滤膜质量,单位为臺克(mg);
g —样品质量,单位为克(g)。
E.6.2结果表示
取两次试验的算术平均值作为试验结果,如果两次试验的差大于这两次试验中较大结果的25%, 则需再次进行试验。试验结果应按下面要求表示:
平均值<10 mg/kg,试验结果精确到0. 1 mg/kg;
平均值a】。mg/kg,试验结果精确到1 mg/kgO
E.7精密度
见表E.1。
表E. 1精密度
|
不溶物含量u‰∕(mg∕kg) |
重夏性r/(mg/kg) |
再现性R∕(mβ∕kg) |
|
>1 |
0.23Xm |
0∙38Xz |
|
注:H是两次试溺结果的平均值.________________________________________ | ||
E.8试验报吿
试验报告至少应包括如下内容:
a) 被试样品的种类和描述;
b) 对本标准的引用;
C)试验结果;
d)采用特定操作产生的偏差;
Q试验日期。
附录F
(规范性附录) AUS 32中磷酸盐含最的测定
F. 1范围
本附录规定了使用分光光度汁检测AUS 32中磷酸盐浓度的方法,检测范围为0. 05 mg/kg〜 JO mg/kg β
F. 2方法概要
样品与碳酸钙一起蒸发灼烧,使磷酸盐富集。然后用盐酸使磷酸盐转化为正磷酸族。在酸性环境 下,正磷酸盐离子与钥酸盐和镑离子反应形成镑磷钥化合物=> 这一化合物与抗坏血酸反应生成亮蓝色 的络合物钳蓝,检测这种颜色的强度来计算正磷酸我离子的浓度.
F.3仪器与设备
F.3. 1分析天平:感10.01 gβ
F. 3.2 ⅛∣■埸:容积为150mL的石英或白金用垠。
F. 3.3加热板。
F.3.4马弗炉,能在700 eC控温。
F.3.5分光光度计;能测量波长800 nm处的吸光度,1Omm光学玻璃吸收池。
F. 3. 6容量瓶:经过检定的50 mL、IOO mL、l 000 mL容量瓶。
F.3.7移液管:经过检定的1 mL、2 mL、5 mL、10 mL移液管。
F. 4试剂和材料
F.4. 1 水
符合GB/T 6682中的二级或一级水。
F.4.2碳酸钙溶液
浓度IO g∕L,取Ig分析纯碳酸钙溶于少量水中,全部转移到100 mL容員瓶中,用水定容。
F. 4. 3 盐酸
分析纯,浓度25%(质度分数)。
F. 4. 4 硫酸
分析纯,浓度98%(质量分数
F. 4.5 四水合七領酸^C(NH4)6Mo7O24 ・ 4H2O]
分析纯。
F.4∙ 6半水合酒石酸氧铺钾LK(SbO)C4H4Oe ∙ yH20]
分析纯。
F.4.7抗坏血酸溶液
浓度100 g∕L,取IOg分析纯维生素C溶于100 mL容量瓶中后用水定容,该溶液在冰箱中冷藏储 存可使用两周,若变色则不能使用。
F. 4.8铝酸盐溶液
将13 g四水合七钥酸铉溶于250 mL水中,加入150 mL硫酸,冷却,搅匀。将0. 35 g半水合酒石 酸氧歸钾溶于100 mL水中,与硫酸相酸盐溶液混合均匀,倒入棕色瓶中可使用两个月O
F.4.9 磷酸二題钾[KH2PO4]
• . •:分析纯,于105 T干燥。
F. 4. W磷酸盐标准溶液A
浓度为200 mg∕LO称取286. 6 mg磷酸二気钾,放置于IooOmL容昼瓶中,用水溶解。加入2 mL 硫酸,用水定容并摇勾。也可购买经过认证的产品。
F- 4. 11磷酸盐标准溶液B
浓度2 mg∕L,将磷酸盐标准溶液A稀释100倍。
F.5分析步骤
F.5. 1标准曲线的绘制
分别移取1 TnLmL、5 mL和10 mL磷酸盐标准溶液B(对应磷酸盐含蜃为2昭、4怨、10 μg和 20昭)于50 mL容量瓶中,用水稀释至40 mL。按F. 5. 7步骤测定,每种浓度需测定10次。
F. 5.2计算校正因子
按式(F. 1)计算标准曲线的校正因子,
4
〉I PhMIerJ
C= ........ ( F.1 )
2)
i— I
式中;
C • 一校正因子,单位为微克(μg)l
5Pg ——第i个样品磷酸盐的质量,单位为微克(昭);
E】,, ——第i个样品吸光度;
EZ ——空白试验吸光度。
F.5.3方法检査
F.5.3. 1 目的
检査方法能否得到正确的结果H
F. 5.3.2 原理
把磷酸盐标准溶液B按照一般的样品处理,验证磷酸盐标准溶液B的浓度。
F. 5.3.3试验步骤
用移液管吸取5mL磷酸盐标准溶液B,放入到50 mL的容量瓶中,按照F. 5. 7步骤进行分析,按 照F. 6的方法计算璘酸盐浓度,至少車复检测三次。
如果检测值与给定值相差不超过给定值的±2%,则认为该方法是有效的。
F.5.3.4检查频次
应至少每三个月对方法进行一次检査。
F. 5. 4标准曲线的检查
E 5. 4. 1目的
在固定的检测范围内,检査标准曲线的斜率是否正确,
F. 5. 4. 2 原理
把磷酸盐标准溶液B按照一般的样品处理,用给定浓度与标准曲线的浓度相比较。
F.5.4.3试验步骤
与F.5.1相似,在标准曲线的范围内至少取三个浓度,毎个浓度至少检测三次。如果给定的浓度 与标准曲线显示的浓度差没超过给定浓度的±2%,则认为该标准曲线是可用的。若超过这个范围,需 进行再次检査。若依然超过±2%,则应停止使用该标准曲线,按照F. 5.1建立新的标准曲线。
F.5.4.4检査频次
应每三年做…次。
F.5.5样品的准备
样品需完全溶解至不存在尿素晶体。如必要,可将样品加热,加热温度不超过40 CCO
F.5.6样品前处理
称取IoOg样品(记录样品质量,准确至0. Ol g)放入到堪堪中,并加入IomL碳酸钙溶液。把坊堪 放到加热炉上缓慢加热直至样品完全蒸干(注意避免E澱现象发生),然后把圮堪放到马弗炉中在 700 OC下使样品完全灰化。样品冷却后加入1 mL盐酸和20 mL〜30 mL水,把混合液煮沸使残渣完全 溶解并赶尽二氧化碳,最后将混合液完全转移到IOO mL的容量瓶中,用水定容并摇匀。
F.5.7测量
用移液管量取适最处理后的溶液(不超过40 mL),注入50 mL容量瓶中,用水稀释至40 mL。
摇动均匀后边搅拌边加入I mL抗坏血酸溶液和2 mL铝酸盐溶液,加水定容后摇匀“
用相同步骤进行空白实验•
10 min〜30 Inin后用分光光度计在800 nt∏处测最样品和空白的吸光度。
F. 6结果计算与表示
F.6. 1结果计算
按照式(F. 2)计算AUS 32中磷酸盐的含量。
(ES — EB) XCXvS XFI WP= V X KXmS
式中:
WP—磷酸盐含蛍,单位为臺克每千克(mg/kg);
ES —样品吸光度;
EB——空白试验吸光度;
C——校正因子,单位为微克(μg);
VS——经分解处理的样品溶液体积,单位为毫升(mL);
Fl ---1 000,kg转化为g的因子;
V —用于分光光度检测的体积,单位为毫升(mL);
Ft ---1 000,mg转化为μg的因子;
ms ——尿素溶液质量,单位为克(g)。
F. 6.2结果表示
取两次试验结果的算术平均值作为试验结果,精确到0.01 mg∕kgβ
F.7精密度
见表F.lβ
表F. 1精密度
|
璘酸盐含l¾sp/(mg/kg) |
重复性,/(mg/kg)_______ |
再现性R∕(mg∕kg) |
|
0.1 〜1 |
0. 02 |
0. 03 |
F.8试验报告
试验报告至少应包括如下内容:
a) 被试样品的种类和描述;
b) 对本标准的引用;
C)试验结果;
d) 采用特定操作产生的偏差;
e) 试验日期。
附录G
(规范性附录) AUS 32中金属含量的测定(电感耦合等蔼子发射光谱法)
G. 1范围
本附录规定了使用电感耦合等离子发射光谱法测定AUS 32中的金属(包括钙、铁、铜、锌、條、镣、 铝、镁、钠、钾)含量的方法。
G.2方法概要
样品经过前处理后,釆用电感耦合等离子体发射光谱法测定痕量的金属元素,利用检测前制作好的 标准曲线定量分析样品中的金属含量。
样品前处理方法:
a) 灰化法:把样品蒸干后在马弗炉中灰化,这J方法时间长,准确度高;
b) 宜接进样法:样品与水按】;5稀释后直接检测。
G.3仪器与设备
G. 3. 1电感耦合等离子体发射光谱仪(ICP-OES)
雾化器:雾化系统应能把高含盐量的液体充分转化为气体,如:交叉流雾化器或V型凹槽雾化 器等;
载气:氣气或液氮,纯度不低于99. 999%;
进样器:若采用自动进样器,则导管、进样针及进样管均要求使用聚合材料,如高密度聚乙烯 (HDPE)、高密度聚丙烯(HDPP)、聚氟乙烯(PVF)和可焰性聚四氟乙烯(PFA)等,不能使用硼硅酸盐 玻璃。
推荐使用ICP气体(鼠气)增湿设施,以水增湿氯气,避免出现盐析现象。
G.3.2容量瓶
100 mL经过检定的整料容量瓶或石英玻璃容量瓶,不能使用硼硅酸盐玻璃容最瓶。
G. 3.3马弗炉
具有程序升温功能和排气装置的马弗炉。马弗炉最好有排气装置。如果没有排气装置,还需要一 个气体燃烧器。
G. 3.4煤气喷灯
注:如果灰化温度过高,碱性元素会拝发。
G. 3.5加热板
表面温度可达500 *Ce也可采用带排气装置和石英玻璃板的微波马弗炉。
G. 3.6天平
感量0.1 go
G. 3.7 100 InL石英増垠
禁止使用钳金世堪,会导致结果偏小。
G. 3.8移液管
经过检定的50 μLJ00 μL.200卩L、500尸L、1 000卩L、10 mL或可变容最移液管。
G.4试剂和材料
G. 4. 1 水
符合GB/T 6682中三级水的要求。
G. 4.2硝酸
分析纯或以上级别,最小浓度65%(质虽分数)。
G. 4.3盐酸
分析纯或以上级别,最大浓度37%(质量分数)。
G. 4.4标准溶液
每种金属元素浓度1 000 μg∕mL,可购买经过认证的市售产品。
G. 4.5多元素标准样品
每种元素10 mg/L:用吸量管从各标准溶液中移取1 000 μL加入到100 mL容最瓶中,用水定容并 摇匀。溶液需当天配制。
G.5分析步驟
G. 5.1干扰因素
在灰化过程中,或灰化前在煤气喷灯或马弗炉中加热温度过高时,都可能发生样品物质飞溅,导致 结果偏小(特别是钾和钠)。而矿质成分转移(例如炉绝缘材料的转移)则会导致结果偏大。应采取相关 措施防止生成此种误差。
灰化程序:磷元素不能测定,因为灰化程序中生成的多磷酸盐不能溶解。
在直接测定程序中,一些元素可能因为生成含碳结构而影响测定。雾化系统也可能带来干扰。为 避免直接测定程序中可能岀现与仪器相关的问题,样品应按G. 2的b)处理。
试验过程中与样品接触的所有容器,包括塑料容器、样品瓶或容母瓶,都应事先用酸(HCLHNOj) 洗净,以避免影响痕量元素的测定结果。
G.5.2样品的前处理
C. 5. 2.1灰化法的样品前处理
称取100 g±O. Ig样品,放入石英址垠中。在加热板上缓缓蒸发浓缩样品,直至样品蒸干至不再 飞溅后,将样品放入马弗炉中灼烧,控制温度在2 h内从350 P升到700 cO,直到样品完全灰化。将温 度在700 C保持至少30 m⅛o
如果没有带排气装置的可控温型马弗炉,样品应先在通风橱的火焰上烧掉大部分后,再在700 C马 弗炉中点燃。
如果灰化程序使用的是微波马弗炉,应遵循下列温度控制程序;
a) 从室温开始;
b) 30 Inin 内升温至 200 ;
C)在 200 9C保持 10 min;
d) 120 min 内升温至 700 CCJ
e) 在700 C至少保持30 min<,
待样品冷却至室温,边加热边在残渣中加入5 mL硝酸(或盐酸)和大约20 mL水。将溶液完全转 移至100 mL容量瓶中。待容量瓶冷却至室温后,用水定容至刻度并播匀。
G.5.2.2直接进样法的样品前处理
使用适当的雾化器,旦对每种元素来说检测器有足够低的检测限。样品应按下列方法淮备:称取 20 β±0. OIg样品于100 mL定量瓶中,加入约50mL水,再加入约5 mL硝酸(或盐酸),用水定容至刻 度并摇匀。
G.5.3建立标准曲线
标准曲线的建立取决于使用的检测器(可参考设备制造商的说明书),为检验曲线和校正偏移,应每 夭对曲线的最低浓度和最高浓度的标样进行检测。推荐的标样浓度在表G. 1(灰化法)和表G. 2(直接 进样法)中列出。
表G. 1灰化法标样浓度
|
______标样序号______ |
各元素含a/Cmg/L) |
酸加入量/(mL∕L) |
|
1 |
0 |
50 |
|
2 |
0.010 | |
|
3 |
0.030 • MB— .• , . ∙ . .. ---A • ■・ • — ■ • • | |
|
4 |
0. 100 | |
|
5 |
0. 300 | |
|
6 |
1.000 | |
|
7 |
5.000 |
表G.2直接进样法标样浓度
|
_____标样序号 |
各元素含fi/(mg/lɔ |
酸加入量/(mL∕L) |
32.5%尿素溶液/(mI√D |
|
1 |
0 |
, 50 |
200 |
|
2 |
0.005 | ||
|
3 |
0.010 | ||
|
4 |
0.020 | ||
|
5 |
0.050 | ||
|
6 |
0. ICO | ||
|
7 |
0. 200 | ||
|
8 |
0. 500 |
C.5.4测量
各种元素选用的检测波长如表G. 3中所示。
表G.3各元素使用的检测波长
|
元素 |
波长/nm |
|
Ca |
396.85 或 317.93 或 393. 37 |
|
Cr |
205.56 或 267. 72 |
|
Fe |
259.94 或 239.56 |
|
K |
766.49 |
|
CU |
324.75 或 327.39 |
|
Mg |
279. 55 或 285.21 |
|
Na |
588. 99 或 589.59 |
|
Ni |
352. 45 或 231 . 60 或 227. 07 或 221. 65 |
|
Zn |
213.85 或 206.20 或 202. 55 |
|
Al |
396. 15 或 394. 40 或 167.08 |
每个样品前处理完成后至少测量三次,每次更换样品都有足够的冲洗时间。试验间的冲洗,建议用
3%的硝酸(或盐酸)°
G.6结果计算与表示
G.6. 1结果计算
如果检测结果単位是mg/L,则需要转换为mg/kgU
G. 6. 2结果表示
每个元素的试验结果为三次检测数值的算本平均值,保留两位有效数字。
G.7精密度
见表G. 4,对灰化法和直接进样法都适用。
表G.4精密度
|
元素 |
瓯复性r∕(mg/kg) |
再现性R∕(mg∕kg) |
|
Ca |
0. 02 |
0. IXx |
|
Fe |
0.01 |
0.3×x |
|
CU |
0.01 |
0.2×x |
|
Zn |
0.01 |
Q.3×x |
|
Cr |
0.01 |
Q. 3×x |
|
Ni |
0.01 |
O. 3×x |
|
Mg |
0. 02 |
Q.3×x |
|
Na |
0. 03 |
0.5×x |
|
K |
0. 03 |
0.5X 工 |
|
Al |
0. 02 |
0.3XX |
|
注:工是平均值. |
G.8试験报告
试验报告至少应包括如下内容:
a) 被试样品的种类和描述;
b) 对本标准的引用;
C)试验结果;
d) 采用特定操作产生的偏差;
e) 试验日期。
附录H
(规范性附录)
傅里叶红外光谱仪检测AUS 32的一致性
H. 1范围
本附录规定的方法用于AUS 32样品的定性。所冇的浓度大于10%的尿素水溶液都具有带相同 特征峰的红外光谱。
用这种方法可比较未知AUS 32样品和已知样品是否一致。但此方法不能确定上述两种样品的尿 素浓度或污染物含最的差别。
H.2方法概要
当光线透射过尿素溶液薄层时,特定波长的红外线被吸收,通过已有的谱图比较可以确定尿素水溶 液AUS 32的一致性。也可选择适当的衰减全反射法。
H. 3仪器与设备
H.3. 1傅里叶变换红外光谱仪(FTIR)
分辨率不高于4 Cm-或其他能够记录波数范围为600 Cmr〜4 OOO Cm-ɪ的红外光谱仪。
H.3.2适用于水溶液的吸收池
如KRS5(TIBr/TlD、ZnSe等,厚度大约IOO μrn0也可以选择其他适用于液体的衰减全反射 (ATR)单元。
注I KRSS窗片有剧毒。
H.4分析步骤
用样品装满透过池,要求没有气泡。将透过池安装在FTlR光谱仪的光路上,使红外线吸收光谱能 被记录。或者将样品装入ATR的石英槽内。
用已知32. 5%浓度的AUS 32谱图与得到的谱图进行比较。
H.5結果表示
根据测定结果作出以下描述:
是,表示与参考谱图~致;
——否,表示与参考谱图不…致。
H.6参考谱图示例
图H. 1是使用透射技术得到的红外谱图,图H.2是使用衰减仝反射得到的红外谱图,样品均为尿
素浓度为32.5%的AUS 32。(X轴为波数,Y为吸收值)
图H.1透射法参考谱图
图II. 2衰减全反射法参考谱图
附录J
(规范性附录)
取 样
1.1范围
本附录规定了 ʌus 32的取样方法。适用于AUS 32从生产直到进入汽车的AUS 32容器的整个 供应鮭。
1.2方法概要
要获得有代表性的分析结果来判断AUS 32的各项指标是否満足质量要求的限值,前提是样品在 分析前没有受到任何污染。
因此,应使用适当的容器采祥,既不污染样品(特别是痕量元素方面),又能最大程度避免藻类和细 歯的生长。
1.3可能的污染
在釆样过程中,样品可能受到污染。在实际操作中,污染可能主要来自以下几个方面;
——釆样瓶生产过程的添加剂残留;
——采样瓶空置保存期间沉积在瓶内的杂质;
——釆样过程中,周围空气中的灰尘或其他杂质;
用于清洗采样仪器和瓶子的洗涤剂残留;
---燃油•>
1.4仪器与设备
1.4.1样品瓶
使用1 OoomL的广口瓶。瓶子的材料可以是高密度聚乙烯(HDPE).高密度聚丙烯(HDPP),聚 氣乙烯(PVF)和可熔性聚四氣乙烯(PFA)β若存在争议,使用可熔性聚四氣乙烯(PFA)材料的瓶子。
第一次用于AUS 32釆样前,瓶子应清洗干净,然后用去离子水和AUS 32冲洗。
1.4.2标签
每个采样瓶上应贴有大小约10 CmX 5 Cm的标签。标签及标签上的字应耐水和AUS 32。
ɪ. 4.3取样管
材质与取样瓶一致,大小可根据需要确定。在取样前应彻底清洗样品管,最后使用去离子水和 AUS 32冲洗。
15取样步骤
打开广口瓶的瓶盖,将瓶盖开口向下放置在清洁表面上。冲洗采样管后,从容器中取AUS 32样品 装满釆样瓶。第一次采的样品倒掉不用,立即再次取样,并盖严瓶盖。在釆样瓶上貼上标签。采样过程 中,应尽可能避免灰尘或液体污染物进入采样瓶。
应在最短的时间内把采样瓶中的样品送到实验室分析。在运输和储存过程中,应尽可能使样品处 于低温环境,最好是在。P〜15 并避光防止藻类生长。
宜在三周内进行分析,以避免样品中氨含最的变化。
1.6取样置
最小釆样量取决于所要进行分析顼目。尽"能保证足够的采样量(建议取1 L)。如果是进行 AUS 32的全项指标检测至少需要2 L的采样量。若存在争议,按照ISO 4259采足够的員。
L 7标签佶息
标签应包含下列信息:
产品名称;
——采样产品所属公司名称;
——采样地址;
——采样产品的生产商;
——批号;
——从何种容器中采样;
—从容器中的哪个部位采样(采样点);
——采样的日期和时冋;
—样品出货日期;
——采样人姓名和签名。
附录J
(规范性附录)
AUS 32的处理、储存及运输
J. 1范围
本附录提出了处理、运输和储存AUS 32的最佳实用性建议和要求。这些建议和要求对于保证供应 链上所有环节的AUS 32都满足质量要求,进而保证选择催化还原(SCR)转化器系统的正常功能是必 要的。
J-2总体要求与建议
J. 2.1兼容性材料要求
丄2. 1.1通则
为避免AUS 32被污染和对容器、管道、阀门、连接件、密封垫等的腐蚀,在处理、运输、储存和采样 的各个环节都要保证AUS 32与直接接触的材料兼容。
应确保使用正确的材料。表J∙l和表J. 2中所列出的可用材料仅具冇指导性,直到有更确定性的 数据。
使用任何不确定兼容性的材料前应测试。測试条件要反映目标温度范围和接触时间,以评价对 AUS 32各项质量指标的影响。另外,该测试要保证和AUS 32接触的材料的兼容性是持续的。可适 当采取较高温度的加速溯试。
如果在处理、运输和储存中发现AUS 32被污染,要调查确定污染的原因并采取适当的补救措施。
J.2. 1.2推荐使用的材料
可用于AUS 32的推荐材料示例列在表J. 1中。
表J. 1推荐材料示例
|
奥氏体髙合金採路钢、保铭纽钢•不锈 ____ |
|
裹 …. 一一 , — |
|
Ni-Mo-Cr-Mn-ClI-Sl-FC 合金,例如竦基合金 c/c-276 • • • • • ••••• -•••** ■■ ∙ ∙ ββ — ∙ ∙ ∙ * * β* * ∙β β * β * β * |
|
聚乙烯,无添加剂 |
|
聚丙烯,无添加剂_________________________________________________ |
|
无 ⅞∏i⅞ |
|
W気展⅞:窪树脂(PFA),无添加剂 j ~ ^ ■M » λ MBMHt ,Λ a ∙ ■■— ^RB∙ —∙ ∙ <4A^β∙∙ , ∙ ∙ gʌ- ∙ β abb ■ ∙A≡ ∙ ∙ ∙ . . .. . ,∙ ∙ ^β.∙∙ ∙A<- 〜,∙¾.. . ■*. 4H^ae * ■■ ■*» ■ . |
|
聚夢乙烯(^FE、疋电_____ |
|
-聚毎気乙糸Wpλ⅞3^⅞⅞⅞~ ...........—................. - 一 '.••・- |
|
聚四氯乙烯(PTFE),无添加剂 |
|
偏氟乙烯和六気丙烯的共聚物,无添加剂 [「— 一一 二. |
|
-^γ-— 注2:对于後料中的添加剂要特别注意,因为这些添加剂可能会溶解在AUS 32中。所以,对于与AUS 32直接 _____接触的塑螢应仔细检测添加W項AUS 32的污染,___________________________ |
J∙2∙1∙3不能使用的材料
不能用于AUS 32的材料示例列在表J. 2中。
表J.2不能使用的材料示例
碳钢、镀锌碳钢、软铁(这些材料会和AUS 32中微拭的氨反应生成可能影响SCR系统正常工作的化合物) /■ .... M_• • .. ■闻......
非铁金属和合金:铜、铜合金、锌、铅
含铅、馄、锌或铜的焊備
.... .■ .. - 9 vθv0 ・•・ , ... ..・.・.. 1
铝或铝合金
镁或镁合金
镀镣翅料或镀镣金属
J.2.2运输和储存的物理条件
J. 2.2.1 —般性建议
为避免AUS 32的质量在运输和储存中受到任何影响,要考虑下列因素:
——为避免尿素分解和非密封容器中水的挥发,应避免长时间在高于25 °C的条件下运输或储存。
注1:可要求运输车辆具有绝热功能。
注2:长时间在高于25 2条件下储存会缩短AUS 32的保质期(见表J, 3),但短时间暴露在稍高温度的环境中一般 不会影响AUS 32的质員。
——为避免AUS 32结冰,应避免在一5 CC以下的环境中储存。
注3:可要求运输车辆具有绝热或加热功能,
注4:结成品体的AUS 32会比结晶前的液体体积増加7%,可能会导致AUS 32溢出容器,或容器胀裂如果在使 用AUS 32前发现已经结晶,可以在温度不高于30C的情况下小心加热至固体物质消失,这种情况不会影响 AUS 32的质量,
——为避免温度升高,AUS 32应避光II
——为防止空气中的杂质污染AUS 32,应使用密封的容器或在通风口安装过滤器。
J∙2∙2∙2保质期
在整个供应链中,AUS 32的保质期与储存的环境温度有关,两者之间的关系见表J. 3。
表J∙3不同储存温度下AUS 32的保质期
|
_______保持怛定储存环境温度/定 |
保质期不少于/月 |
|
≤1O |
36 |
|
____________________<25∙ |
18 _ — ---------------------- — |
|
≤3O |
12 |
|
≤35 |
6 HM . . ■ 99 ∙ ∙ ∙∙ ∙ W∙ ∙ ∙ ∙ ∙ ∙∙∙^M • ∙ |
|
>35 |
h |
|
注:影响本表中保质期长短的主要因素是储存温度和AUS 32的初始破度。另一个因素是通风和密封储存容器 对挥发性的影响。____ | |
|
•为避免尿素分解,应避免运输或储存温度高于25 P∙ b保质期明显缩短,每次使用的都应检测。___________________________________ | |
J. 2.2.3接触表面的洁净度要求
所有与AUS 32直接接触的表面上都不能有其他物质,包括燃油、机油、润滑脂、洗涤剂、灰尘或任 何其他物质。
为防止AUS 32被微量元素、灰尘和杂质污染,非专用设备的表面应用蒸憶水或去离子水清洗,并 在处理AUS 32之前用AUS 32做最后的冲洗。
由于自来水中含有高浓度的碱和碱土金属离子,因此尤其要避免使用自来水。但是,如果没有蒸億 水或去离子水,可以先用自来水清洗,不过要保证在用该设备处理AUS 32之前最后使用AUS 32 冲洗。
无论是否在清洗过程中使用了淸洁剂,应保证最后冲洗用过的AUS 32按照本标准中规定的试验 方法检测满足规定的痕量元素要求。
要判断储存和运输设备是否达到理想的清洗效果,可以用本标准规定的试验方法分析用于最后一 次冲洗的AUS 32来验证。
J. 2. 2. 4其他性质的建议
关于其他性质的信息应列在化学品安全说明书中,包括危险等级、操作规定,以及处理产品时为保 护人员及环境所需采取的措施。
J.3质量保证
J. 3. 1通则
供应到市场上的每个容器中的AUS 32都应通过一个特定的批号可追溯到生产的批次。建议批号 中包括原始生产时间或最后认证时间。
供应链中任何一个点的AUS 32质量都应满足标准规定的技术要求。J. 3. 2〜J. 3.5给岀了与散装 产品或小包装产品的采样、测试/检验和监测相关的建议,以及中间操作(即中转皤存储,加注或二次加 注)时的二次测试和/或二次检验的程序。
J. 3.2取样
除了附录I中规定的取样规程,下列规定适用于所有取样程序。
—应有书面记录的操作流程•
—具体的取样操作流程取决于取样的目的O
示例1:如果要检渕散装容器中AUS 32的质最,应从出口处流出2 L〜3 L溶液后才开始取样.
示例2:如果要灣试与AUS 32直接接触的材料的兼容性,岀口处最初流出的2 L〜3 L溶液应该保留.
示例3:如果检测从加注设备喷驛流出的AUS 32的质髭,应从最初流出的3 L中取样.
——当散装的AUS 32从生产厂装进不论何种运输工具的容器后,应该从运输工具的容器中取样。 要严格遂守操作规程以保证样品的代表性。如果使用的是非AUS 32专用的运输工具,应该 在开始销售之前完成样品分析。
——在销售AUS 32的过程中可能会在各个环节取样并保留样品。在未发现问题之前这些样品可 暂不分析。至少在半个保质期的时间内要保留好样品.样品的运输和储存应符合J.2.2的 规定.
——对于AUS 32专用的散装运输工具,如果上一次罐装品的储存条件与J. 2.2. 1规定的不同,宜 对样品进行分析。
J. 3.3测试
每批AUS 32产品在发货前都要按照标准的规定测试质量是否合格。测试结果要有书面记录并在 生产厂存档。
如有争议,可以选择下列实验室进行仲裁试验:
—具备质最管理体系的实验室,如通过ISO 9001认证;
—在过去的五年中成功参加了国际上组织的AUS 32实验室间比对试验;
——国家权威部门认证的实验室。
J. 3.4产品出厂检验程序和对不合格产品的处理
当某一批次AUS 32的检测结果完全符合表1的技术要求,或生产过程核査数据可以证明该批次 产品完全符合表1的技术要求,该批次产品可以出厂。
如果检测结果当中有任何项目不符合表1的技术要求,或怀疑产品可能存在质量问题(如容器上无 标签,产品变色或出现浑浊,散发不明气味,或储存时间超过了保质期等),则应扣留该容器内的产品,加 注标签后单独储存,以备进一步调査,
如果某一批次的AUS 32被反复检测出存在同-•缺陷,该批次产品应作召回处理。
对于重新进入供应系统的AUS 32,应再次检测,以保证其品质满足表1的技术要求β
对于密闭容器储存的超过保质期的AUS 32,在判断是否能够继续使用之前只需要检测其碱度是 否达标。
如果有多个带包装的AUS 32的储存时间超过了保质期,只要这些产品属于同一生产批次而且在 相同物理条件下储存,就可以只对一个容器中的AUS 32进行检測。
J.3.5质量监控
J. 3. 5. 1 通则
每一批次的AUS 32在销售时,生产商都应该提供质信合格证,如执行标准和检测报告等。
可以通过一系列典型特性的测试结果来判断AUS 32产品的一致性,包括但不限于密度和折射率。
`必要的污染测试包括检查产品颜色、悬浮颗粒物和氨以外的气味。该测试在每次AUS 32操作转 移时都应逬行。
J.3.5.2 核查
供应系统中的所有相关方都有责任核查他们所处环节上的AUS 32质量是否达标。
一旦发现问题,相关责任方应立即采取措施解决.
J.3.5.3 存档
AUS 32的整个供应系统,包括生产、配送、装卸、储存、取样、测试、产品出厂、操作和核査的流程和 记录应存档,例如按照ISO 9001的規定进行。质量档案至少保留5年。
J.4容器和设备的操作程序
J. 4. 1通则
容器和设备的--般性操作程序规定如下:
——所有用于处理AUS 32的设备,无论是带包装的还是散装的,应是专用的并彻底清洗并证明是
干净的(见J. 4.4);
—为了避免产品受到污染,应使用专用的、经过彻底清洗的并证明是干净的容器;
—采取必要的温控措施保持AUS 32所处的环境符合J. 2. 2建议的温度范围;
—灌装设备的使用后应清空、清洗干净并密封,防止AUS 32受到周围环境的污染。特别是软 管,应该专用,每次用完后应盖上盖,存放在专用的地点。
J.4.2 一次性非散装容器
下列程序适用于一次性非散装容器:
—每个容器应有识别标签或印章,从而保证可追溯到容器内AUS 32产品的供应商的原始生产 批次。
——为识别异物,如灰尘、昆虫或其他不溶物,在灌装前应按照书面程序目测检査容器内部。如发 现异物,下一步按J.3.4操作。
——在灌装一系列AUS 32小包装时,应从第一个容器中取1 L的样品。如果容器的容积不到 1 L,把第一个容器中的AUS 32全部作为样品。该样品作为保留样品。
—灌装好的产品应密封,除非包装物上有通风口设计.
J. 4.3专用设备散装的操作
如果所有的阀、盖子和软管都在密闭条件下正确操作而没有受到污染,专门用于AUS 32运输、储 存的散装操作设备在操作AUS 32前不需要额外清洗。可通过视觉检查和相应的文件来确定这些 情况.
所有的产品装卸操作应按操作说明书操作,应有装卸清单来规范装卸程序。该清单应有负责产品 装卸的负责人和员责运输的人签字,并交由装卸负责人保存。
在装卸AUS 32之前,应进行至少以下的几方面的检査,并有书面记录:
——前次完成装卸后各种阀门和开关是否关闭合适;
——检查清洁确认证书(只针对第一次使用的AUS 32专用散装容器);
——散装运输和储存设备、装卸设备、附属设备和清洁系统的视觉检査;
—按照交货清单核对装卸的产品。
如果在装卸过程中发生异常情况,装卸应立即停止。应从已灌装容器中采样分析,査明问题,根据 获得的分析结果采取进一步的措施。
J. 4.4非专用设备的散装操作
非专用的散装运输和储存设备用于AUS 32前应彻底清洗干净。清洗过程应考虑到该设备曾运输 或储存过的最后三种产品的化学性质。应在洁净确认证书上记录清洗过程和洁净度。这个文件应在装 货点灌装前出示。另外,运输和储存设备的出口、入口和连接处应视觉检查。如果发现某容器不符合洁 净度要求,则不对该容器进行灌装,而应进行清洗或更换。
非专用的灌装容器用于AUS 32前应彻底清洗干净。清洗过程应考虑到该设备曾装载过的最后三 种产品的化学性质。从灌装的第一个容器中取AUS 32样品分析,确认各项指标符合表1的要求。该 灌装设备曾装载过的产品和产品更换后的分析结果应存档。
附录K
(资料性附录) 加注接口
K.1范围
本附录规定了 AUS 32的加注接口。
为了保证车辆加注系统和车外加注系统之间的兼容性,本附录规定了开放式加注系统最基本的功 能要求和儿何尺寸要求。
本附录也适用于固定式车外加注系统的喷嘴。
K.2术语和定义
K.2. 1
加注系统 refilling SyStem
AUS 32车辆加注系统和车外加注系统的统称。该系统的功能是把AUS 32加注到车辆的AUS 32 容器中。
K.2.2
车外加注系统 OffLboard refilling SyStem
为车辆的AUS 32容器加注AUS 32的固定设备,通常包括储存燧、泵、软管和加注嘴。
K.2. 3
加注嘴 filler nozzle
车外加注系统的接口处,使操作员可以在加注过程中控制AUS 32流最。该加注嘴应具有标准的 接口尺寸,旦具有自动关闭功能C
K.2.4
车辆加注系统 on-board refilling SyStem
车载AUS 32的设备,通常包括一个加注口、加注器颈、加注孔盖和一个容器。
K. 2.5
加注器颈filler neck
车辆加注系统上可以向容器加注的接口部分,其开口处为加注口。
K2.6
加注口 inlet adapter
加注孔颈的永久固定部分,有标准的接口尺寸,并带有一个防止误将AUS 32加入燃油箱的磁环。
K∙2∙7
加注孔盖filler CaP
安装在加注器颈上,加注时可以打开或移走的部件,用于防止AUS 32溢出或受到污染。
K.2.8
开放式加注系统 OPen refilling SyStem
加注嘴和加注器颈之间不要求气密性的普通加注系统。例如,可以用一个小的容器给开放式加注 系统注入AUS 32。
K. 2 9
密闭式加注系统SeaIed refilling SyStem
加注嘴和加注器颈之冋是密闭式的特殊加注系统。
K.3要求
K.3.?功能要求
车辆加注系统和车外加注系统都应满足表K. 1的基本功能要求。
表K. 1车辆加注系统和车外加注系统的基本功能要求
|
特性 |
要求 |
备注 |
|
最大流速 |
20 L/xxdn ~40 L/min |
— |
|
加注咪的自动关闭 |
满足EN 13012或等同标准的要求 |
防止溢岀 |
|
车载飜的最大加 注址 |
加注嘴的自动关闭功能应能够避免加注量 超过最高加注限度。 车载蟻应可以耐受AUS 32的膨胀 |
ACS 32冻结后体积可以增加7% |
|
■HUM •・ ∙ ∙ ∙ ∙ ≡∙. .• .• . 溢出 |
加注孔颈与水平之间的夹角在5O°~9S之间 时,每次加注时的溢岀蛍不超过30 mL。 加注孔颈与水平之间的夹角在30°~50°之间 时,每次加注时的溢出蛍不超过50 mL |
应尽蛍减小AUS 32洒漏在设备上带来的影响 |
|
加注时通风 |
适用于车辆AUS 32容器 |
— |
|
使用温度范围 |
对于安装在车辆上的部件,一30 C〜+80 -C |
对特殊弛区,这个温度范围可能过窄或过寛。 这时可以考虑针対特殊地区扩大或縮小温度 范围 |
|
对于在服务站的部件,一20 C~ + 40 P | ||
|
误将AUS 32加入燃 油箱 |
每次不超过80 mL |
用加注嘴的磁开关或类似装置可以避免 |
|
误将燃油加入车辆 AUS 32容器 |
应保证燃油不会加注到车辆AUS 32容器 |
加注口的直径要求可以防止燃油喷嘴插入 AUS 32加注孔颈 |
|
材料 |
使用的材料应符合附录J的要求 |
与AUS 32接触的材料应与AUS 32具有兼容 性,以防止AUS 32被污染和装置被腐蚀 |
|
AUS 32的结冰 |
加注站应有防结冰措施, 车辆零部件的设计能够适应在运行温度范 围内AUS 32的结晶和融解 |
AUS 32在一 11. 5 P时结冰,且体积会增加 约7% |
表K. 1 (续)
|
特性 |
要求 |
__________⅛s__ |
|
清洁度 |
为了避免AUS 32被汚染,所有车辆和车外 加注系统的部件在生产、组装和安装过程中 都要保证高清洁度 |
本外加注系统部件的洁净度应满足附录J的 要求C 整车和零部件制造商应根据技术发展水平,就 车轴加注系统零部件的清洁度达成一致 |
|
可靠性和耐久性 |
在车辆使用的整个周期内,应该保证加注器 颈、加注口和加注孔盖都完全有效,并且不 需任何服务、调整或更换 | |
|
结晶. |
应有保护措施 |
尽址避免与空气接触 |
|
. 标识 |
信号装置的标志见ISO 2575。产品标识见 第4章 |
建议用蓝色加注孔盖 |
|
β只作为推荐. | ||
K.3.2加注孔颈
加注孔颈的加注口应满足可拆装要求,以备需要开放式加注AUS 32。
加注孔颈的具体尺寸参数见图K. 1和表K. 2。
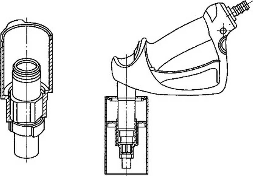
车辆制造商应详细说明车辆上加注孔颈的几何位置和方向,并给加注嘴预留适当的空间。
说明,
8——水平方向。
图K. 1加注孔颈
表K∙2加注孔颈的尺寸
|
符号 |
一 参数 _ 一 |
尺寸 |
|
M |
入口或上止口直径 一 |
M39. 5 mm |
|
≠B |
上支椁口直径 一 |
≥3? mm |
|
C |
止口的髙度 |
≤48 mm |
|
D |
加注孔颈兰水平_________ |
go* |
|
E |
加注孔颈与水平方向的夹角’ |
≤90o |
|
・为减少溢岀,建议角度为SS〜90二 L如果角度小于30°,溢出段通常会增加.甚至有可能超过表1規定的限值,在这种情况下,喷嘴的功能可能受到 影响。 | ||
K.3.3加注口
加注口应与加注孔颈配套。加注口的内径设计应能够避免管口直径大于20. 0 mnɪ的加注嘴进入 加注口。
如图K.2所示,加注口应配备一个磁环。磁环的特性要求见表K. 3。
单位为竜米
说明:
1— —加注孔径;
2— —加注口 5
3— —磁环;
a——水平方向;
b---流动方向。
图K.2加注口
表K. 3磁环的特性要求
|
__ | ||
|
尺寸 |
外径 |
__ 34 mm |
|
内径 |
24 mm | |
|
______A______ |
10 mm | |
|
材料 |
敏铁 ® (NdFeB) | |
|
磁性 |
剰磁 |
1.2T〜1.3T |
|
矫顽磁性 |
800 kA/m〜900 kA/m | |
|
方向 |
________N极从容器指向斑外________ | |
K∙3∙4加注孔盖
加注孔盖关闭时要保证AUS 32不外漏。
建议加注孔盖为蓝色。
K.3.5加注嘴
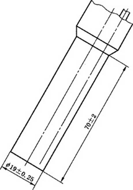
加注嘴管口应为圆柱体,其外径为19 mm±0. 25 mm,长度为70 mm±2 mm,见图K. 3o
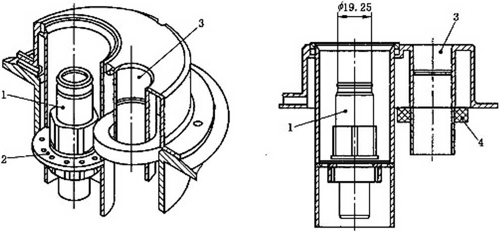
加注嘴管口应配置一个与加注口磁环相作用的磁开关,见图K. 4。若误将喷嘴插入油箱或者其他 液体容器时,磁开关能防止误加注。
单位为毫米
图K.3加注嘴
单位为毫米
说明
1— —加注管(颈);
2— 磁适配器;
3— —磁开关。
图K.4带有磁开关的喷嘴管口插入到加注口的位置示意图
K. 3.6加注的最小空间
车辆及其零件制造商和AUS 32加注嘴制造商应满足图K. 5和图K. 6中所示的空间要求,以保证 加注AUS 32时,加注嘴可以不受任何阻挡地在加注孔颈中插拔。
图K.5加注所需自由空间的三维视图
单位为蕊米
说明:
1— —操作员手握的空间;
2— —适配器的顶面。
。——运动距离。
图K.6加注所需的最小空间图示
附录L
(资料性附录)
密闭式加注系统的相容性条件
UI功能要求
密闭式加注系统应满足表K. 1中规定的基本功能要求,只是每次加注时的最大溢出量要求改为 20 mU图Ll描述r一个密闭式加注系统实例。
在使用密闭式加注系统时,不可误将AUS 32加注到油箱中,也不可误将柴油加入到AUS 32车辆 容器中。用小容器进行紧急加注是可行的,见图L. 3。应建立反馈系统来保证适时停止加注。
图L. 1密闭式加注系统实例
L.2加注孔颈
密闭式加注系统的加注孔颈应满足图L. 2和表L. 1中的要求。图L. 2所示的加注孔颈用于带有 法兰的加注口,这样可以使用较小的容器紧急加注。
对于密闭式加注系统的加注孔颈的弯角无特殊规定。密闭式加注系统应该考虑加注孔颈的柔性 布置。
图L.2加注孔颈
表L. 1加注孔颈的尺寸 尊位为庭米
|
__ | ||
|
SFl ^ -~τ— ^Λ__■ I BJ____ |
__ 外端口面 |
≥π? |
|
_______内端口面 __ |
.. ∙ Z • ≤97 | |
|
_______姫______ |
_______人口直径___ |
88 〜9。 |
|
H ^ _ |
____ 高度 |
未规定_______ |
L.3加注口
加注口设计适应于安装在加注孔颈内部。加注口还应有一个密闭式加注系统的耦合器。密闭式加 注系统的耦合器外径应为19.25 mɪnO
L.4加注孔盖
该种加注孔盖只用来防尘。
L.5加注嘴
加注嘴应与密闭式加注系统的加注口相匹配。
如果喷嘴插入到非AUS 32车辆容器,也不会将AUS 32注入其中。
L. 6加注所需的最少空间
除了转接器(直径19∙25 mmX72 mm)顶面下部的尺寸外,密闭式加注系统加注所需最小空间要 符合开放式系统的加注管道尺寸的要求。
单位为成米
说明:
1——密闭式加注器的耦台器;
2・密闭式加注器的通气阀;
3——开放(紧急加注)加注进口 ;
4 用于打开加注嘴的磁环。
图L.3 一个可用于开放或密闭式加注系统的带有加注口的加注孔颈 附录M (资料性附录)
本标准与ISO 22241相比的结构变化情况
本标准与ISO 22241-1;2006、ISO 22241-2:2006和ISO 22241-3:2008相比在结构上有较多的调 整,具体章条编号对照情况见表M.1。
表M. 1本标准与ISO 22241的章条编号对照情况
|
本标准赢爲号 |
対应国际标准的章条编号 |
对应国际标准号 |
|
1 |
1 |
ISo 22241-1:2006 |
|
2 |
2 | |
|
3.1 |
— | |
|
3.2~3.3 |
3. 2-3. 3 | |
|
3.4 |
3.1 | |
|
4 |
4,7 | |
|
5 |
5 | |
|
6 |
— | |
|
7 |
6,附录C | |
|
8 |
— | |
|
— |
附毛A______ | |
|
1- |
]__ 附录B _ | |
|
_________ — |
1~5 |
ISO 22241-2:2006 |
|
___ |
附录B | |
|
. |
附录C________ | |
|
________附录B |
附录D | |
|
附录C |
附录E | |
|
附录D |
附录F | |
|
--- 一 IJ ▼侦 ,一厂_一—一― 一一一. 一 _ _ _ |
W MV ■■ ∙・. - ■ 99 W ♦・ ・ ■■■» ■ ∙ .・ ∙'∙ 附荥G____ | |
|
_____ -⅛⅛3. 一 一- |
商录%-• - [ | |
|
附亲王_ |
附录I_________ | |
|
附录H |
附录J | |
|
___附录I_________ |
________附录A_______ | |
|
— |
一 附录K | |
|
J~6 |
ISO 22241-3;2008 | |
|
附录K |
— | |
|
________附录L________ |
— | |
|
Z ^^ 附录M |
— | |
|
________附录N________ |
附录N
(资料性附录)
本标准与ISO 22241的技术性差异及其原因
表 Nl 给出了本标准与 ISO 22241-1 :2006 JSO 22241-2:2006 和 ISO 2224132008 的技术性差 异及其原因。
表N.1本标准与ISO 22241的技术性差异及其原因
|
本标准章条编号 |
______技术性■异 |
原因 |
|
2 |
关于規范性引用文件,本标准做了具 有技术性差异的调整,调整的情况集 中反映在第二章“规范性引用文件” 中,具体调整如J ——用等效釆用国际标准的 GB/T 1884 和 GB/T 1885 代替了 ISO 3675(见第 5 章); ——用等效采用国际标准的 SH/T 0604代替了 ISO 12185(见第 5 章)3 ——用修改采用国际标准的 GB/T 6682代替了 ISO 3696(见第 5 章) ——培加引用了 GB/T 60】、 GB/T 614、ISO 9020(见 R 4. 2、表 1 和 D. 4. 4) |
适应我国技术条件 |
|
3.1 |
增加了选择性催化还原系统的定义 |
对标准中新増的术语进行了定义,便 于使用 |
|
3.2 |
用“ AUS 32专用尿素”代替 “technically PUre Urea" |
“technically PUre Urea"没有相应的词 语对应,意译为“AUS 32专用尿素” 更为恰当 |
|
— |
删去了 ISO 22241-2中1〜5章 |
该部分论述了 TSO 22241-2的范围、 引用文件、精密度的概遂等说明性内 容,在本标准中相关章节均有论述, 故競除 |
|
5 |
将密度检测方法修改为GR/T 1884、 GB/T 1885 和 SH/T 0604,并以 SH/T 0604为仲裁方法 |
国内有与ISo标准对应的标准.直 接采用即可;SH/T 0604人为干预 少,试验数据较GB/T 1884和 GB/T1885更为准确,所以将 SH/T 0604定义为仲裁方法 |
表N. 1 (续)
|
本标准章条编号 |
技术性差异 |
原因 |
|
5 |
I 聽除了 ISO 22241-2:2006中的附录 C,将折光率检测方法修改为 GB/T 614 |
根据试验比对数据,使用ISO 22241-2:2006中附录C的试验结果与使用 GB/T 614的试验结果相当,可直接 采用 GB/T 614 |
|
6 |
増加了检毁规剣 |
国内标准编制耍求_________ |
|
B. 3.7 |
增加了手动滴定管 |
用于手动滴定____ |
|
B.3.8 |
増加了移液管 |
用于配制0.01 mol/L盐酸标准滴定 溶液_________ |
|
附亲B. 6.1 |
敬度的计算公式由FgM = (VX 0,017)∕g ”修改为 4< - VxAXM ɪɔɔ ” m3×l OOOXIoo |
原公式直接将标准滴定溶液的浓度 定义为0・01 mol∕L,使用标准滴定溶 液的实际浓度更为准确 |
|
附录c. 3. 6 |
増加了 “2 mL、5 mL、10 mL、20 mL 移液管”________________ |
明确了移液管的容氏,便于操作 |
|
附录D.3.3 |
増加了“500 mL容量瓶和经过检定 的50 πιL容量瓶” |
明确了容最瓶的容鼠,便于操作 |
|
附录D. 3. 4 |
增加了“经过检定的大小从0.2 mE 到25 mL的固定或可变容快移液管 均可” |
明确了移液管的容虽,便于操作 |
|
附录D. 4. 2 |
疏酸浓度从96%修改为98% I |
我国市售浓磷酸含量大部分为98%, 实际反应过程中硫快为过量,也不参 与计算。为方便使用,将浓度修改 为98% |
|
附录F. 3. 6 |
增加了“经过检定的50 mLjOO mL、 1 OOO InL容及瓶” |
明确了容鼠瓶的容员,便于操作 |
|
附泉F.3.7 |
増加了 “经过检定的1 mL、2 mL、 5 mLJ0 mL移液管” |
明确了移液管的容最•便于操作 |
|
附录F,4.4 |
硫酸浓度从96%修改为98% |
我国市售浓琉酸含宣大部分为98%. 实际反应过程中硫酸为过鼠,也不参 与计算。为方便使用,将浓度修改 为98% |
|
附录G. 3. J |
增加了栽,纯度要求,不低于 99.999% |
便于使用者选择和操作 |
|
— |
删除 了 TSO 22241-2: 2006 中的附 录K |
该部分内容为试验方法精密度的总 结,本标准在试验方法后均附有藉密 度要求:该部分車复,故删除_____ |
中华人民共和国
国家标准 柴油发动机氮氧化物还原剂尿素水溶液
(AUS 32)
GB 29518—2013
*
中国标探出版社出版发行 北京市朝阳区和平里西街甲2号(IOOOI3) 北京市西城区三里河北街16号<100045)
网址 WWw∙ spc. net. Cn
总编室 J(OIO)64275323 发行中心:(010)51780235
读者服务部I(OIo)68523946
中国标准出版社秦皇岛印刷厂印刷 各地新华书店经销
*
开本880X1230 1/16 印张3.5 字数100千字 2013年5月第一版2013年5月第~次印刷
GB 29518-2013
•
书号:155066 • 1-47261 定价 48.00 元
如有印装差错 由本社发行中心调换 版权专有侵权必究 举报电话:(010)68510107
打印日期:2。13年5月22日F009