ICS 25.160.50 j33
^iii≡b⅛iili^
GB/T 33148—2016
Soldering and brazing terms
(ISO 857-2:2005 ,Welding and allied PrOCeSSeS一VOCabUIary一
Part 2:SOldering and brazing PrOCeSSeS and related terms,MOD)
2016-10-13 发布
2017-05-01 实施
本标准按照GB/T 1.1-2009给出的规则起草。
本标准使用重新起草法修改采用ISO 857-2:2005«焊接及相关工艺 词汇 第2部分:软钎焊、硬 钎焊工艺及相关术语》(英文版)O
本标准与ISO 857-2:2005技术性差异及其原因如下:
——关于规范性引用文件,本标准做了具有技术性差异的调整,以适应我国的技术条件。将 ISO 15609-6:2013引用的国际标准,用我国相应的标准代替,调整的情况集中反映在第2章 “规范性引用文件''中,具体调整如下:
• 用 GB/T 5185—2005 代替 ISO 4063 : 1998, (IDT);
——增加了目次、汉语拼音索引内容;
--修改了术语分类(见第3章)O
本标准还做了下列编辑性修改:
——将标准名称修改为“钎焊术语”;
——删除ISO 857-2:2005的附录A;
——将ISO 857-2:2005的附录B,改为我国标准的附录A,删除了其中的法文和德文对应术语,增 加了中文对应术语。
本标准由全国焊接标准化技术委员会(SAC/TC 55)提出并归口 O
本标准起草单位:机械科学研究院哈尔滨焊接研究所、郑州机械研究所、深圳市汉尔信电子科技有 限公司、哈尔滨工业大学、绍兴市天龙锡材有限公司、浙江亚通焊材有限公司、浙江银轮机械股份有限公 司、深圳市亿钺达工业有限公司。
本标准主要起草人:吕晓春、何鹏、龙伟民、马鑫、戴登峰、金霞、麦小波、杨明、苏金花。
1范围
本标准界定了软钎焊、硬钎焊工序相关的术语和定义。
本标准适用于软钎焊、硬钎焊技术研究、开发与应用,及相关的管理、经营、标准制定等。
2规范性引用文件
下列文件对于本文件的应用是必不可少的。凡是注日期的引用文件,仅注日期的版本适用于本文 件。凡是不注日期的引用文件,其最新版本(包括所有的修改单)适用于本文件。
GB/T 5185 焊接及相关工艺方法代号(GB/T 5185—2005, ISO 4063: 1998,IDT)
3术语和定义
下列术语和定义适用于本文件。
3.1 一般术语
3.1.1
钎焊 SOldering and brazing
硬钎焊和软钎焊的总称。采用比母材熔化温度低的填充材料作钎料,将焊件和钎料加热到高于钎 料液相线而低于母材固相线的温度,利用液态钎料在母材钎焊界面间隙中或表面上润湿,填充钎焊间隙 并与母材相互作用(溶解、扩散或界面反应等)实现连接的方法。
3.1.2
涂层(镀层)COating
在母材的钎焊面上沉积一层或多层材料,以获得期望的性能和/或尺寸。
3.1.3
润湿 Wetting
熔融态钎料在被钎焊材料表面铺展和附着。
3.1.4
反润湿 de-wetting
液态钎料凝固后与母材的分离现象。尽管液态钎料也会在被钎焊材料表面铺展,但由于钎焊面不 够清洁或钎剂量不足,不能实现连接。
3.1.5
钎焊性 brazability/solderability
材料对钎焊加工的适应性,即材料在一定的钎焊条件下,获得优质接头的难易程度。
3.1.6
润湿性 WettabiIity
钎焊时,液态钎料对母材浸润和附着的能力。
液态钎料在母材表面上流动展开的能力,通常以一定质量的钎料熔化后覆盖母材表面的面积来 衡量。
熔融态钎料在钎缝间隙中流动通过的距离。
由熔融态钎料、母材钎焊面及其之间的表面张力所引起的作用力,它甚至可以抵抗重力的作用,使 熔融态钎料填充钎缝间隙。
通过钎料中的液相与母材固体金属之间的冶金反应实现键合的工艺。
3.2钎焊材料
钎焊时用的填充金属,其形态可以是丝状、片状、粉状、膏状等。
熔点高于450 °C的钎料。
熔点低于450 OC的钎料。
钎料中含有起钎剂作用成分的硬钎料,例如铜磷钎料、银铜磷钎料、银铜锂钎料等。
含有对氧具有高亲和力元素(如Ti、Zr等)的钎料,其特点是能直接润湿陶瓷、石墨等材料。
预先加工成与待钎焊面形状相适应的钎料,钎焊前预置于钎缝间隙中。
自液态以高速急冷非结晶凝固得到的钎料。
作为合金成分,铅含量(质量分数)不超过0.07%的锡基钎料的总称。
呈膏状的钎料。一般由钎料粉末、钎剂与粘结剂混合而成。
涂有药皮(主要成分为钎剂)的钎料,一般为棒状。
钎料不是以均一成分而是以多层结构存在,依靠钎焊加热过程各层相互作用形成钎料。
内腔充填有钎剂的钎料。
单面或双面预先轧敷钎料层的金属复合板。
熔化温度范围是从钎料熔化(固相线温度)开始到完全熔化(液相线温度)为止。
钎焊时使用的熔剂,分硬钎剂和软钎剂两种。它的作用是清除钎料和母材表面的氧化物,并保护焊 件和液态钎料在钎焊过程中免于氧化,改善液态钎料对焊件的润湿性。
钎焊过程中以气体形式起作用的钎剂。它可能本身即为气体,也可能是低沸点的液态物质或低升 华点的固态物质的气化产物。
一种特殊类型的钎剂,其成分主要为某类金属盐。它们在钎焊加热中发生分解,或与母材作用而析 出金属,沉积在母材表面,能促进钎料的铺展或充当钎料。
以天然树脂松香为主要成分组成的钎剂。一般是将松香溶解在适当的有机溶剂中,有时还添加某 些活性剂。
由钎剂与适当的成膏剂调配而成的膏状钎剂。
阻止钎料泛流的一种钎焊辅助材料。钎焊时用以防止熔化的钎料泛流到不需要钎焊的母材表面或 夹具表面上。
能够使钎料和/或钎剂粘结,使钎料能以膏状或模制成合适形状应用于钎焊。
钎剂润湿焊件钎焊面、清除氧化膜、促进液态钎料铺展的能力。
钎剂能稳定地发挥钎剂活性作用的温度范围。此温度范围的下限在钎剂的固相线以上,其上限取 决于钎剂的热稳定性。
在加热时,钎剂保持其成分及性能稳定不变的能力。
钎焊部位周围的气体或真空,它可以去除钎焊面的氧化膜或其他不利于钎焊的薄膜,也可以防止钎 焊面再次生成氧化膜或不利于钎焊的薄膜。
在钎焊过程中,对氧具有高亲和力的能够去除氧化物的气氛。
在钎焊过程中,可防止氧化物等生成的气氛。
在规定的空间内,低于一个大气压的气体状态。
被钎焊的材料的统称。
3.3钎焊工艺
实现钎焊连接的全部工艺过程的总称。通常包括钎焊前清理、装配、钎焊加热、保温、冷却及钎焊后 清理等。
依照给定的钎焊工艺完成钎焊过程的各种动作。狭义的钎焊操作只指完成钎焊加热、送进钎料的 有关动作。
特殊焊件钎焊前,为改善钎料对焊件的润湿或降低去膜的困难,对焊件钎焊面镀覆的金属层。
3.3.4
钎焊面 faying face
焊件上待钎焊的表面。
3.3.5
钎焊参数 brazing/SOIdering PrOCeSS VariableS
钎焊时,为保证钎焊质量而规定的各物理量的总称。
3.3.6
钎焊温度 brazing/soldering temperature
钎焊时,为使钎料熔化并填满钎焊间隙及与母材发生相互扩散所需要的加热温度。
3.3.7
均温温度 equalizing temperature
预热温度 Preheating temperature
钎焊件在此温度下保温一定的时间,以保证钎焊件能够被均匀加热。
3.3.8
均温时间 equalizing time
预热时间 Preheating time
试件在均温温度/预热温度下保持的时间。
3.3.9
保温时间 holding time
钎焊过程中,焊件的接头部分在钎焊温度下保持的时间。
3.3.10
加热时间 heating time
钎焊过程中,焊件达到钎焊温度所需要的时间。
3.3.11
冷却时间 cooling time
接头从钎焊温度冷却到环境温度的时间。
3.3.12
总时间 total time
包括加热时间、保温时间和冷却时间。
3.3.13
有效温度范围 effective temperature range
钎焊过程中钎剂或保护气氛能够保持有效作用的温度范围。
3.3.14
有效时间 effective time
在钎焊操作过程中,钎剂持续发挥有效作用的时间。
3.3.15
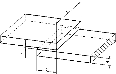
无间隙接头 CloSed joint
在两钎焊面之间不留间隙的接头。液态钎料主要依靠毛细作用填充钎缝间隙,例如钎焊对接接头 或搭接接头试件的平行钎焊面(见图1、图2)。
说明:
1— —接头长度;
2— —接头宽度(装配间隙);
3— —钎焊件厚度。
图1无间隙对接接头示意图
说明:
1— —接头长度;
2— —接头宽度(装配间隙);
3— —搭接长度;
4— —钎焊件厚度。
图2无间隙搭接接头示意图
在两钎焊面之间留有间隙的接头。液态钎料主要依靠重力作用填充钎缝间隙(见图3)o
说明:
1— —接头长度;
2— —接头宽度(预留间隙);
3— —钎焊件厚度。
图3有间隙接头示意图
在钎焊温度下的待钎焊试件之间狭窄的间隙。
在室温下的待钎焊试件之间狭窄的间隙。
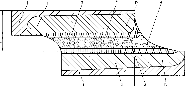
与硬钎焊/软钎焊相关的术语如图4和图5所示。
说明:
|
与焊件相关的术语: |
VI- |
—扩散区/过渡区; | |
|
I- |
—钎焊件; |
W- |
—钎缝金属区。 |
|
D- |
—母材区; |
与材料相关的术语: | |
|
皿一 |
—钎焊接头; |
1 — |
一母材; |
|
IV 一 |
—热影响区; |
2— |
一受钎焊工艺影响的母材 |
|
V- |
一钎缝; |
3— |
一扩散区/过渡区; |
|
4—— |
一钎缝金属。 | ||
图4在钎焊装配中与材料和部件相关的术语
说明:
材料
1— —母材;
2— —受钎焊工艺影响的母材;
3 扩散/过渡区;
4——钎缝金属。
装配
IV —热影响区;
V——钎缝。
尺寸
t——试件厚度;
J——接头有效宽度;
W一搭接长度。
3.3.20
钎缝 brazing/soldering SeaIn
钎焊接头中由熔化的钎料凝固形成的接合区域,包括钎缝金属和扩散/过渡区。
3.3.21
钎缝金属 brazing/SOldering Inetal
构成钎缝的金属。主要为填缝的钎料金属,由于与母材的相互扩散作用,其成分已不同于原来的 钎料。
3.3.22
钎缝界面区 interfaciaIregiOll
钎缝中与母材毗连的部分。此区域的金属与母材间有强烈的相互扩散作用,其成分、组织、性能与 原钎料有较大的差别,对接头性能影响较大。
3.3.23
热影响区 heat-affected ZOne
钎焊过程中母材因受热的影响,而发生组织和/或力学性能变化的区域。
3.3.24
扩散区 diffusion ZOne
在钎焊过程中形成的化学成分不同于母材和钎缝金属的过渡层。
3.3.25
钎角 brazing/soldering fillet
在钎焊搭接接头和T型接头时,钎料因润湿作用而形成的弧形的填角部分。
3.3.26
钎焊接头 brazed/soldered joint
用钎焊方法连接形成的接头。
3.3.27
润湿角 Wetting angle
液态钎料滴与母材接触时,钎料边缘与母材表面间形成的夹角。它反映钎料对母材润湿的程度。 常用作钎料对母材润湿性的判据。润湿角的余弦称为润湿系数(见图β)o
气(G)
液(L)
说明:
σ 界面张力;
θ——润湿角;
L--液态;
S--固态;
G--气态σ
图6润湿角示意图
3.3.28
钎焊接头中实际钎着的钎缝面积与应该钎焊的总面积的比率。
通过加热熔化钎缝金属,使钎焊接头分离的工艺。
熔化的钎料未能填满钎缝间隙所形成的一种钎焊缺陷。
由于加热不足或钎焊面清理不洁、润湿不良等,钎料与母材间存在明显分界的缺陷。
母材表面被熔化的钎料过度溶解而形成的凹陷。
3.4钎焊方法
使用钎料的液相线温度不大于450 C进行的钎焊。
在钎焊过程中,所有操作都是由手工来实现。
在钎焊过程中,除试件装拆以外,所有主要操作都是由机械来实现。
在钎焊过程中,所有的操作都是自动实现的,包括试件装拆等所有的附属操作。
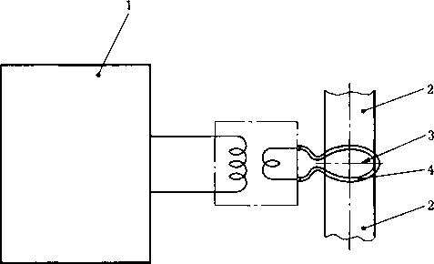
通过手工或机械操作烙铁来进行加热的软钎焊。烙铁的热容、形状及烙铁头要与焊点相匹配。可 使用单独的钎料和钎剂或药芯钎料来进行钎焊(见图7)0
说明:
1——烙铁头;
2 药芯钎料;
3 印制电路板;
4—一元器件管脚。
图7烙铁软钎焊示例(印制电路板)
采用已加热的金属块(如热板)作为热源,将待焊试件加热至钎焊温度实现的软钎焊。钎料通常以 药芯钎料或实心焊丝的方式添加。采用实心钎料丝时,钎剂应预涂在接头待焊位置。该工艺主要用于 较厚试件与较薄片状金属试件之间的软钎焊。
钎剂应预涂在待焊表面,在液态钎料浴中运转的辐轮与试件表面接触,加热试件并带动钎料在试件 表面实现润湿、铺展。
说明:
1——平整试件(如印制电路板);
4— —用于保护液态钎料免于氧化的盐浴层;
5— —钎料浴槽。
2 --反向辐轮;
3 钎料辍轮;
图8辗锡法
将焊件或装配好钎料、钎剂的焊件整体或局部浸沉在液态钎料浴槽或盐浴槽中加热来实现钎焊连 接,浸入速度的选择要确保试件在浸入过程中都可以达到钎焊温度。
说明:
1— —正弯月型液面(凹型液面);
2— —试件;
3— —钎料浴槽。
液态钎料在传动泵作用下由喷嘴喷岀形成钎料波峰,焊件以一定速度和角度掠过波峰实现钎焊。 该工艺主要与钎剂发泡或喷雾装置、钎剂干燥装置结合使用,用于印制电路板的软钎焊。钎料液面与印 制电路板之间的理想角度约为7°(见图IO)O
说明:
1--印制电路板;
2— —干燥装置;
3— —可形成钎料波的钎料浴槽;
4— —钎剂发泡或喷雾装置;
a传送角度。
图10波峰软钎焊
釆用表面积较大、非常浅的钎料浴槽,待焊平整试件(印制电路板)首先预涂钎剂并烘干,随后在钎 料浴槽中浸沾。浸入和浸出角度可以相同也可以有8°〜10°倾斜,浸沾深度约为印制电路板厚度的一 半。印制电路板在钎料浴槽的移动过程中,其前面安装的刚性长条板用于刮除熔融钎料表面的氧化膜, 钎焊试件大小取决于印制电路板的移动速度和钎料浴槽的长度。
说明:
1— —刚性长条板;
2— —夹具(夹持印制电路板);
3--印制电路板;
4— —钎料浴槽;
5— —烘干装置;
6— —钎剂发泡或喷雾装置。
液态钎料在传动泵作用下由喷嘴喷出形成钎料波峰,焊件以一定速度和角度掠过波峰实现钎焊。 该工艺主要与钎剂发泡或喷雾装置、钎剂干燥装置结合使用,用于印制电路板的软钎焊。钎料液面与印 制电路板之间的理想角度约为7°(见图IO)O
料波的钎料
drag SOIder
浴槽的移动过程中,其前面安装的刚性长条板用于刮 制电路板的移动速度和钎料浴槽的长度。
说明:
1— 刚性长条板;
2— —夹具(夹持印制电路板);
3--印制电路板;
4— —钎料浴槽;
5— —烘干装置;
6— —钎剂发泡或喷雾装置。
将试件待焊区域浸入液态钎料浴槽中,利用超声波在钎料液体中的振荡,产生的超声空化效应可有 效击碎并去除该待焊区域金属表面氧化层,从而改善钎料对母材的润湿作用而进行的钎焊(见图12)0
说明:
1 ---试件;
2 --超声发生器;
3— —超声探头;
4— —带冷却风扇的支撑结构;
5— —基座;
6— —钎料浴槽。
图12超声软钎焊
利用可燃气体与氧气(或压缩空气)混合燃烧的火焰进行加热实现的软钎焊(见图13)0由于火焰 对钎剂具有损害作用,火焰不能直接施加于已经预涂钎剂的试件接头。可通过移动吹火管来保证接头 区域得到均匀加热。钎料可预置于待焊试件之间,或者是在试件达到钎焊温度后送入。
说明:
1— —钎剂和钎料;
2— —试件;
3— —火焰。
图13火焰软钎焊
利用温度高于钎料液相线温度的惰性气体的细小气流加热焊件实现软钎焊的方法。气体不仅起传 热介质作用,而且能减少空气对焊件的有害作用。
红外光源位于半椭圆型反射镜的焦距处,所发出的红外光线在第二焦点处聚焦并作用于已经预置 钎料和钎剂的待焊试件处,加热试件实现钎焊。
利用高频、中频或工频交流电感应加热试件实现钎焊连接的方法。
试件预置钎剂和钎料之后,采用两个导电电极将待焊试件压合在一起,利用电阻热实现试件钎焊的 方法(见图14) o
说明:
1 电极;
2— —待焊接头;
3— —试件(如镀锡铜带)。
图14电阻软钎焊
将已经预置钎剂和钎料的待焊试件放在炉中加热实现钎焊连接的方法。
预置钎剂和钎料(多数情况下使用钎料膏)后,通过高温气体对流传导、红外辐射、激光、汽相冷凝放 热等方式来加热试件(如印制电路板)O
将装配好的焊件整体或局部浸沉在液态钎料浴槽中加热来实现钎焊连接,浸入速度的选择要确保 试件在浸入过程中都可以达到钎焊温度。
将装配好的焊件整体或局部浸沉在液态盐浴槽中加热来实现钎焊连接。
将装配好钎料的试件浸入熔融态活性钎剂浴槽之中加热实现钎焊连接的方法。
利用可燃气体与氧气(或压缩空气)混合燃烧的火焰进行加热实现的硬钎焊(见图15) O
说明:
1--硬钎料;
2— —试件;
3— —火焰阵列燃烧器;
4— —燃气/空气混合气体。
图15釆用固定位置燃烧器的火焰硬钎焊
利用电弧加热工件实现硬钎焊的方法。由于所用钎料的熔化温度范围低于母材,因此采用该工艺 对试件镀层的损伤以及试件的热影响相对较小。通常,电弧硬钎焊用于带镀层或不带镀层的不锈钢薄 板的焊接,钎焊过程中通常不需要钎剂。
利用激光束加热试件实现钎焊连接的方法(见图16)。
说明:
1--电源
2——光纤
3——光学聚焦系统;
6---试件O
图16激光束硬钎焊
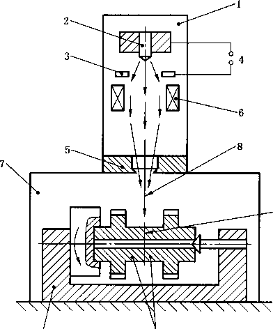
利用电子束加热焊件的钎焊方法,该方法通常在真空条件下进行(见图17)o
10 11
|
说明: | |||
|
1—— |
真空室; |
7—— |
一钎焊腔室; |
|
2—— |
-阴极; |
8— |
—电子束; |
|
3—— |
阳极; |
9—— |
一接头; |
|
4—— |
-电源端子; |
10- |
—试件移出装置,如旋转装置 |
|
5—— |
电子束偏转系统; |
II- |
—试件。 |
|
6—— |
聚焦透镜; | ||
通过交流电感应作用在待焊试件内部产生热量。通常该方法在大气环境下辅以钎剂进行,也可以 采用保护气氛。
待焊试件内部所感应的能量密度从表面到中间迅速衰减。相应的穿透深度与频率存在变量关系。 与高频相比(Ioo kHz至几MHz),中频(1 OooHZ〜10 000 HZ)条件下的穿透深度更大。
说明:
1——发电装置;
2---试件;
3— —接头;
4— —感应线圈。
图18感应硬钎焊
试件预置钎剂和钎料之后,采用两个导电电极将待焊试件压合在一起,利用电阻热实现试件钎焊的 方法。该方法可以实现试件的间接(见图19)或直接(见图20)硬钎焊。
说明:
1— —第一个试件;
2— —钎料、钎剂;
3— —第二个试件;
4— —电源端子;
5— —铜电极;
6— —压力装置。

说明:
1---电极;
2——某形状电极端部(材质为碳、鸨或钥);
3 --电源端子;
4 --钎料、钎剂;
5 ---试件;
6 --反向电极。
图20直接电阻硬钎焊
将已经预置钎剂和钎料的待焊试件放在炉中加热实现钎焊连接的方法。炉内产生的辐射热和/或 高温气体对流导热为试件的硬钎焊提供热源。
加热中借助于母材与表面的预镀覆层或预先安置在钎缝间隙中的垫片发生接触反应而熔化形成的 液态合金作为钎料来实现连接的钎焊方法。
利用熔化极惰性气体保护焊工艺,采用低熔点焊丝实现钎焊的一种方法。适用于镀锌板材的焊接。
将装配好钎料的焊件置于真空炉中加热进行的钎焊。
在焊件钎焊面间预置钎料箔,或借助接触反应形成的液相作钎料,在真空或保护气氛中将焊件在高 于钎料的固相线温度下持久加热,使钎料成分与母材相互充分扩散,以获得性能优异的均质钎缝的 钎焊。
钎焊比较复杂的工件时,在不同部位采用不同熔点的钎料,从高熔点到低熔点依次分级进行的钎焊 工艺。
利用聚焦的红外线光束加热焊件的钎焊方法。
利用鼐弧灯发出的强热光线聚焦成高能量密度的光束加热焊件的钎焊方法。
一种兼有钎焊和焊接特征的工艺方法。焊件间间隙大或开有坡口,钎料熔点低于母材熔点,但熔化 后并非依靠毛细作用而是直接填充到间隙或坡口中,钎料与母材靠相互扩散而实现连接。
(资料性附录)
钎焊工艺术语及方法代号对照表
|
本标准中的章条号 |
中文 |
英文 |
GB/T 5185—2005 中的工艺方法代号 |
|
3.4.1 |
软钎焊 |
SOldering |
94 |
|
3.4.5 |
烙铁软钎焊 |
iron SOldering |
952 |
|
3.4.6 |
预热板软钎焊 |
SOldering With Preheated blocks |
一 |
|
3.4.7 |
辐锡(辐带镀锡) |
roller tinning |
一 |
|
3.4.8 |
浸渍软钎焊 |
dip SOidering |
944 |
|
3.4.9 |
波峰软钎焊 |
WaVe SOldering |
951 |
|
3.4.10 |
拉拖软钎焊 |
drag SOIdering |
956 |
|
3.4.11 |
超声软钎焊 |
UItraSOniC SOldering |
947 |
|
3.4.12 |
火焰软钎焊 |
torch SOldering |
942 |
|
3.4.13 |
热风软钎焊 |
hot gas SOIdering |
一 |
|
3.4.14 |
红外软钎焊 |
infrared SOldering |
941 |
|
3.4.15 |
感应软钎焊 |
induction SOldering |
946 |
|
3.4.16 |
电阻软钎焊 |
resistance SOIdering |
948 |
|
3.4.17 |
炉中软钎焊 |
(UrnaCe SOldering |
943 |
|
3.4.18 |
回流软钎焊 |
reflow SOldering |
一 |
|
3.4.19 |
浸渍硬钎焊 |
dip brazing |
914 |
|
3.4.20 |
盐浴硬钎焊 |
salt-bath brazing |
915 |
|
3.4.21 |
钎剂浴硬钎焊 |
flux-bath brazing |
一 |
|
3.4.22 |
火焰硬钎焊 |
torch brazing |
912 |
|
3.4.23 |
电弧硬钎焊 |
arc brazing |
一 |
|
3.4.24 |
激光束硬钎焊 |
IaSer beam brazing |
一 |
|
3.4.25 |
电子束硬钎焊 |
electron beam brazing |
一 |
|
3.4.26 |
感应硬钎焊 |
induction brazing |
916 |
|
3.4.27 |
电阻硬钎焊 |
resistance brazing |
918 |
|
3.4.28 |
炉中硬钎焊 |
furnace brazing |
913 |
|
3.4.29 |
接触反应硬钎焊 |
COntaCt-reaction brazing |
一 |
|
3.4.30 |
熔化极惰性气体保护 电弧硬钎焊 |
metal inert gas Shielded arc brazing (MIG brazing) |
— |
|
3.4.31 |
真空硬钎焊 |
VaCUUm brazing |
924 |
|
3.4.32 |
扩散硬钎焊 |
diffusion brazing |
919 |
|
3.4.33 |
分级硬钎焊 |
SteP brazing |
— |
表(续)
|
本标准中的章条号 |
中文 |
英文 |
GB/T 5185—2005 中的工艺方法代号 |
|
3.4.34 |
红外硬钎焊 |
infrared brazing |
911 |
|
3.4.35 |
光束硬钎焊 |
Iight brazing |
— |
|
3.4.36 |
_____钎接焊_____ |
braze-welding |
97 |
索
汉语拼音索引
D
保温时间 ..........................................3.3.9
波峰软钎焊.......................................3.4.9
C
层状钎料.......................................3.2.11
超声软钎焊 ....................................3.4.11
D
电弧硬钎焊....................................3.4.23
电子束硬钎焊.................................3.4.25
电阻软钎焊....................................3.4.16
电阻硬钎焊....................................3.4.27
惰性气氛.......................................3.2.27
F
反润湿.............................................3.1.4
反应钎剂.......................................3.2.17
非晶态钎料.......................................3.2J
分级硬钎焊....................................3.4.33
敷钎料板.......................................3.2.13
G
感应软钎焊....................................3.4.15
感应硬钎焊....................................3.4.26
工艺涂层(工艺镀层)...........................3.3.3
光束硬钎焊....................................3.4.35
辗锡(辐带镀锡).................................3.4.7
H
红外软钎焊....................................3.4.14
红外硬钎焊....................................3.4.34
还原性气氛....................................3.2.26
回流软钎焊 ....................................3.4.18
活性钎料..........................................3.2.5
火焰软钎焊....................................3.4.12
火焰硬钎焊....................................3.4.22
引
J
机械软钎焊/硬钎焊...........................3.4.3
激光束硬钎焊.................................3.4.24
加热时间.......................................3.3.10
键合工艺.......................................3.1.10
接触反应硬钎焊..............................3.4.29
浸渍硬钎焊....................................3.4.19
K
扩散区..........................................3.3.24
扩散硬钎焊....................................3.4.32
L
拉拖软钎焊....................................3.4.10
冷却时间 .......................................3.3.11
炉中软钎焊 ....................................3.4.17
炉中硬钎焊....................................3.4.28
M
母材.............................................3.2.29
P
Q
气体钎剂.......................................3.2.16
钎缝.............................................3.3.20
钎缝界面区....................................3.3.22
钎缝金属.......................................3.3.21
钎焊................................................3.1.1
钎焊保护气氛.................................3.2.25
钎焊间隙.......................................3.3.17
钎焊接头.......................................3.3.26
钎焊装配.......................................3.3.19
钎剂.............................................3.2.15
钎剂膏..........................................3.2.19
钎剂活性.......................................3.2.22
钎剂活性温度范围...........................3.2.23
钎剂热稳定性.................................3.2.24
钎剂浴硬钎焊.................................3.4.21
钎角.............................................3.3.25
钎接焊..........................................3.4.36
钎料................................................3.2.1
钎料膏.............................................3.2.9
钎料熔化温度范围...........................3.2.14
钎着率..........................................3.3.28
R
热影响区.......................................3.3.23
热风软钎焊....................................3.4.13
溶蚀.............................................3.3.32
熔化极惰性气体保护电弧硬钎焊.........3.4.30
润湿角..........................................3.3.27
S
松香钎剂.......................................3.2.18
脱钎.............................................3.3.29
W
未钎透..........................................3.3.30
无间隙接头....................................3.3.15
无铅钎料..........................................3.2.8
X
虚钎.............................................3.3.31
Y
盐浴硬钎焊....................................3.4.20
药皮钎料.......................................3.2.10
药芯钎料.......................................3.2.12
有间隙接头 ....................................3.3.16
有效时间 .......................................3.3.14
有效温度范围.................................3.3.13
Z
粘结剂..........................................3.2.21
真空.............................................3.2.28
真空硬钎焊....................................3.4.31
装配间隙.......................................3.3.18
自动软钎焊/硬钎焊...........................3.4.4
自钎性硬钎料....................................3.2.4
总时间 ..........................................3.3.12
阻流剂..........................................3.2.20
英文对应词索引
A
3.2.23
3.2.5
activation temperature range Of flux active filler metal .....................
arc brazing ......................................................................................................... 3.4.23
assembly gap ......................................................................................................... 3.3.18
D
binder ............................................................................................................... 3.2.21
bonding PrOCeSS ................................................................................................... 3.1.10
brazed rate ......................................................................................................... 3.3.28
brazed/soldered assemblies ....................................................................................... 3.3.19
brazed/soldered joint ............................................................................................. 3.3.26
braze-welding ...................................................................................................... 3.4.36
brazing OPeratiOn/soldering OPeratiOn
brazing process/soldering PrOCeSS
brazing/soldering fillet............................................................................................. 3.3.25
brazing/soldering gap ............................................................................................. 3.3.17
brazing/soɪdering InetaI .......................................................................................... 3.3.21
brazing/soldering PrOCeSS VariableS
brazing/soldering SeaIn .......................................................................................... 3.3.20
C
CIad brazing Sheet ................................................................................................... 3.2.13
ClOSed joint ......................................................................................................... 3.3.15
COld SOIdered joint ................................................................................................ 3.3.31
COIOPhOny flux ...................................................................................................... 3.2.18
COntaCt-reaction brazing .......................................................................................... 3.4.29
COOling time ......................................................................................................... 3.3.11
D
de-brazing/de-soɪdering .......................................................................................... 3.3.29
de-wetting ............................................................................................................ 3.1.4
diffusion brazing ................................................................................................... 3.4.32
diffusion ZOne ...................................................................................................... 3.3.24
dip brazing ......................................................................................................... 3.4.19
dip SOIdering ......................................................................................................... 3.4.8
drag SOldering ...................................................................................................... 3.4.10
E
effective temperature Fange ....................................................................................... 3.3.13
effective time......................................................................................................... 3.3.14
electron beam brazing ............................................................................................. 3.4.25
erosion ............................................................................................................... 3.3.32
F
flux .................................................................................................................. 3.2.15
flux activity ......................................................................................................... 3.2.22
flux COated brazing rod .......................................................................................... 3.2.10
flux PaSte ............................................................................................................ 3.2.19
flux-bath brazing ................................................................................................... 3.4.21
flux-Cored filler metal ............................................................................................. 3.2.12
furnace brazing ...................................................................................................... 3.4.28
furnace SOIdering ................................................................................................... 3.4.17
G
gas flux ........................................................................................................... 3.2.16
H
heat-affected ZOne ................................................................................................... 3.3.23
heating time ......................................................................................................... 3.3.10
holding time ......................................................................................................... 3.3.9
hot gas SOIdering ................................................................................................... 3.4.13
ɪ
incomplete PenetratiOn ............................................................................................. 3.3.30
induction brazing ................................................................................................... 3.4.26
induction SOIdering ................................................................................................ 3.4.15
inert gas atmosphere................................................................................................ 3.2.27
infrared brazing ................................................................................................... 3.4.34
infrared SOIdering ................................................................................................... 3.4.14
interfacial region ................................................................................................... 3.3.22
iron SOIdering ......................................................................................................... 3.4.5
L
IaSer beam brazing ................................................................................................ 3.4.24
Iight brazing ......................................................................................................... 3.4.35
M
melting temperature range Of the filler metal ............................................................... 3.2.14
InetaI inert gas shielded arc brazing(MIG brazing) ......................................................... 3.4.30
O
OPelI joint ............................................................................................................ 3.3.16
P
PareIIt Inaterial ...................................................................................................... 3.2.29
PrOteCtiVe atmosphere for SOIdering Or brazing ............................................................... 3.2.25
R
reaction flux ......................................................................................................... 3.2.17
reducing gas atmosphere .......................................................................................... 3.2.26
reflow SOldering ................................................................................................... 3.4.18
resistance brazing ................................................................................................... 3.4.27
resistance SOIdering ................................................................................................ 3.4.16
S
salt-bath brazing ................................................................................................... 3.4.20
SandWiCh filler Inetal ............................................................................................. 3.2.11
self-flUXing brazing filler metal
SOldering With Preheated blocks
SteP brazing ......................................................................................................... 3.4.33
StOPPing-Off agent................................................................................................... 3.2.20
T
thermal Stability Of flux .......................................................................................... 3.2.24
torch brazing........................................................................................................ 3.4.22
torch SOldering ...................................................................................................... 3.4.12
total time ............................................................................................................ 3.3.12
U
ultrasonic SOIdering ................................................................................................ 3.4.11
V
VaCUUin ............................................................................................................... 3.2.28
VaCUUin brazing ...................................................................................................... 3.4.31
W
Wetting angle ......................................................................................................... 3.3.27