P 72
备案号:J2001-2015
SH/T 3555—2014
TeChniCaI SPeCifiCatiOn for construction Safety Of Steel SCaffOId building in PetrOChemiCal industry
2014-07-09 发布
2014-11-01 实施
4.6直插式轻钢脚手架材料....................... ・・・・・
5.2脚手架搭设高度及计算范围...............................•
6.6反应再生系统安装脚手架.........................................................................,
6.8储罐与气柜安装脚手架................................…:
6.11防腐、绝热与防火工程脚手架....................……
附录A (规范性附录)通用计算用表..........................
COntentS
4. 3 CUPlOCk Steel tubular SCafIblding material
4. 4 TUbUIar Steel frame SCaffblding material
4. 5 DiSk IOCk Steel tubular SCaffoldmg material
4. 6 Ring SyStenI Iight Steel SCaflblding material
6. 4 SCafIbIding for erection Of StrUCtUral SteeI
6. 5 SCaffblding for erection Of VertiCal equipment
6. 6 SCafIbIding for reaction and re-generation SyStem COnStrUCtiOn
6. 7 SCaffbId for fumance equipment installation
6. 8 SCaflfblding for erection Of StOrage tank and gas holder
6. 9 SCaffoIding for erection Of PrOCeSS PiPing
6. 10 SCafiblding for erection Of electrical/instrument-*.......
6. 11 SCaflbIding for painting, insulation and fire-proofing
6. 12 SCaffblding for NDT WOrk
8. 5 SCaffbId inspection and acceptance
8. 9 VariatiOn WhiIe application
AnneX A (NOrmatiVe) General table for CaICUIatiOll
AImeX B (NOnnatiVe) CalCUlatiOn Sheet for COUPIer Steel tubular SCaffblding
AnneX C (NOrmatiVe) CalCUIatiOn Sheet for CUPIOCk Steel tubular SCaffblding
AnneX D (NOrnlatiVe) CaICUlatiOn Sheet for tubular SteeI frame SCaffbIding
AlineX E (InfbrmatiVe) IdentifiCatiOII marks for SCaffold building
EXPIanatiOIl Of WOrding in this SPeCifiCatiOn
根据中华人民共和国工业和信息化部《2012年第四批行业标准制修订计划》(工信厅科[2012]252 号)的要求,-规范编制组经广泛调查研究,认真总结实践经验,参考有关国际标准和国外先进标准, 并在广泛征求意见的基础上,制定本规范。
本规范共分8章和5个附录。
本规范主要技术内容是:材料与构配件、通用脚手架构造形式和构造要求、专业脚手架结构设计、 脚手架的设计计算、脚手架施工与管理。,
本规范由中国石化集团公司负责管理,中国石化集团公司施工技术中心站负责日常管理,中石化 第四建设有限公司和天津星源石化工程有限公司负责解释。执行过程中如有意见和建议,请寄送日常 管理单位和主编单位。
本规范日常管理单位:中国石化集团公司施工技术中心站
通讯地址:天津市滨海新区(大港)世纪大道180号
邮政编码:300270
电 话:022-63863843
传 真:022-63862301
本规范主编单位:中石化第四建设有限公司
通讯地址:天津市滨海新区(大港)世纪大道180号
邮政编码:300270
天津星源石化工程有限公司
通讯地址:天津市滨海新区(大港)世纪大道188号
邮政编码:300270
本规范参编单位:中石化第五建设有限公司
中石化宁波工程有限公司
中国石化集团青岛安全工程研究院
|
本规范主要起草人员:邸长友 |
南亚林 |
孙秀环 |
郝吉路 |
张甫桃 |
李国健 |
冯顺强 |
吴文彬 |
|
刘小平 |
袁云青 |
王娟 |
辛平 | ||||
|
本规范主要审查人员:吴忠宪 |
葛春玉 |
张晓鹏 |
穆帅 |
侯仁波 |
张毅 |
周洪 |
王清 |
|
潘昌栋 |
陈春利 |
段洪泽 |
马跃田 |
王中良 |
林维明 |
马春勤 |
张崇凯 |
.顾勇
本规范2014年首次发布。
1范围
本规范规定了钢脚手架的材料与构配件、通用脚手架结构形式和构造的要求;规定了专业脚手架 结构设计、脚手架的计算、脚手架搭设的施工与管理的要求。
本规范适用于石油化工、煤化工、天然气化工等工程建设钢脚手架搭设的结构设计、施工、验收 与使用过程的管理。
2规范性引用文件
下列文件对于本规范的应用是必不可少的。凡是注日期的引用文件,仅注日期的版本适用于本规 范。凡是不注日期的引用文件,其最新版本(包括所有的修改单)适用于本规范。
GB/T 343 一般用途低碳钢丝
GB/T 700碳素结构钢
GB/T 1591低合金高强度结构钢
GB/T 3091低压流体输送用焊接钢管
GB/T 3274碳素结构钢和低合金结构钢热轧厚钢板和钢带
GB 5725安全网
GB/T 5796. 2梯形螺纹 第2部分:直径与螺距系列
GB/T 5796.3梯形螺纹 第3部分:基本尺寸
GB 9440可锻铸铁件
GB/T 11352 一般工程用铸造碳钢件
GB/T 13793 直缝电焊钢管
GB 15831钢管脚手架扣件
GB 20118 一般用途钢丝绳
GB 50005木结构设计规范
GB 50007建设地基基础设计规范
GB 50009—2012建筑结构荷载规范
GB 50010混凝土结构设计规范
GB 50017钢结构设计规范
GB 50484石油化工建设工程施工安全技术规范
JGJ 128建筑施工门式钢管脚手架安全技术规范,
JGJ 130—2011建筑施工扣件式钢管脚手架安全技术规范
JGJ 166—2008建筑施工碗扣式钢管脚手架安全技术规范
JGJ 231建筑施工承插型盘扣式钢管支架安全技术规程
SH/T 3608石油化工设备混凝土基础工程施工技术规程
3术语和符号 3. 1术语
下列术语和定义适用于本规范。
3. 1. 1
脚手架 scaffolding
为工程建设而搭设的用于施工作业或支撑用的临时结构架。
3.1.2
双排脚手架 double-row SCaffOIding
由内、外两排立杆和水平杆及拉结杆件等组成的脚手架。
3.1.3
单排脚手架 Single POIe tubular SCaffOIding
由单排立杆和水平杆及拉结杆件等组成,横向水平杆的一端在工程结构主体上的脚手架。
3. 1.4
通用脚手架 general SCaffOIding
按照脚手架的基本要求搭设的,除支撑架外的扣件式钢管脚手架、碗扣式钢管脚手架、承插型盘 扣式钢管支架、直插式轻钢脚手架及门式钢管脚手架。
3.1.5
专业脚手架 disciplinary SCaffOlding
为工程项目所含专业施工搭设的脚手架。
3.1.6
三角架tripod
采用挂接方式固定在工程结构主体上用于支撑施工作业平台的三角形构件。
3.1.7
承重脚手架 heavy duty scaffold
除满足作业人员操作需求又承受其他载荷的脚手架。
3.1.8
悬挑式脚手架 SUSPended SCaffOIding
由水平或三角结构支撑,锚固在工程结构主体或脚手架上的脚手架。
3. 1.9
立杆 Standard
脚手架中垂直于水平面的竖向杆件。
3.1.10
水平杆Iedger
脚手架中连接立杆并与立杆垂直的水平杆件。 ‘ <
注:沿脚手架纵向设置的水平杆为纵向水平杆(大横杆);与纵向水平杆垂直的水平杆为横向水平杆(小横杆)。
3.1.11
立杆纵(跨)距 IOngitUdinaI SPaCing Of UPright tube
脚手架纵向相邻立杆之间的轴线距离。
3.1.12
立杆横距 transverse SPaCing Of UPright tube
双排脚手架横向相邻立杆之间的轴线距离,单排脚手架立杆轴线至工程结构主体表面的距离。:
3.1.13
步距 Iift height
上、下水平杆轴线间的距离。
3. 1. 14
主节点 main node
立杆、纵向水平杆、横向水平杆三杆紧靠的扣接点、盘扣节点或碗扣节点。
3.1.15
扫地杆 bottom reinforcing tube
贴近地面设置的连接立杆根部的纵、横向水平杆。
注:连接立杆根部的纵向水平杆为纵向扫地杆;连接立杆根部的横向水平杆为横向扫地杆。
3.1.16
剪刀撑 diagonal bracing
在脚手架竖向或水平向成对设置的交叉斜杆。
3. 1. 17
连墙件tie member
将脚手架架体与工程结构主体连接并传递拉力和压力的构件。
3.1.18
可调支撑 adjustable forkhead
插入脚手架钢管端部可调节高度或长度的构件。
3.1.19
防护栏 guard rail
设置在施工作业平台周边或通道两侧的安全防护构件。
3.1.20
挡脚板toe board
防止作业平台上的工具、材料等物件坠落而设置在脚手板上面的安全防护构件。
3. 1.21
抛撑 Cn)SS bracing
用于脚手架侧面支撑,与脚手架外侧面斜交的杆件。
3. 1.22
扣件 CoUPIer
连接钢管脚手架立杆、水平杆及剪刀撑、斜撑、抛撑并采用螺栓紧固的配件。
注:按扣件的连接形式分为直角扣件、旋转扣件、对接扣件。
3.1.23
垫板 bottom Plate
置于立杆下面,用于增大受力面积的木板。
3. 1.24
底座 base PIate
置于立杆下面,用于承接立杆压力的钢板。
3.1.25
生命绳Iife Iine
用于系挂安全带的钢丝绳。
3.2符号
下列符号适用于本规范。
3. 2.1扣件式钢管脚手架
A--立杆截面面积;
AI--立杆下垫板底面面积;
刀k2 连墙件截面积;
AW—— 单个连墙件所覆盖的脚手架外侧面的迎风面积;
Λι——连墙件的净截面面积;
Nm--连墙件的毛截面面积;
a——立杆伸出顶层水平杆中心线至支撑点的长度;
f——脚手架和连墙件钢材的抗拉、抗压及抗弯强度设计值;
yg ——修正后的地基承载力特征值;
Ak——地基承载力标准值;
gk——立杆承受的每米结构自重标准值;
gkl——脚手板自重标准值;
H——脚手架搭设高度;
[H]——脚手架允许搭设高度;
h——脚手架立杆步距;
i——截面回转半径;
妇一一立杆计算长度附加系数;
fe——满堂脚手架立杆计算长度附加系数;
焰——满堂支撑架立杆计算长度附加系数;
kc——地基承载力调整系数;
Ia——脚手架立杆纵距;
Zb——脚手架立杆横距;
,。1——立杆计算长度;
M——弯矩设计值;
MGk——结构荷载自重产生的弯矩标准值;
MQk--施工荷载产生的弯矩标准值;
MWl——立杆段由风荷载设计值产生的弯矩;
MWkI--风荷载产生的弯矩标准值;
皿——同时施工作业层数;
Nk——计算立杆段的轴向力设计值;
MI——脚手架结构立杆传至基础的轴向力标准值;
Mk——连墙件轴向力设计值;
MW——风荷载产生的连墙件轴向力设计值;
MO——连墙件约束脚手架平面外变形所产生的轴向力;
NV——连墙件与脚手架、连墙件与建筑结构连接的抗拉(压)承载力设计值;
‰——脚手架结构自重产生的轴向力标准值;
‰——构配件、脚手板自重产生的轴向力标准值;
∑A½k——施工荷载产生的轴向力标准值总和;
∑‰——永久荷载对立杆产生的轴向力标准值总和;
m——铺设脚手板层数;
Pk——立杆基础底面的平均压力;.
Qk——施工均布荷载标准值;
R——纵向、横向水平杆传给立杆的竖向作用力设计值;
RC——扣件抗滑承载力设计值;
W——截面模量;
A——长细比;
σkι--弯曲正应力;
"k2--连墙件应力值;
φ——轴心受压杆件、连墙件等稳定系数;
μz——风压高度变化系数;
μs——脚手架风荷载体型系数;
ωk——风荷载标准值;
ω0——基本风压值;
佝一一考虑单、双排脚手架整体稳定因素的单杆计算长度系数;
所一一考虑满堂脚手架整体稳定因素的单杆计算长度系数;
所一一考虑满堂支撑架整体稳定因素的单杆计算长度系数(顶部立杆段);
同——考虑满堂支撑架整体稳定因素的单杆计算长度系数(非顶部立杆段)O
3. 2.2碗扣式钢管脚手架
-立杆截面面积;
-连墙件的毛截面面积;
-立杆基础底面面积;
-立杆伸出顶层水平杆长度;
-脚手架和连墙件钢材的抗拉、抗压及抗弯强度设计值;
-脚手板单位面积自重;
-连墙件竖向间距;
-脚手架搭设高度;
-脚手架允许搭设高度;
-脚手架立杆步距;
-截面回转半径;
-支撑架立杆纵向间距;
-支撑架立杆横向间距;
-连墙件水平间距;
-脚手架立杆纵距;
-脚手架立杆横距;
-立杆计算长度;
-风荷载作用下单肢拉杆弯矩;
-同时作业层层数;
-无组合风荷载时,单肢立杆轴向力;
-有组合风荷载时,单肢立杆轴向力;
-脚手架结构自重产生的轴向力标准值;
-脚手板及构配件等自重产生的轴向力标准值;
-施工荷载产生的轴向力;
-风荷载作用下连墙件轴向力;
-连墙件约束脚手架平面外变形所产生的轴向力;
-每步脚手架自重;
-铺设脚手板层数;
-风荷载作用下内外排立杆间横杆的支承力;
-脚手架作业层均布施工荷载标准值;
-模板及支撑架自重标准值;
-新浇混凝土及钢筋自重标准值;
-施工人员及设备荷载标准值;
-浇筑和振捣混凝土时产生的荷载标准值;
-风荷载产生的轴向力;
ZI---立杆每米重量;.
t2——横向(小)横杆单件重量;
t3--纵向横杆单件重量;
U——内外立杆间斜杆重量;
h——水平斜杆及扣件等重量;
W——立杆截面模量;
4——长细比;
φ——轴心受压杆件、连墙件等稳定系数。
3. 2.3门式钢管脚手架
门架立杆的毛截面面积;
一棉门架立杆的毛截面面积;
门架立杆加强杆的毛截面面积;
连墙件的净截面面积,如带螺纹的连墙件应取螺纹处的有效截面面积;
连墙件的毛截面面积;
一根门架下底座底面面积;
门架宽度;
门架立杆和立杆加强杆的中心距;
门架和连墙件钢材的抗拉、抗压及抗弯强度设计值;
连墙件的竖向间距;
连墙件的水平间距;
脚手架搭设高度;
脚手架允许搭设高度;
门架高度;
门架加强杆的高度;
门架立杆换算截面惯性矩;
门架立杆的毛截面惯性矩;
门架立杆加强杆的毛截面惯性矩;
门架立杆换算截面回转半径;
•调整系数;
门架纵距;
•风荷载产生的弯矩标准值;
•作用于一根门架的轴向力设计值;
•一根门架的稳定承载力设计值;
•每米高度脚手架构配件自重产生的轴向力标准值;
每米高度脚手架附件重量产生的轴向力标准值;
•作用于一棉门架的混凝土振捣可变荷载标准值;
满堂脚手架或模板支撑架一棉门架立杆风荷载作用的最大附加轴向力标准值;
•各施工层施工荷载作用于一棉门架的轴向力标准值总和;
•满堂脚手架或模板支撑架作用于一棉门架的除构配件和附件外的永久荷载标准值总和;
•满堂脚手架或模板支撑架作用于一棉门架的可变荷载标准值总和;
•风荷载及其他作用对连墙件产生的拉、压轴向力设计值;
•风荷载作用于连墙件的水平力;
连墙件与脚手架、连墙件与主体结构连接的抗拉(压)承载力设计值;
•门式脚手架、满堂脚手架或模板支撑架作用于一棉门架的轴向力标准值;
•门架立杆基础底面的平均压力;
作业层施工荷载;
•风线荷载标准值;
2——长细比;
φ — 门架立杆、连墙件等稳定系数。
3.2.4承插型盘扣式钢管支架
A——立杆截面面积; 、
ZPl--立杆下垫板底面面积;
,p2 — 连墙件的净截面面积;
4n--连墙件的毛截面面积;
ZPW——单个连墙体所覆盖的脚手架外侧面的迎风面积;
角——模板支撑架可调托座支撑点至顶层水平杆中心的距离;
f——立杆和连墙件钢材的抗拉、抗压及抗弯强度设计值;
Λ——修正后的地基承载力特征值;
h——脚手架立杆步距;
⅛——模板支撑架立杆顶层水平杆步距,宜比最大步距减少一个盘扣的距离;
i一截面回转半径;
Ia——脚手架立杆纵距;
ZP——立杆计算长度;
Mg ——计算立杆段由风荷载设计值产生的弯矩;
MWk5——由风荷载产生的立杆段弯矩标准值;
M——立杆轴向力设计值;
NGm——脚手架结构自重标准值产生的轴向力;
NGP2——构配件自重标准值产生的轴向力;
NPi——脚手架结构立杆传至基础的轴向力标准值;
¾——连墙件轴向力设计值;
Ng——风荷载产生的连墙件轴向力设计值;
NPO——连墙件约束脚手架平面外变形所产生的轴向力;
ΣMk5—施工荷载标准值产生的轴向力总和;
ZTVGP——模板及支撑架自重、新浇筑混凝土自重和钢筋自重标准值产生的轴向力总和;
割QP——施工人员及施工设备荷载标准值和风荷载标准值产生的轴向力总和;
4——立杆基础底面的平均压力;
RC——扣件抗滑承载力设计值;
W——立杆的截面模量;
久——长细比;
(P——轴心受压杆件、连墙件等稳定系数;
ηi——考虑双排脚手架整体稳定性的立杆计算长度系数;
η2——模板支撑架立杆计算长度修正系数;
kp~—悬臂端计算长度折减系数。
3. 2.5直插式轻钢脚手架
Λ——立杆截面面积;
f——立杆钢材的抗压强度设计值;
‰——立杆承受的每米结构自重;
[H]——脚手架允许搭设高度;
h——脚手架立杆步距;
Za——脚手架立杆纵距;
Mg——计算立杆段由风荷载设计值产生的弯矩;
MWk4——风荷载产生的弯矩标准值;
NZ——计算立杆段的轴向设计值;
Ngta——脚手架结构自重产生的轴向力标准值;
NGZ2——构配件自重产生的轴向力标准值;
ΣXk4 一施工荷载产生的轴向力标准值总和;
W——立杆的截面模量;
(P——轴心受压杆件的稳定系数;
ωk——风荷载标准值。
3. 2.6悬挑式脚手架
旬——U形钢筋拉环净截面面积或螺栓的有效截面面积;
Λ——悬挑梁钢材的抗弯强度设计值;
/1——U形钢筋拉环或螺栓抗拉强度设计值;
Nm ——型钢悬挑梁锚固段压点U形钢筋拉环或螺栓拉力设计值;
max雄昭σxσl化
•悬挑梁计算截面最大弯矩设计值;
•悬挑梁净截面模量;
•悬挑梁毛截面模量;
,悬挑梁应力值;
U形钢筋拉环或螺栓应力值;
•悬挑梁的整体稳定性系数;
。——悬挑梁最大挠度;
——悬挑梁允许挠度。
4材料与构配件
4.1 一般规定
4.1.1用于搭设脚手架的钢管、钢脚手板等材料应有质量证明文件,其性能指标应符合相应产品的标准。 4.1.2用于搭设脚手架的扣件、可调支撑等构配件应有产品质量证明文件,有型式试验要求的配件其 质量证明文件应有型式试验的结果。
4. 2扣件式钢管脚手架材料
4. 2. 1钢管选用应符合下列规定:
a) 脚手架钢管应为GB/T 13793规定的外径普通精度PD. A级的钢管或符合GB/T 3091的规定,
钢的牌号和化学成分应符合GB/T 700中牌号Q235A的规定;
b) 脚手架宜釆用直径48.3mm、壁厚3. 6mm的直缝钢管,每根钢管最大长度不应大于6m,厚 度不应小于3. 24mm,钢管使用前应做防腐处理;
C)钢管周转材料使用前应进行全部检查,钢管表面应平直光滑,不应有裂纹、结疤、分层、错 位、硬弯、毛刺、压痕、划道及严重锈蚀等缺陷,不应打孔。
4.2.2扣件选用应符合下列规定:
a) 扣件宜釆用可锻铸铁,其材质应符合GB 15831规定,扣件表面应进行防锈处理;
b) 扣件螺栓拧紧扭力矩应在40N・m〜65N・m之间,达到最大值时扣件不得发生破坏;
C)扣件周转材料应进行全数检查,不得有裂纹、变形、螺栓滑丝;扣件与钢管接触部位不应有 氧化皮;活动部位应能灵活转动,旋转扣件两旋转面间隙应小于ImmO
4.3碗扣式钢管脚手架材料
4.3. 1碗扣式钢管脚手架用钢管应符合GB/T 13793和GB/T 3091的规定,其材质和化学成分应符合 GB/T 700中牌号Q235A的规定。
4.3.2上碗扣、可调底座及可调托撑螺母应釆用可锻铸铁或铸钢制造,其技术要求应符合GB 9440 中牌号KTH330-08和GB/T 11352中牌号ZG270-500的规定。
4.3.3下碗扣、横杆接头、斜杆接头应釆用碳素铸钢制造,其技术要求应符合GB/T 11352中牌号 ZG230-450 的规定。
4.3.4碗扣式钢管脚手架主要构配件种类、规格及质量应符合JGJ 166-2008表3. 2. 5的规定。
4.4门式钢管脚手架材料
4. 4. 1门架与配件的钢管应釆用GB/T 13793或GB/T 3091中规定的普通钢管,其材质应符合GB/T 700中Q235级钢的规定。
4. 4.2门式钢管脚手架底座、托座及可调螺母应采用可锻铸铁或铸钢制作,其技术要求应符合 GB 9440中牌号KTH330-08和GB/T 11352中牌号ZG270-500的规定。
4.4.3其他配件应符合JGJ 128的要求。
4.5承插型盘扣式钢管支架材料
4. 5. 1钢管外径允许偏差应符合表4. 5. 1的规定,钢管壁厚允许偏差应为±0. ImmO
表4. 5. 1钢管外径允许偏差 单位为mm
|
外径£> |
允许偏差 |
|
33、 38、 42、 48 |
+2 —0. 1________________________ |
|
60 |
+ 3 _______ -0. 1_______________________ |
4.5. 2钢管支架的构配件材质应符合GB/T 700、GB/T 1591和GB/T 11352的规定,各类支架主要构 配件应符合表4. 5.2的规定。
表4.5.2承插型盘扣式钢管支架主要构配件材质
|
立杆 |
水平杆 |
竖向斜杆 |
水平斜杆 |
扣接头 |
立杆连接套管 |
可调底座、 可调托座 |
可调螺母 |
连接盘、 插销 |
|
Q345 |
Q235A |
Q195 |
Q235B |
ZG230-450 |
ZG230-450或 20号无缝钢管 |
Q235B |
ZG270-500 |
ZG230-450 或 Q235B |
4.5.3连接盘、扣接头、插销以及可调螺母的调节柄采用碳素钢制造时,其材料机械性能不应低于 GB/T 11352中牌号为ZG230-450的屈服强度、抗拉强度、延伸率的规定。
4.6直插式轻钢脚手架材料
4. 6.1钢管外径允许偏差应符合表4. 6.1的规定,钢管壁厚允许偏差应为±0. lmm。
表4. 6.1钢管外径允许偏差 单位为mm
|
外径D |
壁厚 |
允许偏差 |
|
48.6、42.7、42. 0 |
2. 5 |
+ 1 -0. 1 |
|
26.0 |
2.0 |
+0. 5 -0. 1 |
4. 6.2直插式轻钢脚手架的构配件除有特殊要求外,其材质应符合GB/T 1591、GB/T 700、GB/T 11352的规定,各类支架主要构配件应符合表4. 6. 2的规定。
表4. 6. 2直插式轻钢脚手架主要构配件材质
|
立杆 |
横杆 |
斜杆 |
插头 |
立杆连 接套管 |
上端挂钩 |
下端蟹爪 |
立杆插座 |
楼梯板 |
走台板 |
螺纹底座 |
|
Q345 |
Q235B |
Q235B |
SPHC |
Q345 |
Q235B |
Q235B |
Q235B |
Q235B |
Q235B |
ZG270-500及 Q235B |
4. 6.3螺纹底座的调节柄釆用碳素钢制造时,其材料机械性能不应低于GB/T 11352中牌号为
ZG230-500的屈服强度、抗拉强度、延伸率的规定。
4. 7脚手架其他材料
4. 7.1悬挂三脚架架体角钢及挂件技术要求应符合GB/T 3274的规定。
4.7.2脚手板材料应符合下列规定:
a) 脚手板宜釆用钢板压制成型,也可采用木材制作,每块脚手板的质量不应大于30kg;
b) 钢制脚手板材质应符合GB/T 700规定的Q235A级,厚度宜为2mm,钢脚手板均应涂防锈漆;
C)钢脚手板长度小于等于4m时,板面挠曲不应大于12mm;长度大于4m时,板面挠曲不应大 于16mm;板面扭曲不应大于5mm (任一角翘起);
d) 木质脚手板材质应符合GB 50005中Ila级规定的,扭曲变形、劈裂、腐朽的脚手板不得使用;
e) 木质脚手板板厚不应小于50mm,板宽宜为20Omm〜30Omm,板长宜为3m;在距离两端 50mm-IOOmm处,用8#镀锌铁丝紧箍两道或用厚度为O. 5mm〜O. 75mm薄铁皮抱箍牢固。
4.7.3挡脚板材料选用应符合下列规定:
a) 挡脚板宜釆用木质板材制作,材质应符合GB 50005的规定;
b) 挡脚板的厚度不应小于15mm、宽度不应小于18OmmO
4.7.4可调支撑材料选用应符合下列规定:
a) 可调支撑的螺母应釆用梯形螺纹,并应符合GB/T 5796. 2和GB/T 5796. 3的规定;受压承 载力设计值不应小于40kN;
b) 可调支撑螺杆外径不应小于36mm,长度不应小于150mm,螺杆与螺母旋合长度不应小于5 个螺距,螺母厚度不应小于30mm;
C)可调支撑支托板厚不应小于5mm,变形不应大于1mm。螺杆与支托板焊接要牢固,焊缝高 度不应小于6mm;
d)支托板、螺母不应有裂纹。
4.7.5垫板材料应符合下列规定:
a) 垫板宜釆用实木材料制作,材质应符合GB 50005的规定;
b) 垫板厚度不应小于50mm,板宽不应小于20Omm,板长不宜小于一跨。
4.7.6底座材料应符合下列规定:
a) 底座的螺母应釆用梯形螺纹,并应符合GB/T 5796. 2和GB/T 5796. 3的规定;
b) 底座厚度不应小于5mm,长宽为IoommXloomm。底座中心钢筋直径应为20mm,高不应小 于 50mmO
4. 7. 7镀锌铁丝材质应符合GB/T 343的规定。
4. 7. 8生命绳所用钢丝绳应符合GB 20118的规定。
5通用脚手架构造形式和构造要求
5.1通用脚手架的构造形式
5.1.1通用脚手架的搭设可釆用扣件式钢管脚手架、碗扣式钢管脚手架、门式钢管脚手架、承插型盘 扣式钢管支架、直插式轻钢脚手架等类型,各类型脚手架适用的构造形式见表5.1.1。
表5.1.1通用脚手架适用的构造形式
|
类 型 |
构造形式 | ||||
|
落地式 |
钢管悬挑式 |
悬吊式 |
水平移动架 |
模板支撑架 | |
|
扣件式钢管脚手架 |
√ |
√ |
√ |
√ |
√ |
|
碗扣式钢管脚手架 |
√ |
— |
— |
√ |
√ |
|
门式钢管脚手架 |
√ |
— |
— |
√ |
√ |
|
承插型盘扣式钢管支架 |
√ |
√ |
— |
√ |
√ |
|
直插式轻钢脚手架 |
√ |
— |
— |
√ |
√ |
5.1.2扣件式钢管脚手架构造示意见图5. 1.2-1;碗扣式钢管脚手架构造示意见图5. 1.2-2;门式钢 管脚手架构造示意见图5. 1. 2-3;承插型盘扣式钢管支架构造示意图5. 1. 2-4;直插式轻钢脚手架构造 示意见图5. 1. 2-5O
a)脚手架立面
b).脚手架侧面(单排)
C)脚手架侧面(双排)
e)直角扣件
f)对接扣件
I-立杆;2 —水平杆;3—小横杆;4—脚手板;5—防护栏;6—抛撑;7—剪刀撑;8—工程结构主体;9—扫地杆
图5. 1.2-1扣件式钢管脚手架构造与扣件大样示意
b)碗扣连接前 C)碗扣连接后
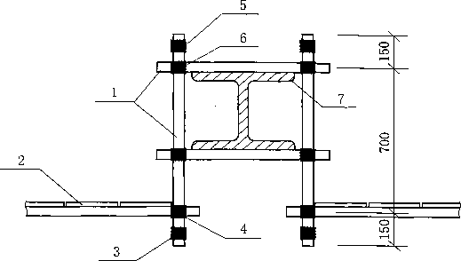
1—立杆;2—上碗扣;3—限位销;4—横杆接头;5—横杆;6—下碗扣;7—焊缝;8—限位销;9—流水槽
图5. 1.2-2碗扣式钢管脚手架构造与碗扣节点大样示意
a)脚手架组装示意
b)脚手架基本单元
1 —门式框架;2—剪刀撑;3—水平连接杆;4—螺旋基脚;
5—连接棒;6一梯子;7—防护栏;8 —脚手板
图5. L 2-3门式钢管脚手架构造示意
七心%-斜杆接头• 6-立杆连接套管;7一立朴’8一横杆接头;
1 一水平杆;
2一可调螺母•,二驛座•:二匕朴『可调底座;.-≡≡
图5.1 . 2-4承插型盘扣式钢管支架构造示意
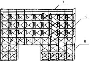
b)脚手架分解示意 土厶短
mb 3-立杆. 4一立杆插座;5一斜杆;6-上端挂钩;7一走口板; Ig 2二XTZ*二螺纹底座;n一楼梯板爪艾楼梯板 图5.1.2-5直插式轻钢脚手架构造示意
5.1.3通用脚手架按支承部位和支固方式主要分为落地式脚手架、悬挑式脚手架、悬吊式脚手架、水 平移动脚手架、悬挂三角架及通道式脚手架,其典型结构形式及适用范围如下:
a) 落地式脚手架典型结构见图5.1.3-Ia),八字斜撑中间通道式落地脚手架结构见图5. 1.3-Ib)O 架体支撑在地面(楼面).等坚固基础上,适用于各专业工程施工;
b) 悬挑式脚手架一般采用钢管式悬挑架支固方式,见图5. 1. 3-2,主要用于不便于从地面生根 的局部脚手架操作平台搭设;
C)悬吊式脚手架支固方式见图5. 1.3-3,悬吊于悬哄梁或工程结构之下,用于管道、防腐保温、 防火层、仪表管安装和外装修作业等安装作业;'
d) 水平移动脚手架支固方式见图5. 1. 3-4,用于有地面或楼板支撑、安装高度低于一层建(构) 筑物层高的各专业作业,常见的有带行走装置的脚手架和操作平台架;
e) 悬挂三角架支固方式见图5. 1.3-5,用于储罐、气柜、冷箱等金属容器壁板的组对焊接,悬 挂三角架可以设置在容器的内部或外部;
f) 通道式脚手架适用于沿管廊两侧、建筑物边沿、电缆桥架干线等成沿线作业的场所;通道式 脚手架包括悬吊式、落地式和悬挑式。
a)双排脚手架典型结构示意
b)八字斜撑中间通道式落地脚手架
1—外立杆;2—内立杆;3—横向水平杆;4—纵向水平杆;5—防护栏;6—挡脚板;7—直角扣件;8—旋转扣件;
9一对接扣件;10—横向斜撑;11—立杆;12—垫板;13—抛撑;14 一剪刀撑;15 一纵向扫地杆;16一横向扫地杆
图5.1.3-1落地式脚手架支固方式示意
图5. 1.3-2悬挑架典型支固方式示意
a)小型吊架
1一横梁;2—防滑扣件;3—脚手板
b)大型吊架(含悬挂式满堂脚手架)
图5. 1.3-3悬吊式脚手架支固方式示意
1—平台下的水平拉撑;2—水平拉撑;3—水平斜拉撑;4一挡脚板;5—梯子;6—竖向斜拉撑;
7—脚轮;8—立杆;9—防护栏
图5. 1.3-4水平移动脚手架支固方式示意
1 —固定挂件;2—三角架;3 —防护栏立柱;4—脚手板;5—中栏杆;6—上栏杆;7—绑绳
图5. 1.3-5悬挂三角架支固方式示意
5.2脚手架搭设高度及计算范围
5. 2.1扣件式钢管脚手架单排架最大搭设高度不应大于24m;双排脚手架的最大搭设高度不宜大于 50m;高度超过50m的双排脚手架,应釆用双管立杆加强或分段卸荷等措施。当扣件式钢管脚手架构 造尺寸符合JGJ 130规定时,可不进行结构杆件计算,但连墙件、立杆地基承载力等仍应根据实际载 荷进行设计计算。
5. 2.2碗扣式钢管双排脚手架的最大搭设高度不应大于52m,当搭设高度在24m及以下时,可直接 按构造要求搭设,当高度超过24m时,应进行结构设计和计算。
5. 2.3当门式钢管脚手架搭设高度和荷载条件符合表5. 2. 3的规定,且架体结构符合JGJ 128规定时, 可不进行稳定性和搭设高度计算,但连墙件、地基承载力应根据实际荷载进行设计计算。
表5. 2.3门式钢管脚手架搭设高度
|
' 施工荷载标准值ZQk~' _____________________kN/n?_____________________ |
搭设高度 m |
|
3.0 〜5.0 |
≤40 |
|
≤3. 0 |
≤55 |
|
注:施工荷载系指一个门架跨距内各施工层均布施工荷载的总和。 | |
5. 2. 4承插型盘扣式双排钢管支架搭设高度在24m以下时,可按JGJ 231的构造要求搭设;当搭设 高度超过24m时,应对结构杆件及立杆地基承载力进行设计计算。
5.2.5悬挑式脚手架单层搭设高度不应大于6. 9m,双层不得超过8. 7m。搭设前应进行结构设计和 计算。
5.2.6悬吊式脚手架吊杆不得接长,立杆长度不得大于6m。
5.2.7直插式轻钢双排脚手架搭设高度不宜超过50InO搭设前应进行结构设计和计算。
5. 3通用脚手架构造要求
5.3.1落地式脚手架构造要求 ʌ
5. 3. 1.1脚手架的基本构架尺寸应符合下列规定:'
a) 双排脚手架立杆横距宜为1. 05m〜L 55m,单排脚手架立杆横距宜为1. 2m〜1. 4m;
b) 脚手架立杆的纵距宜为1. 2m〜2. Im;
C)脚手架步距宜为L5m〜1.8m,最大不超过2m;
d) 横向水平杆应采用直角扣件固定在纵向水平杆上;在相邻立杆之间根据支承脚手板需要加设 1根〜2根;
e) 单、双排与满堂脚手架搭设高度为20m〜50m时,立杆垂直度允许偏差为±10Omm。
5. 3.1.2脚手架的地基应符合下列规定:
a) 脚手架地基应平整坚实,立杆底部宜设置底座或垫板;
b) 搭设高度在24m以下时,地基应满足承载力要求,混凝土地面可直接在基础上搭设脚手架;
C)搭设高度在24m及以上时,应根据脚手架承受荷载、搭设高度、搭设现场土质情况等,进行 脚手架基础设计;
d)脚手架立杆垫板或底座底面标高宜高于自然地坪50mm—10OmmO
5. 3.1.3脚手架连墙件及抛撑应符合下列规定:’
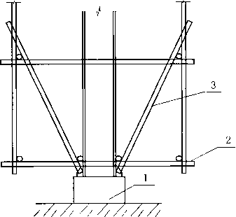
a)脚手架开始搭设立杆或架设高度在6m以下时,第一跨应设置抛撑,超过2跨时每2跨设置 一根抛撑,落地支点与立杆距离不应小于3m,抛撑与地面的倾角应在45。〜60。之间。各抛 撑底部应用水平杆相互连接封固,并与脚手架连成一体。抛撑设置见图5. 3. 1. 3-1;
1—抛撑;2—抛擇之间水平连接杆
图5. 3. 1.3-1抛撑设置
b)当搭设高度超过6m时应设连墙件,连墙件应靠近脚手架主节点并从底层第一步纵向水平杆 处开始设置。扣件式钢管和承插盘扣式钢管脚手架连接点距主节点不应大于30Omn1,碗扣式 钢管脚手架连接点距主节点距离不应大于150mm;
C)连墙件应采用可承受拉、压荷载的刚性结构,连接应牢固,不得使用柔性连墙件;
d)扣件式钢管及碗扣式钢管脚手架搭设高度在50m以下的落地式双排脚手架和搭设高度在24m 以下的单排扣件式钢管脚手架,连墙件应按间隔3步距和3纵距连续设置,当搭设高度超出 上述范围时,连墙件的位置、数量应经过计算;
e)门式钢管脚手架连墙件竖向间距不应大于4m,并应符合表5. 3. 1. 3的规定;
表5. 3.1.3门式钢管脚手架连墙件设置要求
|
脚手架高度 m |
连墙件间距 _________m |
每根连墙件覆盖面积 m2 | |
|
竖向 |
水平向 | ||
|
≤40 |
3步 |
3跨 |
≤40 |
|
>40 |
2步 |
3跨 |
≤27 |
f) 连墙件应呈水平设置,见图5. 3. 1.3-2o当不能呈水平设置时,与脚手架连接的一端应下斜 连接;
g) 非封闭型脚手架的两端应设置连墙件,连墙件的垂直间距不应大于建筑物或构筑物的层高, 且不应大于4m;
h) 碗扣式钢管脚手架高度大于24m时,顶部24m以下所有连墙件层都应设置水平斜杆,水平 斜杆应设置在纵向横杆之下,见图5. 3. 1. 3-3o
1 一连墙杆;2—横向水平杆;3—立杆
图5.3. 1.3-2连墙件构造要求
1 —水平斜杆;2 —立杆;3 —水平杆
图5. 3.1.3-3连墙件水平斜杆设置示意
5. 3. 1.4剪刀撑与横向斜撑设置应符合下列规定:
a) 双排脚手架应设置剪刀撑与横向斜撑,单排脚手架应设置剪刀撑;
b) 扣件式钢管脚手架每道剪刀撑宽度不应小于4跨,斜杆与地面应成45。〜60。倾角,设置时 与其他杆件的交叉点应互相连接,剪刀撑斜杆应用旋转扣件固定在与之相交的横向水平杆的 伸出端或立杆上,旋转扣件中心线至主节点的距离不应大于150mm;
C)扣件式钢管脚手架高度在24m以下的单、双排脚手架,均应在外侧立面的两端、转角各设置 一组剪刀撑,脚手架体的中间部分可间断设置剪刀撑,各组剪刀撑之间净间距不应大于15m, 剪刀撑由底部至顶部随脚手架的搭设连续设置,见图5. 3. 1. 4-1 a)所示。高度在24m及以 上的双排脚手架,在外侧立面应沿长度和高度连续设置剪刀撑,见图5. 3.1.4-lb);
a)高度24m以下剪刀撑布置
高度24m及以上剪刀撑布置
b)
图5.3. 1.4-1扣件式钢管脚手架剪刀撑布置示意
d)碗扣式钢管脚手架封圈的拐角处和非封闭型脚手架的端部,当架高小于或等于24m时,每隔 5跨应设置一组通高竖向斜撑,当架高大于24m时,每隔3跨应设置一组通高竖向斜撑,见 图 5. 3. 1.4-2;
扇
日寸ZV
/7∕∕∕∕χ∕∕∕∕∕∕∕∕∕∕∕∕∕∕∕∕∕∕∕∕∕∕∕∕∕∕∕∕∕∕∕∕∕∕∕∕∕∕∕∕∕∕∕∕∕∕∕∕∕∕∕∕∕∕∕Λ∕∕∕z
V-I_ _2_/
7777777
1 —角斜杆;2—端部斜杆
图5. 3.1.4-2碗扣式钢管脚手架专用外斜杆布置示意
e)落地式满堂支撑架应按构架稳定要求设置竖向和水平拉结杆件,普通型满堂支撑架沿架体外 侧周边及内部纵、横向每5m〜8m,应设置由底至顶的连续竖向剪刀撑,加强型满堂支撑架 连续竖向剪刀撑的间距应为3m〜5m。落地式满堂支撑架设置示意见图5. 3. 1. 4 — 3;
图5. 3. 1.4-3落地式满堂支撑架设置示意
f) 剪刀撑斜杆的接长应釆用搭接,搭接长度不应小于Im,应等间距设置3个旋转扣件固定;
g) 高度在24m以下的封闭型双排脚手架可不设横向斜撑,高度在24m以上的封闭型脚手架,
除拐角应设置横向斜撑外,中间应每隔6纵距设置一道;
h)扣件式钢管非封闭双排脚手架的两端应设置横向斜撑。横向斜撑的设置见图5. 3.1.4-4o
1—横向斜撑
图5. 3. 1.4-4横向斜撑做法
5.3. 1.5杆件连接应符合下列规定:
a) 立杆除顶层顶部外,应釆用对接扣件接长,立杆的对接扣件应交错布置,两根相邻立杆的接 头不应设置在同步内,同步内隔一根立杆的两个相隔接头在高度方向错开的距离不宜小于 500mm;各接头中心至主节点的距离不宜大于步距的1/3;
b) 脚手杆成90°状连接的交叉点应用直角扣件连接,直角扣件应该摆平,开口应朝上,不得用 旋转扣件替代;
C)水平杆连接时,宜釆用对接,也可釆用搭接,搭接长度应大于50Omm,两扣件距离不应小于 400mm;
d)扣件式钢管脚手架纵向扫地杆应釆用直角扣件固定在距钢管底端不大于20Omm处的立杆上, 单根杆长度不应小于3跨;横向扫地杆应釆用直角扣件固定在紧靠纵向扫地杆下方的立杆上。 碗扣式钢管脚手架纵、横向扫地杆距地面不应大于35OmmO
5. 3. 1.6脚手板及护栏应符合下列规定:
a) 作业层脚手板应满铺,当建筑物、设备空间受限不能满铺时,应釆取有效防护措施;
b) 脚手板两端宜用10#镀锌铁丝双股绑扎或使用钢板卡固定,铁丝接头应设置在脚手板的侧面 或下面;
C)脚手板长度大于2m时,应设置在三根横向水平杆上;脚手板长度小于2m时,可采用两根横 向水平杆支承,并应将脚手板两端与其可靠固定;
d)脚手板的铺设可对接平铺或搭接铺设,脚手板交接处应平整,无探头板;脚手板对接平铺时, 接头处应设两根横向水平杆,接头处间隙应小于20mm,脚手板外伸长应为13Omin~150mm, 两块脚手板外伸长度的和不应大于30Omm,见图5. 3. 1. 6-1 a);脚手板搭接铺设时,接头应 支在横向水平杆上,搭接长度应大于20Omm,其伸出横向水平杆的长度不应小于IOOmm, 见图 5. 3. 1.6-lb);
130mπr^l5Qmm
a)脚手架对接 b)脚手板搭接
图5.3.1.6-1脚手板对接、搭接构造 e)脚手架作业层除f)项、g)项规定外,脚手架作业层四周应搭设防护栏,防护栏应米用脚手 架钢管搭设;脚手架外侧栏杆上栏杆离作业面高度L 2m,中栏杆离作业面高度0. 6m,所有 防护栏均应安装挡脚板,挡脚板的位置应位于防护栏内侧,釆用木板或金属板制作,高度不 应小于18Omm,与脚手架平台间的缝隙不能超过10mm;防护栏布设示意见图5. 3. 1. 6-2;
1—上栏杆;2—外立杆;3—挡脚板;4—中栏杆
图5. 3. 1.6-2防护栏布设ZF意
f) 脚手架与工作面相邻的挡脚板可不设,脚手架平台边缘与工作面的间隙应小于200mm,并且 要有防护措施,防止物体坠落;
g) 当脚手架相邻的结构坚固可靠,且边缘与脚手架的间隙小于IOOmm,高度超出脚手架平台表 面1. 2m时,脚手架在这一侧可不设护栏。
5.3. 1.7脚手架通道设置应符合下列规定:
a)脚手架走人斜道应设置为“之”字形,附着搭设在脚手架的外侧,不得悬挑,斜道见图
5. 3. 1.7-IO坡度不大于1: 3,宽度不得小于lm;斜道立杆应单独设置,不得借用脚手架立 杆,并应在垂直方向每隔一步或水平方向每隔一个纵距与脚手架主体设一连接;当斜道用于 运料时,坡度不应大于1 : 6;
1一大横杆;2—小横杆;3—脚手板;4一立杆;5 一垫板;6一剪刀撑;7一斜杆;8一斜道
图5. 3. 1. 7-1斜道示意
b)斜道两侧及转角平台外围均应设1. 2m高的上栏杆、0. 6m高的中栏杆和挡脚板;转角平台宽 度不应小于斜道宽度,平台外侧应设置“之”字斜撑;斜道外侧应设置剪刀撑;
C)斜道脚手板应满铺,每隔25Omm~300mm设一防滑木条,木条厚度宜为20mm~30mm;
d)垂直设备或构件的每一个作业层之间均应设置直爬梯做上、下通道,直爬梯可釆用成型金属 梯架设,也可釆用脚手架钢管搭设;搭设的直爬梯宽度宜为600mm,直爬梯的档距宜为 30OmIn,最大不应超过400mm;直爬梯结构见图5. 3. 1. 7-2;
图5.3. 1.7-2直爬梯布设示意
e) 直爬梯顶部工作面开口周围应有防护栏,直爬梯伸出工作平台不宜小于O. 9m;
f) 在地面上第一、二步内,直爬梯可以在脚手架外侧;在第三步以上,直爬梯应设在脚手架内 侧;
g) 直爬梯超过6m应设置转角平台,转角平台宽度不应小于700mm;对不能转换方向的,高度 超过6m时,在直爬梯的顶部应设置防坠器、锁绳器等防止垂直坠落的措施;
h) 直爬梯在每层作业平台的出口处应设置盖板或活动防护栏,盖板宜用50mm厚木板制作并设 有定位止口,盖板结构见图5. 3. 1.7-3;活动防护栏至少应有两道横杆;
图5. 3. 1.7-3盖板结构示意
i) 脚手架搭设时,应避免将横杆或立杆搭设在直梯内影响上、下通行;
j) 通道式脚手架的脚手板应并排铺设并不应少于3块;井字脚手架的通道板应并列铺设,不得 少于2块;不得铺设单脚手板通道;
k) 通道入口处应有醒目的标志;
D 脚手架水平方向宜每隔30m设置一处上、下通道;
In)超高设备、结构施工脚手架的上、下通道可采用施工电梯方案,方案应经过专家论证。
5.3.2悬挑式脚手架构造要求
5. 3. 2.1悬挑式脚手架搭设时应先设置悬挑支撑结构,支撑结构斜撑杆与架体立杆或墙面夹角不应大 于30° ,架子挑出的宽度不宜大于1.2mo
5. 3. 2. 2悬挑式脚手架施工荷载每平方米不应超过20OkgO
5. 3.2.3斜撑杆及其顶支稳固杆件不得与模板支撑架连接。
5. 3. 2. 4斜撑杆应与内外立杆及水平挑杆用扣件连接牢固,每一连接点均应为双向约束;斜撑杆按每 一纵距设置,斜撑杆上相邻两扣件节点之间的长度不应大于1. 8mo
5.3. 2.5斜撑杆和横杆不得接长。
5.3.2.6斜撑杆支撑在楼板上时,底部应设置扫地杆,水平挑杆应与主体结构牢固连接。
5. 3. 2. 7双层搭设时立杆接长应采用搭接。
5. 3. 2. 8 .悬挑式脚手架架体结构在平面转角处应采取加强措施。
5.3. 2. 9悬挑式脚手架的脚手板、防护栏和上、下通道设置应符合本规范5. 3. 1. 6条和5. 3. 1. 7条的 规定。
5.3.3悬吊式脚手架构造要求
5. 3. 3. 1悬吊式脚手架吊杆不得接长使用。
5. 3. 3. 2悬吊式脚手架宜依靠管廊结构、框架结构等构筑物的水平梁搭设,采用四根短杆用直角扣件 环绕支撑梁连接,成井字形固定在支撑梁上;吊杆宜两根一组,组成门架型;吊杆的顶端和下端分别 设置防滑扣件,防滑扣件距杆端不应小于100mm;在吊杆的下横杆上铺设脚手板。
5.3.3.3悬吊式脚手架吊杆之间的距离不宜大于2m;悬吊点跨度较大时,应在脚手架下方设置八字 斜撑做加固支撑。
5. 3. 3.4悬吊式脚手架的横杆与管廊结构、框架结构等构筑物的水平梁之间采用钢制挂钩固定时,挂 钩应采用直径不小于20mm圆钢制作,挂钩两端的挂环应完全封闭,接头应满焊。
5. 3. 3.5悬吊式脚手架的脚手板、防护栏和上下通道设置应符合本规范5. 3. 1.6条和5. 3. 1. 7条的规 定。
5.3.4水平移动脚手架构造要求
5. 3.4.1水平移动脚手架可采用带行走装置的脚手架和用脚手架搭设的小型操作平台,适用于低处作 业或多点作业。
5.3.4.2水平移动脚手架的构造应符合下列规定:
a) 脚手架立杆纵、横距宜为1.2m〜2m,作业面平台的高度不得超过横向尺寸的三倍且不超过 5m;
b) 作业层平台四周应设置防护栏,脚手板和防护栏应符合本规范5. 3.1.6条的规定;
C)水平移动脚手架宜采用活动轮子,轮子应能承受脚手架自車及动静载荷;轮子与脚手架立杆 应连接牢固,就位后应锁定。
5. 3.5悬挂三角架构造要求
5.3.5. 1悬挂三角架可由架体、固定挂件、脚手板和护栏组成。固定挂件宜釆用厚8mm、宽75mm、 长3OOmm的钢板制作,沿容器壁焊接固定。三角架架体宜用50mm× 50mmX5mm角钢制作,直角位 置焊接宽50mm的L型钩板,长直边宜为75Omm〜IOoOmm。悬挂三角架布置见图5. 3. 5. Io
5.3.5.2悬挂三角架搭设时,固定挂件水平间距不宜大于1.5m,挂件的上部边缘和两侧边缘应与容 器壁满焊焊接牢固;护栏套筒内径为50mm,长度宜为80mm~100mm,与护栏之间应有销子固定。三 角架L型钩板插入固定挂件与容器固定,架体上端平面铺设脚手板,架体作业层外侧应设防护栏。
5.3.5.3在使用前应检查悬挂三角架各支点,压、拉固定焊点是否松动;使用过程中应控制施工荷载 每平方米不应超过20OkgO
5. 3.5. 4悬挂三角架的脚手板、防护栏和上下通道设置应符合本规范5. 3. 1. 6条和5. 3. 1. 7条的规定。
6
1 —固定挂件;2—三角架;3—立柱;4—脚手板;5—中栏杆;6—上栏杆;7—绑绳
图5. 3. 5. 1悬挂三角架布置示意
5.3.6通道式脚手架构造要求
5. 3. 6.1通道式脚手架宜布置在管廊的纵向方向;当设置在管廊内部时,通道可以管廊水平梁为支撑 梁,按悬挑式或悬吊式脚手架方式搭设;当设置在管廊外侧时,通道可按落地式或悬挑式脚手架搭设, 立杆间距不得大于1.8m,步距不大于2m,每隔6m与管廊结构固定。
5. 3. 6. 2通道式脚手架的脚手板、防护栏和上、下通道设置应符合本规范5. 3. 1. 6条和5. 3. 1.7条的 规定。
5.3.6.3当管廊的每棉框架横梁两侧都搭设有水平通道时,两侧通道的内侧均可不设防护栏和挡脚 板,但脚手板应满铺。
5. 3. 7满堂脚手架构造要求
5. 3. 7. 1满堂脚手架作为作业平台时,宜釆用悬吊式脚手架形式,其结构形式可按本规范5. 3. 3条规 定设置。
5. 3. 7. 2悬吊式满堂脚手架宜设置落地式八字支撑加固;当地面硬化工程尚未施工时,八字支撑的落 脚点应设在立柱脚的基础上,不与地面直接接触。
5.3.7.3满堂支撑架应采用落地式,其结构形式应符合JGJ 128、JGJ 130、JGJ 166、JGJ 231等相 关规定。
5.3.8门式钢管脚手架构造要求
5. 3. 8. 1门架纵距应符合JGJ 128有关规定,门架立杆离墙面净距不宜大于150ιm∏;大于15Omm时 应采取内设挑架板或其他临边防护的安全措施。
5. 3. 8. 2门架的内外侧均应设置交叉支撑并应与门架立杆上的锁销锁牢;上、下棉门架的组装应设置 连接棒及锁臂,连接棒直径应小于立杆内径Imm〜2mm。在脚手架的操作层上应连续满铺与门架配套 的挂扣式脚手板,并扣紧挡板,防止脚手板脱落和松动。
5. 3. 8. 3门架两侧的立杆上应设置纵向水平加固杆,并用扣件与门架立杆扣紧。门架每一步都铺设有 挂扣式脚手板时,每隔4步应设置一道水平加固杆,并宜在有连墙件的水平层设置;当门架搭设高度 小于等于40m时,沿门架高度,水平加固杆应两步一设;当门架搭设高度大于40m时。水平加固杆 应每步一设;在门架的转角处、端部及间断处的一个纵距范围内,水平加固杆应每步一设;水平加固 杆在其设置层面内应连续设置,并形成水平闭合圈。
5. 3. 8. 4底层门架下端应加封口杆,门架的内、外两侧应设置离立杆底端不大于20Omm的通长扫地 杆,扫地杆应采用扣件与门架立杆扣牢。
5.3.8.5不配套的门架与配件不得混用。门架安装时应自一端向另一端延伸,并逐层改变搭设方向, 不得相对进行。搭完一步架后,应检查并调整其水平度与垂直度。脚手架应沿建筑物周围连续、同步 搭设升高,在建筑物周围形成封闭结构;如不能封闭时,在脚手架两端应增设连墙件。
5. 3. 9承插型盘扣式脚手架构造要求
5.3.9. 1承插型盘扣式双排钢管支架可根据使用要求选择架体几何尺寸,步距宜选用2m,立杆纵距 宜选用L5m或1.8m,且不宜大于2. Im,立杆横距宜选用0. 9m或1. 2m。
5.3.9.2脚手架首层立杆应采用不同的长度立杆交错布置,相邻立杆竖向错开距离不应小于50Omn1, 立杆底部应配置可调底座。
5. 3. 9. 3双排脚手架专用外斜杆应设置在有纵、横向横杆的盘扣节点上;釆用钢管做斜杆时,斜杆应 每步与立杆扣接,盘扣节点的距离不应大于15Omm,当不能与立杆扣接时,应与横杆扣接。
5. 3. 9. 4承插型盘扣式钢管支架做模板支撑架时,应符合JGJ 231中6. 1节的要求。
5. 3. 9.5需要设置走人斜道时,应符合本规范5. 3. 1. 7条的规定;当双排脚手架需要设置人行通道时, 应在通道上部架设支撑横梁,横梁截面大小应按跨度以及承受的荷载计算确定,通道两侧脚手架应加 设斜杆;洞口顶部应铺设封闭的防护板,两侧应设置安全网;通行机动车的洞口,应设置安全警示和 防撞设施。
5.3.10直插式轻钢脚手架构造要求
5.3.10.1脚手架立杆纵向间距不应大于1.8m,横向间距不应大于Im,立杆与操作面净距不宜大于 150mm;大于15Omm时应釆取内挑架板或其他临边防护的安全措施。
5. 3.10. 2当脚手架搭设高度小于6m时,在脚手架外侧应设置单向剪刀撑,当搭设高度大于等于6m 时,在脚手架的外侧应设置双向剪刀撑。剪刀撑应与立杆上的插销锁牢。剪刀撑纵向每隔一个立杆纵 距设置一列,剪刀撑垂直方向每隔一个立杆步距设置一列。直插式轻钢脚手架剪刀撑设置见图 5. 3. 10. 2o
1
1—纵向间距
2—垂直间距
a)单向剪刀撑 b)双向剪刀撑
图5. 3.10.2直插式轻钢脚手架剪刀撑设置示意
5. 3. 10. 3脚手架上、下立杆的组装应通过内插套管进行连接,连接处插接长度不应小于18Omm,内 插套管外径应小于立杆内径0. 8mm〜L 2mm。在脚手架的操作层上应连续满铺与脚手架配套的挂扣式 脚手板,并用锁片扣紧短横杆。
5.3.10.4脚手架的梯子通过上端挂钩和下端蟹爪分别固定在上、下层的短横杆上,其中上端挂钩上 设置锁片与上层短横杆锁紧,下端蟹爪扣紧下层短横杆,防止梯子脱落和松动。多层的梯子可在同一 垂直范围内逐层依次设置,也可根据施工情况分散在不同垂直部位设置。
5.3.10.5每层脚手架外侧均需沿立杆高度方向等分设置两道长横杆作为护栏,长横杆两端用插头插 入立杆的插座中,并用榔头敲紧,防止松动。
5.3.10.6当脚手架高度超过9m时,在脚手架节点处设置与结构本体的连墙件,其水平、垂直间距 为9mo
5.3.11防护架构造要求
5.3. 11. 1设备、建筑物或构筑物施工从6m高或二层起,凡人员进出的通道口、外用电梯周边、施 工机械上方等,均应搭设安全通道,安全通道的立杆纵距不应大于L 6m,水平杆步距不应大于1. 8m, 安全通道顶部应采用脚手板搭设;基础高度超过24m时,安全通道应设双层防护,双层间距不宜小于 500mm;安全通道宽度应满足每侧伸出通道边不小于Im,长度不应小于以下坠落半径的要求:
a) 当基础高度小于.15m时,坠落半径为4m;
b) 当基础高度大于15m小于等于30m时,坠落半径为5m;
C)当基础高度大于30m时,坠落半径为6m;
d) 高度IOOm以下的烟囱,坠落半径不宜小于10m;
e) 高度IoOm以上的烟囱,坠落半径不宜小于烟囱高度的l∕10o
5.3.11.2受限空间内交叉作业应搭设隔离防护棚,每隔20m高度应搭设一层防护棚,防护棚的生根 可在容器内利于生根的部位开始搭设;底层防护棚的高度宜为2.5m,当基础高度超过24m时,防护 棚顶部应设双层防护,双层隔离层间距宜为200mm;防护棚应采用钢制脚手板满铺搭设,板与板之间 应严密拼缝,较大的缝隙应用窄板条或铁皮可靠封住;防护棚上人员的出入通道口应制作封洞板,封 洞板应符合本规范5. 3. 1. 7条的规定。
5. 3.11.3脚手架水平防护架外伸宽度不应小亍2m,支撑斜杆的水平仰角应在40。〜70。之间,安全 平网的内外口应锁紧边绳,内口与工程结构主体间隙不得大于IOOmm,网与网之间应搭接牢固,不得 有纵向间隙,网与网的转角处应搭接、拉紧和绑牢。安全平网选用应符合GB 5725的有关规定。
5.3.11.4脚手架垂直防护应在脚手架上设置密目式安全网全封闭,密目式安全网选用应符合 GB 5725的有关规定,密目式安全网宜设置在脚手架外立杆的内侧,并顺环扣逐个与架体绑扎牢固, 密目网上的每个环扣都应穿入符合规定的纤维绳,允许使用性能不低于标准规定的其他绳索(如钢丝 绳或金属线)代替。
6专业脚手架结构设计
6.1建筑物脚手架
6. 1. 1建筑物脚手架搭设应执行JGJI28、JGJl30、JGJl66、JGJ231的规定。
6.1.2建筑物外部脚手架宜采用双排脚手架;内部脚手架宜采用双排脚手架和移动脚手架。
6.1.3建筑物现浇混凝土梁、板支撑用脚手架应采用满堂脚手架,并应进行结构设计计算。
6.2构筑物脚手架
6. 2. 1混凝土框架脚手架应符合下列规定:
a) 钢筋混凝土柱施工宜采用落地式双排井字脚手架,脚手架同时用于柱模板加固,脚手架步距 应依据柱截面尺寸设置;
b) 现浇钢筋混凝土梁、板支撑应采用满堂脚手架,并应进行结构设计计算。
6. 2. 2烟囱脚手架应符合下列规定:
a) 现浇钢筋混凝土烟囱施工,应编制专项技术技术方案,脚手架按专项施工技术方案要求搭设;
b) 钢制烟囱分段安装时,宜在分段处搭设落地式双排脚手架或采用悬挂三脚架。
6.2.3电梯井脚手架应符合下列规定:
a) 采用滑摸施工工艺时,应编制专项施工技术方案,脚手架按专项施工技术方案执行;
b) 采用其他施工工艺时外部应搭设落地式双排脚手架;内部应搭设满堂脚手架,并应按本规范 5. 3条规定进行结构设计。
6.2.4水池脚手架应符合下列规定:
a)钢筋混凝土水池池壁内部采用落地式双排脚手架,封闭式钢筋混凝土水池池顶施工釆用落地 式满堂支撑架,并应进行结构设计计算;
b)钢筋混凝土水池外部脚手架采用落地式双排脚手架,基坑边坡宜依据边坡坡度搭设斜通道或 直通道;池壁内、外应设置上、下直通道,内、外通道应连接。水池脚手架结构见图6. 2.4o
1—上护栏;2—中护栏;3 —通道;4 —外侧脚手架;5—内侧脚手架;6—水池墙;7一墙体钢筋;8—跨墙通道
图6.2.4水池脚手架示意
6. 3管廊脚手架
6. 3. 1 —般要求
6. 3. 1.1管廊脚手架应综合考虑结构、管道、电仪及防腐绝热等各专业工程施工,避免重复搭设。
6. 3. 1.2在未完成竖向施工的区域搭设落地式脚手架时,脚手架承重结构应置于管廊基础上,并将脚 手架立杆悬空。管廊钢结构安装脚手架见图6. 3. 1. 2o
1—基础;2 —横杆;3—斜撑
图6.3. 1.2管廊钢结构安装脚手架示意
6. 3.1.3装置区的管廊首层底部宜设置安全平网或满铺平台;管廊在道路上空横穿时应在管廊底层搭 设悬吊式满堂脚手架并满铺脚手板,脚手架两端超出路边缘不少于2mo管廊悬吊式满堂脚手架见图
6. 3. 1. 3-1、满堂脚手架与梁连接见图6. 3. 1. 3-2o
1 —管廊横梁;2—钢脚手管;3—满铺脚手板平台;4一防滑扣件;5 —护栏;6一悬挂立杆
图6. 3. 1.3-1管廊悬吊式满堂脚手架示意
1—脚手架管;2一满铺平台;3—防滑扣件;4—固定扣件;5—防滑扣件;6—固定扣件;7—钢梁
图6. 3.1.3-2满堂脚手架与梁连接示意
6. 3.1.4装置区主管廊宜每隔30m设置一通道,且每条管廊不宜少于2个通道。
6.3. 1.5装置区主管廊宜根据管廊上管道、电气、仪表等专业工程布置情况,在某层管廊外侧或管廊 中部搭设通道式脚手架,其他层釆用直爬梯与通道连通。管廊里、外通道脚手架见图6.3.1.5o
1—外侧通道;2—脚手架连墙件;3—管廊钢柱;4—基础;5 一管廊内通道;6一大横杆;
7—横梁;8—钢结构立柱
图6. 3.1.5管廊里、外通道脚手架
6.3.2管廊结构安装脚手架
6. 3. 2. 1现浇钢筋混凝土柱施工脚手架搭设应符合本规范6. 2. 1条规定。
6. 3. 2. 2现浇钢筋混凝土梁支撑架应符合本规范6. 2. 1 b)项的规定。
6. 3. 2. 3钢筋混凝土预制柱与梁连接点施工宜抱柱搭设落地式双排井字架,连接点部位设置操作平台 和上、下通道。
6.3. 2.4钢结构单梁、单柱安装时,宜沿每个立柱搭设落地式双排井字架,在梁柱节点处搭设作业平• 台;主、次梁连接部位宜釆用落地式脚手架或吊架。
6. 3. 2. 5钢结构成片、成框安装时,宜在连接点部位沿柱搭设双排脚手架,在连接部位设置操作平台 和上、下通道。
6.3.3管廊管道安装脚手架
6. 3. 3. 1管廊集中穿管部位及焊口集中部位应搭设落地式或悬吊式满堂脚手架。
6. 3. 3. 2第二层及以上管廊管道焊接及无损检测用脚手架宜采用落地式、悬吊式,落地式脚手架见图
6. 3. 3.2-1,悬吊式脚手架见图6. 3. 3. 2-2。
1 —管廊结构梁;2—脚手架护栏;3 —脚手架平台;4—通道;5—立杆
图6. 3. 3. 2-1落地式脚手架示意
1 —管廊结构梁;2—脚手架护栏;3—脚手架平台;4—通道;5—立杆;6—横杆
图6. 3. 3. 2-2悬吊式脚手架示意
6. 3. 3. 3管廊与设备连接管道的安装宜釆用移动脚手架或双排井字架。
6.4钢结构安装脚手架
6. 4. 1框架钢结构安装脚手架应符合下列规定:
a) 钢结构单梁、单柱安装时宜采用移动式、落地式、悬挑式或悬吊式脚手架作业平台;
b) 钢结构成片、成框安装时宜在连接部位沿柱搭设井字脚手架,并在节点处搭设操作平台和上、 下通道;
C)钢格板或平台板安装时宜设置安全平网,当铺设层护栏未安装完成时应沿平台外侧搭设悬挑 脚手架铺设安全平网,脚手架挑出长度不应小于2m。
6.4.2火炬塔架钢结构预制、安装脚手架应符合下列规定:
a) 火炬塔架钢结构在地面进行预制时,应搭设落地式脚手架,火炬塔架分段预制脚手架平面见图
6. 4. 2-1;
b) 火炬塔架钢结构分段安装时宜利用火炬塔架结构正式平台,当不能利用时,宜利用火炬塔架 结构搭设悬挑式脚手架,火炬塔架分段组对安装立面见图6.4.2-2, A-A节点脚手架平面和 立面见图6. 4. 2-3;
1—立杆;2 一横杆;3一火炬塔架;4—平台护栏;5 —通道;6—平台
图6. 4. 2-1火炬塔架分段预制脚手架立面示意
图6. 4. 2-2火炬塔架分段组对安装立面示意
1—火炬塔架支腿;2—脚手架平台;3一脚手架平台护栏立杆;4—火炬塔架结构平台;
5—悬挑的脚手架管固定管;6—悬挑平台护栏
图6. 4. 2-3 A-A节点脚手架平面和立面示意
6.5立式设备安装脚手架
6.5.1设备外部脚手架的搭设形式宜为多边形封闭结构双排脚手架,典型设备外部脚手架结构见图
6. 5. I-IO脚手架的纵距、步距和横距应符合本规范5. 3. 1. 1条的规定。类型可采用扣件式或碗扣式钢 管脚手架。脚手架搭设应符合下列规定:
a)脚手架遇设备平台需断开时,断开部位宜釆用支撑与平台下表面牢固撑紧,并在平台上方相 同位置铺设垫板、搭设扫地杆后再向上方搭设脚手架。平台断开结构见图6. 5. 1-2;
图6. 5.1 -1典型设备外部脚手架结构示意
图6.5. 1-2平台断开结构示意
b)脚手架搭设时应每隔三步设置连墙件,连墙件的设置应符合下列规定:
1) 架体与设备平台连接;
2) 在架体水平杆内侧设置支撑顶紧设备,可调支撑应对称使用,数量不应少于4个。可调 支撑设置见图6.5. 1-3;
图6.5. 1-3可调支撑设置示意
C)附塔管道安装断开架体时,架体不应内、外侧同时断开,断开处应增设横向斜撑进行加固。
6. 5. 2设备内部脚手架宜釆用落地式井字架加外悬挑结构或多边形双排脚手架加外悬挑结构,设备内 部脚手架外悬挑结构见图6.5.2o脚手架的纵距、步距、横距应根据设备直径和承重荷载进行计算确 定,内脚手架宜采用扣件式钢管搭设。脚手架搭设应符合下列规定:
a) 脚手架距设备内壁的距离宜为15Omm〜250mm;
b) 除纵、横向剪刀撑外,还应在扫地杆和作业面下部设置水平斜撑;
C)外悬挑结构应符合本规范5.2.5条规定;
d)连墙件设置应符合本规范6. 5. 1 b)条规定。
图6. 5.2设备内部脚手架外悬挑结构示意
6. 5. 3整体到货立式设备,在现场水平放置安装防腐绝热、附塔管道及劳动保护设施时,脚手架釆用 落地式双排脚手架,类型宜釆用扣件式或碗扣钢管脚手架,设备直径较大时,中心以上部位宜采用悬 挑脚手架。脚手架的基础处理、抛撑、悬挑结构、通道除应符合通用脚手架的相关规定外,还应符合 下列规定:
a) 脚手架距设备的距离宜为绝热厚度加150mm;
b) 立杆位置应错开设备平台及设备护栏位置;
C)脚手架作业面在设备平台处不连续时,应在每段作业面设置上、下通道。
6.5.4分片到货设备现场组焊脚手架应符合下列规定:
a) 设备筒节组段脚手架宜釆用落地式双排脚手架,类型可釆用扣件式或碗扣钢管脚手架;
b) 脚手架基础处理应符合本规范5. 3. 1. 2条规定,在金属平台上组对时可不进行基础处理;
C)脚手架作业面距施焊位置宜为1.4m-l. 6m;
d)筒节组焊脚手架作业面面积不宜少于2m2o
6.5. 5分段到货的立式设备正装组焊成整体脚手架可采用扣件式钢管脚手架,也可采用悬挂三角架结 构,脚手架应符合下列规定:
a) 扣件式钢管脚手架应符合本规范5. 3. 1. 1和6. 5.4条c)、d)的规定;
b) 三角架制作应符合本规范5. 3.5条规定,三角架的安装应在地面进行;
C)三角架的固定挂件焊接在下段距上沿1. 4m〜1. 6m处,根据焊接要求可内外同时搭设;
d) 脚手板釆用10#镀锌钢丝双股固定在三角架上,三角架外侧设置护栏,护栏釆用卡扣或螺栓 固定在三角架上;
e) 吊装后搭设上、下通道,通道可利用设备本身梯子、平台或在平台上搭设井字架连接至三角 架作业面,不能利用设备本体梯子平台时宜直接搭设井字架作为通道,但应有连墙件与设备 连接。
6-5.6冷箱安装脚手架应符合下列规定:
a) 冷箱箱体组焊用脚手架宜釆用双排落地式脚手架或三角架;
b) 冷箱内部设备组焊用脚手架宜釆用落地式脚手架;
C)冷箱内管道安装架设宜应以落地式双排脚手架为主,以钢结构为基础的悬挑和以落地架为基 础的悬挑为辅。
6- 6反应再生系统安装脚手架 、
6- 6.1反应器、再生器、三级旋风分离器分段正装施工脚手架应符合本规范6. 5.4条和6. 5. 5条的规 定。
6. 6. 2反应器、再-生器安装应从地面搭设落地式双排脚手架,落地脚手架与搭设在框架基础上的脚手 架应过渡连接,且两脚手架过渡部位重叠不得少于一个歩距,并设置横向斜撑。反应器、再生器过渡 部位架设见图6. 6.20
图6. 6.2反应器、再生器过渡部位架设示意
6.6.3两器内件安装用脚手架应符合下列规定:
a) 旋风分离器与集气室的对接接头以及料腿与旋风分离器的连接接头处的脚手架宜采用满堂脚 手架分层搭设;
b) 旋风分离系统、快速分离器、催化剂内循环管、提升管、稀相输送管、空气分布管等内件宜 自上而下安装,脚手架逐步拆除,拆除过程应保持连墙件和未拆除部分的完整;
C)立杆位置应考虑内件位置和尺寸避免多次重复搭设;
d) 脚手架应搭设水平斜撑,水平斜撑除扫地杆上部、作业面下部应设置外,其他部位应根据搭 设高度,每三步设置一道;
e) 因内件安装发生脚手架拆改时,应对脚手架进行加固处理,并应符合本规范8. 9条的规定;
f) 内件安装时应在待安装内件下方设置防坠落措施,施焊部位应做防火隔离。’
6. 6.4设备衬里施工用脚手架应符合下列规定:
a) 脚手架的纵距、步距、横距根据承重载荷进行计算确定;
b) 放置衬里料的作业面下方0. 5m~lm处应设置安全网;
C)设备底部衬里完成后,搭设主井字架,每根立杆底部均应铺设50mm厚木板,立杆根部15Omm 处设置扫地杆,扫地杆水平面和顶部作业面应设置水平剪刀撑,主井字架四周同向设置斜撑, 斜撑靠近主节点;
d) 每两步架应设置一层防止倾覆杆件,杆件宜采用在横杆端部设置可调节支撑方式,可调支 撑应对称设置,且不少于4个。当衬里作业需要移动支撑时,应事先在其他位置安装替代 支撑;
e) 隔热耐磨衬里釆用倒模法施工时应编制专项施工技术方案。
6.6.5烟风道脚手架宜为落地式井字架,也可搭设悬吊架,脚手架应符合下列规定:
a)横杆长度适合烟风道尺寸,横杆端部距烟风道内壁距离为衬里厚度加IoonHn;
b)通道设置在井字架内部,作业层通道开口处应设置盖板,盖板应符合本规范5.3. 1.7条规 定;
C)悬吊架应有牢固的吊点,当釆用脚手架杆作为吊点时,悬吊长度和防滑扣件应符合本规范
5. 3. 3条规定。
6. 7炉类设备安装脚手架
6. 7.1圆筒炉施工用脚手架应符合下列规定:
a) 辐射室、对流室预制脚手架宜釆用多边形落地式双排脚手架,局部可采用落地式井字架;
b) 多边形落地式双排架应釆用扣件式钢管搭设;
C)脚手架作业面距炉壁或作业点距离宜为15Omm~250mm;
d)辐射室筑炉脚手架符合6. 6.4条a)项、b)项要求。
6. 7. 2箱式炉安装脚手架应符合下列规定:
a) 辐射室安装宜搭设落地式双排脚手架,局部可采用落地式井字架,辐射室炉顶可釆用满堂脚 手架或双排脚手架悬挑;
b) 落地式双排脚手架或井字架可釆用扣件式钢管脚手架或碗扣钢管式脚手架搭设;
C)作业面距炉壁或作业点距离应小于25Omm,作业点下方1.4m〜1.6m之间,脚手架立杆、横 杆、脚手板不应接触炉管;
d) 炉顶脚手架当炉体宽度大于等于IOm时宜采用满堂脚手架,炉体宽度小于IOm时,可釆用 落地式双排脚手架悬挑。炉内悬挑脚手架见图6.7.2;
e) 辐射室筑炉脚手架应符合本规范6.7. 1条d)的规定。
图6.7.2炉内悬挑脚手架示意
6.7.3对流室安装、烟囱安装脚手架宜以辐射室炉顶为基础搭设,宜采用落地式双排脚手架,类型可 釆用扣件式或碗扣式钢管脚手架,搭设要求符合本规范5. 3.1条的规定。
6. 7. 4穿炉管平台脚手架宜为落地式满堂脚手架,脚手架的纵距、步距、横距应符合本规范5. 3. 1. 1 条的规定。高度超过6m或三步距时应设置连墙件,脚手架两端应设置抛撑。 .
6.7.5工业炉安装人员密集或易坠落物体处应设置防护架,防护架构造要求符合本规范5.3.11条规 定。 6.7.6锅炉安装脚手架主要有钢结构安装脚手架和防护隔离脚手架。并应符合下列规定:
a) 锅炉钢结构安装脚手架应符合本规范6.4. 1条规定;
b) 水冷壁外侧的脚手架应符合本规范6.5.6条的规定;
C)锅炉内侧脚手架为满堂脚手架,立杆间距1.5m〜1.8m,步距不应大于1∙ 8m,作业层应设置
护栏和护脚板;
d) 锅炉水冷壁对接和顶棚焊接的脚手架为悬挑架,锅炉悬挑架见图6. 7.6,支腿与水冷壁焊接 或用螺栓连接,支腿间距1.5m,搭设护栏和挡脚板;
e) 锅炉安装在地面人员密集行走和每层无正式平台处,应搭设防护脚手架,防护脚手架应符合 本规范5. 3. 9条的规定。
1 一焊接或螺栓固定 图6. 7.6锅炉挑架示意
6.8储罐与气柜安装脚手架
6. 8.1储罐安装脚手架搭设应符合下列规定:
a) 正装法施工储罐外部脚手架宜釆用落地式双排脚手架、悬挂三角架,内部脚手架宜为悬挂三
角架; 一
b) 倒装法施工内、外脚手架宜釆用落地式双排脚手架;
C)落地式双排脚手架应采用扣件式钢管搭设,并符合本规范5. 3.1条有关规定;
d) 作业位置与最近通道距离不应超过15m;
e) 作业层与环向焊接接头的距离应符合本规范6. 5.5条C)的规定。
6. 8.2气柜安装脚手架搭设应符合下列规定:
a) 湿式气柜倒装法施工宜采用多边形落地式双排脚手架,也可釆用双排脚手架悬挑结构,局部 釆用井字架。正装法施工外部宜为多边形落地式双排脚手架,内部、夹层宜为悬挂三角架;
b) 气柜顶部预制釆用落地式满堂脚手架,作业面可根据顶部弧面设置;
C)干式气柜柜顶釆用倒装法施工宜采用多边形落地式脚手架,脚手架与壁板应有吊装距离;
d)干式气柜柜体正装法施工宜采用悬挂三角架惑落地式双排脚手架。
6. 8. 3 LNG储罐安装脚手架搭设应符合下列规定;
a) LNG储罐预制脚手架宜按待预制罐板形状搭设成拱桥型,并应预留Im做为通道。LNG罐顶 板预制脚手架见图6.8.3;
b) 全容式混凝土外罐施工用脚手架和操作平台应编制专项施工技术方案;
C)双容式LNG钢外罐施工宜釆用落地式双排脚手架或悬挂三角架;
d) LNG内罐安装施工宜釆用悬挂三脚架搭设的作业层平台;
e) LNG罐顶连接网片和罐顶板仰焊脚手架宜使用移动式脚手架或自动升降设备,当高度超过 4m时,不宜使用移动式脚手架;
1 —上护栏;2—中护栏;3—立杆;4—挡脚板;5—横杆;6—扫地杆;7—罐顶板
图6.8.3 LNG罐顶板预制脚手架示意
6. 8.4球罐外部脚手架宜采用落地式双排封闭结构,球罐上部表面采用悬挑结构,见图6. 8.4所示。 作业面距离球罐表面宜为15Omm〜25Omm,球面一侧可不设置护栏,当在球面一侧不能形成封闭结构 时,应在不封闭处设置护栏。球面下部可采用落地式多排脚手架,也可采用悬挑结构,作业层应设置 护栏。
图6. 8.4球罐外部架设示意
6. 8.5球罐内部架设应符合下列规定:
a) 每根立杆底部均应铺放厚50mm木板,立杆底部15Omm处设置扫地杆,架体底部应设水平 方向斜撑。球罐内部架设见图6. 8. 5-1;直径大于Iom的球形储罐,内部可采用多边形多排 架,作业层采用悬挑结构。球罐内部架设见图6.8. 5-2;
b) 工作面距球罐内壁距离宜为15Omm〜25Omm,球罐壁一侧可不设置护栏;
C)脚手架立杆在罐壁人孔位置设置连接杆,连接杆不少于两根横杆。
图6. 8. 5-1球罐内部架设示意
图6. 8. 5-2直径大于Iom球罐内部架设示意
6. 8. 6球罐内部安装脚手架也可采用悬挂三角架型式,脚手板捆扎固定在三角架上,设置通道和护栏, 悬挂三角架制作安装应符合本规范5. 3. 5条的规定。
6.8.7球罐中心柱安装脚手架可釆用中心柱焊接钢管支架的型式,脚手板捆扎在支架上,内侧设置通 道、护栏。脚手架应符合下列规定:
a) 支架的焊接应符合相关要求;
b) 工作面距球罐内壁距离宜为15Omm〜250mm;
C)每个工作面应设置上、下通道。
6.9工艺管道安装脚手架
6. 9.1立式设备附属工艺管道安装可在已安装好的操作平台上搭设落地式脚手架并预留出附属管道 位置;附属管道安装断开脚手架架体时,架体在管道位置不应内外侧同时断开,并应进行局部加固补 强。
6.9.2设备之间悬空布置的管道宜搭设落地式脚手架。
6. 9. 3地面设备及框架上低空配管宜釆用移动脚手架,搭设要求应符合本规范5. 3.4条规定,也可采 用门式钢管脚手架、扣件式钢管脚手架或碗扣式钢管脚手架进行局部落地式双排脚手架或井字架搭设, 搭设要求应符合本规范5. 3.1条、5. 3.8条规定。
6. 9. 4装置或单元之间系统管架的管道安装宜利用管架本身结构搭设悬吊式脚手架,搭设要求应符合 本规范5. 3. 3条规定;伸出框架的管道安装宜搭设悬挑式钢管脚手架,搭设要求应符合本规范5. 3. 2 条规定。
6. 9. 5单立柱等小型管架的管道安装宜釆用门式钢管脚手架、扣件式钢管脚手架、碗扣式钢管脚手架 进行落地式脚手架搭设。
6. 9. 6伴热管线安装可利用管道安装脚手架也可搭设通道式悬挑脚手架或落地式双排脚手架,分气缸 安装可釆用移动式脚手架或落地式井字架。
6.9.7除满堂脚手架外,管道安装脚手架应沿管道两侧搭设,中间部位脚手板应满铺,脚手板、防护 栏和上、下通道设置应符合本规范5. 3. 1. 6条和5. 3. 1. 7条的规定,不得铺设单脚手板通道或作业面。
6.10电仪工程安装脚手架
6.10.1管廊上电缆桥架安装及电缆的敷设宜利用管廊工艺管道安装脚手架,或利用已有管架结构搭 设专用的悬挑式或悬吊式通道脚手架,搭设要求应符合本规范5. 3.2条、5. 3.3条的规定。
6. 10. 2电缆桥架安装及电缆的敷设无法利用现有设施时,应搭设专用的通道式落地门式钢管脚手架、 扣件式钢管脚手架或碗扣式钢管脚手架,搭设要求应符合本规范5. 3.1条规定;脚手架在非桥架侧应 设置护栏。
6.10.3桥架安装及电缆敷设的通道式脚手架应设置2处以上上、下通道,在电缆敷设起始处宜设置 一处坡度不大于1 : 4的上、下通道,通道宜釆用木板铺设。
6.10.4装置首层电仪保护管、桥架、引线等安装,地面已硬化时宜釆用水平移动脚手架,搭设要求 应符合本规范5. 3.4条规定;地面未硬化时宜采用落地式脚手架搭设。
6. 10. 5电伴热线的施工宜利用管道工程安装脚手架。
6.10.6管道和设备上安装的温度计、压力表、液位计等仪表,若现有管道和设备脚手架不能满足工 作需要,宜在其基础上搭设局部的悬挑式脚手架用于仪表的作业,搭设要求应符合本规范5. 3.2条规 定。
6.10.7作业面高度小于2m的电仪安装作业可釆用成品金属直梯或人字梯,梯子的相邻踏板中心间 距为30Omn1,梯子的长度不应超过6m。
6.10.8吊顶内部电气设施的安装不得利用吊顶本身龙骨作为脚手架,宜采用水平移动脚手架。
6.10.9母线槽安装工程不得利用变压器顶盖及其附件作为作业落脚点,应搭设落地式脚手架,立杆 底部应铺通长木板,脚手架任何组件不得支撑在变压器上;脚手架高度大于最小宽度4倍时,脚手架 下部应设置抛撑,脚手架上部设连墙件与建(构)筑物连接;脚手架拆除时,脚手杆等部件不得从变 压器正面侧传递。
6. 10. 10其他照明结构或路灯灯杆安装工程宜釆用电动式升降机械或落地式脚手架。
6.10.11电仪工程脚手架的脚手板、防护栏和上、下通道设置应符合本规范5. 3.1.6条和5. 3.1.7 条的规定。
6.11防腐、绝热与防火工程脚手架
6.11.1防腐、绝热与防火工程脚手架,宜利用其他专业施工脚手架或搭设专用的脚手架。
6.11.2防火作业使用井字脚手架时,应考虑防火层的厚度,并符合本规范6.3.1条的规定。
6.12无损检测作业脚手架
6.12.1无损检测作业脚手架宜利用本规范6. 2条〜6. 9条等专业安装脚手架,不能满足要求时宜重 新搭设。
6. 12. 2管架上无损检测作业脚手架的搭设宜釆用悬挑式脚手架或悬吊式脚手架。
6.12.3管道射线作业脚手架搭设应满足作业要求,脚手架承载力每平方米应大于200kg,脚手架平 台离焊缝表面距离宜为30OmmO
6. 12. 4容器焊缝射线作业脚手架在焊缝两侧宽不小于30Omn1,焊缝表面距离至少Im范围内不能有 脚手架杆件或脚手板。
6.12.5超声、磁粉、渗透作业脚手架搭设应满足作业要求,脚手架离作业部位高度宜为0.3m〜Im, 脚手架宽度不应小于1. 2mo
6.12.6无损检测工程脚手架的脚手板、防护栏和上、下通道设置应符合本规范5. 3. 1. 6条和5. 3. 1. 7 条的规定。
6.13拆除工程脚手架
6.13.1拆除工程脚手架类型应按现场设备、建筑物和构筑物等被拆设施确定,脚手架高度不得低于 被拆设施的顶部或檐口,并应与原设施的保留结构可靠连接。
6.13. 2拆除工程脚手架不得与正在拆除的结构有任何连接。
6.13.3拆除工程脚手架距离待拆除设备、建筑物、构筑物应有合适间距,使拆除的结构能顺利吊离, 不碰撞脚手架设施。
6.13.4在待拆设备、建筑物和构筑物首层入口及井字架出入口应设置安全通道,安全通道釆用钢管 脚手架搭设,上部满铺钢脚手板。 -
6.13. 5拆除脚手架应随设备、建筑物、构筑物等的拆除进程及时安排拆除,逐步进行,一步一清,
.不得上下同时作业。拆除前应对下层脚手架及架体作稳固检查。
6.13.6砌体和简易结构房屋等确需倾覆拆除的,倒塌方向应选择在作业脚手架的反方向,全体作业 人员应撤离脚手架。
6.13.7混凝土烟囱采用非爆破拆除时,在烟囱筒壁内部搭设落地式作业脚手架,并应以烟囱为中心 向外延伸,用钢管脚手架搭好防护外架,在钢管脚手架的外边从上到下围好安全网。
6-13.8当拆除工程靠近生产区域或交通道路时,应根据搭设高度和隔离要求,经计算后搭设隔离脚 手架,在脚手架上绑扎彩钢瓦或防火布等对生产区域与施工区域进行隔离防护。
6.13.9拆除工程脚手架的脚手板、防护栏和上、下通道设置应符合本规范5. 3. 1. 6条和5. 3.1.7条 的规定。
7脚手架的设计计算
7.1 —般规定
7.1.1钢管脚手架的承载能力设计计算应包括下列计算:
a) 纵向、横向水平杆等受弯构祥的强度计算;
b) 连墙件的强度、稳定性和连接强度的计算;
C)立杆的稳定性计算;
d) 立杆地基承载力计算;
e) 扣件式钢管脚手架的扣件的抗滑承载力计算;
f) 悬挑支撑结构及锚固结构计算。
7.1.2计算构件的强度、稳定性与连接强度时,应采用荷载效应基本组合的设计值,并应符合表
7. 1. 2-1的规定;.荷载的分项系数应符合表7. 1. 2-2的规定。
表7. 1.2-1荷载效应组合
|
计算项目 |
荷载效应组合 |
|
纵向、横向水平杆承载力与变形 |
永久荷载+施工荷载 |
|
脚手架立杆地基承载力 型钢悬挑梁的承载力、稳定与变形 |
永久荷载+施工荷载___________ |
|
永久荷载+ 0.9 (施工荷载+风荷载) | |
|
立杆稳定 |
永久荷载+可变荷载(不含风荷载) |
|
永久荷载+ 0.9 (可变荷载+风荷载) - | |
|
连墙件承载与稳定 |
单排架,风荷载+ 2. OkN |
|
双排架,风荷载+ 3. OkN | |
|
斜杆承载力和连接扣件(抗滑)承载力计算______ |
风荷载______________________ |
表7. 1.2-2荷载分项系数表
|
类别 |
架体结构 |
荷载类别 |
分项系数 |
|
扣件式钢管脚手架 |
单、双排架 满堂脚手架 模板支撑架 |
永久荷载 |
1.2 |
|
可变荷载 |
1.4 | ||
|
风荷载 ’. |
1.4 | ||
|
碗扣式钢管脚手架 |
双排架 满堂脚手架 模板支撑架 |
永久荷载 |
1.2 |
|
可变荷载 |
1.4 | ||
|
风荷载 |
1.4 | ||
|
门式钢管脚手架 |
一棉门架 |
永久荷载 |
1.2 |
|
可变荷载 |
1.4 | ||
|
风荷载 |
1.4 |
表7.1.2-2荷载分项系数表(续)
|
类别 |
架体结构 |
荷载类别 |
分项系数 | |
|
门式钢管脚手架 |
满堂脚手架 模板支撑架 |
永久荷载 |
由可变荷载效应控制的组合 |
1.2 |
|
由永久荷载效应控制的组合 一 |
.1.35 | |||
|
,可变荷载 |
一般情况下 ~~ |
1.4 | ||
|
对标准值大于4kN∕m2的可变荷载 |
1.3 | |||
|
风荷载____________ |
1.4 | |||
|
直插式轻钢脚手架 |
双排架 满堂脚手架 模板支撑架 |
永久荷载 ________ |
1.2 | |
|
可变荷载 ___________ |
1.4 | |||
|
风荷载 |
1.4 | |||
7.2荷载
7. 2. 1概述
作用于脚手架上的荷载可分为永久荷载与可变荷载。
7.2.2脚手架永久荷载
脚手架永久荷载应包含下列内容:
a) 单排架、双排架与满堂脚手架:
D架体结构自重;
* 2)构、配件自重;
b) 满堂支撑架:
D架体结构自重; \
2)构、配件及可调托撑上主梁、次梁、支撑板等的自重。 1
7.2.3脚手架可变荷载
脚手架可变荷载应包含下列内容:
a) 单排架、双排架与满堂脚手架:
1) 施工荷载;
2) 风荷载;
b) 满堂支撑架:
D 作业层上的人员、设备等的自重;
2) 结构构件、施工材料等的自重;
3) 风荷载。
7.3设计计算
7. 3. 1扣件式钢管脚手架
7. 3. 1.1纵向、横向水平杆的抗弯强度应按公式(7. 3. 1-1)计算;纵向、横向水平杆弯矩设计值应
按公式(7. 3. 1-2)计算; .
σkl = ^≤∕ ....................................... (7.3.1T)
W Λf = 1. 2Λ∕Gk+ 1∙ 4ZMQk ........................... (7. 3. 1-2)
上列式中:
Crkl---弯曲正应力,N∕πππ2;
M——弯矩设计值,N ∙ mm;
W——截面模量,Inm3,见表A. 1;
f一脚手架及连墙件钢材的抗拉、抗压和抗弯强度设计值,N∕πιm2,见表A.2;
MGk——结构荷载自重产生的弯矩标准值,N・mm;
MQk——施工荷载产生的弯矩标准值,N・mm。
7.3.1.2纵向、横向水平杆的抗滑承载力应按公式(7.3.1-3)计算:
RWRC ....................................... (7. 3. 1~3)
式中:
R——纵向、横向水平杆传给立杆的竖向作用力设计值,kN;
RC——直角扣件抗滑承载力设计值,kN,见表B.5。
7.3.1.3立杆稳定性计算应符合下列规定:
a) 无组合风荷载时按公式(7. 3. 1-4)计算:
....................................(7.3. 1-4)
φ∙ A
式中:
Nk——计算立杆段的轴向力设计值,N;
φ——轴心受压杆件的稳定系数,由长细比九计算后查表,见表A.9;
A--立杆截面面积,mm2,见表A. 1;
b) 有组合风荷载时按公式(7. 3. 1-5)计算:
式中: 丿
MWI——立杆段由风荷载设计值产生的弯矩,N・mm; 7 -
C)无组合风荷载时,当计算单、双排脚手架和满堂脚手架时,计算立杆段的轴向力设计值应按 公式(7. 3. 1-6)计算;当计算满堂支撑架时,计算立杆段的轴向力设计值应按公式(7. 3. 1-7) 计算;脚手架结构自重产生的轴向力标准值,按公式(7.3.1-8)计算;构配件、脚手板自重 产生的轴向力标准值,按公式(7.3. 1-9)计算;施工荷载产生的轴向力标准值总和,按公式
(7.3. I-IO)计算;
M = I∙2(NGIk+ Ng21c) + 1∙4ENQk ........................... (7.3.1—6)
2Vk = 1.2∑2VGk+1.4∑¾ ................................. (7. 3. 1-7)
NGIk=H 枝 ......................... (7. 3.1-8)
NG2k 二 ZVgkI ∙'a''b .................................... (7. 3. 1-9)
^7VQk = ZHI ∙gk∙∕a∙∕b ................................. (7. 3. I-IO)
上列式中:
NGIk——脚手架结构自重产生的轴向力标准值,N;
‰——构配件、脚手板自重产生的轴向力标准值,N;
ZNQk——施工荷载产生的轴向力标准值总和,单、双排脚手架和满堂脚手架时取总和1/2,满 堂支撑架时取总和,N;
ZNGk——永久荷载对立杆产生的轴向力标准值总和,单、双排脚手架和满堂脚手架时取总和 1/2,满堂支撑架时取总和,N;
H ——脚手架搭设高度,m;
gk——立杆承受的每米结构自重标准值,kN∕m,见表B.1〜表B.3。
gkι——脚手板自重标准值, Wm2,见表A.5;
∕a——脚手架立杆纵距,m;
Zb——脚手架立杆横距,m; ,
qk--施工均布荷载标准值,kN∕m2,见表A. 8;
们——铺设脚手板层数;
mi——同时施工作业层数;
d)有组合风荷载时,当计算单、双排脚手架和满堂脚手架时,计算立杆段的轴向力设计值应按 公式(7. 3. I-II)计算;当计算满堂支撑架时,计算立杆段的轴向力设计值应按公式(7. 3. 1-12)
计算:
¼ = 1.2(⅞lk + ‰) + 0.9χl.4∑¾ .....................(7. 3. I-Il)
2Vk=l. 2∑2VGk+ 0.9×l. 4∑¾ ...........................(7. 3. 1-12)
e) 立杆段由风荷载设计值产生的弯矩MV-按公式(7. 3. 1-13)计算:
MWl = O.9χ 1.4MWkl .................................(7. 3. 1-13)
式中:
MWkI——风荷载产生的弯矩标准值,N∙ mm;
f) 风荷载产生的弯矩标准值Mwkl,按公式(7.3. 1-14)计算:
四=性終 .................................(7.3.1-14)
式中:
ωk--风荷载标准值,kN/m2;
h——脚手架立杆步距,m;
g) 风荷载标准值,按公式(7.3.1-15)计算:
ωk^μz∙μs∙ω0 .............................. (7.3.1-15)
μz——风压高度变化系数,按GB 50009—2012表8. 2.1采用;
μs——脚手架风荷载体型系数,见表B. 14;
ωQ——基本风压值,按GB 50009—2012中附表D.4,取重现期〃二10对应的风压值;
h)长细比人,按公式(7. 3. 1T6)计算:
ZOI
A = — ....................................... (7. 3. 1-16)
式中:
A-—长细比;
∕0ι---立杆计算长度,mm;
i--截面回转半径,mm,见表A. 1;
i)单排、双排脚手架计算长度应按公式(7.3.1T7)计算;满堂脚手架计算长度应按公式
(7. 3. 1-18)计算;满堂支撑架计算长度(顶部立杆段)应按公式(7. 3. 1-19)计算;满堂支 撑架计算长度(非顶部立杆段)应按公式(7. 3. 1-20)计算:
l0i = k1μ1h .................................... (7. 3. 1-17)
∕ol Z= k2 χ/2 .................................... (7∙ 3. I-18)
lol=k3μ3(h + 2la) .............................. (7. 3. 1-19)
lol=k3μ4h ....................................... (7.3.1—20)
上列式中: k1~—立杆计算长度附加系数,单、双排脚手架取1.155 (验算立杆允许长细比时取1); k2——满堂脚手架立杆计算长度附加系数,按表B. 6选用; 灼——满堂支撑架立杆计算长度附加系数,按表B. 7选用;
A——考虑单、双排脚手架整体稳定因素的单杆计算长度系数,按表B. 8选用;
A2-—考虑满堂脚手架整体稳定因素的单杆计算长度系数,按表B. 9选用; ∕⅞——考虑满堂支撑架整体稳定因素的单杆计算长度系数(顶部立杆段),按表B.10、表B. 11选 用;
A——考虑满堂支撑架整体稳定因素的单杆计算长度系数(非顶部立杆段),按表B. 12、表B. 13 选用;
a ——立杆伸出顶层水平杆中心线至支撑点的长度,宜在0. 2 mV a <0. 5m。 7.3.1.4立杆地基承载力计算按公式(7.3.1-21)计算;修正后的地基承载力特征值,按公式 (7. 3. 1-22)计算:
NkI -
4= - ≤Λ ...................................• (7. 3. 1-21)
Λι √g=定 √gk .................................... (7.3.1—22)
上列式中:
Pk——穿基础底面的平均压力,N/mm2;
, Nkl——脚手架结构立杆传至基础的轴向力标准值,N;
——立杆下垫板底面面积,mm2;
Λ--修正后的地基承载力特征值,N/mm2;
∕gk——地基承载力标准值,按GB 50007的规定采用,或依据当地现场提供的地质报告,N/mm2; kc——地基承载力调整系数,取值应符合SH/T 3608中表9的规定。
7.3.1.5连墙件的强度及稳定计算应符合下列规定:’、
a)连墙件的轴向力设计值按公式(7. 3. 1-23)计算:
Nik = NlW+ Nι° ...................•......•(7.3.1—23)
式中:
Nik——连墙件轴向力设计值,N;
MW——风荷载产生的连墙件轴向力设计值,N;
TVio——连墙件约束脚手架平面外变形所产生的轴向力,单排架取2kN,双排架取3kN;
b)风荷载产生的连墙件轴向力设计值,按公式(7. 3. 1-24)计算:
NIW = I.4∙^k∙4v ................................. (7.3.1-24)
式中:
AW-—单个连墙体所覆盖的脚手架外侧面的迎风面积,m2;
C)连墙件与脚手架、连墙件与建筑结构连接的连接强度按公式(7. 3. 1-25)计算:
MkWTVV ....................................... (7. 3. 1-25)
式中:
NV——连墙件与脚手架、连墙件与建筑结构连接的抗拉(压)承载力设计值,N;
d) 连墙件与脚手架、连墙件与建筑结构连接的抗拉(压)承载力设计值,按公式(7. 3. 1-26) 计算:
M °∙85广 z7 Q I 9.×
Ny =...... ....................................... (7. 3. 1-26;
式中:
f一连墙件抗拉强度设计值,N/mm2;
Ak2--连墙件截面积,mm2;
e) 当釆用钢管扣件做连墙件时,扣件抗滑承载力按公式(7. 3. 1-27)验算:
MCW7?C .......................................... (7. 3. 1-27)
当7Vlk≥Λc,则不满足设计文件要求,一般情况下,单个扣件抗滑承载力不能满足要求,如连墙 件和纵向水平杆与立杆的抗滑,可多设一个扣件,或釆取焊接方法处理;
f) 连墙件的强度、稳定性计算应符合下列规定:
D 强度按公式(7. 3. 1-28)计算:
bk2 = ^^ W0: 85 兀2 ...................*.......... (7. 3. 1-28)
NCl
2)稳定性按公式(7. 3. 1-29)计算:
σk2 = -^⅛-≤0.85∕k2、...........................(7.3.1-29)
上列式中:
¾——连墙件应力值,N/mm2;
ACl——连墙件的净截面面积,Imn2;
4n― 连墙件毛截面面积,mɪn2;
φ——连墙件的稳定系数应根据连墙件长细比;L计算后查表,见表A. 9o
7.3.1.6脚手架允许搭设高度原]计算应符合下列规定:
a) 无组合风荷载时,按公式(7. 3. 1-30)计算:
「引 ^∙^√-(1.2‰k÷1.4∑¾) ............... O
YH J =----------:........................... ........................... Q t. 6. JLrO)
L2glc
b) 有组合风荷载时,按公式(7.3.1-31)计算:
^.^./-[1.27VG2k + 0.9xl.4(^7VQk+-^^.^)]
[H] =........ (7.3.1-31)
l∙2gk
上列式中:
∖H↑——脚手架允许搭设高度,mo
7.3. 2碗扣式钢管脚手架
7. 3. 2.1立杆稳定性计算应符合下列规定:
a) 无组合风荷载时,单肢立杆轴向承载力应符合公式(7. 3. 2-1)要求;当为双排脚手架时,单 肢立杆轴向力应按公式(7.3.2-2)计算;当为模板支撑架结构时,单肢立杆轴向力应按公式
(7. 3. 2-3)计算:
“ N
≤f .......................................... (7. 3. 2-1)
TVWl = I.2(7VGI+ 7VG2) + l. 47VQl ........................... (7. 3.2-2)
NWl = I∙2(0 + 0)Zχ∙Zy + L4(0 + 0)Eχ∙Zy ..................... (7. 3. 2-3)
上列式中:
NWI-—无组合风荷载时,单肢立杆轴向力,kN;
φ——轴心受压杆件稳定系数,由长细比久计算出,见表A.9;
A--立杆截面面积,mm2,见表A. 1;
f——钢材的抗压、抗拉、抗弯强度设计值,N∕mm2,见表A.2;
NGl-—脚手架结构自重产生的轴向力标准值,kN, æ表C. 1;
Ng2——脚手板及构配件等自重产生的轴向力标准值,kN,见表C.1;
NQl——施工荷载产生的轴向力,kN,见公式(7.3.2-15);
Ql-模板及支撑架自重标准值,Wm2,见表C.2;
0——新浇混凝土及钢筋自重标准值,kN∕m2,见表C.2;
Q3——施工人员及设备荷载标准值,Wm2,见表C.2;
0--浇筑和振捣混凝土时产生的荷载标准值,kN∕m2,见表C. 2;
LX―支撑架立杆纵向间距 1 m;
Ly——支撑架立杆横向间距,m;
b) 有组合风荷载时,单肢立杆轴向承载力应符合公式(7. 3. 2-4)要求;当为双排脚手架时,单 肢立杆轴向力应按公式(7. 3. 2-5)计算;当为模板支撑架结构时,单肢立杆轴向力应按公式
(7. 3. 2-6)计算;风荷载作用下单肢立杆弯矩按公式(7. 3.2-7)计算;风荷载作用下内外 排立杆间横杆的支承力按公式(7. 3.2-8)计算:
|
⅛ + 0.9⅛≤/ ............................................. φ∙A W J N — 1 I Ar λ + ∩ QVl A XT ............... |
•....... (7. 3. 2-4) ............/7 Q O_r ʌ |
|
ʊ w2 - ɪ, Zl'VGI 十 “G2 丿十 U*XL 4&Q1 N — 1 9 f /ɔ -L /ɔ } T . T -I- ∩ Q V 1 ZLrf /ɔ ɪ /ɔ . T 丄/ɔ 1 ....... |
∖ / ∙ ɔ ∙ Z O ) ............/ 7 Q r)-只、 |
|
JVW2 ɪ ∙ zi × SZl ÷ × ɪZX ɪZy ɪ ʊ- y × ɪ ∙ L × l/ɜ ÷ ½ / ɪZX ¼ ɪ J |
∖ I . O •厶 U ) |
|
M -1 47 ×72 气 p ..................... |
............(7 Q n_7 ʌ |
|
7wW2-i∙ 4ZaXZo2 -T--ʃt ~Γ 0 4 |
............k / . O. Z / √ |
|
D — 5 1 A J 1 ........................ |
............/ ∏ Q Q Q \ |
|
4©k ∙'a "o2 16 |
............k I . ɔ. Z-O ; |
|
上列式中: Nw2——有组合风荷载时,单肢立杆轴向力,kN; Mm——风荷载作用下单肢立杆弯矩,kN∙m; W——立杆截面模量,mm3,见表A. 1; Za——脚手架立杆纵距,m; ∕o2——立杆计算长度,为连墙件竖向间距,m; |
——风荷载标准值,Wm2,按公式7. 3. 1-15计算;
Pi——风荷载作用下内外排立杆间横杆的支承力,kN;.
Q5-一风荷载产生的轴向力,kN;
C)立杆计算长度奴应按下列要求确定:
1) 双排脚手架时,如两立杆间无斜杆时,等于相邻两连墙件间垂直距离;当连墙件垂直距. 离小于或等于4.2m时,计算长度乘以折减系数0. 85;当两立杆间增设斜杆时,等于立杆 相邻节点的距离;
2) 模板支撑架时,在每行每列有斜杆的网格结构中按公式(7. 3. 2-9)计算;顶层如有伸 出时应按公式(7. 3. 2-10)计算:
∕o2=⅛ ............................................. (7. 3. 2-9)
∕o2=⅛+α2 .......................................... (7.3.2-10)
式中:
h—立杆步距,m;
S——立杆伸出顶层水平杆长度,m;
d)长细比;I,按公式(7.3.2-11)计算:
λ = - ....................................... (7. 3. 2-11)
i
式中:
λ——长细比;
i--截面回转半径,mm,见表A. 1。
7.3. 2.2连墙件计算应符合下列规定:
a)风荷载作用下连墙件轴向力应按公式(7. 3. 2-12)计算:
^S = I.4^k ZSl % ................................. (7. 3. 2-12)
NS——风荷载作用下连墙件轴向力,kN;
ZSI——连墙件水平间距,m;
Hg-连墙件竖向间距,m;
、b)连墙件承载力及稳定应按公式(7.3.2T3)计算:
NcN°Wφ∙Am∙f ................................. (7.3.2—13)
式中:
No——连墙件约束脚手架平面外变形所产生的轴向力,取3kN;
φ——连墙件的稳定系数,见表A.9;
4∏--连墙件毛截面面积,∏≡2;
/——连墙件抗拉强度设计值,N/mm2,见表A. 2;
C)当釆用钢管扣件连接时,应按本规范7. 3. 1条b)规定验算扣件抗滑承载力,扣件承载力设 计值应取8kNo
7.3. 2.3脚手架允许搭设高度[H]计算应符合下列规定:
a).无组合风荷载时[H]值按公式(7.3.2T4)计算:
|
/-(1.27VG2 + 1.47VQI)JA ............... .S--E-- |
..........(7.3.2T4) | |
|
b) |
有组合风荷载时[H]值按公式(7. 3.2-15)计算: 「5 L 3w2-(1∙ 2Ng2 + 0∙ 9X1. 4NQI)M S--Γ¾............... |
.........(7. 3. 2-15) |
|
上列式中: [H]——脚手架允许搭设高度,m; N__fe⅛⅛∏≡⅛∏ NT. | ||
|
C) |
** 屮 λtt J /V 口 , 丄 J 立杆轴向力的计算应符合下列规定: 1)脚手板、挡脚板、防护栏及外挂密目式安全网等荷载产生的轴向力,按公式(7. 3. 2-16) 计算: | |
|
‰ = ^2(g2⅛h + 0∙ 14×∕a) + 0.01∕a∙T∕ ......... 厶 |
.........(7. 3. 2-16) | |
|
式中 n2- s — ∕a- Zb- H- |
I . —铺设脚手板层数; —脚手板单位面积自重,kN/m2,见表C. 2; —脚手架立杆纵距,m; —脚手架立杆横距,m; —脚手架搭设高度,m; 2)施工荷载应按公式(7.3.2-17)计算: 厂 N √a∙4 NQl=花。〉一 ................ 厶 |
......... (7. 3. 2-17) |
|
式中 m2- Q- |
——同时作业层层数; —脚手架作业层均布施工荷载标准值,kN/m2,见表C. 2; 3)每步脚手架自重,按公式(7. 3. 2-18)计算: | |
|
Ngi = Λ ∙ fɪ + 0. 5 矽+ /3 + 0, 5,4 +。. 5^5 ............ |
.........(7. 3. 2-18) | |
|
式中 和一 *2 — h 一 "一 % 一 |
—立杆每米重量,N∕m,见表A. 1; —横向(小)横杆单件重量,N,见表C. 1; —纵向横杆单件重量,N,见表C.1; —内外立杆间斜杆重量,N,见表C.1; 一水平斜杆及扣件等重量,N,见表C.1; 4)有组合风荷载单肢立杆轴向力,按公式(7. 3.2-19)计算: | |
|
N胰=φ∙ AU-成笠話) ..................... |
.........(7. 3. 2-19) | |
|
7.3.2.4 a) |
立杆地基承载力计算应符合下列规定: 立杆基础底面面积应按公式(7.3.2-20)计算: | |
(7. 3. 2-20)
式中:
Ag——立杆基础底面面积,mm%
fg——修正后的地基承载力特征值,N∕mm2,按公式(7.3.1-22)计算。
b)当脚手架搭设在结构的楼板、阳台上时,立杆底座铺设垫板,并应对楼板或阳台等承载力进 行验算。
7. 3. 3门式钢管脚手架
7. 3. 3. 1脚手架的稳定性应按公式(7. 3. 3-1)计算:
NmWNd ....................................... (7. 3. 3-1)
式中:
Nm——作用于一根门架的轴向力设计值,kN;
Nd——一棉门架的稳定承载力设计值,kNo
a)作用于一根门架的轴向力设计值计算应符合下列规定:
D无组合风荷载时,门式脚手架作用于一根门架的轴向力设计值,按公式(7. 3. 3-2)计算;
满堂脚手架作用于一根门架的轴向力设计值,按公式(7.3.3-3)计算;模板支撑架作用 于一根门架的轴向力设计值,按公式(7.3.3-4)计算:
Nm=I. 2(7VGkl+‰ )∕Z÷1. 4∑2VQk3 ........................ (7. 3.3-2)
TVm = 1. 2[(TVGkI+ ‰)H + ∑‰] + 1. 4∑¾k ..................(7. 3. 3-3)
z =3 i=l
Λζn=1.2[(‰ + ‰)∕Z÷∑‰]+1.47VQIk .................. (7.3.32)
z=3
上列式中:
NGkI——每米高度脚手架构配件自重产生的轴向力标准值,根据选定的系列门架种类计算,按表
D. 1〜表D. 6计取,kN/m;
NGk2——每米高度脚手架附件重量产生的轴向力标准值,根据选定的系列门架种类计算,按表
D. 1〜表D. 6计取,kN/m;
H——脚手架搭设高度,m;
∑¾3——各施工层施工荷载作用于一棉门架的轴向力标准值总和,kN;
满堂脚手架或模板支撑架作用于一根门架的除构配件和附件外的永久荷载标准值总
和,kN:
JTVQI,k——满堂脚手架或模板支撑架作用于一棉门架的可变荷载标准值总和,kN;
Z=I
^lk——作用于一棉门架的混凝土振捣可变荷载标准值,kN;
2)有组合风荷载时,门式脚手架作用于一根门架的轴向力设计值,按公式(7. 3. 3-5)计算; 满堂脚手架作用于一棉门架的轴向力设计值,按公式(7. 3. 3-6)和(7.3.3-7)计算, 并应取其较大值;模板支撑架作用于一棉门架的轴向力设计值,按公式(7.3.3-8)和 (7. 3. 3-9)计算,并应取其较大值;各施工层施工荷载作用于一棉门架的轴向标准值总 和,应按公式(7. 3. 3-10)计算;风荷载产生的弯矩标准值,应按公式(7.3.3-11)计 算;风线荷载标准值,应按公式(7.3. 3-12)计算:
JVIn=I. 2(7VGkl+#Gk2 )JZ + 0. 9×1. 4(∑‰ ............... (7. 3. 3-5)
Nm=L 2[(‰+‰)H÷J‰] + 0. 9×1.4(J‰ + 7Vwn) .........(7. 3. 3-6)
i=3 f≈l
TVm = L 35[(7VGkl+ ‰)∕∕ + ⅛llc]÷l. 4(0. 7⅛zl÷0. 67Vwn) ……(7. 3. 3-7)
i=3 Z=I
^m = 1.2[(‰ + ‰)∕Z + ∑‰] + 0.9×1.4(7VQIk+ 2Vwn) ......... (7.3.3-8)
ι=3
Nm=L 35[(7VGkI+ ‰ )7∕ + ∑‰] + 1.4(0. 7#QIk+ 0. 67Vwn ) ……(7. 3. 3-9)
z=3
ZNg=Qk∙ b∙ I ............... ...............(7. 3. 3-10)
Qwk ∙ -ɛɪs?
肱Wk3= m .............................. (7.3.3-11)
wk3 10
0wk=6ykZ .................................... (7. 3. 3-12)
上列式中:
MWk3——风荷载产生的弯矩标准值,N・mm;
b——门架宽度,m,按表D.1〜表D. 2选用;
NWn—-满堂脚手架或模板支撑架一棉门架立杆风荷载作用的最大附加轴力标准值,kN;
Qk——作业层施工荷载,kN/m2,按表A. 8取值;
I——门架纵距,m;
0wk--风线荷载标准值,kN/m;
Hs2——连墙件的竖向间距,m;
¾——风荷载标准值,kN/m2,按公式(7. 3. 1-15)计算;
b) 一棉门架的稳定承载力设计值应按公式(7. 3. 3-13)计算;长细比人,对于MF1219> MFIol7 门架,应按公式(7.3.3-14)计算;对于MF0817门架,应按公式(7.3.3T5),计算;一棉 门架立杆的毛截面积,应按公式(7. 3. 3-16)计算:
|
N°=φ*f ................ |
.....................(7. 3. 3-13) |
|
,KmhO Z =.... .................. i |
.....................(7. 3. 3-14) |
|
2 3KπΛ ........... Z =----- i |
.....................(7. 3.3-15) |
|
4)= 24 .................. |
.....................(7. 3. 3-16) |
上列式中:
φ——门架立杆的稳定系数,根据立杆换算长细比人值,查表A.9的对应值,或按表D.6选用;
Λq--一棉门架立杆的毛截面面积,mm2;
f——门架和连墙件钢材的抗拉、抗压及抗弯强度设计值,N∕mm2,按表A. 2选用;
λ——长细比,按表D. 6选用;
Km——调整系数,按公式(7.3.3-17)〜(7.3. 3T9)选用;
h0——门架高度,mm,按表D. 6选用;
i——门架立杆换算截面回转半径,mm,按表D. 6选用;
Al——门架立杆的毛截面积,mm2,按表D. 5选用;
C)调整系数,应按公式(7. 3. 3-17)-(7. 3. 3-19)计算:
当脚手架高度小于等于30m时:
Km = L 13 .................................... (7. 3. 3-17)
当脚手架高度大于30m且小于等于45m时:
Km = L 17 .................................... (7. 3. 3-18)
当脚手架高度大于45m且小于等于60m时:
Kn = I• 22 .................................... (7. 3. 3-19)
d)门架立杆换算截面回转半径,应按公式(7. 3. 3-20)计算:
(7. 3. 3-20)
式中:
I——门架立杆换算截面惯性矩,mm4;
e)门架立杆换算截面惯性矩/ ,对于MF1219>MF1017门架的截面惯性矩/应按公式(7. 3. 3-21) 计算;对于MF0817门架的截面惯性矩/应按公式(7.3.3-22)计算:
I = I0 + Ix ―― ................................. (7. 3. 3-21)
I = [A1( A2'b2 )2 +^2(-1A )2 ]χM⅛ ............ (7. 3. 3-22)
刀1 +刀2 力1 +"o
上列式中:
门架立杆的毛截面惯性矩,mm4;
门架立杆加强杆的毛截面惯性矩,mm4;
门架加强杆的高度,mm,见表D. 6;
门架立杆加强杆的毛截面面积,mm2;
门架立杆和立杆加强杆的中心距,mmo
7.3.3.2脚手架的允许搭设高度[H]应按下列公式计算,并应取其计算结果的较小值:
a)无组合风荷载时按公式(7. 3. 3-23)计算:
(7. 3. 3~23)
1.2(7VGkI+ ‰)
式中:
[H] b)
——脚手架允许搭设高度,m;
有组合风荷载时按公式(7. 3. 3-24)计算:
伊•瓦∙∕-0. 9×1. 4(^2VQk3H--^―)
[H]= b
1∙ 2 ( NGk1 + »Gk2 )
(7. 3. 3-24)
7.3.3.3
a)
连墙件计算应符合下列规定: 强度应按公式(7. 3. 3-25)计算:
(7. 3. 3-25)
式中:
-风荷载及其他作用对连墙件产生的拉、压轴向力设计值,kN;
Ac3——连墙件的净截面积,如带螺纹的连墙件应取螺纹处的有效截面积,mm2;
f——连墙件钢材的抗拉(压)、抗弯强度设计值,见表A.2;
b)稳定性按公式(7. 3. 3-26);连墙件产生的拉、压轴向力设计值按公式(7.3.3-27);风荷载 作用于连墙件的水平力按公式(7. 3. 3-28)计算:
/ WO. 85/ o∙4
(7. 3. 3-26)
Ni=NW +3.0
(7. 3. 3-27)
NW =1∙ 4^yk∙Z∕s2 ∙T∕s2
(7. 3. 3-28)
上列式中:
φ——连墙件的稳定系数,由长细比久计算岀,见表A.9;
4n--连墙件毛截面面积,mm2;
NW——风荷载作用于连墙件的水平力,N;
Zs2——连墙件的水平间距,
m。
7.3.3.4连墙件与脚手架、连墙件与主体结构的连接强度按公式(7.3.3-29)计算:
N∖ WTVV
(7. 3. 3-29)
式中:
-连墙件与脚手架、连墙件与主体结构连接的抗拉(压)承载力设计值,kN,参照公式 (7. 3. 1-25)计算。当采用扣件连接时,N∖WR'c, 一个直角扣件承载力RC取8. OkN;当 为其他连接时应按相应规范规定计算。
7.3.3.5立杆地基承载力计算应符合下列规定:
a)门架立杆基础底面平均压力按公式(7.3.3-30)计算:
7Vv∙
(7. 3. 3-30)
式中:
Pm——门架立杆基础底面的平均压力,N/mm2;
NTnl—∏式脚手架、满堂脚手架或模板支撑架作用于一棉门架的轴向力标准值,N;
4——一根门架下底座底面面积,Inin2;
/g——修正后的地基承载力特征值,N∕mm2o按公式(7.3.1-22)计算;
b)作用于一棉门架的轴向力标准值的计算应符合下列规定:
1) 门式脚手架作用于一棉门架的轴向力标准值,无组合风荷载时按公式(7. 3. 3-31)计算;
有组合风荷载时按公式(7. 3. 3-32)计算。并应取其较大值:
NmI = (NGki + NGk2)H + NQk3 ........................ (7. 3. 3-31)
^mI = (‰ + ‰ )7/ + 0. 9(∑¾3 ............ (7. 3. 3-32)
2) 无组合风荷载或有组合风荷载时,满堂脚手架作用于一棉门架的轴向力标准值按公式 (7. 3. 3-33)计算;模板支撑架作用于一棉门架的轴向力标准值按公式(7. 3. 3-34)计算:
NmI = (NGkI+ M}k2)H +ENGik+ £Nq/r+°∙ 6TVwn ............ (7. 3. 3-33)
ι==3 f=l
NmI = (NGkl + Ngic2)H + £7VGfk + + °∙6TVwn ............ (7. 3. 3~34)
z=3 /=1
7.3. 4承插型盘扣式钢管支架
7. 3. 4. 1立杆的稳定性计算应符合下列规定:
a) 无组合风荷载时,按公式(7.3.4T)计算:
N ....................................(7. 3. 4-1) φA J
式中:
NP——立杆轴向力设计值,N;
φ——轴心受压杆件的稳定系数,应根据立杆长细比;L计算后查表取值,见表q.9;
A---立杆的截面面积,Inm2,见表A. 1;
/——立杆钢材的抗拉、抗压及抗弯强度设计值,N∕mm2,见表A.2;
b) 有组合风荷载时,按公式(7.3.4-2)计算:
业+ L ................................. (7. 3.4-2)
φ∙A W J
式中:
Mg——计算立杆段由风荷载设计值产生的弯矩,N・m;
W---立杆的截面模量,mm3,见表A. 1;
C)无组合风荷载时,当计算双排脚手架时,立杆轴向设计值应按公式(7. 3.4-3)计算;当计算 模板支撑架时,立杆轴向设计值应按公式(7.3.4-4)计算:
TVP = I. 2(7VGPl+ 7VGP2 ) + 1. 4∑¾5 ........................ (7.3.4-3)
M = I∙2^XP+1∙4^XP ........................ (7.3.4-4)
上列式中:
TVGPI——脚手架结构自重产生的轴向力标准值,N;
TVGp2——构配件自重产生的轴向力标准值,N;
E%k5—施工荷载标准值产生的轴向力总和,内外立杆可按一纵距(跨)内施工荷载总和的1/2 取值;
∑‰——模板及支撑架自重、新浇筑混凝土自重和钢筋自重标准值产生的轴向力总和,N;
Z"QP--施工人员及施工设备荷载标准值和风荷载标准值产生的轴向力总和,N;
d)有组合风荷载时,当计算双排脚手架时,立杆轴向设计值按公式(7. 3. 4-5)计算;当计算模 板支撑架时,立杆轴向设计值按公式(7. 3. 4-6)计算:
TVP = I∙2(TVGPI+ 7Vgp2 ) + 0. 9xl. 4ENQk5 ..................... (7.3.4—5)
NP = I.2ENGP +0. 9xl. 4ENQP
(7.3.4-6)
(7. 3.4-7)
e)计算立杆段由风荷载设计值产生的弯矩,应按式(7. 3.4-7)计算:
0. 9×1. 4a)k∙la∙ h2 Λfw5 = 0. 9×1. 4Mwk5 =
10
式中:
‰5——由风荷载产生的立杆段弯矩标准值,kN-m;
——风荷载标准值,Wm2,按公式(7.3.1T5)计算;
∕a——脚手架立杆纵距,m;
h——脚手架立杆步距,m;
f)长细比九,按公式(7.3. 4-8)计算:
IP λ = -............................................. (7.3.4-8)
i
式中:
2——长细比;
ZP——立杆计算长度,m;
i--截面回转半径,mm; 一'、
g)双排外脚手架立杆计算长度,应按公式(7. 3. 4-9)计算;模板支撑架立杆计算长度,应按公
式(7.3.4T0)、(7.3.4-11)计算,并应取其中的较大值:
IP = IIl-h ....................................... (7. 3. 4-9)
lp = η2,h .................................... (7. 3. 4~10)
I = h+2k∙ α3 .............................. (7. 3. 4-11)
P P P ð 上列式中:
¾——考虑双排脚手架整体稳定性的立杆计算长度系数,当连墙件布置为2步3跨时,%=1. 45 ; 当连墙件布置为3步3跨时,右=1.70;
η2——模板支撑架立杆计算长度修正系数,当水平杆步距为0.5m或Im时,饥=L 60 ,当水平杆 步距为1. 5m时,〃2=L 20 ;
AP——模板支撑架立杆顶层水平杆步距,宜比最大步距减少一个盘扣的距离,m; kp——悬臂端计算长度折减系数,取kp = 0.7;
a3——模板支撑架可调托座支撑点至顶层水平杆中心的距离,mɑ
7.3.4.2立杆底部地基承载力,应按公式(7. 3.4-12)计算:
................................. (7.3∙4T2)
式中:
g—-立杆基础底面的平均压力,N/mm2;
NPI——脚手架结构立杆传至基础的轴向力标准值,N;
41——立杆下垫板底面面积,mm2;
Λ——修正后的地基承载力特征值,按公式(7.3.1-22)计算。
7. 3. 4. 3连墙件的强度及稳定计算应符合下列规定:
a)连墙体的轴向力设计值,应按公式(7. 3.4-13)计算:
NPk = NPw + NPo
(7. 3. 4-13)
式中:
Mk——连墙件轴向力设计值,N;
TVPW——风荷载产生的连墙件轴向力设计值,N;
N哲——连墙件约束脚手架平面外变形所产生的轴向力,双排架取3kN; b)风荷载产生的连墙件轴向力设计值,应按公式(7.3.4-14)计算:
NPW = I∙4∙6¾ ∙4w .............................-• (7.3.4-14)
式中:
4w——单个连墙体所覆盖的脚手架外侧面的迎风面积,m2;
C)当采用钢管扣件做连墙件时,扣件抗滑承载力应按公式(7. 3. 4-15)计算:
NYkWRC .................................... (7. 3. 4-15)
式中:
RC——扣件抗滑承载力设计值,一个直角扣件应取8. OkN;
d) 连墙件的抗拉承载力应按公式(7. 3.4-16)计算: .
.................................... (7. 3.4-16)
'p2
式中:
f——连墙件钢材的抗拉、抗压及抗弯强度设计值,N∕mm2,见表A.2;
Ap2——连墙件的净截面面积,mm2;
e) 连墙体的稳定性应按公式(7.3.4-17)计算:
TVPk≤^∙4n∙∕ ................................. (7.3.4-17)
式中:
φ——连墙件轴心受压杆件的稳定系数,应根据连墙件长细比计算后查表,见表A.9;
4n--连墙件毛截面面积,∏rn2o
7.3.5直插式轻钢脚手架
7. 3. 5. 1立杆的稳定性计算应符合下列规定:
a)无组合风荷载时,按公式(7. 3. 5-1)计算:
....................................... (7. 3. 5-1) φ∙A J
式中:
NZ——计算立杆段的轴向设计值,N;
φ——轴心受压杆件的稳定系数,见表A.9;
A--立杆的截面面积,mm2,见表A. 1;
f——立杆钢材的抗拉、抗压及抗弯强度设计值,N/mm2,见表A. 2;
b) 有组合风荷载时,按公式(7.3.5-2)计算:
4+也 Wf .................................... (7.3.5-2)
φ∙A W J
式中.:
Mg——计算立杆段由风荷载设计值产生的弯矩,N・m;
W——立杆的截面模量,mm3,见表A. 1;
c) 计算立杆段的轴向设计值,无组合风载时,应按公式(7.3.5-3)计算;有组合风载时,应按 公式(7.3.5-4):
TVZ = I.2(‰ + ‰) + 1.4∑‰ .............................. (7. 3. 5-3)
TVZ = I. 2(‰ + ‰) + 0. 9×1. 4∑¾4 ........................... (7. 3. 5-4)
上列式中:
TVGZI一脚手架结构自重产生咿向力标准值,N;
TVGz2——构配件自重产生的轴浦力标准值,N;
∑‰4——施工荷载产生的轴向力标准值总和,内外立杆各按一纵距内施工荷载总和的1/2取值,
N;
d) 计算立杆段由风荷载设计值产生的弯矩,应按式(7.3.5-5)计算:
0.9×1. Z 、
Tl∕w4 = 0. 9×1. 4 Afwk4 =-------仍....... ........................... (7. 3. 5~5)
式中:
Mwk4——风荷载产生的弯矩标准值,kN ∙ m;
——风荷载标准值,kN/m2,按公式(7.3. 1T5)计算;
Ia---立杆纵距,m;
h--立杆步距,m0
7. 3. 5. 2最大搭设高度计算。单、双排脚手架允许搭设高度版]应按下列公式计算,并应取较小值:
a) 无组合风荷载时按公式(7. 3. 5-6)计算:
[/ZJ =................................. .................. (7. 3. 5-6)
l∙2gk4
b) 有组合风荷载时按公式(7. 3. 5-7)计算:
φ∙A∙f-[l. 27VGZ2 + 0. 9×1. 4(^TVQk4 + - φ∙A)}
[H↑ = --------------------------------生....... .........(7. 3. 5-7)
L 2gk4
上列式中:
[H]——脚手架允许搭设高度,m;
glt4——立杆承受的每米结构自重,N∕mo
7. 3.6悬挑脚手架
7. 3. 6.1悬挑梁的抗弯强度应按公式(7. 3. 6-1)计算:
....................................(7. 3. 6-1)
X % JX
式中:
CrX——悬挑梁应力值,N/mm2;
MmaX——悬挑梁计算截面最大弯矩设计值,N・mm;
Wi——悬挑梁净截面模量,∏m3;
∕x——悬挑梁钢材的抗弯强度设计值,N∕mm2o
7. 3. 6. 2悬挑梁的整体稳定性按公式(7. 3.6-2)计算: 一
式中:
%——悬挑梁的整体稳定性系数,按GB 50017的规定釆用;
Wm——悬挑梁毛截面模量,mɪnɜo
7.3. 6. 3型钢悬挑梁的挠度按公式(7. 3. 6-3)计算:
υ≤[υ] ....................................... (7. 3.6-3)
式中:’
o--悬挑梁最大挠度,mm;
∖υ]——悬挑梁允许挠度,见表A.3o
7. 3. 6. 4将悬挑梁锚固在主体结构上的U形钢筋拉环或螺栓的强度按公式(7. 3. 6-4)计算:
N σi = -≤∕1 ....................................... (7. 3. 6-4)
4
式中:
σ1—U形钢筋拉环或螺栓应力值;当型钢悬挑梁锚固段压点处采用2个(对)及以上U形钢 筋拉环或螺栓锚固连接时,其钢筋拉环或螺栓的承载能力应乘以0. 8的折减系数;
Nm——型钢悬挑梁锚固段压点U形钢筋拉环或螺栓拉力设计值,N;
4—U形钢筋拉环净截面面积或螺栓的有效截面面积,一个钢筋拉环或一对螺栓按两个截面
计算,mm2;
/1——U形钢筋拉环或螺栓抗拉强度设计值,按GB 50010的规定取用。
7.3.6.5悬挑梁之上的脚手架的纵向水平杆、横向水平杆、立杆、连墙件等应按公式(7.3. 1T)〜 (7. 3. 1-3)计算。
8脚手架施工与管理
8. 1脚手架管理和作业人员要求
8.1.1脚手架搭设单位应设脚手架搭设专业管理人员。
8.1.2脚手架搭设人员应取得特种作业人员资格证。
8.2脚手架搭设方案
8. 2. 1脚手架搭设应编制施工技术方案。
8. 2. 2搭设高度24m及以上的落地式脚手架需编制专项施工技术方案;50m及以上的专项施工技术 方案应由施工单位技术负责人批准。,
8.2.3悬挑式脚手架与主体结构的连接应绘制大样详图,并编制专项施工技术方案。
8.3材料管理
8. 3.1材料进入现场前,脚手架搭设单位应按本规范第4章的规定对钢管、扣件、脚手板等进行检查 验收,不合格的不得使用。
8.3.2检验合格的钢管、脚手板应分类架空存放。
8.3.3检验合格的扣件丝扣部分应及时涂抹润滑油,并存放在扣件箱内,扣件箱应有防雨措施。\
8. 3.4周转使用的脚手架材料、配件应及时检查,并应作出醒目标识。 '
8.4脚手架搭设
8.4.1按相关方要求办理作业票,设置警戒区,搭设时安排专人监护,无关人员不得进入。
8.4.2脚手架搭设前应进行技术交底,并有交底记录。
8. 4. 3做好脚手架基础加固和排水措施。
8.4.4搭设高度低于24m的脚手架,当搭设高度达到6m时应停止搭设,由脚手架检查员按搭设方 案的要求进行检查确认,合格后方可继续搭设;搭设高度超过24m的脚手架,每隔6m〜8m进行一次 停点检查。
8.4.5传递脚手架材料、配件时不得抛扔。
8. 4. 6临时用电线路的架设、脚手架接地和防雷击等应符合GB 50484的有关规定。
8.4.7当有六级及以上大风和雾、雨、雪天气时,应停止脚手架搭设与拆除作业。雨、雪后架设作业 采取防滑措施后方可作业。
8. 4.8脚手架在搭设和拆除过程中,宜设生命绳。
8. 5脚手架验收
8. 5. 1脚手架搭设完成且自检合格后报验。
8.5.2脚手架搭设报验后,安全人员和使用单位按本规范进行检查、验收;编制专项施工技术方案的 脚手架工程技术人员应参加验收。
8. 5. 3脚手架检查验收合格后悬挂“脚手架可以使用”标牌,验收不合格的悬挂“脚手架不合格”标 牌。脚手架搭设标识牌参见附录E。
8.5.4未经验收或验收不合格的脚手架不得使用。
8.5.5验收合格的脚手架不得擅自改动。 ’、
8.6脚手架使用
8. 6.1不得超负荷使用脚手架。
8. 6.2经验收合格后,使用中的脚手架应定期进行检查。
8. 6.3作业人员应从专用通道进入作业面。
8. 6.4非脚手架作业人员不得调整、修改、拆除脚手架,脚手架调整、修改时,不宜拆除下列杆件:
a) 主节点处的纵横向水平杆,纵、横向扫地杆;
b) 连墙件、剪刀撑、斜撑。
8. 6. 5不应使用脚手架做为起重设备承重点。
8. 6.6在脚手架上进行电、气焊作业时,需有防火措施。
8. 6. 7脚手架基础邻近区域不得有影响脚手架结构安全的挖掘作业。
8. 6.8移动式脚手架应符合下列规定:
a) 使用前应先将脚轮固定;
b) 移动脚手架时,平台上不得站人;
C)不得通过平台护栏受力垂直提拉重物。
8. 7脚手架拆除
8.7.1脚手架拆除前,应办理脚手架拆除作业许可,拆除时设置警戒区,并安排专人监护。
8. 7.2脚手架拆除作业应由上而下逐层进行,不得上、下同时作业;连墙件应随脚手架逐层拆除,不 得先将连墙件整层或数层拆除后再拆脚手架;分段拆除高差大于两步时,应增设连墙件加固。
8. 7.3水平方向分段或分立面拆除时,应先对剩余段进行加固。
8. 7.4当脚手架拆至下部最后一根长立杆位置时,要采取抛撑进行加固,再拆除连墙件。
8.7.5拆除脚手架时,不得抛掷脚手架材料和配件。
8. 7.6拆除后的材料要及时清理,并摆放整齐。
8.8标识
8. 8.1搭设和拆除脚手架的警示区应在明显处悬挂警示标识。
8.8.2脚手架搭设完成并经验收合格后,应在通道明显处悬挂脚手架合格标识牌。
8.9使用过程的变更
8. 9.1由于相关作业需要脚手架作局部改动时,应经施工管理人员同意后,由原搭设单位负责施工。
8. 9.2脚手架变更之后,应重新进行检查验收,合格后悬挂合格标识牌,方可使用。
附录A
(规范性附录)
通用计算用表
A 1脚手架钢管截面几何特性应符合表A. 1的规定。
表A 1脚手架钢管截面几何特性
|
外径。 mm |
壁厚r mm |
截面积刀 mm2 |
惯性矩/ mm4 |
截面模量不 mm3 |
回转半径i mm |
每米长质量 kg/m |
|
48 |
3.5 |
489 |
121900 |
5080 |
15.8 |
3. 84 |
|
48.3 |
3.6 |
506 |
127100 |
5260 |
15.9 |
3. 97 |
|
51 |
3.0 |
452 |
130800 |
5130 |
17.0 |
3. 55 |
A 2钢材强度设计值与弹性模量应符合表A. 2的规定O
表A. 2钢材强度设计值与弹性模量标准值
单位为N∕mm2
|
类别 |
Q235钢 |
Q345钢 | ||
|
钢管 |
型钢 |
钢管 |
型钢 | |
|
抗拉、抗压和抗弯强度设计值/ |
205 |
215 |
300 |
310 |
|
弹性模量E |
2. 06X105 | |||
A 3受弯杆件挠度允许值应符合表A. 3的规定。
表A.3受弯杆件挠度允许值
单位为mm
|
杆件类别 |
挠度允许值[υ] |
|
脚手板,脚手架纵向、横向水平杆 |
//150,且小于10 |
|
脚手架悬挑受弯杆件 |
//400 |
|
型钢悬挑脚手架悬挑钢梁 |
//250 |
A.4受拉、受压杆件长细比允许值应符合表A. 4的规定。
表A. 4受拉、受压杆件长细比允许值
|
杆件类别 |
长细比允许值[人] | |
|
立杆 |
双排架、满堂支撑架 |
210 |
|
单排架 |
230 | |
|
满堂脚手架 |
250 | |
|
横向斜撑、剪刀撑中的压杆 |
250 | |
|
拉杆 |
350 | |
A 5脚手板自重标准值宜按表A. 5选用。
表A.5脚手板自重标准值&
|
类别 |
标准值 _____________________kN/n?_____________________ |
|
钢制冲压脚手板 |
0. 3 |
|
木制脚手板 |
0. 35 |
A. 6栏杆与挡脚板自重标准值宜按表A. 6选用。
表A.6栏杆与挡脚板自重标准值
|
类别 |
' .标准值 __________________kN/m _______ |
|
栏杆、钢制冲压脚手板挡板 |
0. 16 |
|
栏杆、木制脚手板挡板 |
0. 18 |
A. 7支撑架上可调托撑上主梁、次梁、支撑板等自重标准值宜按表A. 7选用。
表A.7支撑架上可调托撑上主梁、次梁、支撑板等自重标准值
|
类别 |
' 自重标准值 ______________________kN/m?______________________ | |
|
立杆间距 m | ||
|
>0. 75X0. 75 |
W0. 75X0. 75 | |
|
木制主梁、次梁、支撑板 |
0.6 |
0. 85 |
|
钢制主梁、次梁、支撑板 |
1.0 |
1. 2 |
A.8施工均布荷载标准值宜按表A. 8选用。
表A. 8施工均布荷载标准值
|
脚手架用途 |
标准值 kN/n?__________ |
|
装修施工,油漆施工,电气仪表施工,静设备施工,轻型钢结构施工 |
2.0 |
|
混凝土施工,砌筑、衬里施工,钢结构施工,管道施工,隔热施工 |
3. 0 |
A.9轴心受压杆件的稳定系数。可按表A. 9选用。
表A.9稳定系数伊
|
λ |
、 (P | |||||||||
|
0 |
1 |
2 |
3 |
4 |
5 |
6 |
7 |
8 |
9 | |
|
0 |
1.000 |
0. 997 |
0. 995 |
0. 992 |
0. 989 |
0. 987 |
0. 984 |
0. 981 |
0. 979 |
0. 976 |
|
10 |
0. 974 |
0. 971 |
0. 968 |
0. 966 |
0. 963 |
0. 960 |
0. 958 |
0. 955 |
0. 952 |
0. 949 |
|
20 |
0. 947 |
0. 944 |
0. 941 |
0. 938 |
0. 936 |
0. 933 |
0. 930 |
0. 927 |
0. 924 |
0. 921 |
|
30 |
0.918 |
0.915 |
0.912 |
0. 909 |
0. 906 |
0. 903 |
0. 899 |
0. 896 |
0. 893 |
0. 889 |
|
40 |
0. 886 |
0. 882 |
0. 879 |
0. 875 |
0. 872 |
0. 868 |
0. 864 |
0. 861 |
0. 858 |
0. 855 |
|
50 |
0. 852 |
0. 849 |
0. 846 |
0. 843 |
0. 839 |
0. 836 |
0. 832 |
0. 829 |
0. 825 |
0. 822 |
|
60 |
0.818 |
0.814 |
0.810 |
0.806 |
0. 802 |
0. 797 |
0. 793 |
0.789 |
0. 784 |
0. 779 |
|
70 |
0. 775 |
0. 770 |
0. 765 |
0. 760 |
0. 755 |
0. 750 |
0. 744 |
0. 739 |
0. 733 |
0. 728 |
|
80 |
0. 722 |
0.716 |
0. 710 |
0. 704 |
0. 698 |
0. 692 |
0. 686 |
0. 680 |
0. 673 |
0. 667 |
|
90 |
0. 661 |
0. 654 |
0.648 |
0. 641 |
0. 634 |
0. 626 |
0.618 |
0.611 |
0. 603 |
0. 595 |
|
100 |
0. 588 |
0. 580 |
0. 573 |
0. 566 |
0. 558 |
0. 551 |
0. 544 |
0. 537 |
0. 530 |
0. 523 |
|
110 |
0. 516 |
0. 509 |
0. 502 |
0. 496 |
0. 489 |
0. 483 |
0.476 |
0. 470 |
0. 464 |
0. 458 |
|
120. |
0. 452 |
0. 446 |
0. 440 |
0. 434 |
0. 428 |
0. 423 |
0.417 |
0.412 |
0. 406 |
0. 401 |
|
130 |
0. 396 |
0. 391 |
0. 386 |
0. 381 |
0. 376 |
0. 371 |
0. 367 |
0. 362 |
0. 357 |
0. 353 |
|
140 |
0. 349 |
0. 344 |
0. 340 |
0. 336 |
0. 332 |
0. 328 |
0. 324 |
0. 320 |
0.316 |
0. 312 |
|
150 |
0. 308 |
0. 305 |
0. 301 |
0. 298 |
0. 294 |
0. 291 |
0. 287 |
0. 284 |
0. 281 |
0. 277 |
|
160 |
0. 274 |
0. 271 |
0. 268 |
0. 265 |
0. 262 |
0. 259 |
0. 256 |
0. 253 |
0. 251 |
0. 248 |
|
170 |
0. 245 |
0. 243 |
0. 240 |
0. 237 |
0. 235 |
0. 232 |
0. 230 |
0. 227 |
0. 225 |
0. 223 |
|
180 |
0. 220 |
.0.218 |
0. 216 |
0. 214 |
0.211 |
0. 209 |
0. 207 |
0. 205 |
0. 203 |
0. 201 |
|
190 |
0. 199 |
0. 197 |
0. 195 |
0. 193 |
0. 191 |
0. 189 |
0. 188 |
0. 186 |
0. 184 |
0. 182 |
|
200 |
0. 180 |
0. 179 |
0. 177 |
0. 175 |
0. 174 |
0. 172 |
0. 171 |
0. 169 |
0. 167 |
0. 166 |
|
210 |
0. 164 |
0. 163 |
0. 161 |
0. 160 |
0. 159 |
0. 157 |
0. 156 |
0. 154 |
0. 153 |
0. 152 |
|
220 |
0. 150 |
0. 149 |
0. 148 |
0. 146 |
0. 145 |
0. 144 |
0. 143 |
0. 141 |
0. 140 |
0. 139 |
|
230 |
0. 138 |
0. 137 |
0. 136 |
0. 135 |
0. 133 |
0. 132 |
0. 131 |
0. 130 |
0. 129 |
0. 128 |
|
240 |
0. 127 |
0. 126 |
0. 125 |
0. 124 |
0. 123 |
0. 122 |
0. 121 |
0. 120 |
0. 119 |
0. 118 |
|
250 |
0. 117 |
一 | ||||||||
注1:杆件材质为Q235A。
注 2:当 2>25。时,。取 7320∕Γo
附录B
(规范性附录)
扣件式钢管脚手架计算用表
B. 1单、双排脚手架立杆承受的每米结构自重标准值宜按表B. 1选用。
表B.1单、双排脚手架立杆承受的每米结构自重标准值gk
|
步距五 m |
脚手架 类型 |
每米结构标准值gk _____________________________kN/m_____________________________ | ||||
|
纵距4 m | ||||||
|
1.2 |
1. 5 |
1.8 |
2.0 |
2. 1 | ||
|
1.20 |
单排 |
0. 1642 |
0. 1793 |
0. 1945 |
0. 2046 |
0. 2097 |
|
双排 |
0. 1538 |
0. 1667 |
0. 1796 |
0. 1882 |
0. 1925 | |
|
1.35 |
单排 |
0. 1530 |
0. 1670 |
0. 1809 |
0. 1903 |
0. 1949 |
|
双排 |
0. 1426 |
0. 1543 |
0. 1660 |
0. 1739 |
0. 1778 | |
|
1.50 |
单排 |
0. 1440 |
0. 1570 |
0. 1701 |
0. 1788 |
0. 1831 |
|
双排 |
0. 1336 |
0. 1444 |
0. 1552 |
0. 1624 |
0. 1660 | |
|
1.80 |
单排 |
0. 1305 |
0. 1422 |
0. 1538 |
0. 1615 |
0. 1654 |
|
双排 |
0. 1202 |
0. 1295 |
0. 1389 |
0. 1451 |
0. 1482 | |
|
2. 00 |
单排 |
0. 1238 |
0. 1347 |
0. 1456 |
0. 1529 |
0. 1565 |
|
双排 |
0. 1134 |
0. 1221 |
0. 1307 |
0. 1365 |
0. 1394 | |
B. 2满堂脚手架立杆承受的每米结构自重标准值宜按表B. 2选用。
表B.2满堂脚手架立杆承受的每米结构自重标准值gk
|
步距/I m |
横距Zb m |
每米结构自重标准值費 ______________________________kN/m______________________________ | ||||||
|
纵距Ia m | ||||||||
|
0.6 |
0. 9 |
1. 0 |
1. 2 |
1. 3 |
1. 35 |
1.5 | ||
|
0. 60 |
0.4 |
0. 1820 |
• 0. 2086 |
0.2176 |
0. 2353 |
0. 2443 |
0. 2487 |
0. 2620 |
|
0.6 |
0. 2002 |
0. 2273 |
0. 2362 |
0. 2543 |
0. 2633 |
0. 2678 |
0. 2813 | |
|
0. 90 |
0.6 |
0. 1563 |
0. 1759 |
0. 1825 |
0. 1955 |
0. 2020 |
0. 2253 |
0.2151 |
|
0.9 |
0. 1762 |
0. 1961 |
0. 2027 |
0.2160 |
0. 2226 |
0. 2260 |
0. 2359 | |
|
1.0 |
0. 1828 |
0. 2028 |
0. 2095 |
0. 2226 |
0. 2295 |
0. 2328 |
0. 2429 | |
|
1.2 |
0. 1960 |
0.2162 |
0. 2230 |
0. 2365 |
0. 2432 |
0. 2466 |
0. 2567 | |
|
1.05 |
0.9 |
0. 1615 |
0. 1792 |
0. 1851 |
0. 1970 |
0.2029 |
0. 2059 |
0. 2148 |
表B.2满堂脚手架立杆承受的每米结构自重标准值gk(续)
|
步距/2 m |
横距% m |
每米结构自重标准值gk _____________ 、 kN/m _____________ | ||||||
|
纵距, __m ____________ | ||||||||
|
0.6 |
0.9 |
1.0 |
1.2 |
1. 3 |
1.35 |
1. 5 | ||
|
1.20 |
0.6 |
0. 1344 |
0. 1503 |
0. 1556 |
0. 1662 |
0. 1715 |
0. 1742 |
0. 1821 |
|
0.9 |
0. 1505 |
0. 1666 |
0. 1719 |
0. 1827 |
0. 1882 |
0. 1908 |
0. 1988 | |
|
1.0 |
0. 1558 |
0. 1720 |
0. 1775 |
0. 1883 |
0. 1937 |
0. 1964 |
0. 2045 | |
|
1.2 |
0. 1665 |
0. 1829 |
0. 1883 |
0. 1993 |
0. 2048 |
0. 2075 |
0.2156 | |
|
1.3 |
0. 1719 |
0. 1883 |
0. 1939 |
0. 2049 |
0. 2103 |
0.2130 |
0. 2213 | |
|
1.35 |
0.9 |
0. 1419 |
0. 1568 |
0. 1617 |
0. 1717 |
0. 1766 |
0. 1791 |
0. 1865 |
|
1. 50 |
0.9 |
0. 1350 |
0. 1489 |
0. 1535 |
0. 1628 |
0. 1674 |
0. 1697 |
0. 1766 |
|
1.0 |
0. 1396 |
0. 1536 |
0. 1583 |
0. 1675 |
0. 1721 |
0. 1745 |
0. 1815 | |
|
1.2 |
0. 1488 |
0. 1629 |
0. 1676 |
0. 1770 |
0. 1817 |
0. 1840 |
0. 1911 | |
|
1.3 |
0.1535 |
0. 1676 |
0. 1723 |
0. 1817 |
0. 1864 |
0. 1887 |
0. 1958 | |
|
1.60 |
0.9 |
0.1312 |
0.1445 |
0. 1489 |
0.1578 |
0. 1622 |
0. 1645 |
0. 1711 |
|
1.0 |
0. 1356 |
0. 1489 |
0. 1534 |
0. 1623 |
0. 1668 |
0. 1690 |
0. 1757 | |
|
1.2 |
0. 1445 |
0. 1580 |
0. 1624 |
0. 1714 |
0. 1759 |
0. 1782 |
0. 1849 | |
|
1.80 |
0.9 |
0. 1248 |
0. 1371 |
0. 1413 |
0. 1495 |
0. 1536 |
0. 1556 |
0. 1618 |
|
1.0 |
0. 1288 |
0. 1413 |
0. 1454 |
0. 1537 |
0. 1579 |
0. 1599 |
0. 1661 | |
|
1.2 |
0. 1371 |
0. 1496 |
0. 1538 |
0. 1621 |
0. 1663 |
0. 1683 |
0. 1747 | |
B 3满堂支撑架立杆承受的每米结构自重标准值宜按表B. 3选用。
表B.3满堂支撑架立杆承受的每米结构自重标准值gk
|
步距7/ m |
横距Zb m |
每米结构自重标准值gk _______________________________kN/m | |||||||
|
纵距4 m | |||||||||
|
0.4 |
0. 6 |
0. 75 |
0.9 |
1. 0 |
1.2 |
1. 35 |
1.5 | ||
|
0. 60 |
0.4 |
0. 1691 |
0. 1875 |
0. 2021 |
0.2149 |
0. 2241 |
0. 2424 |
0. 2562 |
0. 2699 |
|
0.6 |
0. 1877 |
0. 2062 |
0. 2201 |
0. 2341 |
0. 2433 |
0. 2619 |
0. 2758 |
0. 2897 | |
|
0. 75 |
0. 2016 |
0. 2203 |
0. 2344 |
0. 2848 |
0. 2577 |
0. 2765 |
0. 2905 |
0. 3045 | |
|
0.9 |
0. 2155 |
0. 2344 |
0. 2486 |
0. 2627 |
0. 2722 |
0. 2910 |
0. 3052 |
0. 3194 | |
|
1.0 |
0. 2248 |
0. 2438 |
0. 2580 |
0. 2723 |
0. 2818 |
0. 3008 |
0. 3150 |
0. 3292 | |
|
1.2 |
0. 2434 |
0. 2626 |
0. 2770 |
0. 2914 |
0. 3010 |
0. 3202 |
0. 3346 |
0. 3490 | |
|
0. 75 |
0.6 |
0. 1636 |
0. 1791 |
0. 1907 |
0. 2024 |
0. 2101 |
0. 2256 |
0. 2372 |
0. 2488 |
表B. 3满堂支撑架立杆承受的每米结构自重标准值% (续)
|
步距Tz m |
横距Zb m |
每米结构自重标准值gk kN/m | |||||||
|
纵距4 m | |||||||||
|
0.4 |
0.6 |
0. 75 |
0.9 |
1.0 |
1.2 |
1.35 |
1. 5 | ||
|
0.9 |
0.4 |
0. 1341 |
0. 1474 |
0. 1574 |
0. 1674 |
0. 1740 |
0. 1874 |
0. 1973 |
0. 2073 |
|
0.6 |
0. 1476 |
0. 1610 |
0. 1711 |
0. 1812 |
0. 1880 |
0. 2014 |
0.2115 |
0. 2216 | |
|
0. 75 |
0. 1577 |
0. 1712 |
0. 1814 |
0. 1916 |
0. 1984 |
0.2120 |
0. 2221 |
0. 2323 | |
|
0.9 |
0. 1678 |
0. 1815 |
0. 1917 |
0. 2020 |
0. 2088 |
0. 2225 |
0. 2328 |
0. 2430 | |
|
1.0 |
0. 1745 |
0. 1883 |
0. 1986 |
0. 2089 |
0.2158 |
0. 2295 |
0. 2398 |
0. 2502 | |
|
1.2 |
0. 1880 |
0. 2019 |
0.2123 |
0. 2227 |
0. 2297 |
0. 2436 |
0. 2540 |
0. 2644 | |
|
1.05 |
0.9 |
0. 1541 |
0. 1663 |
0. 1755 |
0. 1846 |
0. 1907 |
0. 2029 |
0.2121 |
0. 2212 |
|
1.2 |
0.4 |
0. 1166 |
0. 1274 |
0. 1355 |
0. 1436 |
0. 1490 |
0. 1598 |
0. 1679 |
0. 1760 |
|
0.6 |
0. 1275 |
0. 1384 |
0. 1466 |
0. 1548 |
0. 1603 |
0. 1712 |
0. 1794 |
0. 1876 | |
|
0. 75 |
0. 1357 |
0. 1467 |
0. 1550 |
0. 1632 |
0. 1687 |
0. 1797 |
0. 1880 |
0. 1962 | |
|
0.9 |
0. 1439 |
0. 1550 |
0. 1633 |
0. 1716 |
0. 1771 |
0. 1882 |
0. 1965 |
0. 2048 | |
|
1.0 |
0. 1494 |
0. 1605 |
0. 1689 |
0. 1772 |
0. 1828 |
0. 1939 |
0. 2023 |
0.2106 | |
|
1.2 |
0. 1603 |
0. 1715 |
0. 1800 |
0. 1884 |
0. 1940 |
0. 2053 |
0.2137 |
0. 2221 | |
|
1.35 |
0.9 |
0. 1359 |
0. 1462 |
0. 1538 |
0. 1615 |
0. 1666 |
0.1768 |
0. 1845 |
0. 1921 |
|
1.50 |
0.4 |
0. 1061 |
0. 1154 |
0. 1224 |
0. 1293 |
0. 1340 |
0.1433 |
0. 1503 |
0. 1572 |
|
0.6 |
0. 1155 |
0. 1249 |
0. 1319 |
0. 1390 |
0. 1436 |
0. 1530 |
0. 1601 |
0. 1671 | |
|
0. 75 |
0. 1225 |
0. 1320 |
0. 1391 |
0. 1462 |
0. 1509 |
0. 1604 |
0. 1674 |
0. 1745 | |
|
0.9 |
0. 1296 |
0. 1391 |
0. 1462 |
0. 1534 |
0. 1581 |
0. 1677 |
0. 1748 |
0. 1819 | |
|
1.0 |
0. 1343 |
0. 1438 |
0. 1510 |
0.1582 |
0. 1630 |
0. 1725 |
0. 1797 |
0. 1869 | |
|
1.2 |
0. 1437 |
0.1533 |
0. 1606 |
0. 1678 |
0. 1726 |
0. 1823 |
0. 1895 |
0. 1968 | |
|
1.35 |
0. 1507 |
0. 1604 |
0. 1677 |
0.1750 |
0. 1799 |
0. 1896 |
0. 1969 |
0. 2042 | |
|
1.80 |
0.4 |
0. 0991 |
0. 1074 |
0. 1136 |
0. 1198 |
0. 1240 |
0. 1323 |
0. 1385 |
0. 1447 |
|
0.6 |
0. 1075 |
0. 1158 |
0. 1221 |
0. 1284 |
0. 1326 |
0.1409 |
0. 1472 |
0. 1535 | |
|
0. 75 |
0. 1137 |
0. 1222 |
0. 1285 |
0. 1348 |
0. 1390 |
0.1475 |
0. 1538 |
0. 1601 | |
|
0.9 |
0. 1200 |
0. 1285 |
0. 1349 |
0. 1412 |
0. 1455 |
0.1540 |
0. 1603 |
0. 1667 | |
|
1.0 |
0. 1242 |
0. 1327 |
0. 1391 |
0. 1455 |
0. 1498 |
0. 1583 |
0. 1647 |
0. 1711 | |
|
1.2 |
0. 1326 |
0. 1412 |
0. 1476 |
0. 1541 |
0. 1584 |
0. 1670 |
0. 1734 |
0. 1799 | |
|
1. 35 |
0. 1389 |
0. 1475 |
0. 1540 |
0. 1605 |
0. 1648 |
0. 1735 |
0. 1800 |
0. 1864 | |
|
1. 5 |
0. 1452 |
0. 1539 |
0. 1604 |
0. 1669 |
0. 1713 |
0. 1800 |
0. 1865 |
0. 1930 | |
B 4扣件式钢管脚手架常用构配件与材料、人员的自重,可按表B. 4选用。
表B.4常用构配件与材料、人员的自重
|
序号 |
名称 |
单位 |
自重 |
备注 |
|
1 |
直角扣件 • |
N/个 |
13.2 | |
|
2 |
旋转扣件 |
N/个 |
14.6 | |
|
3 |
对接扣件 |
N/个 |
18.4 | |
|
4 |
作业人员 |
N |
800〜850 | |
|
5 |
砖车、灰浆车 |
kN/辆 |
2. 04〜2. 5 | |
|
6 |
普通砖 240mm× 115mm× 53mm |
Wm3 |
18 〜19 |
684 块/m' |
|
7 |
灰砂砖 |
kN/m3 |
18 |
砂:石灰=92:8 |
|
8 |
瓷面砖 15Omnι× 15Onlm × 8mm |
kN/m3 |
17.8 |
5556 块/it? |
|
9 |
陶瓷马赛克=5InnI |
kN/m3 |
0. 12 | |
|
10 |
石灰砂浆、混合砂浆 |
kN/m3 |
17 | |
|
11 |
水泥砂浆 |
kN/m3 |
20 | |
|
12 |
素混凝土 |
kN/m3 |
22 〜24 | |
|
13 |
加气混凝土 |
kN/m3 |
5. 5—7. 5 | |
|
14 |
泡沫混凝土 |
kN/m3 |
4〜6 |
B 5扣件、底座、可调托撑的承载力设计可按表B. 5选用。
表B.5扣件、底座、可调托撑的承载力设计值
|
类另U |
承载力设计值 ___________W___________ |
|
对接扣件(抗滑) |
3.2 |
|
直角扣件、旋转扣件(抗滑) |
8. 0 |
|
底座(受压)、可调托撑(受压) |
40.0 |
B 6满堂脚手架立杆计算长度附加系数化按表B. 6选用。
表B 6满堂脚手架立杆计算长度附加系数峋
|
高度H _______m_______ |
Hw 20 |
20VHW30 |
30 VHW 36 |
|
k2 |
1. 155 |
1. 191 |
1. 204 |
B 7满堂支撑架立杆计算长度附加系数处按表B. 7选用。
表B 7满堂支撑架立杆计算长度附加系数侦
|
高度H m |
HW 8 |
8 VHW10 |
IOVHW20 |
20 VHW 30 |
|
1. 155 |
1. 185 |
1.217 |
1.291 |
B. 8单、双排脚手架立杆的计算长度系数可按表B. 8选用。
表B.8单、双排脚手架立杆的计算长度系数代
|
类别 |
立杆横距 m |
计算长度系数ZA | |
|
连墙件布置 | |||
|
二步三跨 |
三步三跨 | ||
|
双排架 |
1.05 |
1.50 |
1. 70 |
|
1. 30 |
1. 55 |
1.75 | |
|
1. 55 |
1. 60 |
1.80 | |
|
单排架 |
≤1. 50 |
1. 80 |
2. 00 |
B 9满堂脚手架立杆的计算长度系数同按表B. 9取用。
表B 9满堂脚手架立杆的计算长度系数归
|
步距 m |
计算长度系数版 | |||
|
立杆间距 m | ||||
|
1. 3X1. 3 |
1.2X1.2 |
1. 0X1. 0 |
0.9X0. 9 | |
|
1.8 |
— |
2. 176 |
2. 079 |
2.017 |
|
1.5 |
2. 569 |
2. 505 |
2. 377 |
2. 335 |
|
1.2 |
3.011 |
2.971 |
2.825 |
2.758 |
|
0.9 |
— |
— |
3. 571 |
3.482 |
B.10满堂支撑架(剪刀撑设置普通型)立杆的计算长度系数所按表B.10选用。
表B.10满堂支撑架(剪刀撑设置普通型)立杆的计算长度系数久3
|
步距 m |
计算长度系数口3 | |||||||||||
|
立杆间距 m | ||||||||||||
|
1.2X1.2 |
1. 0X1. 0 |
0. 9X0. 9 |
0. 75X1. 75 |
0.6X0. 6 |
0.4X0. 4 | |||||||
|
α=0. 5m |
a=0. 2m |
a=0. 5m |
a=0. 2m |
a=0. 5m |
a=0. 2m |
a=0. 5m |
a=0. 2m |
a=0. 5m |
a=0. 2m |
a=0. 5m |
a=0. 2m | |
|
1.8 |
— |
— |
1. 165 |
1.432 |
1. 131 |
1. 388 |
— |
— |
— |
— |
— |
— |
|
1.5 |
1.298 |
1.649 |
1.241 |
1. 574 |
1.215 |
1.540 |
— |
— |
— |
— |
— |
— |
|
1.2 |
1.403 |
1. 869 |
1. 352 |
1. 799 |
1. 301 |
1. 719 |
1.257 |
1.669 |
— |
— |
— |
— |
|
0.9 |
— |
— |
1. 532 |
2. 153 |
1.473 |
2. 066 |
1.422 |
2. 005 |
1. 599 |
2.251 |
— |
— |
|
0.6 |
— |
— |
— |
— |
1.699 |
2. 622 |
1.629 |
2. 526 |
1.839 |
2. 846 |
1.839 |
2.846 |
B. 11满堂支撑架(剪刀撑设置加强型)立杆的计算长度系数所按表B. 11选用。
表B.11满堂支撑架(剪刀撑设置加强型)立杆的计算长度系数热
|
步距 m |
计算长度系数所 | |||||||||||
|
: 立杆间距 m | ||||||||||||
|
1.2X1.2 |
1.0X1.0 |
0.9X0. 9 |
0. 75X1. 75 |
0. 6X0. 6 |
0.4X0. 4 | |||||||
|
a=0. 5m |
α=0. 2m |
a=0. 5m |
a=0. 2m |
a=0. 5m |
a=0. 2m |
a=0. 5m |
fl—0. 2m |
a=0. 5m |
Cl =0. 2m |
Cl —0. 5m |
tzɪθ. 2m | |
|
1.8 |
1. 099 |
1. 355 |
1.059 |
1. 305 |
1. 031 |
1. 269 |
— |
— |
— |
— |
— |
— |
|
1. 5 |
1. 174 |
1.494 |
1. 123 |
1. 427 |
1. 091 |
1. 386 |
— |
— |
— |
— |
— |
— |
|
1.2 |
1.269 |
1.685 |
1. 233 |
1. 636 |
1. 204 |
1. 596 |
1. 168 |
1. 546 |
— |
— |
— |
— |
|
0.9 |
— |
— |
1. 377 |
1.940 |
1. 352 |
1. 903 |
1.285 |
1.806 |
1.294 |
1.818 |
— |
— |
|
0.6 |
— |
— |
— |
— |
1. 556 |
2. 395 |
1.477 |
2.284 |
1.497 |
2. 300 |
1.497 |
2. 300 |
B.12满堂支撑架(剪刀撑设置普通型)立杆的计算长度系数同按表B. 12选用。
表B.12满堂支撑架(剪刀撑设置普通型)立杆的计算长度系数
|
步距 m |
计算长度系数岡 | |||||
|
立杆间距 m | ||||||
|
1.2X1.2 |
1. 0X1. 0 |
0. 9X0. 9 |
0. 75× 1. 75 |
0. 6X0. 6 |
0.4X0. 4 | |
|
1.8 |
— |
1. 750 |
1. 697 |
— |
— |
— |
|
1.5 |
2. 089 |
1. 993 |
1. 951 |
— |
— |
— |
|
1.2 |
2. 492 |
2. 399 |
2. 292 |
2. 225 |
— |
— |
|
0.9 |
— |
3. 109 |
2. 985 |
2. 896 |
3. 251 |
— |
|
0.6 |
— |
— |
4. 371 |
1. 211 |
4. 744 |
4. 744 |
B 13满堂支撑架(剪刀撑设谊加强型)立杆的计算长度系数岡按表B. 13选用。
表B.13满堂支撑架(剪刀撑设置加强型)立杆的计算长度系数闷
|
步距 m |
计算长度系数岡 | |||||
|
立杆间'距 m | ||||||
|
1.2X1.2 |
1. 0X1. 0 |
0. 9X0. 9 |
0. 75X1. 75 |
0.6X0. 6 |
0.4×0.4 | |
|
1.8 |
1.656 |
1. 595 |
1.551 |
— |
— |
— |
|
1. 5 |
1. 893 |
1.808 |
1. 755 |
— |
— |
— |
|
1.2 |
2. 247 |
2. 181 |
2. 128 |
2. 062 |
— |
— |
|
0.9 |
— |
2. 802 |
2. 749 |
2. 608 |
2. 626 |
— |
|
0. 6 |
— |
— |
3.991 |
3. 806 |
3.833 |
3. 833 |
B 14脚手架风荷载体型系数A可按表B. 14选用。
表B.14脚手架风荷载体型系数闷
|
背靠建筑物的状况 |
风荷载体型系数岡 | ||
|
全封闭墙 ' |
敞开、框架和洞墙 | ||
|
脚手架状态 |
全封闭、半封闭 |
1.0^ι |
1.3代 |
|
敞开 |
“stw | ||
注1: 〃stw值可将脚手架视为桁架,按国家标准GB 50009—2012表8. 3. 1第33项和第48项的规定计算。
注2:们为挡风系数,代二1.2&应w,其中:&为挡风面积;&为迎风面积。敞开式脚手架的代值可按本规范表
B. 15选用。
B 15敞开式单、双排、满堂脚手架与满堂支撑的挡风系数代值可按表B. 15选用。
表B.15敞开式单、双排、满堂脚手架与满堂支撑的挡风系数代值
|
步距 m |
挡风系数代值 | ||||||||||
|
纵距 m | |||||||||||
|
.0.4 |
0.6 |
0. 75 |
0.9 |
1.0 |
1.2 |
1.3 |
1.35 |
1.5 |
1.8 |
2.0 | |
|
0. 60 |
0. 260 |
0.212 |
0. 193 |
0. 180 |
0. 173 |
0. 164 |
0. 160 |
0. 158 |
0. 154 |
0. 148 |
0. 144 |
|
0. 75 |
0. 241 |
0. 192 |
0. 173 |
0. 161 |
0. 154 |
0. 144 |
0. 141 |
0. 139 |
0. 135 |
0. 128 |
0. 125 |
|
0. 90 |
0. 228 |
0. 180 |
0. 161 |
0. 148 |
0. 141 |
0. 132 |
0. 128 |
0. 126 |
0. 122 |
0. 115 |
0. 112 |
|
1.05 |
0.219 |
0. 171 |
0. 151 |
0. 138 |
0. 132 |
0. 122 |
0. 119 |
0. 117 |
0. 113 |
0. 106 |
0. 103 |
|
1.20 |
0.212 |
0. 164 |
0. 144 |
0. 132 |
0. 125 |
0. 11" |
0. 112 |
0. 110 |
0. 106 |
0. 099 |
0. 096 |
|
1.35 |
0. 207 |
0. 158 |
0. 139 |
0. 126 |
0. 120 |
0. 110 |
' 0. 106 |
0. 105 |
0. 100 |
0. 094 |
0. 091 |
|
1.50 |
0. 202 |
0. 154 |
0. 135 |
0. 122 |
0. 115 |
0. 106 |
0. 102 |
0. 100 |
0. 096 |
0. 090 |
0. 086 |
|
1.60 |
0. 200 |
0. 152 |
0. 132 |
0. 119 |
0. 113 |
0. 103 |
0. 100 |
0. 098 |
0. 094 |
0. 087 |
0. 084 |
|
1.80 |
0. 1959 |
0. 148 |
0. 128 |
0. 115 |
0. 109 |
0. 099 |
0. 096 |
0. 094 |
0. 090 |
0. 083 |
0. 080 |
|
2. 00 |
0. 1927 |
0. 144 |
0. 125 |
0. 112 |
0. 106 |
0. 096 |
0. 092 |
0. 091 |
0. 086 |
0. 080 |
0. 077 |
附录C
(规范性附录)
碗扣式钢管脚手架计算用表
C.1碗扣式钢管脚手架主要构配件种类、规格及质量应符合表C.1的规定。
表C 1构配件种类、规格及质量
|
名称 |
常用型号 |
规格 mm |
理论质量 kg |
|
立杆 |
LG-120 |
©48X1200 |
7. 05 |
|
LG-180 |
048X1800 |
10. 19 | |
|
LG-240 |
©48X2400 |
13. 34 | |
|
LG-300 |
>48X3000 |
16. 48 | |
|
横杆 _________/ |
HG-30 |
048X300 |
1. 32 |
|
HG-60 |
048X600 |
2.47 | |
|
HG-90 |
©48X900 |
3. 63 | |
|
HG-120 |
048X1200 |
4. 78 | |
|
HG-150 |
048X1500 |
5. 93 | |
|
KGT80 |
048X1800 |
7. 08 | |
|
间横杆 |
JHG-90 |
048X1200 |
4. 37 |
|
JHG-120 |
048X1200 |
5. 52 | |
|
JHG-120+30 |
^48×(1200+300) 用于窄挑梁 |
6. 85 | |
|
JHG-120+30 |
08X(1200+300) 用于宽挑梁 |
8. 16 | |
|
专用外斜杆 |
XG-0912 |
©48X1500 |
6. 33 |
|
XG-1212 |
048X1700 |
7.03 | |
|
XG-1218 |
¢48X2160 |
8. 66 | |
|
XG-1518 |
©48X2340 |
9. 30 | |
|
XG-1818 |
048X2550 |
10. 04 | |
|
专用斜杆 |
ZXG-O912 |
©48X1270 |
5. 89 |
|
ZXG-O918 |
048X1750 |
7.73 | |
|
ZXG-1212 |
048X1500 |
6. 76 | |
|
ZXG-1218 |
048X1920 |
8. 37 | |
|
窄挑梁 |
TL-30 |
宽度300 |
1. 53 |
表C.1构配件种类、规格及质量(续)
|
名称 |
常用型号 |
规格 mm |
理论质量 kg |
|
宽挑梁 |
TL-60 |
宽度600 |
8. 60 |
|
立杆连接销_______ |
LLX |
¢10 |
0. 18 |
|
可调底座 |
KTZ-45 |
T38×6可调范围≤300 |
5.82 |
|
KTZ-60 |
T38×6可调范围≤450 |
7. 12 | |
|
KTZ-75 |
T38×6可调范围≤600 |
8. 50 | |
|
可调托撑 |
KTC45 |
T38X6 可调范H≤300 |
7.01 |
|
KTC |
T38 × 6 可调范IH≤450 |
8. 31 | |
|
KTC-75 |
T38X6可调范围≤600 |
9. 69 | |
|
脚手板 |
JB-120 |
1200X270 |
12.8 |
|
LB-150 |
1500X270 |
15. 00 | |
|
JB-180 |
1800X270 |
17.90 |
C 2碗扣式钢管脚手架荷载标准值应符合表C. 2的规定。
表C.2荷载标准值
|
类另U |
名称 |
标准值 kN/m2 |
备注 |
|
构件自重标准值 |
脚手板 |
0. 35 | |
|
作业层的栏杆与挡脚板 |
0. 14 | ||
|
密H式安仝网 |
0. 01 | ||
|
模板及支撑架自重标准值 |
竹、木胶介板及木模板 |
0. 30 |
平面模板及小楞 |
|
0. 50 |
楼板模板 | ||
|
定型钢模板 |
0. 50 |
平面模板及小楞 | |
|
0. 75 |
楼板模板 | ||
|
新浇筑混凝土自重标准值 (包括钢筋)_________ |
普通钢筋混凝十一(特殊混凝上可根 据实际情况确定)________ |
25. 0 | |
|
均布施工荷载标准值 |
结构脚手架 |
3.0 | |
|
装修脚手架 |
2. 0 | ||
|
模板支撑架 施工荷载标准值 |
施工人员及设备荷载标准值 |
1. 0 | |
|
浇筑和振捣混凝土时产生的荷载标 准值_____________ |
1.0 |
附录D
(规范性附录) 门式钢管脚手架计算用表
D l MF1219系列门架几何尺寸及杆件规格应符合表D. 1规定。
表D. 1 MF1219系列门架几何尺寸及杆件规格
|
1 -V- |
_____________b I |
_Y 1 —立杆; 2—立杆加强杆; 是 3—横杆; 4—横杆加强杆 —-V~ | ||||
|
3 3 丿 ×J |
tɪz L |
Z E C V | ||||
|
门架代号 |
MF1219 | |||||
|
门架几何尺寸 mm |
hQ |
1930 |
1900 | |||
|
hl |
1536 |
1550 | ||||
|
h2 |
80 |
100 | ||||
|
b |
1219 |
1200 | ||||
|
b` |
750 |
800 | ||||
|
杆件外径壁厚 mm |
1 |
¢42. 0X2. 5 |
¢48. 0X3. 5 | |||
|
2 |
©26. 8X 2. 5 |
026.8X2.5 | ||||
|
3 |
©42.0X2.5 |
©48.0X3.5 | ||||
|
4 |
026.8X2.5 |
©26. 8X2. 5 | ||||
D 2 MF0817、MFIol7系列门架几何尺寸及杆件规格应符合表D. 2的规定。
表D.2 MF0817> MFIOl7系列门架几何尺寸及杆件规格
|
b |
|
Z 3 7 |
|
= b∖ = |
|
= = |
|
/ § |
]_立杆;
2— 立杆加强杆;
3— 横杆;
4一横杆加强杆
MF0817
|
门架代号 |
V^MF0817 |
MFIOl7 | |
|
门架几何尺寸 mm |
hQ |
1750 |
1750 |
|
hl |
1260 |
1291 | |
|
h2 |
114 | ||
|
b |
758 |
1018 | |
|
bι |
510 |
402 | |
|
杆件外径壁厚 Inm |
1 |
©42.0X2.5 | |
|
2 |
©26.8X2.2 | ||
|
3 |
©42.0X2.5 | ||
|
4 |
©26.8X2.2 | ||
D 3 MF1219系列门架、配件重量应符合表D. 3的规定。
表D.3 MF1219系列门架、配件重量
|
名称 |
单位 |
代号 |
重量(标准值) kN___________ |
|
门架(。42) |
棉 |
MF1219 |
0. 224 |
|
门架(。48) |
棉 |
MFI219 |
0. 270 |
|
交叉支撑 |
副 |
G1812 |
0. 040 |
|
脚手板 |
块 |
P1805 |
0. 184 |
|
连接棒 |
个 |
J220 |
0. 006 |
|
锁臂 |
副 |
L700 |
0. 0085 |
|
固定底座 |
个 |
FSIOO |
0.010 |
|
可调底座 |
个 |
AS400 |
0. 035 |
|
可调托座 |
AU400 |
0. 045 | |
|
梯形架 |
棉 |
LF1212 |
0. 133 |
|
承托架 |
棉 |
BF617 |
0. 209 |
|
梯子 |
副 |
S1819 |
0. 272 |
D 4 MFO817、MFIOI7系列门架、配件重量应符合表D. 4的规定。
表D. 4 MF0817> MFIOl 7系列门架、配件重量
|
名称 \ |
单位 |
代号 |
重量(标准值) ______W______ |
|
门架 |
相 |
MF0817 |
0. 153 |
|
门架 |
相 |
MFIOI7 |
0. 165 |
|
交叉支撑 |
副 |
G1812、 G1512 |
0. 040 |
|
脚手板 |
块 |
P1806、 P1804> P1803 |
0. 195、0. 168、0. 148 |
|
连接棒 |
个 |
J220 |
0. 006 |
|
安全插销 |
个 |
C080 |
0. 001 |
|
固定底座 |
个 |
FSlOO |
0.010 |
|
可调底座 |
个 |
AS400 |
0. 035 |
|
可调托座 |
个 |
AU400 |
0. 045 |
|
梯形架 |
LFIOI2> LFloo9、 LFIOO6 |
11.1、9.60、8. 20 | |
|
三角架 |
个 |
T0404 |
0. 209 |
|
梯子 |
副 |
S1817 |
0. 250 |
D 5门式钢管脚手架用钢管截面几何特性应符合表D. 5的规定。
表D. 5门式钢管脚手架用钢管截面几何特性
|
钢管外径。 mm |
壁厚r mm |
截面积4 Cm2 |
截面惯性矩八 CnI4 |
截面模量W Cm3 |
截面回转半径i Cm |
每米长重量 (标准值) N/m |
|
51.0 |
3.0 |
4. 52 |
13. 08 |
5. 13 |
1.67 |
35.48 |
|
48.0 |
3.5 |
4. 89 |
12. 19 |
「5. 08 |
1.58 |
38. 40 |
|
42. 7 |
2.4 |
3. 04 |
6. 19 |
2.9 |
1.43 |
23. 86 |
|
42.4 |
2.6 |
3. 25 |
6. 40 |
3. 05 |
1.41 |
25. 52 |
|
42.4 |
2.4 |
3.02 |
6. 05 |
2. 86 |
1.42 |
23. 68 |
|
42.0 |
2. 5 |
3. 10 |
6. 08 |
2. 83 |
1.40 |
24. 34 |
|
34.0 |
2.2 |
2. 20 |
2. 7'9、 |
1.64 |
1. 13 |
17. 25 |
|
27.2 |
1.9 |
1.51 |
1.22 |
0. 89 |
0. 90 |
11.85 |
|
26.9 |
2.6 |
1.98 |
1.48 |
1. 10 |
0. 86 |
15. 58 |
|
26.9 |
2.4 |
1.83 |
1.40 |
1.04 |
0. 87 |
14. 50 |
|
26.8 |
2. 5 |
1.91 |
1.42 |
1. 06 |
0. 86 |
14. 99 |
|
26.8 |
2.2 |
1.70 |
1. 30 |
0.97 |
0. 87 |
13. 35 |
D 6 一棉门架的稳定承载力设计值应符合表D. 6的规定。
表D.6 一棉门架的稳定承载力设计值
|
门架代号 |
MF1219 |
MF0817 |
MFIol7 | ||
|
042.0 |
¢48.0 |
¢42.0 |
¢42.0 | ||
|
门架高度hQ mm |
1930 |
1900 |
1750 |
1750 | |
|
立杆加强杆高度》 mm |
1536 |
1550 |
1260 |
1291 | |
|
立杆换算截面回转半径/ mm |
1. 525 |
1.652 |
4. 428 |
1. 507 | |
|
立杆长细比λ |
HW40m |
148 |
135 |
138.71 |
136 |
|
40m VHW 55m |
154 |
140 |
144. 64 |
142 | |
|
立杆稳定系数伊 |
HW 40m |
0.316 |
O. 371 |
O. 354 |
O. 367 |
|
40m VHW 55m |
O. 294 |
O. 349 |
O. 329 |
O. 340 | |
|
钢材强度设计值/ N/mm2 |
205 |
205 |
205 |
205 | |
|
门架稳定承载力设计值Nd kN |
HW 40m |
40. 16 |
74. 38 |
44. 89 |
46. 60 |
|
40mVHW55m |
37. 37 |
69. 97 |
41.81 |
43.21 | |
附录E
(资料性附录) 脚手架搭设标识牌
E. 1正在搭设和拆除的脚手架只允许脚手架搭设人员作业,并在通道口明显处悬挂,脚手架不合格" 标识牌,见图E. 1-1;脚手架搭设完成后经检验合格,并在通道口明显处悬挂“脚手架可以使用”标识 牌,见图E. 1-20
R220
检查负责人:
验收时间
120α
R45
L∖
R220
ɪ
O 島
脚手架不合格
PrOhibit the USe Of SCaffOIdmg
O
Lo
CO
图E. 1-1 “脚手架不合格〃标识牌
|
脚手架可以使用 SCaffOId Can be USed 使用单位责任人: USed BY: |
■ ■ |
|
搭设单位责任人: EreCted BY: | |
|
检查负责人: Safety Management: | |
|
验收时间: ACCePtanCe Time: 年 月 日 MDY | |
图E. 1-2 “脚手架可以使用''标识牌
E.2脚手架标识制作说明
E.2. 1此标识牌为两种颜色,红色为“脚手架不合格"、绿色为“脚手架可以使用”。
E. 2. 2红色标识牌为Imm厚的铝牌,宽16Omm,长35Omm,上部圆孔直径为60mm,图上蓝色粗 线条表示可供抽插绿色标识牌的承插槽,槽宽Imm。绿色标识牌为Imm厚的塑料牌,宽155mm,长 345mm,上部圆孔直径为60mm,脚手架可以使用时,将绿色标识牌插入红色标识牌的承插槽内。
E.2.3圆弧说明:顶部圆弧半径45mm,圆心与上部圆孔相同,弧度为120度。顶部圆弧与下部直线 的过渡圆弧半径为22Omm,圆心在高度20Omm的直线上。
E.2.4 “单位名称”字体为白色、宋体,字号52,字体加粗。“单位英文名称"字体为白色.TimesNew Roman,字号为30,字体加粗。
E.2.5 “脚手架不合格〃、“脚手架可以使用〃字体为黑色、宋体,字号为小初,字体加粗;其他汉 字字体为黑色、宋体,字号为一号,字体加粗;英文字体为黑色、TimeS NeW Roman,字号为一号, 字体加粗。
1为便于在执行本规范条文时区别对待,对要求严格程度不同的用词说明如下:
1) 表示很严格,非这样做不可的:
正面词采用“必须",反面词采用“严禁";
2) 表示严格,在正常情况下均应这样做的:
正面词釆用“应",反面词采用“不应”或“不得”;
3) 表示允许稍有选择,在条件许可时首先应这样做的:
正面词采用“宜”,反面词釆用“不宜〃;
4) 表示有选择,在一定条件下可以这样做的,采用“可”。
2条文中指明应按其他有关标准执行的写法为:“应符合……的规定”或“应按……执行七
中华人民共和国石油化工行业标准
SH/T 3555—2014
2014北京
SH/T 3555—2014《石油化工工程钢脚手架搭设安全技术规范》,经工业和信息化部2014年7月 9日以第47号公告批准发布。
本规范制订过程中,编制组进行了广泛的调查研究,认真总结近年来我国石油化工工程钢脚手搭 设施工与管理的实践经验,在广泛征求意见的基础上,通过反复讨论、修改和完善,最后经审查定稿。
为便于广大设计、施工、科研、学校等单位有关人员在使用本规范时能正确理解和执行条文规定, 《石油化工工程钢脚手架搭设安全技术规范》编制组按章、条顺序编制了本规范的条文说明,对条文 规定的目的、依据以及执行中需注意的有关事项进行了说明。但是,本条文说明不具备与规范正文同 等的法律效力,仅供使用者作为理解和把握规范规定的参考。
1范围
本规范适用于石油化工、煤化工、天然气化工等新建、改建、扩建工程钢脚手架的结构设计、施 工与管理,检修工程可参照执行。
5通用脚手架构造形式和构造要求
5.1通用脚手架的构造形式
5. 1. 1目前石油化工工程脚手架的种类较多,主要包括扣件式钢管脚手架、碗扣式钢管脚手架、门式 钢管脚手架等,其中,由于搭设灵活、易于调整等优点以及库存量大,扣件式钢管脚手架使用最为普 遍。本规范中悬挑式脚手架只包括从地面、楼板或墙体上用钢管立杆斜挑的脚手架,不包括高层建筑 施工分段搭设的多层悬挑梁脚手架。竹木脚手架因承载力较小、防火性能差,已逐渐被石油化工工程 淘汰。
5.1.2为了减轻脚手架工人的劳动强度,脚手架的开发设计趋向产品的轻型化,直插式轻钢脚手架装 拆方便、外表美观,脚手板冲孔较多、材质好,重量轻,如某型号压型钢脚手板的钢板厚度为1.2mm, 每块长3m的板仅重10. 5kg,每块长3m的铝合金脚手板仅重7. 8kgo
5.1.3落地式双排脚手架是石油化工工程脚手架工程的主要形式,适用于各专业工程施工作业;由于 石油化工工程交叉作业多、框架内作业多、容器内作业多、圆形设备多、零星作业多等特点,悬吊式 脚手架、悬挑式脚手架、水平移动脚手架、悬挂三角架等脚手架类型也得到广泛使用。
5.2脚手架搭设高度及计算范围
5.2. 1-5. 2. 4扣件式钢管、碗扣式钢管、门式钢管和承插型盘扣式脚手架的允许搭设高度源于各专 项脚手架行业标准;石油化工工程高度超过50m的双排脚手架,主要是大型塔器、火炬塔架、烟囱等 设备作业用,主要采用双立杆、分段卸荷搭设等措施;双立杆脚手架由于施工方便,能提高下部立杆 的承载能力,在石油化工工程落地式脚手架搭设中仍是一种常用的措施。
5. 2.5石油化工工程悬挑脚手架常采用扣件式钢管脚手架搭设,可借助钢柱、钢梁和大型脚手架向外 支挑,由于使用零散、架体不规则等特点,为保持架体整体稳定性,对钢管悬挑脚手架的搭设高度做 了限制规定。
5. 2. 6悬吊式脚手架吊杆直接承受脚手架上的荷载,但与立杆不同的是,脚手架上的荷载不能通过立 杆传递给基础,因此,吊杆若接长,则主要由搭接接头的承拉能力来承受脚手架上的荷载,这是很不 安全的做法,应该禁止。吊杆长度不得大亍6m是为了合理冇效使用长度为6m的立杆。
5.3通用脚手架构造要求
5. 3. 1落地式脚手架构造要求
5. 3.1.1脚手架立杆是脚手架传递竖向荷载的主要构件,它的作用是将脚手架上操作人员和必要施工 材料的全部荷载,通过底座(或垫板)传到地基上,它的强度和刚度对脚手架的稳定性有重要影响。 立杆垂直度偏差过大,会影响立杆的正常承载力,故应对立杆垂直方向允许的偏差提出要求。
脚手架立杆纵、横距过大,对于立杆而言,受到的侧向约束力就减少,在相同的荷载的情况下, 立杆的稳定性就受影响,容易出现失稳现象。
纵向水平杆的间距称为步距,步距的大小,直接影响着立杆的长细比和脚手架的承载能力。资料 表明,在其他条件相同时,当步距由l∙2m增加到1.8m时,脚手架的承载能力将下降26%以上。所以 施工中纵向水平杆的步距不得随意加大。
经过荷载试验,在本规范规定的纵距、横距、步距最大尺寸下经过每平方米20Okg的荷载试验, 杆件应力在允许范围,挠度变化小,按规定尺寸搭设是安全的。
5. 3. 1.2脚手架的地基与基础是脚手架最主要的受力部位,直接关系到脚手架的安全和稳定,地基与 基础处理不当,脚手架就可能出现不均匀沉降、倾斜甚至倾覆,将从根本上影响脚手架的安全。各地 多次发生过脚手架模板坍塌事故,主要原因之一就是由于立杆地基不平整、未夯实,脚手架承载后导 致立杆下沉,造成模板支撑结构失稳。
5. 3. 1.3抛撑是设置在脚手架周圈的支撑架子的斜杆,作用是增加脚手架的横向稳定,防止脚手架向 外倾斜或倾倒。
脚手架连墙件其作用主要是承受脚手架的全部风荷载和脚手架里、外排立杆不均匀下沉时所产生 的荷载,增加脚手架的整体刚度,尤其是随着脚手架高度的增加,风荷载等水平荷载对脚手架系统的 水平作用可能会增大,此时釆取连墙措施显得尤为必要。目前一些项目脚手架的连墙件在建筑物结构 好拉设的地方多设,不好设置的地方少设或不设,这样就造成了局部地方拉结过密而部分地方偏少, 偏少的地方立杆变形挠度容易超标,导致脚手架变形过大,脚手架的整体稳定变差,形成安全隐患。
连墙件的位置靠近主节点处设置(不大于30Cm)是因为设在节点附近的传力效果最好,能有效地 阻止脚手架发生横向弯曲失稳;最不利的位置是设置在立杆步距的中间,这种设置几乎起不到横向约 束的作用。
5. 3.1.4剪刀撑作用是把脚手架连成整体,限制脚手架结构的纵向水平位移,增加脚手架的纵向稳定 性,是脚手架承载力和整体稳定性的重要保证。横向斜撑主要是在脚手架拐角处设置,主要是为了保 证脚手架的横向刚度,提高脚手架系统的整体稳定性。克的工程项目为了减少脚手架搭设成本,脚手 架纵向设置的剪刀撑偏少,有的取消了横向斜撑,均会履爾手架的承载力和整体稳定性降低,在实际检 查中,剪刀撑易检查,不易漏掉,但按规范要求设置的横向斜撑常被漏掉,这应引起重视。资料表明: 双排扣件钢管脚手架的主要破坏形式为整体横向失稳破坏,所以增强脚手架横向刚度是提高脚手架承 载能力的有效措施,可通过减小步距、缩小连墙件的垂直距离以及增强横向斜撑等措施实现。
在石化工程中,满堂支撑架的应用频率远大于落地式满堂脚手架,满堂支撑架增加竖向、水平剪 刀撑,可增加架体刚度,提高支撑架的承载力,剪刀撑的纵、横向间距的大小,是普通型满堂支撑架 与加强型满堂支撑架的主要区别所在。
5. 3. 1.5脚手架立杆接长采用对接扣件,可使上下钢管轴心传力,且以钢管的截面积承载来传递压力, 如果釆用搭接方法,则使上下钢管轴线不在同一中心线上,使扣件销轴受剪切,从而降低立杆的承载 能力。资料表明:一个对接扣件的承载能力,比搭接的承载能力要大2倍以上。
脚手架不设扫地杆时,将大大削弱脚手架的承载能力,破坏脚手架的稳定性,因此应按规定正确 设置扫地杆。
5. 3. 1.6脚手板是作业人员在其上活动的工作面所在,脚手板的铺设中探头板是多年来常出现的问题, 由此而引发的安全事故不胜枚举,因此对于脚手板铺设中对接与搭接,要严格按照规范中对接和搭接 的规定去做。在铺设脚手板的操作层上,设置符合要求的护栏和挡脚板,可以为作业人员提供基本的 临边保护,挡脚板还可以起到防止脚手板上的零星材料等从高处落下伤害地面人员的作用。
5. 3. 1.7直爬梯每隔3m〜6m通过转角平台错位搭设,目的是减轻作业人员垂直攀爬时意外从高处 坠落的伤害后果,目前施工现场有的建构筑物的直爬梯一通到顶,这样万一发生作业人员在攀爬时失 手坠落,后果极其严重,因此,对此应严格检查。经过调研国内多个大型石化工程项目,参考德国拜 耳公司等国外工程公司的脚手架安全规定,提出了梯子通道平台间的垂直高度不得超过6m。
工程中曾发生直爬梯在转角平台的出口处未设置活动护栏造成作业人员意外坠落的事故,因此, 应将通道出口处视作为临边防护的有机组成部分,设置诸如带有自关合的升降杆或者是自带钗链的活 门,做到在无人通过情况下,活动护栏时刻处于关闭状态。
石化工程中有的塔器、框架高度达到百米,人员上下通道若全部采用脚手架搭设,一方面工程量 巨大,另一方面作业人员上下时间长,这种情况可考虑设置施工电梯作为人员上下到各作业面的通道 以提高工作效率。显然,这样的施工电梯设置方案属于建设部[2009] 87号文规定的超过一定规模的 危险性较大的专项方案,应组织专家论证。
5. 3. 2悬挑式脚手架构造要求
5.3. 2.2在本规范5. 3. 2. 1条规定尺寸下,悬挑脚手架载荷每平方米200kg,经过荷载试验,悬挑部 分各杆件应力及挠度都在允许范围内。
5.3.3悬吊式脚手架构造要求
5. 3. 3.1 一些工程上用的扣件螺栓存在变形、滑丝以及扣件紧固力矩值达不到规范要求等情况,这就 给吊杆的接长紧固带来困难,存在扣件与钢管的连接处出现滑动的可能性,加之悬吊式脚手架一旦发 生坠落,会产生直接的较大坠落伤害。因此,对悬吊式脚手架的吊杆宜适当提高安全度,故提出了吊 杆不得接长的要求。
5. 3. 3. 4悬吊式脚手架的横杆与建(构)筑物的水平梁之间往往釆用钢制挂钩固定,而这种钢制挂钩 是由脚手架搭设单位自行制作的,为减少制作的随意性,提高悬吊式脚手架的使用安全性,对挂钩的 制作提出基本的要求。
5.3.4水平移动脚手架构造要求
5. 3. 4. 2水平移动脚手架由于架体较小,分散分布在项目的各处,容易出现搭设不够规范的问题,尤 其是作业层平台的脚手板和防护栏部位。为保证高处作业安全,提出了应符合本规范5. 3.1.6条规定 的要求。
5. 3.5悬挂三角架构造要求
5. 3. 5. 2〜5. 3. 5. 3悬挂三角架作为一种特殊的作业平台,起到了类似作业脚手架的功能,但设置工 作量又少于传统的落地式脚手架,因此在储罐、气柜或冷箱等容器壁板组对焊接经常使用。这种悬挂 三角架是由工程安装单位自行制作、安装的,为减少设置的随意性,提高悬挂三角架的使用安全性, 对悬挂三角架提出基本的要求。
固定挂件厚度8mm,三角架架体采用50mmX 50mmX4mm角钢制作,是根据现场实际制作、应 力试验结果确定的,符合现场实际情况。在规定荷载200kg∕m2情况下是安全的。
挂板的主要受力部位为上部和两侧的拉力,在满足荷载拉力的情况下,焊接挂板上部及两侧便于 拆除工作。
5.3.5.4经过荷载试验,规定每平方米不应超过200kg是安全的。
5.3.7满堂脚手架构造要求
5. 3. 7. 1装置区管廊底层管架常搭设满堂脚手架作为作业平台兼做隔离防护平台,这样可以使上下层 得交叉作业变为平行施工,在保证安全施工的前提下,加快施工进度。由于管廊混凝土或钢结构的基 础平台往往高出地坪,将落地式脚手架八字支撑落脚于此而不直接落在地面上,可以方便下一步地坪 混凝土工程的施工。
5.3.8门式钢管脚手架构造要求
5. 3. 8. 3〜5. 3. 8. 4水平加固杆的作用是增强门架的纵向刚度,闭圈设置效果更好;底层门架是最大 的受力部位,设置扫地杆可以增强其刚度和稳定承载能力。
5.3.8.5不同型号的门架相互搭配使用会造成安装后的架体误差过大而降低承载力,影响使用的安 全。
5.3.9承插型盘扣式脚手架构造要求
5. 3. 9. 3采用钢管扣件做斜杆时,斜杆可以和横立杆扣接,但这种步中斜杆设置不能保证每根立杆段 成为三角形杆系构架的一个边,对这种受力状态目前尚无相应的理论和试验研究结论,因此,本条首 先推荐斜杆应与立杆扣接,当不能与立杆扣接时,才与横杆扣接。
5. 3. 1.0直插式轻钢脚手架构造要求
5. 3.10.3根据欧洲相关标准,内插套管插接长度超过150mm,可按刚性连接考虑,计算时可以将立 杆与立杆的连接按刚性连接对待,简化了计算;考虑到插接件可能的加工偏差,要求插接长度应超过 18OmmO
5. 3. 11防护架构造要求
5.3.11.1避免高处坠落物砸伤地面人员的主要措施是在地面设置安全的人行通道或运输通道,高处 落物的坠落半径是根据GB/T 3608和GB 50078给出的。
6专业脚手架结构设计
6.5立式设备安装脚手架
6.5.1 b) 3)可调支撑是在设备既不能焊接又没有其他设备附件与脚手架连接时的一种防止脚手架 晃动或倾覆的装置,其数量可根据设备的直径现场确定,但不少于4个,支撑是否可以直接接触设备, 根据设备材质决定,也可以根据实际情况进行隔离。
6.5.1 C)此项说明了附塔管道安装脚手架断开时采取的加固措施,当水平方向断开部位较大时,考 虑到架体的整体性问题,断开部位以上还应釆取卸荷措施,必要时进行强度计算。
6.5.2 a)此项脚手架距设备内壁的距离设定为15Omm〜25Omm ,主要是由于脚手极在设备内部铺 设时不能紧贴器壁,造成与内壁间距的不一致,所以给出区间值。
6.5.4 d)、e)主要是考虑到除焊接作业外还有无损检测使用此脚手架,避免重复搭设。
6.6反应再生系统安装脚手架
6. 6. 2反再系统脚手架体积大,从底部搭设双排脚手架距离设备较远,避免底部釆用单排脚手架,采 用此过度结构。
6.6.3 d)设备内部的脚手架搭设在弧形或锥形内壁上,发生水平变形的可能性较大,增设水平斜撑 能有效地减少架体变形提高安全程度。
6. 6.4 C)立杆底部均应铺设50mm厚木板,主要考虑对下层衬里层的保护作用,木板的面积没做具 体规定,但应以起到保护衬里的作用为主要目的。
6.6.5 b)通道开口处应设置盖板,并对盖板的尺寸进行了规定,但是由于现场烟风道的尺寸不一, 可以根据烟风道的具体尺寸确定盖板的大小,但是盖板厚度和防滑措施不应减少。
6.7炉类设备安装脚手架
6.7.2 d)炉体宽度小于IOm时,可釆用落地式双排脚手架悬挑。此悬挑结构仅适用于轻型工作, 当进行衬里、放置材料等重型工作时,应加设立杆,或进行满堂搭设。
6. 8储罐与气柜安装脚手架
6. 8.1 d)作业面任何位置距离最近通道距离不超过15m,此规定与通用脚手架中通道设置5. 3.1.7 D条相适应,主要是从安全角度考虑,间接规定了通道数量。
6. 8. 4作业面距离球罐表面宜为15Omm~300mm,此处的300mm为脚手架转角处作业面距球罐的最 大距离。
6. 8.5 C)设置连接杆的作用主要是放置人员站在一侧时脚手架发生整体旋转而倒塌,连接杆既可以 设置在人孔位置也可以设置在管嘴等位置,但均应注意对法兰面的保护。
6. 9工艺管道安装脚手架
6.9.4管架上管道安装利用管架本身梁、柱结构搭设悬吊式脚手架,可降低脚手架搭设的费用,同时 脚手架作业层本身又可兼作下层的防护架,保护下方作业人员;突出框架的管道安装工作量一般不大, 搭设悬挑式钢管脚手架,有利于提高脚手架搭设效率。
6.10电仪工程安装脚手架
6. 10. 3电缆敷设属于群体作业,人员多,敷设时间长,在电缆敷设起始处设置坡度不大于1 : 4的上 下通道供作业人员上下,敷设高处电缆,有助于提高工作效率,降低频繁攀爬直梯带来的风险。
6.10.9变压器顶盖及其附件上有高压瓷瓶、油箱密封等部件,脚手架搭设在其旁,可能碰坏瓷瓶或 引起油管变形等,所以不能把变压器作为脚手架生根的落脚点;由于变压器室的结构限制,变压器引 出母线槽安装用脚手架属于一字型脚手架,且变压器室地面为鹅卵石铺面,脚手架容易造成不稳,所 以脚手架应设置抛撑;脚手架拆除时,脚手杆等部件不得从变压器正面侧传递,是防止脚手杆误碰坏 瓷瓶等。
6.12无损检测作业脚手架
6.12.3管道射线作业脚手架承载力每平方米应大于300kg,是根据两名作业人员加上探伤机重量等 考虑的;脚手架平台离焊缝表面距离30Omm,是根据现有常用探伤机的外形结构,为方便探伤作业提 出的。
6.12.4容器焊缝射线作业脚手架在焊缝两侧和焊缝表面范围附近若有脚手架杆件或脚手板,拍片后 可能在探伤底片上留下痕迹,影响评片质量,根据实际拍片和评片经验,提出了相应的避让距离要求。 6.13拆除工程脚手架
6.13. 2-6.13. 3石化装置塔器、容器等拆除一般采用大型吊车吊离,若吊离的结构与脚手架有连接 或两者之间间距偏小,吊离的结构就可能碰撞脚手架,造成脚手架倾倒等事故。
8脚手架施工与管理
8. 2. 3石油化工工程悬挑式脚手架主要由扣件式钢管脚手架搭设组合而成,恰当运用的话可大大降低 搭设落地式外脚手架的费用,但由于其悬空的特点,若搭设不当,其危害性也较落地式外脚手架严重。 为了保证悬挑式脚手架使用有可靠的安全性,提出来需编制专项施工技术方案,进行设计计算的要求。 悬挑式脚手架对主体结构相关位置的连接形式直接关系到悬挑式脚手架的承载能力,为了脚手架作业 人员正确理解搭设方法和程序,提出了应有大样详图的要求。
8.4脚手架搭设
8.4.1强调脚手架在搭设前应按要求办理相关作业票,以保证搭设条件已经具备。设置警示围护、安 排专人监护、无关人员不得进入等内容是避免脚手架在作业过程中,对无关人员造成伤害。
8.5脚手架验收
8.5.4目的是避免不合格脚手架对作业人员造成伤害。
8.5.5非脚手架作业单位擅自改动脚手架,会造成脚手架不符合安全作业要求,使作业人员受到伤害。
8.6脚手架使用
8.6.1脚手架是按规定荷载进行结构设计和搭设的,超负荷使用时,将产生脚手架结构的不稳定性, 甚至存在坍塌危险。
8. 7脚手架拆除
8. 7. 2脚手架拆除危险性极大,不按程序由上而下逐层进行会造成架体结构失稳和人员伤害。连墙件 是保证架体稳定的关键构件,一旦整层或数层拆除,会造成架体坍塌。
中华人民共和国
石油化工行业标准 石油化工工程钢脚手架搭设安全技术规范 SH/T 3555—2014
*
中国石化出版社出版
中国石化集团公司工程标准发行总站发行 地址:北京市东城区安定门外大街58号
邮编:IOOOlI 电话:(Olo) 84271850
石化标准编辑部电话:(Olo) 84289937
读者服务部电话:(OlO) 84289974
http: //www.sinopec-press.com
E-mail: press@sinopec.com
破权专有不得翻印
' *
开本880X1230 1/16 印张6. 25字数172千字 2015年5月第1版2015年5月第1次印刷
*
书号:155114-1033 定价:75. 00 元
(购买时请认明封面防伪标识)