U 22
CB/T 3762—1 996
eqv ISO 7824-1 986
1 996-09-03 发布
1997-04-01 实施
中国船K白工业总公司发布
本标准等效采用ISO 7824«造船与海上结构物一一润滑油嘴——锥形及平肩形》(第一版1986).
ISO 7824规定的船用润滑油嘴是国际上船舶行业共同使用的通用件,欧洲和日本造船界都使用该 国际标准的油嘴。为此,本标准采用ISo 7824制定我国的船用润滑油嘴标准。
本标准与ISO 7824比较,只做了少部分的编辑性修改。修改情况如下:
a) 本标准“范围”按GB/T Ll规定增加了适用范围;
b) 引用标准采用我国标准GB 196、GB 197及GB/T 1415;
C)本标准标记示例按GB 1. 3规定编写;
d) 本标准在技术要求中增加了 4-1和4. 3. 2条;
e) 本标准表2中的d^di在ISO 7824中公差等级为h!255在ISO 7824中的公差等级为hl30本 标准均按GB 197对应的公差值写入表2中。
本标准由全国船用机械标准化技术委员会提出。
本标准由中国船舶工业总公司六。三所归口。
本标准由中国船舶工业总公司六。三所起草。
本标准主要起草人:周玉华。
[范围
本标准规定了般用润滑油嘴(以下简称润滑油嘴)的产品分类、技术要求。
本标准适用于船舶机械、船舶门窗把手夹扣、各种滑轮、导链轮等处的润滑油嘴。
2引用标准
下列标准所包含的条文,通过在本标准中引用而构成为本标准的条文。本标准岀版时,所示版本均 为有效。所有标准都会被修订,使用本标准的各方应探讨使用下列标准最新版本的可能性。
GB 196—81普通螺纹 基本尺寸(直径1〜60Omm)
GB 197→1普通螺纹 公差与配合(直径1〜355 mm)
GB/T 1415—92米制锥螺纹
3产品分类
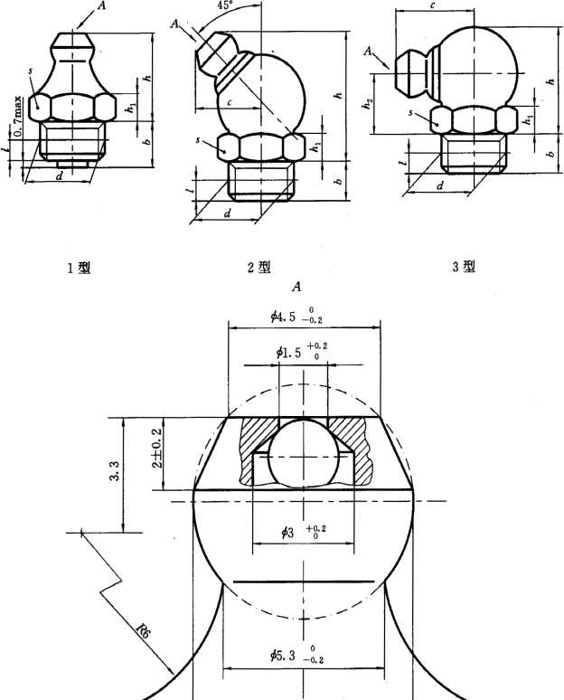
润滑油嘴的型式分为锥形和平肩形。
3.1锥形润滑油嘴
锥形润滑油嘴分为1型、2型、3型,见图1;尺寸见表L
注,锥形润滑油嘴一般通称压注润滑脂油嘴.
3-2平肩形润滑油嘴
平肩形润滑油嘴为4型,见图2;尺寸见表2。
平肩形润滑油嘴用于需要大量润滑脂的地方,如提升机构。
3-3标记
3∙3∙1标记的组成形式如下*
润滑油嘴名称 □ 标准号
----------材料
--------------螺纹公称直径
___________________________________________________________3⅛⅛∣ -4U
型A
3- 3-2标记示例:
a) 1型、钢质、锥形润滑油嘴,螺纹ZM10X1:
锥形润滑油嘴I-ZMIOx 1钢质 CB/T 3762—1996
b) 4型、钢质、平肩形润滑油嘴,螺纹M10X1;
平肩形润滑油嘴4-M10× 1钢质CB/T 3762-1996
中国船舶工业总公司1996-09-03批准

S族6・ 5 -o. 2
图1锥形润滑油嘴
表1锥形润滑油嘴尺寸 mm
|
型式 |
螺纹 公称直径 /) |
对边宽度 S |
螺纹长度 b |
基准距离 I |
侧距 C |
高度 | ||
|
h |
Al | |||||||
|
1 |
ZMlOXl |
11 |
6 |
3-S.5 |
一 |
12 |
3.5 |
— |
|
2 |
10 |
19.2 |
4 |
— | ||||
|
3 |
12 |
14.5 |
4 |
9 | ||||
|
1)锥螺纹锥度1 ɪ 160 | ||||||||
图2平肩形润滑油嘴
表2平肩形润滑油嘴尺寸 mm
|
型式 |
螺纹。 公称直径 |
f |
C |
d2 |
h max |
k |
I |
对边 宽度 S |
2 max | |||
|
4 |
M10×l |
1.1 |
2-0.14 |
12—指 |
16_" |
>2. 9 |
11 |
4.5±0. 375 |
5.5Λ≡ |
1 |
17—M |
1 |
|
1)螺纹应符合GB 196的规定。 | ||||||||||||
4技术要求
4.1螺纹
4-1-1锥螺纹应符合GB/T 1415的有关规定。
4.1. 2与锥螺纹配合的圆柱内螺纹公差应符合GB 197中M10×l-6Ho
4∙ 1- 3平肩形润滑油嘴的外螺纹的公差应符合GB 197中MlOXl-Sh0
4-2材料
润滑油嘴与弹簧应为钢质。采用其他材料应得到制造厂同意。
例如有色金属材料:
a) 主体、球和弹簧:磷青铜;
b) 主体:黄铜。
4-3表面要求
4- 3-1钢质润滑油嘴应镀锌。如用其他镀层应得到制造厂同意。
4- 3- 2经镀覆的锥螺纹,镀前为不留镀层余量的标准尺寸,镀后不再检査螺纹尺寸。
3