ICS 91. 140.01 P 41
CJ/T 216—2013 代替 CJ/T 216—2005
ReSiIient-Seated gate VaIVeS for Water SUPPly and drainage SerViCe
2013-04-27 发布
2013-10-01 实施
本标准按照GB/T 1.1—2009给出的规则起草。
本标准是对CJ/T 216-2005«给排水用软密封闸阀》的修订,本标准与CJ/T 216-2005相比,主要 技术变化如下:
——增加了 “允许最大工作压力”等术语和定义;
—增加了“齿轮箱”的要求;
—增加了闸阀“耐久性”章节,规定了启闭循环次数的要求;
—修改了闸阀壳体壁厚和内外表面“涂层厚度”,增加了涂层检验项目的要求;
——增加了最高使用温度及其对橡胶密封材质的要求;
——增加了附录E(资料性附录)齿轮箱传动比。
本标准由住房和城乡建设部标准定额研究所提出。
本标准由住房和城乡建设部市政给水排水标准化技术委员会归口。
本标准起草单位:中国建筑金属结构协会给水排水设备分会、上海冠龙阀门机械有限公司、安徽红 星阀门有限公司、广东永泉阀门科技有限公司、杭州春江阀门有限公司、上海沪航阀门有限公司、阀安格 水处理系统(太仓)有限公司、武汉大禹阀门制造有限公司、济南玫德铸造有限公司、浙江盾安阀门有限 公司、宁波华成阀门有限公司、江苏竹簧阀业有限公司、安徽省白湖阀门厂有限责任公司、株洲南方阀门 股份有限公司、山东建华阀门制造有限公司、大众阀门集团有限公司、精嘉集团有限公司、北京竺港阀业 有限公司、东一阀门制造(南通)有限公司、正丰阀门集团有限公司。
本标准主要起草人:华明九、刘杰、王光杰、张延蕙、李政宏、韩安伟、陈键明、柴为民、陈思良、 杜士昆、李习洪、孔令磊、钱金明、王朝阳、汤伟、沈维新、黄靖、王华梅、金戈、金宗林、李彬、刘德、管金华、 曹披、葛欣。
本标准所代替的历次版本发布情况为:
——CJ/T 216—2005 o
1范围
本标准规定了城镇给水排水用软密封闸阀(以下简称闸阀)的结构型式及尺寸、要求、试验方法、检 验规则、标志和供货等。
本标准适用于公称尺寸DN5O~DN9OO(其中公称尺寸不大于DN400的,公称压力小于或等于 PN25;公称尺寸大于DN400,且不大于DN9OO的,公称压力小于或等于PN16),最高使用温度80笆,法 兰或承插接口型式连接,球墨铸铁材质壳体的城镇给水排水用闸阀的设计、制造和验收。
2规范性引用文件
下列文件对于本文件的应用是必不可少的。凡是注日期的引用文件,仅注日期的版本适用于本文 件。凡是不注日期的引用文件,其最新版本(包括所有的修改单)适用于本文件。
GB/T 825吊环螺钉
GB/T 1220不锈钢棒
紧固件机械性能螺栓、螺钉和螺柱
紧固件机械性能不锈钢螺栓、螺钉和螺柱
液压气动用O形橡胶密封圈 第1部分:尺寸系列及公差
GB/T 3098.1
GB/T 3098. 6
GB/T 3452.1
GB 4208外壳防护等级(IP代码)
GB/T 4956磁性基体上非磁性覆盖层覆盖层厚度测量磁性法
梯型螺纹
梯型螺纹
梯型螺纹
第1部分:牙型
第2部分:直径与螺距系列
第3部分:基本尺寸
GB/T 5796.1
GB/T 5796. 2
GB/T 5796. 3
GB/T 5796. 4—2005梯型螺纹 第4部分:公差
GB/T 6739涂膜硬度铅笔测定法
GB/T 8923.1涂覆涂料前钢材表面处理 表面清洁度的目视评定 第1部分:未涂覆过的钢材 表面和全面清除原有涂层后的钢材表面的锈蚀等级和处理等级
GB/T 9286
色漆和清漆漆膜的划格试验
硫化橡胶与金属粘合强度的测定拉伸法
通用阀门标志
金属阀门 结构长度
多回转阀门驱动装置的连接
通用阀门铜合金铸件技术条件
通用阀门球墨铸铁件技术条件
水及燃气管道用球墨铸铁管、管件和附件
工业阀门压力试验
硫化橡胶与金属粘接180°剥离试验
GB/T 11211
GB/T 12220
GB/T 12221
GB/T 12222
GB/T 12225
GB/T 12227
GB/T 13295
GB/T 13927
GB/T 15254
GB/T 17241.6整体铸铁管法兰
GB/T 17241. 7铸铁管法兰技术条件
GB/T 20078铜和铜合金锻件
GB/T 21873橡胶密封件给、排水管及污水管道用接口密封圈材料规范
JB/T 7928通用阀门供货要求
JB/T 8531阀门手动装置技术条件
3术语和定义
下列术语和定义适用于本文件。
3. 1
暗杆型闸阀 inside SCreW (non-rising stem) type gate VaIVe
阀杆作旋转运动,其传动螺纹在阀体内腔的闸阀。
3.2
明杆型闸阀, OUtSide SCreW (rising Stem) type gate ValVe
阀杆作升降运动,其传动螺纹在阀体外部的闸阀。
3.3
弹性闸板 resilient gate
内部骨架为球墨铸铁整体铸造,骨架外表面全部包覆橡胶,闸阀关闭时密封面产生弹性形变的 闸板。
3.4
软密封 resilient-seat
弹性闸板与阀体的平底阀座组成的闸阀密封结构。
3.5
轴封 Stem SeaIing
在阀盖或阀体上充填密封圈阻止水从阀杆处渗漏的结构。
3.6
传动帽 Stem CaP
通过扳手将启闭力传递到阀杆或驱动装置上的方锥形零件。
3.7
K 型机械接口 K type mechanical flexible joint
用法兰等机械手段向承口内的密封圈施压而得到密封的连接方式。
3.8
T 型滑入式接 口 T type push-inflexible joint
在承口内设置密封圈,插口穿过时挤压密封圈形成密封的连接方式。
3.9
允许最大工作压力 JnaXimUm allowable OPerating PreSSUre
闸阀在使用中可安全承受的最大工作压力,本标准规定等同公称压力。
4结构型式及尺寸
4. 1结构型式
闸阀的结构型式可分为暗杆型闸阀、明杆型闸阀,参见附录A中图A. 1〜图A. 4。
4.2尺寸
主要结构尺寸参见附录A中表A,l0
5要求
5. 1设计
5. 1. 1 基本要求
5. 1. 1. 1闸阀阀杆应竖直安装。
5. 1. 1.2闸阀处于全开状态时,沿阀门流道方向,闸板和阀杆的投影不应有与阀门流道的投影相重合 的部分。
5. 1. 1.3闸阀应可承受本文件要求的所有试验扭矩,应符合附录B的规定。
5. 1. 1.4阀体、闸板应设有导轨、导轨槽,其结构尺寸应能限制闸板的位置,防止闸板橡胶过度挤压。
5. 1. 1.5阀体与阀盖间用碳素钢螺钉连接时,应采用螺钉沉孔,并用蜡胶封口。
5. 1. 1.6闸阀使用温度高于50 °C时,橡胶密封件应使用三元乙丙(EPDM)或其他耐温较高的合成橡 胶材料。
5. 1.2阀体
5. 1.2. 1阀体应能承受1.5倍允许最大工作压力。壁厚参见附录A中表A.1的规定。
5. 1.2.2阀座应与阀体整体铸造。法兰或其他连接型式的接口应与阀体整体铸造。
5. 1.2.3阀体内腔底部不应有凹槽,阀座处流道内径应与公称尺寸一致。
5. 1.2.4阀体强度薄弱部分,可设加强筋。
5. 1.3 阀盖
5. 1.3. 1阀盖应能承受1.5倍允许最大工作压力。壁厚参见附录A中表A.1的规定。
5. 1.3.2公称尺寸DN200及以上的闸阀,可在阀盖顶部设排气孔。排气孔应设置凸台并加工成内螺 纹,试验完毕后用管堵封实。
5. 1.3.3公称尺寸DN200及以上或重量超过25 kg的闸阀,应设置吊环。吊环应承受整台闸阀的重 量,并应符合GB/T 825的规定。
5. 1.4闸板
5. 1.4. 1闸板应采用弹性闸板,其骨架为球墨铸铁整体铸造,骨架表面全部包覆橡胶。硫化后的橡胶 不应有气泡、裂纹、疤痕、创伤、铸铁外露筹缺陷。
5. 1.4.2闸板橡胶与铸铁间应粘连牢固,按GB/T 11211测定时其粘合强度不应小于1. 725 MPa,或 按GB/T 15254测定时与金属粘接180°剥离强度不应小于9. 3 kN∕mo
5. 1.4.3闸板包覆橡胶的设计厚度不应小于2 mm。
5. 1.4.4同一制造商、同一公称尺寸、同一压力等级的闸阀,闸板应可互换。
5. 1.5阀杆、支架螺母、闸板螺母
5. 1.5. 1阀杆应能承受闸阀强度试验扭矩,闸杆最小直径参见附录A中表A.1的规定。
'5. 1.5.2阀杆与阀杆螺母的梯形螺纹其基本尺寸和精度,不应低于GB/T 5796. 1、GB/T 5796. 2和 GB/T 5796. 3的规定,公差等级不应低于GB/T 5796.4-2005中8C的规定。
5. 1.5.3闸板螺母与闸板的连接结构应符合下列规定:
a) 保证阀杆与闸板连接牢固,在试验和工作条件下闸板不应脱落;
b) 保证闸板螺母与闸板的连接部位不应因包覆的橡胶磨损出现铸铁外露锈蚀现象。
5. 1.5. 4明杆闸阀阀盖上的支架,可为整体式或分体式结构。
5. 1.6轴封
5. 1.6. 1轴封应至少具有三道。形密封圈或其他压力自密封型密封圈,。形密封圈应符合GB/T 3452.1 的规定。
5. 1. 6. 2轴封为O形密封圈时,其顶端应设置防尘圈以防止杂物进入。
5. 1.6.3轴封密封圈在工作压力条件下且闸阀全开时应能进行更换,更换时允许有不影响更换操作的 渗漏。
5. 1.7紧固件
螺栓、螺钉和螺母等紧固件,应符合GB/T 3098.1和GB/T 3098. 6的规定。
5.2操作
5.2. 1操作强度
按6. 8进行最小强度扭矩试验时,闸阀各零件不应产生任何变形和结构损伤。
5.2.2操作功能
闸阀操作时各部位应灵活可靠,无卡阻。按6.4进行操作功能扭矩试验时,其扭矩不应超过附录B 中规定的最大功能试验扭矩。
5.2.3操作方式
闸阀操作可采用下列方式:
a) 手轮;
b) 传动帽;
C)供需双方协商的其他操作方式。
5.2.4启闭方向
手动闸阀面向手轮或扳手顺时针转动时,闸阀应关闭。逆时针转动时,闸阀应开启。
5.2.5手轮
5. 2.5. 1 标志
手轮操作的闸阀手轮,包括驱动装置的手轮轮缘上,应铸造出明显的指示闸板启闭方向的箭头和 “开”、“关”字样,并应符合JB/T 8531的规定。
5. 2. 5. 2连接方式
手轮应釆取机械方式固定在阀杆或支架螺母上,并应符合下列规定:
a) 保证手轮与阀杆或手轮与支架螺母间隙紧密,操作时无松动;
b) 暗杆型闸阀的手轮应采用轮辐式,允许拆卸和更换,并可与传动帽互换。
5. 2. 5. 3操作力
施加于手轮的操作力,不宜超过360 N,并以此确定手轮直径。
5.2.6传动帽
传动帽应采取机械方式固定在阀杆上,并可配用扳手操作埋设在地下的闸阀。传动帽的尺寸应符 合附录C的规定。
5.2.7开度指示
需方有要求时,暗杆型闸阀应具有指示闸阀开度行程的装置。
5.3连接形式及尺寸
5.3. 1连接尺寸
5.3. 1. 1法兰连接闸阀的法兰尺寸应符合GB/T 17241.6的规定,法兰采用凸面密封,技术要求应符 合GB/T 17241.7的规定。
5.3. 1.2 K型机械承插接口、T型滑入式承插接口等其他连接型式尺寸,应符合GB/T 13295的规定。
5.3.2结构长度
5. 3.2. 1法兰连接闸阀的结构长度应符合GB/T 12221的规定,需方无指定时按短系列执行。
5. 3.2.2其他连接型式的闸阀结构长度,由供需双方协商在订货合同中注明。
5. 3.3闸阀高度
闸阀的高度参见附录A中表A. 1的规定。
5.4材料
闸阀主要零件材料参见附录DO球墨铸铁应符合6.5的规定;密封件不应使用再生胶,城镇供水管 道用闸阀密封件不应使用含有石棉等有碍健康的材料。
5.5涂装
5.5. 1所有铸件表面应清洁光滑,密封面和运动部位不应有气泡、砂眼、裂纹、疤痕、毛刺或其他影响使 用的缺陷。其他部位的气泡、创伤等轻微缺陷,在需方认可后可进行电焊或填充环氧树脂修补。
5.5.2铸件应经喷砂(抛丸)处理,除去氧化皮、铁锈、油污等一切杂质,应达到GB/T 8923. 1中Sa2⅛ 表面处理等级,并应在喷砂后6 h内涂装。
5.5.3阀体、阀盖内外表面应采用环氧树脂粉末静电喷涂或硫化床浸粉。涂层固化后,表面应均匀光 滑,无杂物混入、针孔、漏喷等缺陷。涂层不应溶解于水,不应影响水质O
5. 5.4除装配部位外,内外表面涂层厚度和质量应符合下列规定:
a) 内表面涂层厚度不应小于0. 25 mm,外表面涂层厚度不应小于0.15 mm;
b) 涂装质量应符合6. 6的规定。
5.6卫生要求
用于城镇供水管道的闸阀,凡与水接触的阀门材料,不应污染水质。
5.7壳体(阀体、阀盖)强度
按6. 8进行壳体试验时,闸阀不应有任何可见渗漏,零件不应有任何结构损伤。
5.8密封性能
按6. 9进行密封试验时,闸板不应有结构损伤,闸阀不应有任何可见渗漏。
5.9低压密封性能
按6.10进行低压密封试验时,闸阀不应有任何可见渗漏。
5. 10齿轮箱
齿轮传动的齿轮箱,应能承受闸阀最小强度扭矩产生的推力和输出扭矩,应符合JB/T 8531和下列 规定:
a) 90%以上的箱内空隙容积,应填充润滑用油脂;
b) 闸阀安装在地上管道时,齿轮箱防护等级应为IP65;闸阀安装在地下管道时,齿轮箱防护等级
应为IP68;
C)齿轮箱传动比应符合附录E的规定;
d)带连接支架时,连接法兰应符合GB/T 12222的规定。
5. 11耐久性
按表1进行静压启闭循环次数时,闸阀承压件任何部位不应有永久性变形,密封部位不应有可见 泄漏。
表1启闭循环次数
|
公称尺寸DN/mm |
启闭循环次数 |
|
50 〜200 |
500 |
|
250〜350 |
200 |
|
400〜600 |
100 |
|
700—900 |
50 |
6试验方法
6. 1表面质量与结构尺寸检验
闸阀表面质量及结构型式可通过目测检验;结构尺寸用精度符合规定的通用量具检验o
6.2壳体壁厚检验
闸阀壳体壁厚用数字式测厚仪检验,应符合附录A中表A. 1的规定。
6.3闸板包胶检验
包胶质量检验应符合5.1.4的规定。
6.4强度、功能扭矩试验
强度、功能扭矩试验应符合以下规定:
a) 将闸阀全关,任一端施加公称压力相等的水压,用附录B中的最小强度试验扭矩按顺时针方 向加在阀杆或传动帽上,应符合5. 2.1的规定。
b) 将闸阀全开,用附录B中的强度试验扭矩按逆时针方向加在阀杆或传动帽上,应符合5.2. 1 的要求。
C)从闸阀任一端施加公称压力相等的水压。将闸阀全开、全关、再全开,在操作过程中,阀杆上施 加附录B中规定的最大功能试验扭矩,应符合5.2. 2的规定。
6.5材料检验
材料检验应符合以下规定:
a) 球墨铸铁材料,用材料试验机进行抗拉及延伸率试验,应满足材料牌号所规定的性能要求,用 金相显微镜检验球化率不低于3级,应符合GB/T 12227的规定。
b) 外购件由制造方提供材料质量证明,必要时抽样复检,应符合5. 4的规定。
6.6涂层检验
6. 6. 1涂层厚度用数字式覆层测厚仪检验,应符合GB/T 4956的规定。
6. 6. 2涂层硬度用硬度计检验,应符合GB/T 6739规定的铅笔2H硬度。
6. 6. 3涂层附着力应符合GB/T 9286规定的划格法1 Inm2不脱落。
6.6.4涂层用针孔电火花检测仪检验,耐电压不应小于1.5 kV不被击穿,无针孔和超薄漏电现象。
6. 6. 5抗冲击用球形端面的落锤试验,应能承受0.5 kg重落锤,高度1 m自由落下,涂层无裂纹、皱纹 及剥落现象。
6.7 卫生检验
闸阀用于城镇供水管道时,卫生要求应符合5. 6的规定。
6.8壳体强度试验
闸阀的壳体强度试验应按GB/T 13927的规定。
6.9密封试验
闸阀的密封试验应按GB/T 13927的规定。采用水压密封试验时,按1.1倍允许最大工作压力,并 应经用户同意,在订货合同中注明“水压密封试验"字样。
6. 10低压密封试验
低压密封试验应符合以下规定:
a) 封闭闸阀两端,闸板处于微开启状态;
b) 从闸阀任一端施加不超过0. 05 MPa的水压,将闸板全关,持续时间不少于60 s。从闸阀另一 端进行同样试验。
6. 11齿轮箱防护等级试验
齿轮箱的防护等级试验应按GB 4208的规定。
6. 12耐久性试验
耐久性试验应符合以下规定:
a) 试验介质为常温清水;
b) 无论闸阀采用何种方式操作,其操作装置应与阀门一同试验。手轮直接带动或由齿轮箱带动 的手动操作闸阀,应用寿命试验机的驱动机构带动闸阀的手轮或蜗杆减速机构的手轮;由电 动、液动、气动或其他驱动装置的闸阀,应用其驱动装置带动闸阀进行试验;
C)从全关保持密封位置为起点,阀门的开度应达到其实际开度的90%以上;
d) 从开启位置到关闭的过程,阀腔内介质压力为90%〜100%的闸阀公称压力;到达关闭位置 后,闸阀的出口侧应将介质压力释放;
e) 应以附录B中最大功能试验扭矩值关闭闸阀;
f) 每启闭循环1/5全额次数,进行一次密封性能和操作力矩的检查。密封性能合格后,继续试 验,不合格时从零开始试验;
g) 启闭循环次数应符合5.11的规定,试验次数的记录,应通过寿命试验机或电动、液动、气动或 其他联动装置驱动的行程开关所提供的信号,釆用电磁计数器记录。
7检验规则
闸阀检验分为型式检验和出厂检验。
7. 1型式检验
7.1.1具备下列情况之一时,闸阀应进行型式检验:
a) 新产品试制的定型鉴定;
b) 设计、工艺或材料改变,可能影响产品质量时;
C)正常生产每5年进行一次;
d)产品长期停产后,恢复生产时。
7. 1.2闸阀型式检验的项目应符合表2的规定:
表2出厂检验和型式检验项目
|
检验项目 |
型式检验 |
出厂检验 |
要求条款 |
方法条款 |
|
表面质量与结构尺寸 |
√ |
√ |
5.1,5. 2»5. 3,5. 5 |
6. 1 |
|
壳体壁厚 |
J_____ |
5.1.2.1,5.1.2.2 |
6.2 | |
|
闸板包胶 |
J_____ |
— |
5.1.4 |
6,3 |
|
强度、功能扭矩 |
√ |
— |
5.2.1,5.2.2 |
6.4 |
|
材料 |
√ |
— |
5.4 |
6.5 |
|
涂层 |
√ |
— |
5. 5. 4 |
6. 6 |
|
卫生 |
△ |
— |
5.6 |
6.7 |
|
壳体强度 |
√ |
√ |
5.7 |
6.8 |
|
密封 |
√ |
√ |
5.8 |
6. 9 |
|
低压密封 |
√ |
√ |
5.9 |
6. 10 |
表2 (续)
|
检验项目 |
型式检验 |
出厂检验 |
要求条款 |
方法条款 |
|
齿轮箱防护 |
√ |
— |
5. 10 |
6.11 |
|
耐久性 |
— |
5. 11 |
6.12 | |
|
注1: 表示应检验的项目,“一"表示无需检验的项目。表示用于城镇供水管道卫生要求的需要检验。 注2:出厂检验的低压密封试验,可抽样选取,最少1台。 | ||||
7. 1.3检验规则
在同一型号规格的一批闸阀中随机抽取最少基数3台,抽样数1台,进行型式检验。5. 7条和5. 8 条为质量否决项,其中一项不合格,即判定为不合格,其余项目中,有一项不符合要求时,应在审查工艺 等基础上用两倍数量的样品对该项进行复检,复检时仍有一项不符合要求,则判定为型式检验不合格。
7.2 出厂检验
7.2. 1闸阀应逐台进行出厂检验,合格后方可出厂。
7.2.2闸阀进行出厂检验的项目,应符合表2的要求。
8标志和供货
8. 1闸阀标志应符合GB/T 1222。的规定。适用于不大于80 °C热水、饮用水管道的闸阀,应在“卫生 要求,,一栏中标明“可用于饮用水管道,,字样。
8. 2闸阀出厂应附有产品合格证及质保书,质保书应表明产品标准依据,主要零部件材料,试验报告和 质保期等项目内容。闸阀的包装、运输、贮存应符合JB 8531的规定。
8.3检测完毕后,应在闸阀进出水端口加装临时用封盖。
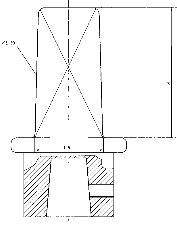
附录A
(资料性附录)
暗杆型闸阀、明杆型闸阀及主要结构尺寸
A. 1暗杆型闸阀(整体式)见图A.1。
说明:
1---阀体;
2— —闸板骨架;
3— —闸板包胶;
4— —闸板螺母§
5— —阀杆;
6---阀盖;
7——卡环;
8---轴盖J
9— —手轮;
10— —防尘圈;
11---密封函J
12——密封圈;
13--阀盖密封圈o
图A. 1暗杆型闸阀(整体式)
A. 2暗杆型闸阀(分体式)见图A.2。
说明:
1— —阀体;
2— —闸板骨架;
3--闸板包胶;
4——闸板螺母;
5 --阀杆;
6 ---阀盖J
7 --轴盖;
8—手轮S
9 密封函;
10— —密封圈;
11— —密封圈;
12--阀盖密封圈;
13——螺栓。
图A.2暗杆型闸阀(分体式)
说明:
1---阀体;
2——闸杆骨架;
3 闸板包胶;
4——闸板螺母;
5 --阀杆;
6 ---阀盖;
7——支架;
8— —支架螺母;
9— —手轮;
10---轴盖;
11— 密封函;
12— —密封圈;
13--阀盖密封圈。
图A.3明杆型闸阀(整体式)
说明:
1— —阀体;
2— —闸板骨架;
3 --闸板包胶;
4 --闸板螺母;
5 --阀杆;
6 --阀盖;
7——支架;
8— —支架螺母;
9— —手轮;
IO---密封函;
11— —密封圈;
12— —阀盖密封圈;
13— —螺栓。
图A.4明杆型闸阀(分体式)
A. 5主要结构尺寸见表A. 1。
表A. 1主要结构尺寸 单位为毫米
|
公称尺寸 DN |
结构长度lλ |
阀体与阀盖最小壁厚b |
阀杆最小直径C |
最大高度 | ||||||
|
短系列 |
长系列 |
PN6 PNIO |
PNl 6 |
PN25 |
PN6 PNlo |
PNl 6 |
PN25 |
暗杆型H |
明杆型HI | |
|
50 |
178 |
250 |
6 |
6 |
7 |
18 |
18 |
18 |
380 |
420 |
|
65 |
190 |
270 |
6.5 |
6.5 |
7 |
18 |
18 |
18 |
410 |
500 |
|
80 |
203 |
280 |
6.5 |
6.5 |
8 |
20 |
20 |
20 |
460 |
570 |
|
100 |
229 |
300 |
7 |
8 |
8 |
20 |
24 |
24 |
540 |
670 |
|
125 |
254 |
325 |
7 |
8 |
9 |
22 |
28 |
28 |
610 |
820 |
|
150 |
267 |
350 |
7 |
8 |
10 |
24 |
28 |
28 |
670 |
920 |
|
200 |
292 |
400 |
8 |
9 |
11 |
28 |
32 |
32 |
780 |
1 120 |
|
250 |
330 |
450 |
9 |
10 |
12 |
28 |
36 |
36 |
890 |
1 380 |
|
300 |
356 |
500 |
9 |
11 |
14 |
36 |
38 |
40 |
990 |
1 590 |
|
350 |
381 |
550 |
11 |
12 |
16 |
36 |
38 |
44 |
1 110 |
1 800 |
|
400 |
406 |
600 |
14 |
15 |
17 |
40 |
40 |
50 |
1 240 |
1 990 |
|
450 |
432 |
650 |
14 |
15 |
— |
44 |
46 |
一 |
1 350 |
2 200 |
|
500 |
457 |
700 |
16 |
17 |
— |
50 |
50 |
— |
1 450 |
2 400 |
|
600 |
508 |
800 |
16 |
18 |
— |
50 |
50 |
— |
1 700 |
2 800 |
|
700 |
610 |
900 |
26 |
28 |
65 |
65 |
— |
1 850 |
3 200 | |
|
800 |
660 |
1 000 |
27 |
28 |
— |
65 |
65 |
— |
2 000 |
3 700 |
|
900 |
710 |
1 100 |
28 |
34 |
— |
70 |
70 |
一 |
2 400 |
4 000 |
,结构长度L的公差要求:公称尺寸≤DN25O时,公差为±2;公称尺寸>DN250~DN300时,公差为±3;公称尺 寸>DN500~DN800 时,公差为±4;
b阀体与阀盖最小壁厚数值仅适用于球墨铸铁QT 400-15、QT 450-IoO
C阀杆最小直径指阀杆与轴密封封圈配合处的直径。
咐录B (规范性附录) 试验扭矩
B. 1试验扭矩见表B. 1。
表B. 1试验扭矩要求
|
公称尺寸DN mm |
最小强度试验扭矩 N ∙ m |
最大功能试验扭矩 N ∙ m | ||
|
PN6 |
PNIO PN16 |
PN25 | ||
|
50 |
180 |
40 |
60 |
90 |
|
65 |
225 |
50 |
75 |
110 |
|
80 |
225 |
50 |
75 |
110 |
|
100 |
300 |
70 |
100 |
150 |
|
125 |
375 |
85 |
125 |
185 |
|
150 |
450 |
105 |
150 |
225 |
|
200 |
600 |
140 |
200 |
300 |
|
250 |
750 |
175 |
250 |
375 |
|
300 |
900 |
210 |
300 |
450 |
|
350 |
975 |
225 |
325 |
490 |
|
400 |
1 050 |
245 |
350 |
525 |
|
450 |
1 275 |
295 |
425 |
— |
|
500 |
1 575 |
365 |
525 |
— |
|
600 |
2 400 |
560 |
800 |
— |
|
700 |
2 790 |
770 |
930 |
— |
|
800 |
3 000 |
875 |
1 000 |
— |
|
900 |
3 300 |
980 |
1 100 | |
附录C (规范性咐录) 传动帽
C. 1传动帽见图C.1。
传动帽主要尺寸
|
公称尺寸∕mm |
A | |
|
DN5O~DN3OO |
63 |
35 |
|
≥DN350 |
75 |
48 |
图C. 1传动帽
咐录D
(资料性附录) 闸阀材料要求
D. 1闸阀材料要求见表D.1。
表D. 1闸阀材料要求
|
零件名称 |
材料名称 |
材料标准 |
材料牌号 |
|
阀体 |
球墨铸铁 |
GB/T 12227 |
QT 400-15,QT 450-10,QT 500-7 |
|
阀盖和轴封压圈 |
球墨铸铁 |
GB/T 12227 |
QT 400-15,QT 450-10,QT 500-7 |
|
旁通附件 |
球墨铸铁 |
GB/T 12227 |
QT 400-15,QT 450-10,QT 500-7 |
|
轴封套或轴封函 |
铸造青铜 |
GB/T 12225 |
ZCUSn5Pb5Zn5 ,ZCuAllOFeS |
|
铸造黄铜 |
GB/T 20078 |
CuZn36Pb2As(代号 CW602N) | |
|
闸板骨架 |
球墨铸铁 |
GB/T 12227 |
QT 400-15,QT 450-10,QT 500-7 |
|
铸造青铜 |
GB/T 12225 |
ZCUSn5 Pb5 Zn5, ZCuAllOFeS | |
|
锻造黄铜 |
GB/T 20078 |
CUZn36Pb2As(代号 CW6O2N) | |
|
闸板包胶 |
合成橡胶 |
GB/T 21873 |
EPDM |
|
闸板螺母 |
铸造青铜 |
GB/T 12225 |
ZCUSn5Pb5Zn5, ZCUAlIOFe3 |
|
锻造黄铜 |
GB/T 20078 |
CuZn36Pb2As(代号 CW602N) | |
|
阀杆 |
不锈钢 |
GB/T 1220 |
20Crl3(代号 S42020),06Crl9NilO(代号 S30408) |
|
传动帽和手轮 |
球墨铸铁 |
GB/T 12227 |
QT 400-15,QT 450-10,QT 500-7 |
|
紧固件 |
碳钢 |
GB/T 3098.1 |
性能等级8.8,12.9 |
|
不锈钢 |
GB/T 3098. 6 |
奥氏体钢A2,A4 | |
|
垫圈 |
合成橡胶 |
GB/T 21873 |
CR,NBR,EPDM(66〜75 IRHD) |
|
O型密封圈 |
合成橡胶 |
GB/T 21873 |
CR,NBR,EPDM(66〜75 IRHD) |
附录E (资料性附录) 齿轮箱传动比
E. 1齿轮箱传动比见表E.1。
表E. 1齿轮箱传动比
|
公称尺寸DN/InnI |
400 |
500 |
600 |
700 |
800 |
900 |
|
最小传动比 |
2 : 1 |
2 ɪ 1 |
3 : 1 |
3 : 1 |
4 =■ 1 |
4 : 1 |
中华人民共和国城镇建设
行业标准
给水排水用软密封闸阀
CJ/T 216—2013
*
中国标准出版社出版发行 北京市朝阳区和平里西街甲2号(IoOOI3) 北京市西城区三里河北街16号(100045)
网址 WWW. spc, net. Cn
总编室:(Olo)64275323 发行中心:(010)51780235
读者服务部:(010)68523946
中国标准出版社秦皇岛印刷厂印刷 各地新华书店经销
*
开本880X1230 1/16 印张1.5 字数38千字 2013年9月第一版2013年9月第一次印刷
*
书号:155066 • 2-25843 定价 24.00 元
如有印装差错由本社发行中心调换 版权专有侵权必究
CJ/T 216-2013 举报电话= (010)68510107
打印日期:2013年9月18日F009