1 03. 220. 30 0
CJ/T 414—2012
TeChniCal requirements Of aluminum-steel COndUCtOr rail for Urban rail transit
12-12-06 发布
2013-04-01 实施
前言...................................................................................................................
1 范围........................................ •••••••....................................................................
2规范性引用文件......................... ……....................................................................
3术语和定义.......................................*...................................................................
4材料....................................................................................................................
5规格....................................................................................................................
6要求....................................................................................................................
7检验规则和试验方法............................................................................................
8标志、包装、运输和贮存............................................................................................
9质量保证与质量证明书..............................................................................................
附录A (规范性附录)钢铝复合轨结构型式.....................................................................
附录B (规范性附录)钢铝复合轨和主要零部件的试验方法..................................................................
本标准按照GB/T 1. 1-2009给出的规则起草。
本标准由住房和城乡建设部标准定额研究所提出。
本标准由住房和城乡建设部城市轨道交通标准化技术委员会归口。
本标准负责起草单位:北京市地铁运营有限公司、北京市轨道交通建设管理有限公司。
本标准参加起草单位:天津天重中直科技工程有限公司、中铁电气化局集团宝鸡器材有限公司、中 ⅛t气化勘测设计研究院有限公司、无锡市金七星工贸有限公司、铁道部产品质量监督检验中心、北京 获线路公司、天津市地下铁道运营有限公司、中铁建电气化局集团科技有限公司、新誉集团有限公司、 丄市金桥铝型材厂有限公司、中铁二院工程集团有限责任公司、中铁电气化局集团宝鸡接触网器材检 中心有限公司、中铁建第四勘察设计院、瑞泰潘得路铁路技术(武汉)有限公司、扬州天宝电气集团、南 苒京浦镇车辆有限公司、南京赛彤铁路电气化有限公司、上海浦帮机电制造有限公司。
本标准参加起草人员:李胜利、孙京健、宋杰、马景良、朱晓军、李雷、梁柏成、赵金凤、温玮玲、 亠英、孙传福、许佩林、袁昊、邓甲录、刘一峥、丁祥大、张志锋、张治国、周求定、郭春霞、冯跃、李金华、 牽、朱胜利、邹策、常素良、高嵩、刘岗、乔道生、王爱武、孙立国、王进、杨波、胡文斌、刘实、杨亚平、 击军、袁振国。
范围
本标准规定了城市轨道交通钢铝复合导电轨的术语和定义、材料、规格、要求、检验规则和试验方 ,标志、包装、运输和贮存、质量保证与质量证明书等。
本标准适用于城市轨道交通牵引供电系统钢铝复合导电轨的设计、生产、试验、检验和验收等。
规范性引用文件
下列文件对于本文件的应用是必不可少的。凡是注日期的引用文件,仅注日期的版本适用于本文 ,凡是不注日期的引用文件,其最新版本(包括所有的修改单)适用于本文件。
GB/T 93标准型弹簧垫圈
GB/T 95 平垫圈C级
GB/T 97.1 平垫圈 A 级(GB/T 97. 1—2OO2,eqv ISO 7089:2000)
GB/T 191包装储运图示标志
GB/T 228.1金属材料 拉伸试验 第1部分:室温试验方法
GB/T 231.1金属材料 布氏硬度试验 第1部分:试验方法
GB/T 709热轧钢板和钢带的尺寸、外形、重量及允许公差
GB/T 1220不锈钢棒
GB/T 1804 一般公差未注公差的线性和角度尺寸的公差
GB/T 2040铜及铜合金板材
GB/T2100 一般用途耐蚀钢铸件
GB/T 2101型钢验收、包装、标志及质量证明书的一般规定
GB/T 2828.1计数抽样检验程序 第1部分:按接收质量限(AQL)检索的逐批检验抽样计划
GB/T 2829周期检验计数抽样程序及表
GB/T 3098. 6紧固件机械性能不锈钢螺栓、螺钉和螺柱
GB/T 3098. 15紧固件性能 不锈钢螺母
GB/T 3190变形铝及铝合金的化学成分
GB/T 4237不锈钢热轧钢板和钢带
GB/T 5231加工铜及铜合金化学成分和产品形状
GB/T 6414铸件尺寸公差与机械加工余量
GB/T 6892 一般工业用铝及铝合金挤压型材
GB/T 10125 人造气雾腐蚀试验 盐雾试验(GB/T 10125—1997,eqv ISO 9227:1990)
GB/T 10411城市轨道交通直流牵引供电系统
GB/T 14846铝及铝合金挤压型材尺寸偏差
GB/T 16474变形铝及铝合金牌号表示方法
GB/T 16475变形铝及铝合金状态代号
GB/T 17505 钢及钢产品交货一般技术要求(GB/T 17505—1998,eqv ISO 404:1992)
GB/T 19001 质量管理体系 要求(GB/T 19001—2008 ,ISO 9001 : 2008 ,IDT)
GB/T 21562轨道交通 可靠性、可用性、可维修性和安全性规范及示例(GB/T 21562-20∣
IEC 62278:2002,IDT)
GB 50157地铁设计规范
TB/T 1677电气化铁道牵引供电系统术语
TB/T 2073电气化铁路接触网零部件技术条件
TB/T 2074电气化铁路接触网零部件试验方法
3术语和定义
TB/T 1677界定的以及下列术语和定义适用于本文件。
3. 1
钢铝复合导电轨 aluminum-steel COndUCtOr rail
钢铝复合导电轨是城市轨道交通牵引网中的供电轨,由钢铝复合轨、普通接头、膨胀接头、端⅞l 头、电缆连接板、中心锚结、连接组件等构成。
3.2
钢铝复合轨 aluminum-steel rail
用于城市轨道交通的导商装置,由接触面的不锈钢带与轨本体的铝合金型材复合成的一个整体
3.3
普通接卖:bolted joint
用于钢羸复合轨的轨与卸之间进行莲接并传导电能的装置。
3. 4
膨胀接头;expansion joints
用于相靡羸段中间设立的机械断口,使其两侧的钢铝复合轨可沿着纵向中心线自由热胀冷缩王 持电流通畅,并'能使列车受流器不间断取电的装置。
3.5 '
导电轨夹板 COndUCtOr fishplate
用于钢铝复合轨的轨与轨之间起连接作用的夹板。
3.6
端部弯头ramp ’
用于保证车辆受流器可以平滑地过渡到钢铝复合轨水平接触面的装置。它的一端与钢铝复合封 行,另一端则弯曲成一定角度!以利于平滑过渡。按列车运行速度,可分为高速端部弯头和低速拜 弯头。
3.7
电缆连接板 cable terminals board
用于将电缆和钢铝复合轨进行连接的导电装置。
3.8
锚段 COiItaCt Iine SeCtiOnl
接触悬挂机械上独立的线段,段内无电气断口。
3.9
中 心锚结 Inid-POint anchor
该在接触悬挂锚段中部,防止两端补偿器向一侧滑动和缩小事故范围的装置。
3. 10
连接组件 COnneCted COmPOnentS
用于将导电轨夹板、膨胀接头、端部弯头与钢铝复合轨进行连接的紧固件,包括螺栓、螺母、平垫
簧垫圈、锥形垫圈等。
11
支撑跨距 insulation SPan
钢铝复合轨在铺设中相邻两个绝缘支撑点之间的距离。
12
标准定尺长度 Standard Iength
钢铝复合轨的标准制造长度。
材料
1钢铝复合轨
1. 1铝轨本体
1.1.1铝轨本体应选用铝镁硅合金或综合性能优于铝镁硅合金的材料制成。材料的牌号表示方法、 态代号应符合GB/T 16474、GB/T 16475的规定。
1.1.2耐腐蚀性不应低于6101B T6铝镁硅合金材料的规定。
1. 1.3化学成分、性能应符合GB/T 3190.GB/T 6892的规定。
1.2不锈钢带
1.2. 1不锈钢带宜选用符合国家或国际标准的IoCrl7优质铁素体不锈钢材料或O6Crl9NilO优质 氏体不锈钢材料,也可选用综合性能优于这两者的其他材料。
1.2.2化学成分、性能应符合GB/T 4237的规定。
2导电轨夹板
2. 1导电轨夹板的材料要求应与4.1.1铝轨本体相同。
3电缆连接板
3. 1电缆连接板的材料要求应与4. 1. 1铝轨本体相同。
3.2电缆连接板应有铜铝过渡连接措施。
I端部弯头
Ll端部弯头的材料要求应与4.1钢铝复合轨相同。
5中心锚结
5. 1 I型中心锚结的材料要求应与4.1.1铝轨本体相同。
).2 ∏型中心锚结应采用ZGOCrl8Ni9不锈钢材料,也可选用综合性能优于它的不锈钢材料,其化 我分和性能应符合GB/T 2100的规定。
)膨胀接头
1膨胀接头的材料要求应与4.1钢铝复合轨相同。
).2膨胀接头导电连接零部件应采用T2铜材料,化学成分应符合GB/T 5231的规定,性能应符合 √T 2040的规定。
4.7连接组件
4. 7.1螺栓应采用O6Crl9NilO不锈钢材料,化学成分应符合GB/T 1220的规定,性能应符 GB/T 3098. 6 的规定。
4.7.2 螺母应采用12Crl8Ni9不锈钢材料,化学成分应符合GB/T 1220的规定,性能应符 GB/T 3098.15 的规定。
4. 7. 3平垫圈应采用12Crl8Ni9不锈钢材料,性能应符合GB/T 95或GB/T 97.1的规定。
4. 7.4弹簧垫圈应采用12Crl8Ni9不锈钢材料,性能应符合GB/T 93的规定。
4. 7. 5.螺栓、螺母强度等级不应低于A2-70级,应采取防松措施,且螺纹之间应抗粘连。
5规格
5. 1钢铝复合轨
5. 1. 1结构型式
钢铝复合轨的结构型式分为钢铝嵌入式、钢包铝式和钢铝融合式等,见附录A。
5. 1.2剖面外形
钢铝复合轨的剖面外形主要有工字型。外形不同不应影响钢铝复合轨的产品功能、基本原理、伯 指标等参数的基本相同。
5. 1.3尺寸
钢铝复合轨标准定尺长度宜为18 m或15 m,其他长度要求可由供需双方商定。
5.1.4结构图
钢铝复合轨结构图见图Io
图1钢铝复合轨结构示例图
5.2普通接头
普通接头外形结构见图2。
400
3膨胀接头
膨胀接头分I型和H型两种,外形及主要尺寸见图3( I型膨胀接头参考示例图)和图4( ∏型膨胀 头参考示例图)。
F=I中
50 , 100
BL
图3 I型膨胀接头参考示例图
5.4端部弯头
端部弯头分高速和低速两种,高速端部弯头适用于正线,低速端部弯头适用于车场线,外形及主 尺寸见图5(高速端部弯头参考示例图)和图6(低速端部弯头参考示例图)。

图5高速端部弯头参考示例图

图6低速端部弯头参考示例图
5电缆连接板
电缆连接板分I型和II型两种,外形及主要尺寸见图7( I型电缆连接板参考示例图)和图8( II型 缆连接板参考示例图)。
— 400 _ ,
|
― IoO _ — 100 100 亠 70 |
— | |||||||||||||
|
_ |
______ |
____ |
____ | |||||||||||
|
— |
— |
— |
_z |
≡" |
二 |
{ | ||||||||
|
— |
— |
— |
二 |
一 |
V 1 1 | |||||||||
|
. 80 一 |
, 80 、 |
20 |
「 80 . | |||||||||||
图7 I型电缆连接板参考示例图
说明:
1- —接地挂环;
2— —铝板;
3--T2铜排
图8 II型电缆连接板参考示例图
5中心锚结
中心锚结分I型和II型两种,外形及主要尺寸见图9( I型中心锚结参考示例图)和图10( II型中心 结参考示例图)。
图9 I型中心锚结参考示例图
图10 U型中心锚结参考示例图
5.7约定原则
钢铝复合轨及零部件的结构型式、外形、尺寸等参数可由供需双方约定。本标准以工字型钢铝复 轨为参考示例,而钢铝复合轨及零部件的结构型式、外形、尺寸等参数不限于图中所示,但应符合本标 的规定。
6要求
6. 1钢铝复合轨
6.1.1基本要求
6. 1. 1.. 1钢铝复合轨通用技术条件应符合GB 50157、GB/T 10411和GB/T 21562的规定,同时宜 合TB/T 2073中的相关规定。
1. 1. 2钢铝复合轨的不锈钢带与铝轨本体结合处的缝隙不应大于O. 1 mm,缝隙长度不应大于 mmo
1. 1.3钢铝复合轨之间、钢铝复合轨与膨胀接头之间、钢铝复合轨与端部弯头之间,通过导电轨夹板 接后,接缝处间隙应小于2 mm,左右错牙应小于0.5 mm,其接触面的高度差应小于0. 2 mm0
1. 1.4钢铝复合轨在支撑跨距5 m的情况下,在其中心点加载1 500 N的集中载荷,所产生的挠度 小于或等于7 InmO当卸载后,钢铝复合轨应恢复到初始状态。
1. 1.5钢铝复合轨安装防护罩后由自重产生的挠度应小于或等于3 mmo
1.2制造工艺
1.2. 1铝轨本体应采用铝坯挤压成型,并经过淬火、人工时效、切断、张力矫直等工序。
1.2.2不锈钢带应采用滚压成型。
1.2.3钢铝结合型式可采用钢铝嵌入式结构、钢包铝式结构或钢铝融合式结构。
1.3外观要求
1.3. 1钢铝复合轨表面应光滑、平整、清洁,不应有裂痕、砂眼、压折、划伤等缺陷。
1.3.2每件钢铝复合轨上的划伤不应超过3处,划伤长度不应超过100 mm,划伤宽度不应超过
nm;划伤深度:不锈钢带不应超过0.2 mm,铝合金本体不应超过0. 5 mmo
1.3.3每2 m范围内不应出现2个以上的砂眼。标准长度单位产品上的砂眼不应超过3处。
1.3.4钢铝复合轨在施工现场切割后其切口表面应光滑、无毛刺,不锈钢带应无卷边,材料应无退火 象,能够与其他导电轨或端部弯头可靠连接,且性能指标不应发生变化。
1.4允许公差
钢铝复合轨标准长度单位产品生产制造允许公差要求应符合GB/T 709λGB∕T 1804和 VT 14846的规定,制造允许公差见表Io
表1钢铝复合轨标准长度单位产品制造允许公差表
|
号 |
项目 |
单位 |
允许公差 |
备注 |
|
1 |
高度 |
mm |
±0. 5 | |
|
2 |
孔径 |
mm |
+ 0. 27 0 | |
|
3 |
孔距端头距离 |
mm |
士 0.2 | |
|
4 |
长度 |
mm |
+ 10 0 |
室温 |
|
5 |
平面度 |
mm |
0.4 |
最高点与最低点之间距离 |
|
6 |
直线度 |
mm |
4 |
曲线段的同弧线度,标准长度下的两端之间的 最大差值_________________ |
|
7 |
扭转 |
mm |
4 |
标准长度下两端面之间对应角的最大差值 |
|
8 |
端面与轴线的垂直度 |
(°) |
0. 6 | |
|
9. |
平行度 |
mm |
1 |
在任意断面,上顶面与下底面的平行度要求 |
|
.0 |
结合缝隙(铝与钢带结合面) |
ɪnm |
^ 0. 1 |
缝隙长度不应大于10 mm |
|
.1 |
钢带厚度 |
mm |
±0.2 |
6.1.5技术参数
钢铝复合轨主要技术性能和参数应符合表2的规定。
表2钢铝复合轨主要技术性能和参数表
|
参数名称 |
单位 |
技术指标 |
备注 | ||||
|
3000 A 型 |
4000 A 型 |
4500 A 型 | |||||
|
持续载流量 |
A |
≥3 000 |
≥4 000 |
≥4 500 |
环境温度40 0C ,4 h,轨温V85 | ||
|
60秒钟的峰值电流 |
A |
≥10 OOO | |||||
|
3秒钟动稳态电流 |
A |
≥60 OOO | |||||
|
轨长 |
mm |
18 OOO 或 15 OOO | |||||
|
轨高 |
mm |
105 | |||||
|
轨腰 |
mm |
≥12 | |||||
|
轨底宽 |
mm |
80 | |||||
|
工作温度 |
OC |
-45~÷85 | |||||
|
标称截面 |
铝轨 |
mm2 |
≥3 850 |
≥4 500 |
≥4 800 | ||
|
钢带 |
mm2 |
≥460 |
≥460 |
≥550 | |||
|
整体 |
mm2 |
4 400+y |
5 050+io° |
5 350+殴 | |||
|
截面允许公差范围 |
% |
+ 1.2 0 |
+ 2.0 0 |
+ 2.0 0 | |||
|
单位重量 |
kg/m |
15 |
17 |
18 | |||
|
单位重量允许公差 |
% |
±3. 0 |
±3.0 |
±3.0 | |||
|
接触面表面硬度 |
HB |
≥150 |
附录B. 1.5 | ||||
|
接触表面粗糙度 |
μτn |
jRα≡≤6. 3 | |||||
|
钢带厚度 |
mm |
≥4.8 | |||||
|
钢带有效接触面宽 |
mm |
≥65 | |||||
|
20°C直流电阻 |
铝轨 |
μQt∕m |
≤8.4 |
≤7.2 |
≤6.6 | ||
|
钢带 |
μΩ∕m |
≤1.31 | |||||
|
整体 |
μ∩∕m |
≤8. 3 |
≤7.1 |
≤6.5 | |||
|
2()°C钢铝接触电阻 |
Mɑ/ɪn |
≤30 |
≤30 |
≤30 | |||
|
自身电感 |
fχH∕km |
900 | |||||
|
线路电感 |
μH∕km |
1 150 | |||||
|
电阻温度系数 |
μW∕°C |
≤0. 004 | |||||
|
线性膨胀系数 |
l∕κ |
20×10^6 |
20. 6×1O^6 |
21 ×10^6 |
附录B. 1.8 | ||
|
温升-机械强度 |
OC |
4 h,轨温W85 |
附录B. 1.12 | ||||
|
磨耗量 |
mm/70万次 |
≤0. 05 |
附录B.1.7 | ||||
|
最小允许弯曲半径 (水平方向) |
m |
50 | |||||
表2 (续)
|
参数名称 |
单位 |
技术指标 |
备注 |
|
3000 A 型 4000 A 型 4500 A 型 | |||
|
最小人工弯曲半径 (水平方向) |
m |
IOO | |
|
钢铝结合性能 |
.kN |
沿线路方向抗拉力NlO 垂直轨面方向抗拔力215 |
长度60 mm钢铝复合轨所能抵 抗的最大荷载,见附录B.1.6 |
|
疲劳试验 |
次 |
载荷 1.5±0.45 kN, 5×105,无破损、无分离 |
5×105次疲劳后,无破损、塑性 变形、钢铝剥离等现象,见附录 B. 1.10 |
2普通接头
2. 1基本要求
2. 1. 1普通接头通用技术要求宜符合TB/T 2073的规定。
2.1.2普通接头应与钢铝复合轨腰面紧密接触连接,载流量不应低于钢铝复合轨载流量的1.1倍。
2.2制造工艺
普通接头应采用挤压工艺成型再经机械精加工制造工艺制成,未注加工尺寸公差应符合 VT 18O4-m的规定。
2.3外观要求
表面应光滑、平整、清洁,不应有裂纹、压折、划伤等缺陷;划伤深度不应超过0.5 mm,划伤个数不 大于1处。
2.4允许公差
普通接头单位产品生产制造允许公差要求应符合GB/T 1804和GB/T 14846的规定,制造允许公 见表3。
表3普通接头单位产品制造允许公差表
|
序号 |
检验项目 |
单位 |
尺寸 |
允许公差 |
备注 |
|
1 |
长度 |
mm |
400 |
±0.5 |
. 或按设计要求 |
|
2 |
厚度 |
mm |
≥30 |
±0.24 |
主要尺寸 |
|
3 |
孔直径 |
mm |
设计值 |
+0.27 O |
主要尺寸 |
|
4 |
孔距 |
mm |
IOO |
±0.4 |
主要尺寸 |
|
5 |
孔距端部距离 |
mm |
50 |
±0.2 |
2.5技术参数
普通接头主要技术性能及参数应符合表4的规定。
表4普通接头主要技术性能表
|
参数名称 |
单位 |
技术指标 |
注 | ||
|
3000 A 型 |
4000 A 型 |
4500 A 型 | |||
|
持续载流量 |
A |
≥3 300 |
≥4 400 |
≥4 950 |
4 h,轨温V85 0C |
|
20 °C时过渡电阻 |
μ∩∕m |
≤8.14 |
≤6.6 |
≤6. 5 | |
|
中间接头抗拉强度 |
MPa |
≥215 |
本体 | ||
|
疲劳试验 _____________________________________________________________ ! |
次 |
载荷1.5±0. 45 kN, 5 XlO5疲劳试验, 应无破损、无分离 |
5 X IO5次疲劳试验后,丿 无破损、无塑性变形: 现象 | ||
6.3膨胀接头 !
6.3. 1基本要求
6. 3.1.1膨胀接头通用技术要求宜符合TB/T 2073的规定。
6. 3. 1.2膨胀接头应保证电气性能的连续性,载流量不应低于钢铝复合轨载流量的L 2倍;电流连 器的载流量不应低于膨胀接头载流量的O∙ 6倍。
6. 3. 1. 3膨胀接头各部件M间不应发生电化学腐蚀。
6.3. 1.4膨胀接头的长度应:按设计要求,膨胀接头的伸缩量为200 mm;在使用环境条件下,结构本 应保证轨条的自由伸缩补偿,其起始滑动力不应大于800 NO
6. 3. 1.5膨胀接头的螺栓、螺母强度等级不应低于A2-70级,紧固件应有防松措施且具有螺纹之间 粘连能力。
6.3. 1.6膨胀接头应便于装卸,宜考虑防盗措施。
I
6.3.2制造工艺
I
6.3.2. 1膨胀接头左、中、右三块轨本体应采用同一根钢铝复合轨线切割而成,制造工艺应与6.1.2 铝复合轨相同。 I
6. 3. 2. 2左右滑轨、中间轨斜角的加工尺寸公差应符合GB/T 1804-m的规定。
6. 3. 2. 3电流连接器未注加工尺寸公差应符合GB/T 1804-m的规定。纯铜零件表面应镀银或镀4 镀层应含铉,镀层厚度不应小于6 μmo
6. 3. 2„ 4不锈钢垫圈应符合GB/T 97.1的规定。
6.3.3外观要求
表面应光滑、平整、清洁,不应有裂纹、压折、划伤等缺陷;划伤深度应小于0. 5 mmO
6.3.4允许公差
膨胀接头单位产品生产制造允许公差要求应符合GB/T 1804和GB/T 14846的规定,制造允许 差见表5。
表5膨胀接头单位产品生产制造允许公差表
|
序号 |
检验项目 |
单位 |
尺寸 |
允许公差 |
备注 | |
|
1 |
轨高度 一 |
mm |
105 |
±0.5 | ||
|
2 |
膨胀接头长度 |
设计值 |
士 2 |
宜5 m | ||
|
3 |
电流连接器接触间隙 |
无间隙 | ||||
|
4 |
中间轨的结构尺寸 |
孔距 |
设计值 |
±0.5 |
主要尺寸 | |
|
孔直径 |
设计值 |
.+0.27 0 |
主要尺寸 | |||
|
角度 |
15° |
±0. 5° |
或按设计要求 | |||
|
5 |
两端轨的结构尺寸 |
孔距端部距离 |
50 |
±0.2 | ||
|
孔距 |
100 |
±0.2 |
主要尺寸 | |||
|
长孔尺寸 |
R8. 5X100 |
+ 0. 27 0 | ||||
|
孔直径 |
设计值 |
+ 0.27 0 |
主要尺寸 | |||
|
6 |
电流连接器结构尺寸 |
按设计要求 |
设计值 | |||
3.5技术参数
膨胀接头主要技术性能及参数应符合表6的规定。
表6膨胀接头主要技术性能和参数表
|
参数名称 |
单位 |
技术指标 |
备注 | ||
|
3000 A 型 |
4000 A 型 |
4500 A 型 | |||
|
持续载流量 |
A |
≥3 600 |
≥4 800 |
≥5 400 |
环境温度40 °C ,4 h,轨温<85 OC |
|
20 °C时过渡电阻 |
μΩ∕m |
≤8.14 |
≤6. 6 |
≤6. 5 | |
|
抗拉强度 |
MPa |
≥215 |
本体 | ||
|
起始滑动力 |
N |
≤800 | |||
|
温升-机械强度 |
OC |
4 h,轨温£85 |
附录B. 1.12 | ||
4端部弯头
4. 1基本要求
4. 1. 1端部弯头通用技术条件宜符合TB/T 2073的规定。
4. 1. 2端部弯头的斜率应与车辆的行驶速度相匹配,低速端部弯头宜采用1 : 30的坡度或按设计要 ,适用于车速不大于35 km/h;高速端部弯头宜采用1 : 50的坡度或按设计要求,适用于车速不大于 0 km/hO
4.2制造工艺
4.2.1端部弯头制造工艺应与6.1. 2钢铝复合轨相同。
13
6.4.2. 2端部弯头的预弯豁口宜采用专用成型刀具铳削成型或水刀切割。
6.4. 2. 3端部弯头的零部件焊接应采用氫弧焊专用焊机进行加工,焊接后应清理接口。
6. 4.3外观要求
端部弯头外观要求应与6.1. 2钢铝复合轨的外观要求相同。
6.4.4允许公差
端部弯头单位产品生产制造允许公差要求应符合GB/T 709.GB/T 1804和GB/T 14846的规节 制造允许公差见表7。
表7端部弯头单位产品制造允许公差表
|
序号 |
项目 |
单位 |
允许公差 |
备注 |
|
1 |
~ 长度 |
Inm |
±5 | |
|
2 |
高度 |
mm |
±0.5 | |
|
3 |
孔直径 |
mtn |
+0. 27 0 | |
|
4 |
孔距 |
mm |
±0.2 | |
|
5 |
孔距端部距离 |
mm |
士 0.2 | |
|
6 |
平面度 |
mm |
0.4 |
钢带接触面平整度,同一平面最高点与最低,E 之间距离 |
|
7 |
扭转 |
mɪn |
2 |
标准长度下同一平面内两端面之间对应角白 最大差值 |
|
8 |
垂直度 |
(o) |
0. 6 |
端面与轴线 |
|
9 |
平行度 |
mm |
1 |
在任意断面上,上顶面与下底面的平行度要求 |
|
10 |
_____钢带厚度 |
mm |
±0.2 |
6. 4.5技术参数
端部弯头主要技术性能及参数应符合表8的规定。
表8端部弯头主要技术性能和参数表
|
参数名称 |
单位 |
技术指标 |
备注 | ||
|
3000 A 型 |
4000 A 型 |
4500 A 型 | |||
|
持续载流量 |
A |
≥3 600 |
≥4 800 |
≥5 400 |
环境温度40 °C ,4 h,轨温W85 ' |
|
抗弯性能 |
m |
100 |
最小人工弯曲半径(水平方向) 附录B.1.2 | ||
|
钢铝结合性能 |
kN |
沿线路方向抗拉力210 垂直轨面方向抗拔力215 |
长度60 mm所能抵抗的最大彳 载,附录B.1.6 | ||
|
疲劳试验 |
次 |
载荷 1.5土0.45 kN, 5×105,无破损,无分离 |
5×105次疲劳后,无破损、塑f 变形等现象 | ||
表8 (续)
|
参数名称 |
单位 |
技术指标 |
备注 |
|
3000 A 型 4000 A 型 4500 A 型 | |||
|
耐冲击性能 |
N |
在特定条件下进行模拟试验,整体应无 变形,无损坏 |
附录 B. 2.7.1 |
|
耐弧性能 |
在特定条件下进行模拟试验,整体应无 变形,无损坏,不锈钢带表面灼伤面积 不应大于10% |
附录 B. 2. 7. 2 | |
|
温升-机械强度 |
OC |
4 h,轨温<85 |
附录B. 1.12 |
|
钢铝间导电性能 |
μθ,∕m |
≤30 |
附录B. 1. 14 |
).5电缆连接板
).5. 1 基本要求
).5. 1. 1电缆连接板通用技术要求宜符合TB/T 2073的规定。
).5. 1.2电缆连接板应与钢铝复合轨腰面紧密接触连接,载流量不应低于钢铝复合轨载流量1.1倍。
).5. 1.3铝质电缆连接板与铜芯电缆的连接,应采取防止金属间电化学腐蚀的措施。
).5.2制造工艺
电缆连接板应采用挤压工艺成型再经机械精加工制造工艺制成,未注加工尺寸公差应符合 jB/T 1804-m 的规定。
1.5.3外观要求
表面应光滑、平整、清洁,不应有裂纹、压折、划伤以及焊接缺陷;划伤深度不应超过0. 5 mm0
>.5.4允许公差
电缆连接板单位产品生产制造允许公差要求应符合GB/T 1804.GB/T 6414和GB/T 14846的规 世,制造允许公差见表9。
表9电缆连接板单位产品生产制造允许公差表
|
序号 |
检验项目 |
单位 |
尺寸 |
允许公差 |
备注 |
|
1 |
长度 |
mm |
参照本标准5.5 |
土 0. 5 |
或按设计要求 |
|
2 |
厚度 |
mm |
≥30 |
±0.24 |
主要尺寸 |
|
3 |
孔直径 |
mm |
设计值 |
+0.27 O |
主要尺寸 |
|
4 |
孔距 |
mm |
设计值 |
±0.4 |
主要尺寸 |
|
5 |
孔距端部距离 |
mm |
设计值 |
±0.2 |
L 5. 5技术参数
电缆连接板主要技术性能和参数应符合表10的规定。
15
d)上次型式检验合格连续生产满5年。
7. 1.2.2型式检验应按型式检验项目表进行。
7. 1.2.3检验数量宜符合TB/T 2073的规定。
7. 1.2.4抽样方案应符合GB/T 2829的规定,采用周期检查计数抽样程序及抽样表确定一次抽样 方案。
7. 1.2.5型式检验抽样方案按表12进行。
表12型式检验抽样方案表
|
判断水平 |
不合格质量水平RQL |
抽样方案(njRn,Re) |
|
π |
A 类 40、B 类 65 |
4;0,1 |
a) 抽取样本数为15 m/种或18 m/种,应从2根或2根以上抽样。
b) 判定方案,夕条项点1];B类项点[5;1,2]、[6;2,3];综合判定3;0,1]。
7. 1.3出厂检專/ ,
7. 1.3. 1产嵬宙厂;映外观检验应实行全数检验,其他项目宜为抽査检验。
7. 1.3.2钢《复#蠢、冀通接头、电缆连接板、中心锚结宜1 000件作为一个批次,端部弯头、膨胀接头 宜loo件舊节一物次。'
7. 1. 3. 3串样⅛⅛应符合GB/T 2828. 1的规定,采用一般检验水平为∏的正常检验一次抽样方案。 机械性能茸验、值性能试验应取AQL=LO;主要尺寸检验应取AQL=2. 5;次要尺寸检验应取AQL= 4∙oθ I il
7. 1.4 别
a) &代草产键指标;
b) B⅛≡⅛关键指标。
7.2钢铝复容校 7.2.1钢铝复咎轨型式检验项目和试验方法按表13进行。
表13钢铝复合轨型式检验项目和试验方法表
|
序号 |
'⅛萸项目 |
项点类别 |
要求 |
试验方法 |
|
1 |
外观检验 |
B |
6.1.2 |
附录B. 1.1 |
|
2 |
主要尺寸检验 |
B |
6.1.4 |
附录B. 1.1 |
|
3 |
抗弯性能试验 |
A |
6.1.5 |
附录B. 1. 2 |
|
4 |
合金材料构成试验 |
A |
4.1.1,4.1.2 |
直读光谱分析 或手工化学分析 |
|
5 |
钢铝结合性能试验 |
A |
6.1. 5 |
附录B. 1. 6 |
|
6 |
疲劳试验 |
A |
6.1. 5 |
TB/T 2074 |
|
7 |
温升-机械强度试验 |
A |
6. 1.5 |
附录B. 1.12 |
|
8 |
挠度 |
A |
6.1. L4、6.1.1.5 |
附录B. 1. 3 |
|
9 |
耐磨性试验 |
A |
6.1.5 |
附录B. 1. 7 |
|
10 |
接触面表面硬度 |
A |
6.1.5 |
附录B. 1. 5 |
|
11 |
线性膨胀系数试验 |
A |
6.1.5 |
附录B.1.8 |
表13 (续)
|
序号 |
检验项目 |
项点类别 |
要求 |
试验方法 |
|
12 |
20°C直流电阻 |
A |
6.1.5 |
附录B.1.9 |
|
13 |
钢铝之间导电性能试验 |
A |
6.1.5 |
附录B. 1.14 |
|
14 |
直流电阻(单根钢铝复合导电轨和不少 于3根以上连接后钢铝复合导电轨) |
A |
6.1.5 |
TB/T 2074 |
|
15 |
电感(不少于3根以上连接后钢铝复合 导电轨) |
A |
6.1.5 |
附录B. 1.13 |
|
16 |
电阻温度系数试验 |
A |
6.1.5 |
TB/T 2074 |
|
17 |
盐雾试验 |
A |
GB/T 10125 |
附录B. 1.11 |
7.2.2钢铝复合轨出厂检验项目和试验方法按表14进行。
表14钢铝复合轨出厂检验项目和试验方法表
|
序号 |
检验项目 |
项点类别 |
要求 |
试验方法 |
|
1 |
外观检验 |
B |
6.1.∙2 |
附录B. 1.1 |
|
2 |
主要尺寸检验 |
B |
6.1.2 |
附录B.1.1 |
|
3 |
合金材料构成试验 |
A |
4.1.1,4.1.2 |
直读光谱分析 或手工化学分析 |
|
4 |
钢铝结合性能试验 |
A |
6.1.5 |
附录B. 1. 6 |
|
5 |
挠度 . |
A |
6.1.1.4,6.1.1. 5 |
附录B.1.3 |
|
6 |
接触面表面硬度 |
A |
6.1.5 |
附录B. 1. 5 |
|
7 |
直流电阻(单根钢铝复合导电轨和不少 于3根以上连接后钢铝复合导电轨) |
A |
6.1.5 |
TB/T 2074 |
7.3普通接头 7. 3. 1普通接头型式检验项目和试验方法按表15进行。
表15普通接头型式检验项目和试验方法表
|
序号 |
检验项目 |
项点类别 |
要求 |
试验方法 |
|
1 |
外观检验 |
B |
6.2.3 |
附录B. 2.1 |
|
2 |
主要尺寸检验 |
B |
6.2.4 |
附录B.2.1 |
|
3 |
抗拉强度试验 |
A |
≥215 MPa |
GB/T 228.1 |
|
4 |
疲劳试验 |
A |
6.2.5 |
附录B.2. 3 |
|
5 |
螺栓机械性能 |
A |
4.7.1 |
GB/T 3098. 6 |
|
6 |
螺母机械性能 |
A |
4.7.2 |
GB/T 3098.15 |
|
7 |
20Q时过渡电阻 |
A |
6.2.5 |
附录B. 1.15 |
|
8 |
温升-机械强度试验 |
A |
6.2.1.2 |
附录B. 2.5 |
7. 3.2普通接头出厂检验项目和试验方法按表16进行。
表16普通接头出厂检验和试验方法表
|
序号 |
检验项目 |
项点类别 |
要求 |
试验方法 |
|
1 |
外观检验 |
B |
6. 2.3 |
附录B. 2.1 |
|
2 |
主要尺寸检验 |
B |
6.2.4 |
附录B. 2.1 |
|
3 |
抗拉强度试验 |
A |
≥215 MPa |
GB/T 228.1 |
|
4 |
螺栓机械性能 |
A |
4. 7.1 |
GB/T 3098. 6 |
|
5 |
螺母机械性能 |
A |
4. 7.2 |
GB/T 3098.15 |
|
6 |
20C时过渡电阻 |
A |
6.2.5 |
附录B. 1.15 |
7.4膨胀接头 7.4.1膨胀接*型式检验项目和试验方法按表17进行。
表17膨胀接头型式检验项目和试验方法表
|
序号 |
Il // 检验项目 |
项点类别 |
要求 ’ |
试验方法 |
|
1 |
I f 外观检验 |
B |
6. 3. 3 |
附录B. 2.1 |
|
2 i |
!f 主要尺寸检验 _____________________________f ; '_____________________________________________________________________________ |
B |
6.3.4 |
附录B. 2.1 |
|
3 1 |
L 起始滑动力试验 |
A |
6. 3.1.4 |
TB/T 2074 |
|
4 |
A 膨胀接头抗拉强度试验 |
A |
≥215 MPa |
GB/T 228. 1 |
|
5 |
\\ W 疲劳试验 |
A |
同 6.1. 5 |
附录B. 2. 3 |
|
6 |
\\ 項升-机械强度试验 |
A |
6. 3.1. 2 |
附录B. 2.5 |
|
7 |
\\钢由之间导电性能试验 |
A |
同 6.1. 5 |
附录B. 1.14 |
7.4.2膨胀接头出厂检验项目和试验方法按表18进行。
表18膨胀接头出厂检验项目和试验方法表
♦ /
|
序号 |
检验项目 |
项点类别 |
要求 |
试验方法 |
|
1 |
外观检验 |
B |
6.3.3 |
附录B. 2.1 |
|
2 |
主要尺寸检验 |
B |
6.3.4 |
附录B. 2.1 |
|
3 |
起始滑动力试验 |
A |
6. 3. 1. 4 |
TB/T 2074 |
|
4 |
温升-机械强度试验 |
A |
6. 3.1. 2 |
附录B. 2.5 |
|
5 |
钢铝之间导电性能试验 |
A |
同 6. 1. 5 |
附录B. 1.14 |
7.5端部弯头
7. 5. 1端部弯头型式检验项目和试验方法按表19进行。
表19端部弯头型式检验项目和试验方法表
|
序号 |
检验项目 |
项点类别 |
要求 |
试验方法 |
|
1 |
外观检验 |
B |
6.4.3 |
附录B. 2.1 |
|
2 |
主要尺寸检验 |
B |
6.4.4 |
附录B. 2.1 |
|
3 |
抗弯性能试验 |
A |
6.1.1.4 |
附录B.1.2 |
|
4 |
钢铝结合性能试验 |
A |
同 6.1. 5 |
附录B. 1. 6 |
|
5 |
耐冲击试验 |
A |
6.4. 5.3 |
附录 B. 2. 7.1 |
|
6 |
耐弧性能试验• |
A |
6.4.5.4 |
附录 B. 2. 7. 2 |
|
7 |
疲劳试验 |
A |
同 6.1. 5 |
附录B. 2. 3 |
|
8 |
温升-机械强度试验 |
A |
同 6.1. 5 |
附录B. 2. 5 |
|
9 |
钢铝之间导电性能试验 |
A |
同 6.1. 5 |
附录B. 1. 14 |
7.5.2端部弯头出厂检验项目和试验方法按表20进行。
表20端部弯头出厂检验项目和试验方法表
|
序号 |
检验项目 |
项点类别 |
要求 |
试验方法 |
|
1 |
外观检验 |
B |
6.4.3 |
附录B. 2.1 |
|
2 |
主要尺寸检验 |
B |
6.4.4 |
附录B. 2.1 |
|
3 |
钢铝结合性能试验 |
A |
同 6.1. 5 |
附录B. 1. 6 |
|
4 |
钢铝之间导电性能试验 |
A |
同 6.1. 5 |
附录B. 1. 14 |
7.6电缆连接板
7.6. 1电缆连接板型式检验项目和试验方法按表21进行。
表21电缆连接板型式检验项目和试验方法表
|
序号 |
检验项目 |
项点类别 |
要求 |
试验方法 |
|
1 |
外观检验 |
B |
6. 5. 3 |
附录B. 2.1 |
|
2 |
主要尺寸检验 |
B |
6.5.4 |
附录B. 2.1 |
|
3 |
抗拉强度试验 |
A |
≥215 MPa |
GB/T 228.1 |
|
4 |
螺栓机械性能 |
A |
4.7.1 |
GB/T 3098. 6 |
|
5 |
螺母机械性能 |
A |
4.7.2 |
GB/T 3098.15 |
|
6 |
20 °C直流电阻 |
A |
6. 5. 5 |
附录B. 1. 9 |
|
7 |
温升-机械强度试验 |
A |
6. 5.1. 2 |
附录B. 2. 5 |
7. 6. 2电缆连接板岀厂检验项目和试验方法按表22进行。
表22电缆连接板出厂检验项目和试验方法表
|
序号 |
检验项目 |
项点类别 |
要求 |
试验方法 |
|
1 |
外观检验 |
B |
6.5.3 |
附录B. 2.1 |
|
2 |
主要尺寸检验 |
B |
6.5.4 |
附录B. 2.1 |
|
3 |
抗拉强度试验 |
A |
≥215 MPa |
GB/T 228.1 |
|
4 |
螺栓机械性能 |
A |
4.7.1 |
GB/T 3098. 6 |
|
5 |
螺母机械性能 |
A |
4.7.2 |
GB/T 3098. 15 |
|
6 |
20°C直流电阻 |
A |
6.5.5 |
附录B. 1. 9 |
7.7中心锚结
7. 7. 1中心锚结型式检验项目和试验方法按表23进行。
表23中心锚结型式检验项目和试验方法表
|
序号 |
检验项目 |
项点类别 |
要求 |
试验方法 |
|
1 |
外观检验 |
B |
6.6.3 |
附录B. 2.1 |
|
2 |
主要尺寸检验 |
B |
6.6.3 |
附录B. 2.1 |
|
3 |
抗拉强度试验 |
A |
≥215 MPa |
GB/T 228. 1 |
|
4 |
滑移荷重(II型) |
A |
≥3 kN |
TB/T 2074 |
|
5 |
螺栓机械性能 |
A |
4.7.1 |
GB/T 3098. 6 |
|
6 |
螺母机械性能 |
A |
4. 7.2 |
GB/T 3098. 15 |
7.7.2中心锚结出厂检验项目和试验方法按表24进行。
表24中心锚结出厂检验项目和试验方法表
|
序号 |
检验项目 |
项点类别 |
要求 |
试验方法 |
|
1 |
外观检验 |
B |
6.6.3 |
附录B. 2.1 |
|
2 |
主要尺寸检验 |
B |
按设计值 |
附录B. 2.1 |
|
3 |
抗拉强度试验 |
A |
≥215 MPa |
GB/T 228.1 |
|
4 |
滑移荷重(H型) |
A |
≥3 kN |
TB/T 2074 |
|
5 |
螺栓机械性能 |
A |
4. 7.1 |
GB/T 3098. 6 |
|
6 |
螺母机械性能 |
A |
4.7.2 |
GB/T 3098.15 |
7.8试验方法
钢铝复合轨和主要零部件的试验方法按附录B进行。
8标志、包装、运输和贮存
8. 1钢铝复合轨的标志应符合GB/T 2101的规定,包装、运输和贮存应符合GB/T 191的规定。
8.2标志
8.2. 1在每根钢铝复合轨一侧的轨腰上应有永久标志。
8.2.2标志内容为制造厂标志、产品型号及序列号、制造日期、件号等。
8.2.3在轨的一个端面头部宜贴上标签。
8.2.4无标志或标志不清无法辨认时,不应交货。
8.3包装
a) 产品包装应保证产品在运输过程中,不致因包装不良而破损。
b) 产品应釆用木包装。
C)钢铝复合轨在使用之前应单根包装,且轨与轨之间用隔离件隔开。
8.4运输
产品在运输过程中,不应有剧烈振动、撞击。
8.5贮存
a) 产品应在平整地方存放,堆放不应超过五层。
b) 在存放过程中不应受外力撞击。
C)应避免接触酸、碱等腐蚀性物质。
9质量保证与质量证明书
9. 1质量体系
供方应采用经国家质量认证机构认证审核,并符合GB/T 19001规定的质量管理体系。
9.2质量保证期限
9.2.1钢铝复合导电轨在供需双方约定的年度内,供方应保证产品无质量缺陷。若在此期间钢铝复V 导电轨由于断裂或其他缺陷不能使用时,供需双方人员应在现场进行实物的抽查,必要时进行实验驾 检验。
9. 2.2钢铝复合导电轨交货后的质量保证期限由供需双方协商确定。
9.3质量证明书
钢铝复合导电轨的验收、质量证明书应符合GB/T 2101的规定,交货宜符合GB/T 17505的规定 并附有供方质量检验部门开具的质量证明书,内容应包括:
a) ⅛l造厂名称、地址、联系方式;
b) 需方名称、地址、联系方式;
C)轨型;
d) 合同号;
e) 标准号;
f) 牌号;
g) 数量、长度;
h) 轧机号;
i) 本标准规定的各项检验结果;
j) 出厂日期。
附录A
(规范性附录) 钢铝复合轨结构型式
A. 1钢铝嵌入式结构见图A.1
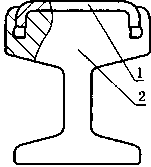
说明:
1— —不锈钢带;
2— —铝轨本体。
图A. 1钢铝嵌入式结构示例图
a) 铝轨本体采用铝坯挤压成型,并经过淬火、人工时效、切断、张力矫直等工序。 不锈钢带釆用滚压成型。
b) 铝轨本体与不锈钢带采用三向应力成型装置系统机械复合成型。
A.2钢包铝式结构见图A. 2
说明:
1— —不锈钢带;
2— —铝轨本体。
图A.2钢包铝式结构示例图
a) 铝轨本体采用铝坯挤压成型,并经过淬火、人工时效、切断、张力矫直等工序。
b) 不锈钢带釆用滚压成型的方法制成两个“J”形。
C)将两个“J”形钢带分别钩在铝轨本体两侧,对钢带的顶面和侧面同时加压,使其与铝本体密贴, 并使两个“J”形钢带的顶面处于一个平面内;在保证以上工装状态条件下,通过专用自动焊机 将两个“J”形钢带的接缝焊合后,佻削焊缝至设计尺寸并调直、时效处理成型。
A. 3钢铝融合式结构见图A. 3
说明:
1— —不锈钢带;
2— 铝轨本体。
图A.3钢铝融合式结构示例图
a) 铝轨本体采用铝坯挤压成型,并经过淬火、人工时效、切断、张力矫直等工序。
b) 不锈钢带釆用滚压成型。
C)铝轨本体与不锈钢带共同放到挤压机模具的“焊接腔”内,使不锈钢带和铝质轨体在高温、高E 下生成一种金属结合体。
附录B
(规范性附录)
钢铝复合轨和主要零部件的试验方法
1钢铝复合轨 9.1.1尺寸及外观检查
尺寸检查应在专用平台上进行,使用分辨率为0. 02 mm游标卡尺、高度尺及分辨率为1 mm钢卷 己。外观检查以目测为主,必要时使用放大倍数为10倍的放大镜。
L1.2抗弯性能
\\ ' 图B. 1抗弯变形量示例图
\\ '、
a) 钢铝聂合破抗弯测量是为验证其能否满足小曲线半径的工况而进行的。首先根据钢铝复合轨 的具体逾,苗曲半径,计算出复合轨应变形到的弓高戒然后糊宀根完整的钢铝复合轨两端 通过工装羊具客蠢,例面向上,支撑的高度大于复合轨的变形量,且两端高度一致。用液压加 力装置在跨帝孙载,复合轨受压后开始变形,通过高度尺测畫其变形量,持续加载直至中心线 的变形量达到计賛的变形量力为止,试样不应开裂,卸载后不应有永久变形。
b) 圆实线部分为钢铝复合轨弯曲后的形状,如图B. 1所示。根据几何学原理,变形量h按式 (B.1)计算:
A=K(I-COSy) ..............................( B. 1 )
式中:
。=*(弧度);
h 弓高;
R——弯曲半径;
L——钢铝复合轨长。
.1.3挠度
钢铝复合轨两端通过复合绝缘子或绝缘支座支撑,保证两端高度一致,以液压加力装置按规定的力 值在跨中加载,加载面为复合轨不锈钢带面,通过高度尺测量复合轨的变形量即为挠度。
a) 钢铝复合导电轨挠度试验应在试验平台上进行,按使用工作状态安装,釆用支点法,跨距D 5 mo
b) 分别测量支点高度和钢铝复合导电轨跨距中心高度,导电轨的自然挠度不应大于3 mm。
C)在跨距中心部位施加1 500 N集中荷载,保荷5 min,铝复合导电轨跨距中心挠度不应大T 7 ɪnmO卸载后进行测量,导电轨应无塑性变形。
B. 1.4材料抗拉强度
从钢带和铝轨部分分别切取材料,加工为标准试样,应按照GB/T 228.1规定的方法进行。
B. 1.5布氏硬度
在钢铝复合轨的不锈钢带表面上测量,应按照GB/T 231.KGB/T 4237规定的方法进行。
B.1.6钢铝结合性能
钢铝复合轨的结合力分为沿线路方向和垂直轨面方向两种:
a) 沿线路方向:从整条钢铝复合轨上截取60 mm长样品,通过截面与不锈钢带一致的工装直扌 测试。试验机加载使钢带和铝轨间产生相对滑动时的力值即为沿线路方向的结合力。
b) 垂直轨面方向:从整条钢铝复合轨上截取60 mm长样品,按照要求把铝轨从中间铤掉一部匕 (截面形状如图B. 2所示),从铝轨腰部打孔以便安装卡具。试验时,将试样装在专用卡具上 试验机加载使钢带和铝轨间产生相对滑动时的力值即为垂直轨面方向的结合力。
图B.2钢铝复合轨截面形状示例图
B. 1.7耐磨性
磨耗性能在磨耗试验机上进行。
B. 1.7. 1试验条件
a) 受流器与钢铝复合导电轨的接触压力按GB 50157的规定为120 N~180 N;
b) 试验电流500 A,厂家或委托方另有要求的除外;
C)试验速度80 km/h;
d)使用的对偶摩擦件为铜合金或渗碳合金板。
B. 1.7.2钢铝复合執磨耗比
磨耗试样尺寸见图B. 3。
图B.3钢铝复合轨磨耗试样尺寸示例图
磨耗前用电'子天平测量复合轨质量mɪ ,经过70万次磨耗后,再次测量复合轨质量m2;测量磨耗以 后钢铝复辱轨业磨耗面积'S,按式(B. 2)计算磨耗比:
. TnI — Tn2
(B.2 )
式中:\\ Y
i --磨耗比
WI--窿有前质零;
磨耗寿枣冨
磨耗奴
P ——不锈钢密崖:
m2
S
B. 1.7.3模拟失效试验
模拟失效试验方法:将B. 1. 7.2试验后的25 Cm长的试样固定在饨床上,说去平面上的钢带,观察 其残余厚度为1 mm后的情况,此时残余不锈钢带不应与铝轨分离。.
B. 1.8线性膨胀系数
取Im钢铝复合轨(两端在切割时要求平整),在室温下用游标卡尺测量复合轨长度,并记录环境 温度值,然后将轨完全放入100 °C恒温设备中保持1.5 h,取出测量复合轨长度及轨上温度,按式(B. 3) 计算线性膨胀系数:
P- ITL Iq
ZO(TJ-TO)
(B.3 )
式中:
h--温升后轨长;
ZO——室温下轨长;
Tl——温升后温度值;
TO--室温值。
B. 1.9 20 1C时直流电阻
电阻测试采用四端法,测试电流由恒流源提供,为消除电源变化引起的测量误差,分别选取不同白 电流值进行测量,然后取其平均值。试验时,测点均放在铝轨上,测点距离为1 m,用高精度电压表分另 读取标准电阻和测点两端的电压,按式(B. 4)计算电阻值:
Rx = (Ux∕Un)Rn ..............................( B. 4
式中:
R×——被测量的电阻值;
UX——被测量两端的电压;
UN—-标准电阻两端的电压;
JRN 标准电阻。
B. 1. 10 疲劳试验
试验应在专用的疲劳试验机上进行,两支撑点间的距离为5 000 mm,在钢铝复合轨的中间位置买 直加载,载荷分为静载荷及动载荷,动载荷为正弦波并叠加在静载荷上,构成有限次压一一压疲劳,试马 过程允许短时中断。
B. 1. 11盐雾试验
盐雾试验应符合GB/T 10125的规定,盐雾试验时间为120 h。
B. 1. 12温升试验
a) 将钢铝复合轨安装在支持绝缘子上,两端用电连接线夹与母线连接。
b) 在5 m复合轨的中间位置,然后在距轨两端至少1.5 m处的钢带、铝轨腰部,铝轨底面粘贴多 电偶,将热电偶补偿端浸入0. 00 °C冰桶中,记录环境温度T及各测点温度,然后施加额定冃 流(直流),持续4 h,通过数据采集仪每隔15 min采集温度值。
C)将5 m长钢铝复合轨及组成部件安装在支持绝缘子上,两端用电缆连接板与母线连接,分别7 钢带、铝轨腰部,铝轨底面粘贴热电偶,通过热电偶测量温度。•
d)试验时首先记录环境温度T及各测点温度,然后施加额定电流(直流),每半小时测量一次£ 度,连续测量三次温度,三次温差不超过1 °C时的平均温度值作为该点的实测稳态温度。
B. 1. 13 电感
测试设备为电感测试仪。
用感应法或电桥法测量3 m长的钢铝复合轨两端的电感值。
B. 1.14钢铝之间导电性能试验
a) 取Im长的导电轨,采用四端法测量电阻,测试电流由恒流源提供。
b) 为消除电源变化引起的测量误差,分别选取不同的电流值进行测量,然后取平均值。
C)试验时,测点分别放在距端头500 mm的钢带、铝轨本体同一截面上下对应点。
d)用高精度电压表分别读取标准电阻和测点两端的电压,按式(B. 4)计算电阻值:
RX = (UX/UQRn ............................(B.4
式中:
RX——被测量的电阻值;
UX--被测量两端的电压;
UN ——标准电阻两端的电压;
RN --标准电阻。
L 1.15过渡电阻
a) 在普通接头两侧距离1 m处的钢铝复合轨铝型材底部,按B. 1. 9所示方法测得的电阻为普通 接头过渡电阻。
b) 在膨胀接头两侧距离2 m处的钢铝复合轨铝型材底部,按B. 1. 9所示方法测得的电阻的二分 之一为膨胀接头过渡电阻。
L 2主要零部件
i. 2. 1尺寸及外观检查
同 B. 1.10
L 2.2抗拉强度
应按照GB/T 228. 1规定的方法进行。
L 2.3疲劳试验
试验应在专用的疲劳试验机上进行。通过普通接头将钢铝复合轨与膨胀接头连接,将锚结接头加 芝在钢铝复合轨上,以复合绝缘子在两端固定整个钢铝复合轨组成部件系统。两支撑点间的距离为 OOO mmo在膨胀接头的中间位置按规定垂直加载,载荷分为静载荷及动载荷,动载荷为正弦波并叠 口在静载荷上,构成有限次压——压疲劳。试验过程允许短时中断。
.2. 4盐雾试验
同 B. 1.110
.2.5温升试验
a) 将5 m长的钢铝复合轨及其零部件安装在支持绝缘子上,两端用电缆连接板与母线连接。
b) 在钢铝复合轨及其零部件的中间位置,在膨胀接头的钢带、铝轨腰部、铝轨底面、普通接头、电 缆连接板处粘贴热电偶,通过热电偶测量温度。
C)试验时,首先记录环境温度T及各测点温度,然后施加额定电流(直流),每半小时测量一次温 度,连续测量三次温度,三次温差不超过1 °C时的平均温度值作为该点的实测稳态温度。
.2.6螺栓抗拉强度试验
a) 将螺栓安装在夹具上,螺母必须旋满,超出部分不少于1个完整螺纹。
b) 接通试验机电源,调零后开始加载。
C)在加载过程中,50%抗拉强度以内加载速度不做规定,超过50%抗拉强度后,按每分钟15%抗 拉强度加载速度直至破坏,记录力值。
.2.7端部弯头耐冲击和耐弧性能试验
a)在平直的走行轨内侧距轨700 mm±5 mm处安装端部弯头,端部弯头平直部分的轨面距走行
轨轨面 140 mm±5 mmo
b)将受流器安装在具有驱动性能的试验车上,通过调整安装高度保证受流器与钢铝复合轨之I〕 的压力为180 NO
C)驱动试验车以100 km/h的速度通过端部弯头部分,在规定的次数后,检査端部弯头的整体纟 形情况,观测钢带表面磨损情况等。
B. 2. 7. 1 耐冲击试验
在车速100 km/h、动态压力180 N的条件下,进行动态冲击模拟试验,对端部弯头进行外力反复7 击100次,检査端部弯头的整体变形情况,应无变形,无破坏。
B.2.7.2 耐弧性能试验
在电流1 000 A、车速100 km/h、动态压力180 N的条件下,进行动态燃弧模拟试验,对端部弯头i 行耐弧试验IoO次,整体无变形,无破坏,不锈钢带表面灼伤面积不大于10%。
中华人民共和国城镇建设
行业标准
城市轨道交通钢铝复合导电轨技术要亍
CJ/T 414—2012
*
中国标准出版社出版发行 北京市朝阳区和平里西街甲2号(IOoOI3) 北京市西城区三里河北街16号(100045)
网址 WWW. spc. net. Cn
总编室:(010)64275323 发行中心:(010)5178< 读者服务部:(010)68523946
中国标准出版社秦皇岛印刷厂印刷 各地新华书店经销
*
开本880X1230 1/16 印张2.25 字数58 2013年6月第一版 2013年6月第一次印月
*
书号:155066 • 2-25112 定价 33.00 元
如有印装差错由本社发行中心调换 版权专有侵权必究
举报电话= (010)68510107
打印日期:2013年6月13日F009