ICS 91.140.60
P 41
CJ/T 235—2017 代替 CJ/T 235 2006
VertiCaI Iong Shaft PIlInP
2017-11-27 发布
2018-05-01 实施
本标准按照GB/T 1.1 2009给出的规则起草。
本标准代替CJ/T 235 2006≪立式长轴泵》。与CJ/T 235 2006相比,主要技术变化如下: 修改了主要零件材料要求,材料牌号符合GB/T 20878的规定(见6.4,2006年版的5.4); 对试验方法按要求做了修改,泵振动标准,由 WT 8097修改为GB/T 29531;泵噪声标准,由 JB/T 8098修改为GB/T 29529(见第7章,2006年版的第6章); 对检验规则按要求作了修改,增加出厂检验和型式检验项目表(见第8章,2006年版的第7章); 增加消防用立式长轴泵的相关要求。
本标准由住房和城乡建设部标准定额研究所提出。
本标准由住房和城乡建设部建筑给水排水标准化技术委员会归口。
本标准起草单位:湖南耐普泵业股份有限公司、卧龙电气南阳防爆集团股份有限公司、襄阳世阳电 机有限公司、辽宁省水利水电勘测设计研究院、中国电建集团中南勘测设计研究院有限公司、福建省东 霖建设工程有限公司。
本标准主要起草人:周红、彭智新、龙翔、陈双喜、乔建伟、唐同兵、高仁超、阎秋霞、张强、林振聪。 本标准所代替标准的历次版本发布情况为:
CJ/T 235 2006。
学兔兔 www.bzfxw.com
1范围
本标准规定了立式长轴泵(以下简称泵)的术语和定义、型式与参数、要求、试验方法、检验规则、标 志、包装、运输和贮存等。
本标准适用于输送介质温度不高于80 °C的清水、海水、物理性质类似于清水或含有少量固体颗粒 的其他液体的泵和消防泵。
2规范性引用文件
下列文件对于本文件的应用是必不可少的。凡是注日期的引用文件,仅注日期的版本适用于本文 件。凡是不注日期的引用文件,其最新版本(包括所有的修改单)适用于本文件。
GB/T 307(所有部分)滾动轴承
GB/T 528硫化橡胶或热塑性橡胶拉伸应力应变性能的测定
GB/T 531.1硫化橡胶或热塑性橡胶 压入硬度试验方法 第1部分:邵氏硬度计法(邵尔硬度)
GB/T 699优质碳素结构钢
GB/T 700碳素结构钢
GB/T 1348球墨铸铁件
GB/T 1569 圆柱形轴伸
GB/T 1689硫化橡胶耐磨性能的测定(用阿克隆磨耗试验机)
GB/T 2100 一般用途耐蚀钢铸件
GB/T 2828.1 2012计数抽样检验程序 第1部分:按接收质量限(AQL)检索的逐批检验抽样 计划
GB/T 3181 2008漆膜颜色标准
GB/T 3216 2016回转动力泵 水力性能验收试验1级、2级和3级
GB/T 3512硫化橡胶或热塑性橡胶热空气加速老化和耐热试验
GB 6245消防泵
GB/T 9112钢制管法兰类型与参数
GB/T 9239.1 2006机械振动恒态(刚性)转子平衡品质要求第1部分:规范与平衡允差的 检验
GB/T 9439 灰铸铁件
GB/T 11352 一般工程用铸造碳钢件
GB/T 13006离心泵、混流泵和轴流泵汽蚀余量
GB/T 13007 离心泵效率
GB/T 13008 2010混流泵、轴流泵技术条件
GB/T 13306 标牌
GB/T 13384机电产品包装通用技术条件
GB/T 20878不锈钢和耐热钢牌号及化学成分
GB/T 29529 2013泵的噪声测量与评价方法
CJ/T 235—2017
GB/T 29531 2013泵的振动测量与评价方法
JB/T 4297泵产品涂漆技术条件
JB/T 6879离心泵铸件过流部位尺寸公差
JB/T 6913泵产品清洁度
HG/T 2198硫化橡胶物理试验方法的一般要求
3术语和定义
下列术语和定义适用于本文件。
3.1
长轴 Iong Shaft
三个及以上支承点的单根轴或多根轴组成的串联轴系。
3.2
立式长轴泵 vertical IOng Shaft PUnIP
立式安装的长轴式空间导叶泵。
3.3
最小淹没深度 minimum SUbmerge depth
从泵吸入口到液面的最小距离。
4型式、结构与参数
4.1型式
4.1.1按拆装型式分为:
a) 转子部件可抽出式;
b) 转子部件不可抽出式。
4.1.2按叶轮结构分为:
a) 闭式;
b) 半开式;
C)开式。
4.1.3按叶轮种类分为:
a) 离心式;
b) 混流式;
C)轴流式。
4.1.4按叶轮级数分为:
a) 单级;
b) 多级。
4.1.5按叶片调节型式分为:
a) 固定式;
b) 半调节式;
C)全调节式。
4.1.6按传动方式分为:
a) 立式原动机直接传动;
b) 卧式原动机经转角齿轮箱传动。
CJ/T 235—2017
4.1.7按泵出口相对于安装基础位置分为:
a) 泵出口在安装基础之上;
b) 泵出口在安装基础之下。
4.1.8按推力承受方式分为:
a) 泵承受推力;
b) 电机承受推力。
4.1.9按安装基础数分为:
a) 单基础;
b) 双基础■
4.2结构
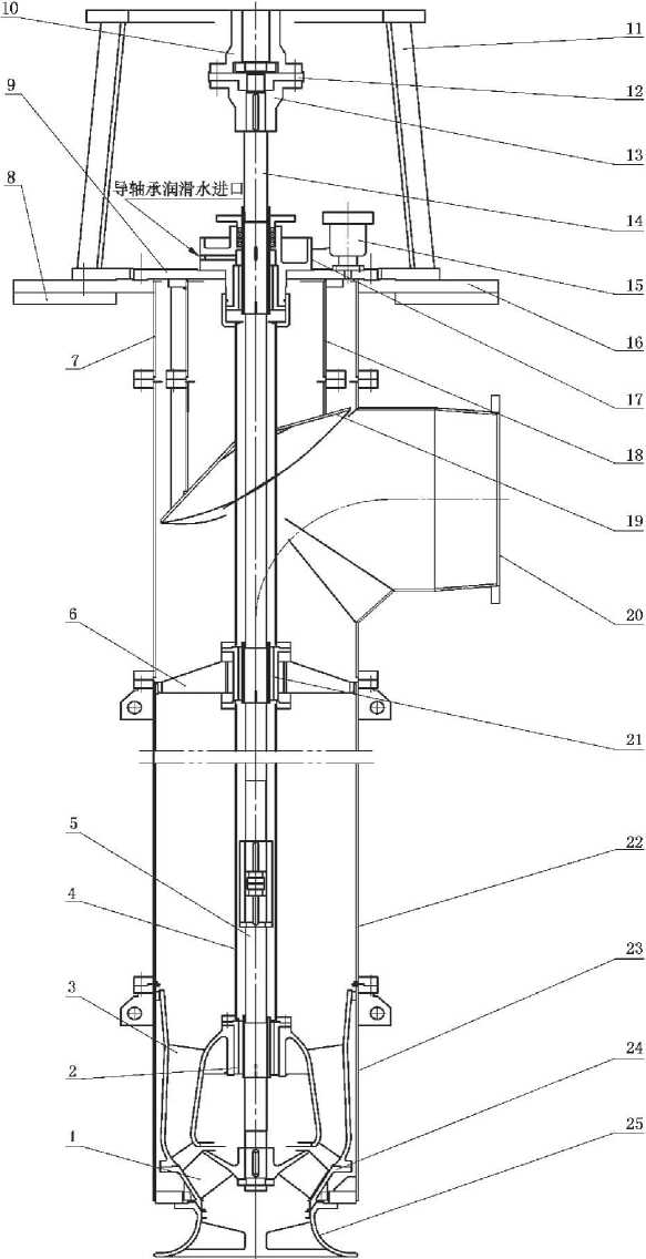
结构示意图见图L图2„
4.3参数
泵参数范围:流量为30 m3∕h~7O OOO m3∕h;扬程为7 m~200 m
CJ/T 235—2017
|
7 — |
—次级导叶体; |
13— |
—吐出弯管; |
|
8 - |
一外接管下; |
14— |
一电机支架; |
|
9 - |
—导轴承中; |
15— |
一泵联轴器; |
|
lO- |
一轴承支架; |
16— |
一电机联轴器; |
|
ll— |
一外接管上; |
17— |
一推力轴承部件 |
|
12— |
一安装垫板; |
18— |
—填料函体部件 |
闭;式多囊真心,叶箝、泵出口,在塞装基础之上:寥承受推力《
19— —i⅛⅛>s
20— —中间联轴器
21— —主轴中;
22---主轴下;
23——密封珞
⅛,
图1结构TF意图
说明:
|
1 一 |
一叶轮; |
8 — |
一安装垫板; |
14— |
一主轴上; |
20— |
—吐出弯管; |
|
2 - |
—导轴承下; |
9 — |
—泵盖板; |
15— |
一排气阀; |
21— |
一导轴承中; |
|
3 一 |
一导叶体¥ |
lO- |
一电机联轴器; |
16— |
一泵支撑板; |
22— |
一外接管中; |
|
4 一 |
一内接管下; |
ll— |
一电机支架: |
17— |
一填料函体部件; |
23— |
一外接管下; |
|
5 - |
—主轴下 |
德一 |
一调整螺母; |
18— |
一导流片接管; |
24— |
—叶轮室; |
|
6 一 |
—轴承支架; |
13— |
一泵联轴器亍 |
19— |
—导流片; |
25—— |
一吸入喇叭口 O |
7——外接管上;
注:转子部件可抽出式、半开式单级混流叶轮、泵出口在安装基础之下、电机承受推力。
CJ/T 235—2017
5 —般规定
5.1泵应按经规定程序批准的图样和技术文件制造。
5.2泵应确保使用寿命不少于20年,易损件除外,连续运行时间应不少于1年。
5.3买方应明确设备的正常工况点和额定工况点以及任何其他预期的工况点。
5.4泵应满足在不低于1.05倍额定转速下连续运转;在紧急条件下,应满足在高速驱动机的自停转速 下运转2 mirIa
5.5原动机应符合以下要求:
a) 原动机可采用电动机、柴油机、汽轮机等,容量应满足规定的最大工作条件,包括轴承损失、密 封损失、外部齿轮箱损失和联轴器损失。原动机应能在规定条件下可靠运行。
b) 以电动机为原动机时,电动机额定功率应符合图3的规定。
140
130
120
110
次、Hφ∙ms⅛目亲咪町膨賃W框M
泵轴瑜華ZkW
图3原动机功率与泵轴功率百分比
5.6临界转速应符合以下要求:
第一临界转速应符合式(1)的规定:
式■中:
n 泵最大允许连续转速,单位为转每分钟(r/min);
nci 第一临界转速,单位为转每分钟(r/niin)。
5.7叶轮应符合以下要求:
a) 叶轮可采用闭式、半开式或开式;
b) 闭式叶轮宜为整体铸件,采用焊接组合叶轮时应经买方同意;
C)开式叶轮叶片可采用固定式、半调节式或全调节式;
d) 叶轮应可靠固定在轴上,防止产生径向和轴向移动;
e) 需要在现场调整叶轮轴向间隙时,应采用外部调整的方法。
5.8间隙应符合以下要求:
a)密封环间运转间隙可根据工作条件和材料确定,对于铸铁、青铜、经硬化处理的11%〜13%铭 钢以及类似材料,最小直径运转间隙应符合表1的规定。易产生嵌入的材料,宜在上述运转间 隙上直径再加0.13 mm(J
表1运转间隙 单位为毫米
|
密封环直径 |
密封间隙 |
密封环直径 |
密封间隙 |
|
≤75 |
0.25 |
>460 〜520 |
0.70 |
|
>75 〜IIO |
0.30 |
>520 〜580 |
0.75 |
|
>110 〜140 |
0.35 |
>580 〜640 |
0.80 |
|
>140 〜180 |
0.40 |
>640 〜780 |
0.90 |
|
>180 〜220 |
0.45 |
>780 〜900 |
1.00 |
|
>220 〜280 |
0.50 |
>900 〜1 000 |
1.10 |
|
>280 〜340 |
0.55 |
>1 000—1 200 |
1.30 |
|
>340 〜400 |
0.60 |
>1 200—1 400 |
1.50 |
|
>400 〜460 |
0.65 |
>1 400—1 600 |
1.70 |
b)开式叶轮外圆与壳体间隙应均匀,直径方向的最大间隙应符合以下规定:
1) 叶轮直径小于1 Ooo mm时,为叶轮直径的1.5/1 000;
2) 叶轮直径大于1 OOO mπι~2 000 mm时,为2 mm;
3) 叶轮直径大于2 000 mm时,为叶轮直径的1/1 000;
4) 半径方向的最小间隙不小于直径方向最大间隙的40%,@
5.9轴和轴套应符合以下要求:
a) 泵轴应有足够的刚度,在轴挠度计算时,不应考虑填料的支承作用;
b) 轴的总挠度在密封环和衬套处应小于最小直径间隙的1/2;
C)泵运行期间,由径向载荷引起填料函体处轴的挠度不应超过50 μm;
d) 泵轴上的螺纹旋向应确保轴旋转时,使螺母处于拧紧状态。轴应保留中心孔;
e) 轴伸尺寸应符合GB/T 1569的规定;
f) 填料盒处轴套与轴间应密封,防止轴与轴套间泄漏;
g) 装填料的轴套端部应伸到填料压盖外;
h) 轴套外表面应经磨削光滑,粗糙度不应低于1.6。
5.10轴承应符合以下要求:
a) 滚动轴承应按GB/T 307的规定执行。
b) 滚动轴承温升不应超过环境温度35 OC ,且最高温度应不高于75 OC O
C)承受推力的轴承和轴承室应按炷类润滑油设计。
d) 润滑油液位高度应位于推力轴承滚珠高度的1/2或2/3处。
e) 泵运行时,轴承室内的润滑油不允许形成抛物面,应在轴承室内上下循环对轴承喷淋润滑。
f) 在轴穿过轴承室处,应装有可靠的非接触式密封,防止漏油及杂物进入轴承室内。
g) 轴承室应与外界大气相通,保持轴承室内压力和大气压相同及热空气向外界排出。
h) 轴承室应设有可拆卸的冷却水腔,供输送液体温度较高或环境温度较高时外接冷却水循环 冷却。
i) 轴承室应具备注油、排油、油位检测、温度检测等功能。
j) 水中导轴承宜采用橡胶或增强树脂塑料水润滑滑动轴承。橡胶导轴承性能应符合表2的 规定。
k) 常温下橡胶导轴承直径间隙可按式(2)计算:
式中:
6 轴承直径间隙,毫米(mm);
d 与轴承配合处轴套外径,毫米(mm)α
D 无外接润滑水源时,位于水线以上的轴承不应采用橡胶轴承,而应采用具有自润滑性能的 材料。
m)轴承的最大跨度,可根据泵转速、轴颈参见附录A査得。
表2橡胶导轴承性能
|
项目 |
性能指标 |
检验标准 |
|
抗张强度 |
>11.77 MPa |
HG/T 2198 GB/T 528 |
|
伸长率 |
>400% | |
|
永久变形 |
<40% | |
|
邵氏A硬度 |
65 〜75 |
GB/T 531.1 |
|
磨损 |
在磨耗试验机上试验时,小于700 Cm3∕(kW ∙ h) |
GB/T 1689 |
|
老化 |
温度为70 C时,在72 h内,老化系数大于0.8 |
GB/T 3512 |
|
比压 |
橡胶轴承比压不大于0.5 MPa |
— |
5.11轴封应符合以下要求:
a) 泵轴封宜采用填料密封。
b) 填料函体应设置向导轴承注入润滑水的孔。
C)采用填料时,填料函外应有足够空间,便于更换填料。
d) 填料函体内填料圈数,不应小于4圈,各圈接口应互相错开。
e) 泵设计时应最大限度减少填料函的压力,可在填料函外设置减压套和泄压管。
f) 填料函体应设置集液盘和排液管路。
g) 填料压盖及双头螺栓、螺母等零件应能防锈。
5.12联轴器及联轴器罩应符合以下要求:
a) 由原动机承受推力的,泵与原动机联接的联轴器应采用可调节刚性联轴器。
b) 由泵本身承受推力的,泵与原动机联接的联轴器应采用弹性柱销联轴器。
C)泵主轴之间的连接应采用刚性联轴器,联轴器应适用反转状态,方便拆卸。
d)联轴器罩应防止旋转零件与外界接触。
5.13安装垫板应符合以下要求:
安装垫板应有足够刚度,确保机组正常运行。
5.14滤网应符合以下要求:
a) 根据水质及买方要求,可设置滤网。
b) 滤网进水净面积不应小于吸入管断面面积的3倍,最大孔面积不应大于叶轮或导叶体最小流 道面积的75%句
C)无滤网时,应在进水流道入口处增设拦污栅。
5.15制造应符合以下要求:
a)铸件应符合以下要求:
D铸件不应有影响力学性能的铸造缺陷。
2) 铸件表面应清理干净,可采用喷砂、喷丸或其他方法,分型面的飞边或浇、冒口的残余均应 切除,使铸件表面齐平。
3) 铸造缺陷允许用焊接或其他工艺方法修补时,应符合有关标准的规定。承压铸件的渗透 漏和缺陷修补禁止采用塞堵、锤击、涂漆或浸渍等办法。铸件过流部位尺寸偏差应符合 JB/T 6879 或 GB/T 13008 2010 中 5.5.1.4 的规定。
b)装配应符合以下要求:
D泵零件应在检査合格和清洗干净后,方可装配。
2) 泵清洁度应符合JB/T 6913的规定。
3) 装配好的转子部件,径向跳动应符合表3的规定。
4) 零部件配合部位应保证互换,泵安装尺寸应与图样一致。
5) 适应于整台运输和现场安装的泵,应整台出厂。不能整台出厂时,应在厂内预装。预装后 相关零部件应作出标记。
6) 泵装配完后,转子应转动灵活。
表3径向跳动值 单位为毫米
|
泵型 |
部位 |
名义尺寸 |
名义尺寸 |
名义尺寸 |
名义尺寸 |
名义尺寸 |
名义尺寸 |
名义尺寸 |
|
≤50 |
>50 〜120 |
>120 〜260 |
>260 — 500 |
>500 〜800 |
>800〜1 250 |
>1 250 | ||
|
单级泵 |
叶轮密封环外圆 轴套外圆 |
0.05 0.04 |
0.07 0.06 |
0.08 0.07 |
0.09 0.08 |
0.13 |
0.16 |
O 20 |
|
多级泵 |
叶轮密封环外圆 轴套外圆 |
0.06 0.04 |
0.08 0.06 |
0.09 0.07 |
0.10 |
0.13 |
— |
— |
6要求
6.1性能
6.1.1泵性能参数应符合相应标准或订单的规定。性能偏差应符合GB/T 3216 2016中4. 5适用于 泵应用领域的默认试验验收等级的要求。消防泵性能参数应符合GB 6245的规定。
6.1.2制造厂应确定泵允许工作范围,并提供扬程、效率、轴功率、汽蚀余量与流量关系的性能曲线。
6.1.3叶轮可调式泵应提供叶片各安装角度的扬程、效率、轴功率、汽蚀余量与流量关系性能曲线。
6.1.4当更换一个较大直径的或不同水力设计的叶轮后,泵在额定转速和额定流量下,扬程至少应当 能够提高5%⅛
6.1.5泵效率应符合GB/T 13007的规定,比转数超出该范围的应符合协议或合同规定。
6.1.6 汽蚀余量应符合GB/T 13006的规定。
6.1.7泵最小淹没深度与流量关系宜参见附录B。当消防泵的设计流量不大于105 L/s时,第一个水 泵叶轮底部应低于消防水池的最低有效水位线。
6.2平衡
6.2.1叶轮应进行静(动)平衡试验,平衡件最大外径上的静平衡质量不得大于式(3)的计算值;动平衡 质量不得大于式(4)的计算值:
∆W = - ..............................( 4 )
式中:
△W 最大外径处平衡质量,单位为克(g);
e 许用剩余不平衡度,单位为克毫米每千克(g・mm∕kg)(应符合GB/T 9239.1 2006中
G6.3级的规定);
W 平衡件质量,单位为千克(kg);
D 平衡件最大外径,单位为毫米(mɪɪI)O
6.2.2静平衡最大外径处平衡质量计算值小于3 g时,应按3 g计。动平衡最大外径处平衡质量计算 值小于1.5 g时,应按1.5 g计。
6.3承压零件
6.3.1承受内压的零件,包括导叶体、吐出弯管、外接管等,应能承受规定的工作压力和环境温度下的 水压试验压力以及保压持续时间要求。
6.3.2试验压力应为工作压力的1.5倍,但应不低于0.4 MPa,保压持续时间应不少于10 min;在试验 过程中,零件应无渗漏现象。
6.3.3消防泵的试验压力:最大工作压力与进口最大允许正压的压力之和的2倍或者2.0 MPa,两者取 大值,在此压力下持续ImiII士0.2 mino试验过程中零件不应有影响性能的变形和裂纹等缺陷。
6.3.4泵对外的连接法兰应符合GB/T 9112的规定。
6.4主要零件材料
6.4.1泵主要零部件材料不应低于表4的规定。
表4主要零部件材料
|
零件 |
输送介质 | ||
|
清水 |
海水 |
污水(含磨料) | |
|
吐出弯头 内、外中间接管 |
Q235B HT200 |
06Crl9Nil0 022Crl7Nil2Mo2 022Cr22Ni5Mo3N |
Q235B HT250 |
|
导叶 吸入喇叭口 |
HT200 ZG230-450 |
06Crl9Nil0 022Crl7Nil2Mo2 022Cr22Ni5Mo3N |
HT250 QT500-7 06Crl8NillTi |
|
叶轮 |
12Crl3 ZG230-450 |
06Crl9Nil0 022Crl7Nil2Mo2 022Cr22Ni5Mo3N |
20Crl3 06Crl8NillTi |
|
叶轮室 密封环 |
HT200 20Crl3 ZG230-450 |
06Crl9Nil0 022Crl7Nil2Mo2 022Cr22Ni5Mo3N 0Crl8Nil2Mo2Cu2 |
06Crl8NillTi QT500-7 |
|
主轴 |
45 20Crl3 |
06Crl9Nil0 022Crl7Nil2Mo2 022Cr22Ni5Mo3N |
45、20CrI3 |
表4 (续)
|
零件 |
输送介质 | ||
|
清水 |
海水 |
污水(含磨料) | |
|
轴套 |
45 12Crl3 20Crl3 |
06Crl9Nil0 022Crl7Nil2Mo2 022Cr22Ni5Mo3N |
20Crl3 12Crl8Ni9 |
|
中间联轴器 |
ZG230-450 12Crl3 |
06Crl9Nil0 022Crl7Nil2Mo2 022Cr22Ni5Mo3N |
12Crl3 |
|
导轴承 |
HT200 +耐磨橡胶 |
06Crl9NilO +耐磨橡胶 022CrI7Nil2Mo2+ 耐磨橡胶 022Cr22Ni5Mo3N+ 耐磨橡胶 |
HT200 +耐磨橡胶 |
6.4.2泵材料应有合格证或工厂检验数据,证明符合有关标准的规定。买方要求时,应提供材料化学 成分、力学性能和无损探伤试验报告。
6.4.3灰铁铸件应符合GB/T 9439的规定;球墨铁铸件应符合GB/T 1348的规定;铸钢件应符合 GB/T 11352的规定;一般用途耐蚀钢铸件应符合GB/T 2100的规定;不锈钢和耐热钢应符合GB/T 20878 的规定;碳素结构钢应符合GB/T 700的规定;优质碳素结构钢应符合GB/T 699的规定。
6.4.4消防泵材质应符合以下要求:
a) 轴应采用至少为20Crl3的不锈钢或者相当的抗腐蚀材料;或者轴使用碳钢,但在填料函及导 叶体过流流道处须采用抗腐蚀性材料的轴套。
b) 导叶体应采用铸造合金,叶轮应采用青铜或不锈钢铸造,外接管宜为Q235B。
C)叶轮密封环、导叶体密封环、填料压盖、填料轴套、轴套、挡套、中间衬套、密封压盖、压盖螺母、 轴套螺母、叶轮螺母和放水旋塞应采用抗腐蚀性材料。
d)联轴器应采用铸钢或不锈钢材料。
6.5振动
泵振动烈度应符合GB/T 29531 2013中B级的规定。转速小于600 r/min时,应符合转速为 600 r/min的规定。
6.6噪声
泵噪声级应符合GB/T 29529 2013中C级的规定。
6.7防锈和涂漆
6.7.1泵装配前和装配过程中应采取以下防锈处理:
a) 流道和铸件非加工表面应去除铁锈和油污后涂防锈漆;
b) 加工的过水面应涂防锈油脂;
C)轴承体储油室内表面应清理干净后涂耐油磁漆;
d)轴、联轴器、轴套等外露加工表面应涂油脂或其他防锈涂料。
6.7.2涂漆表面处理与涂漆技术要求应符合JB/T 4297的规定。
6.7.3泵经性能试验合格后,应除净泵内积水,并重新作防锈处理。
6.7.4消防泵的涂漆要求:泵体以及各种外露的罩壳、箱体均应喷涂GB/T 3181 2008中表2给出的
7试验方法
7.1泵性能试验方法应按GB/T 3216 2016中2级的规定进行。
7.2叶轮平衡试验应按GB/T 9239.1的规定进行。
7.3承受压力零件的水压试验应按6.3.2,6.3.3的规定进行,试验介质为常温清水。
7.4材料化学成分分析和力学性能试验应按第6.4.3的规定进行。
7.5泵振动测量方法应按GB/T 29531的规定进行。转速小于600 r/min时,传感器等测量仪器频率 响应下限应不大于2 HZO
7.6泵噪声测量方法应按GB/T 29529的规定进行。
7.7泵的漆装检查应按JB/T 4297的规定进行。消防泵的涂层质量应符合GB 6245中的规定。
8检验规则
8.1出厂检验
8.1.1每台泵均应做出厂检验。
8.1.2出厂检验项目应符合表5的规定。
8.1.3检验数量和检验规则应符合GB/T 2828.1 2012的规定,抽样方法可采用一次或二次抽样,采 用检査水平11 ,合格质量水平AQL为4.0。
8.1.4制造厂不能进行性能试验和型式检验时,可采用模型或现场试验。采用模型检验时,模型泵叶 轮直径应不小于300 mmo
8.2型式检验
8.2.1凡遇以下情况之一时,应进行型式检验:
a) 新产品或老产品转厂生产的试制定型鉴定;
b) 正式生产后,结构、材料、工艺改变,可能影响产品性能时;
C)批量生产的产品,周期性检验时;
d) 产品停产2年后,恢复生产时;
e) 出厂检验结果与上次型式检验有较大差异时。
8.2.2型式检验项目应符合表5的规定。
8.2.3型式检验抽样和判断处置规则应符合GB/T 2828.1 2012的规定。宜采用正常检验一次抽样 方案,检査批量应满足样本至少为2台(批量为1台例外),检验水平为特殊检验水平S-1,接收质量限 (AQL)⅛ 6.5o
表5检验项目表
|
检验项目 |
出厂检验 |
型式检验 |
|
外观及转动检查 |
√ | |
|
运转试验 |
"(抽检) | |
|
承受工作压力的零部件水(气)压试验 |
√ | |
|
叶轮静(动)平衡试验 |
√ |
4 |
|
规定流量下扬程的测定 |
J (抽检) |
√ |
表5 (续)
|
检验项目 |
出厂检验 |
型式检验 |
|
泵性能曲线测定,包括:扬程-流量曲线;轴功率-流量曲线;泵效率-流量曲线等 |
— |
√ |
|
泵振动测定 |
— |
√ |
|
泵噪声测定 |
— |
√ |
|
泵旋转零部件静平衡或动平衡试验,不解体进行。可用零件或部件过程检验代 替。有特殊要求或规定必须解体试验时,应明确解体可能影响性能的因素 |
— |
√ |
|
注:表示应做检验项目;“一”表示不做检验项目。 | ||
9标志、包装、运输和贮存
9.1 标志
9.1.1铭牌
每台泵应在明显位置牢固标识产品铭牌,铭牌尺寸和技术要求应符合GB/T 13306的规定。铭牌 应耐环境腐蚀,保证在使用期内字迹清晰,铭牌应包括以下内容:
a) 制造厂名称;
b) 泵型号;
C)泵主要参数:流量(m3∕h).扬程(in)、转速(r/min) ʌ配用功率(kW)、泵重量(kg);
d)泵出厂编号和出厂日期。
9.1.2泵旋转方向应在明显位置用红色箭头表示。
9.2包装和运输
9.2.1泵包装应符合GB/T 13384的规定。
9.2.2泵应采取措施防止运输过程中造成损坏。
9.2.3每台泵出厂时应随带以下文件,并封存在防潮袋内:
a) 产品合格证;
b) 装箱单;
C)产品说明书。
9.3贮存
泵在存放中应能防止锈蚀和损坏,泵油封有效期应为12个月,到期应检査,重新油封。
附录 A
(资料性附录) 最大轴承跨距
附录B
(资料性附录) 最小淹没深度曲线图
4
E/S燮疑駆煨
|
尸 | ||||||||||||||||||||||||||||||||||||||||||||||||||||||||||
|
二 | ||||||||||||||||||||||||||||||||||||||||||||||||||||||||||
|
= | ||||||||||||||||||||||||||||||||||||||||||||||||||||||||||
|
Z | ||||||||||||||||||||||||||||||||||||||||||||||||||||||||||
|
Z | ||||||||||||||||||||||||||||||||||||||||||||||||||||||||||
|
7 | ||||||||||||||||||||||||||||||||||||||||||||||||||||||||||
|
N | ||||||||||||||||||||||||||||||||||||||||||||||||||||||||||
|
N | ||||||||||||||||||||||||||||||||||||||||||||||||||||||||||
|
N | ||||||||||||||||||||||||||||||||||||||||||||||||||||||||||
|
N | ||||||||||||||||||||||||||||||||||||||||||||||||||||||||||
|
N | ||||||||||||||||||||||||||||||||||||||||||||||||||||||||||
|
N | ||||||||||||||||||||||||||||||||||||||||||||||||||||||||||
|
Z | ||||||||||||||||||||||||||||||||||||||||||||||||||||||||||
3 4 5 6 8 IO
15 20
流量 C∕(m3/S)
中华人民共和国城镇建设 行业标准 立式长轴泵
CJ/T 235—2017
中国标准出版社出版发行
北京市朝阳区和平里西街甲2号(100029)
北京市西城区三里河北街16号(IoOo45)
总编室:(010)68533533 发行中心:(010)51780238
读者服务部:(010)68523946
中国标准出版社秦皇岛印刷厂印刷 各地新华书店经销
*
开本880X1230 1/16 印张1.25 字数34千字 2018年1月第一版2018年1月第一次印刷
CJ/T 235-2017
*
书号:155066 • 2-32760 定价 21.00 元
如有印装差错由本社发行中心调换 版权专有侵权必究
举报电话:(010)68510107