ICS 53.040.Cl
J 81
GB 14784—2013
代替 GB/T 14781-1993
Safety regulations Of belt COnVeyOr
2013-12-31 发布
2014-07-01 实施
中华人民共和国国家质量监督检验检疫总局走布 中国国家标准化管理委员会发布
本标准的 4.1.1、4.1.2、4.1.3、4.1.4、4.1.5、4.1.10、4.1.11[d)、e)、f)、h)条款除外]为强制性条款.其余 为推荐性条款。
本标准按照GB/T 1.1 2009给出的规则起草。
本标准代替GB/T 14784 1993«带式输送机安全规范》。
本标准与GB/T 14784 -1993相比主要区别如下:
一修改了原标准中的适用范围;
-删除了原标准中的 3.1,3.2.3.4 中的 a、b、c、d、e、g.3.5,3.10,4.1,4.3.3,5.1,5.2,5.3,5.4,5.6, 5.8和第7章;
——增加了基本要求(见第3章);
将安全规范的内容分成“设计和制造阶段”“安装阶段”“使用和维护阶段”三大部分书写;
——修订了原标准中3.11.2及表1(见4.1.1.3及表1);
- 删除了 3.11.3,将其内容分别写入滚筒的防护、托辐的防护、拉紧装置的防护、驱动装置的防 护、翻带装置的防护、卸料车的防护、金属结构件的防护之中;
—增加了“承载分支输送带过渡区段内的托辍处、导料槽下方的托辐处、压带轮下方的托辐处以 及压带轮与输送带之间也是易挤夹部位”(见4.1.1.2);
——增加了防夹楔的防护(见4.1.2);
——增加了过渡托辗处、导料槽下方托辕、压带轮下方托辐的防护(见4.1.3.4、4.1.3.5和4.1.3.6);
一增加了车式拉紧装置的防护(见4.1.4.2);
—— 增加了翻带装置的防护(见4.1.6);
——增加了对防护板的要求(见4.1.10);
-一增加了对急停开关的要求[见4.1.11中i)];
——增加了对编写“产品使用维护说明书”的要求(见4.1.12及附录A);
―-增加了通道等安装完成之前不得试车的要求(见4.2.4);
---增加了 4.3 中 e)、i)、j)、m)、n)、o)、P)条款。
本标准由中国机械工业联合会提出。
本标准由全国连续搬运机械标准化技术委员会(SAC/TC 331)归口。
本标准负责起草单位:北京约基工业股份有限公司、北京起重运输机械设计研究院。
本标准参加起草单位:北方重工集团有限公司、华电重工股份有限公司、上海科大重工集团有限公 司、衡阳运输机械有限公司、山西东杰智能物流装备股份有限公司、铜陵天奇蓝天机械设备有限公司、马 鞍山钢铁股份有限公司输送机械设备制造公司、江苏环宇起重运输机械有限责任公司。
本标准主要起草人:黄文林、王顺亭、马立民、张继功、刘文军、王璃、刘伯宽、王风雷、张晓华、王永红、 俞红全、张永丰、张立明。
本标准所代替标准的历次版本发布情况为:
——GB/T 14784 —19930
1范围
本标准规定了带式输送机(以下简称.'输送机”)在设计和制造、安装、使用和维护等方面的安全要求。
本标准适用于输送各种块状、粒状等松散物料以及成件物品的固定带式输送机。
本标准不适用于煤矿井下带式输送机、直接与食品或药物接触的带式输送机、载人带式输送机。
对于输送易燃、易爆、有毒、腐蚀、有放射性等物料的输送机,除应遵守本标准外,还应遵守相应的 标准。
2规范性引用文件
下列文件对于本文件的应用是必不可少的。凡是注日期的引用文件,仅注日期的版本适用于本文 件。凡是不注日期的引用文件,其最新版本(包括所有的修改单)适用于本文件。
GB/T 10595带式输送机
GB/T 17119连续搬运设备带承载托辐的带式输送机运行功率和张力计算
GB 23821-2009机械安全防止上下肢触及危险区的安全距离
GB/T 25295电气设备安全设计导则
GB 50168电气装置安装工程电缆线路施工及验收规范
GB 50169电气装置安装工程接地装置施工及验收规范
GB 50170电气装置安装工程旋转电机施工及验收规范
GB 50254电气装置安装工程低压电器施工及验收规范
GB 50255电气装置安装工程电力变流设备施工及验收规范
GB 50270输送设备安装工程施工及验收规范
GB 50431带式输送机工程设计规范(附条文说明)
3基本要求
3.1输送机的设计应符合GB 50431和GB/T 17119的规定。
3.2输送机的制造应符合GB/T 10595的规定。
3.3输送机的使用条件应满足其正常工作条件。对有特殊要求的输送机,还应满足相应的条件。
3.4输送机的安装应符合GB 5027。的规定。电器装置的设计应符合GB/T 25295的规定;电器装置 的安装应符合 GB 50168,GB 50169,GB 50170,GB 50254,GB 50255 的规定。
4 安全规则
4.1设计和制造阶段
4.1.1易挤夹部位的范围
4.1.1.1在经常有人接近的输送机的头部、尾部、拉紧部位和输送带改向部位是易挤夹部位(见图1和 图2)。
4.1.1.2凡是输送带不能被抬起,产生一个距挤夹点50 mm以上距离之处的托辗与输送带之间,应被认 为是易挤夹部位。因此,凸弧段相邻两组托辍的夹角大于3。之托辐处、承载分支输送带过渡区屋内的托辐 处、导料槽下方的托辐处、压带轮下方的托銀处及压带轮与输送带之间也是易挤夹部位(见图3;,
输送带运行方向

图3
4.1.1.3如在上述部位设有护栏,但易挤夹部位处于图4所示位置与表1规定的尺寸之内时•,月属易挤 夹部位,也应设置防护装置。
说明:
1--`危险点;
V——危险区高度;
b -防护装置的边缘高度;
C— 至危险区的水平距离。
图4
表1 单位为毫米
|
危险区高度Q |
防护装置的边缘高度b | ||||
|
1 800 |
1 600 |
1 400 |
1 2C0 |
1 000 | |
|
至危险区的水平距离C | |||||
|
2 400 |
100 |
100 |
100 |
100 |
100 |
|
2 200 |
400 |
500 |
500 |
600 |
600 |
|
2 000 |
500 |
600 |
700 |
900 |
1 100 |
|
1 800 |
600 |
900 |
900 |
1 000 |
1 100 |
|
1 600 |
500 |
900 |
900 |
1 000 |
1 300 |
|
1 400 |
100 |
800 |
900 |
1 000 |
1 300 |
|
1 200 |
— |
500 |
900 |
1 000 |
1 400 |
|
1 000 |
— |
300 |
900 |
1 000 |
1 400 |
|
800 |
— |
— |
600 |
900 |
1 300 |
|
600 |
— |
-- |
— |
500 |
1 200 |
|
400 |
— |
-- |
一 |
300 |
1 200 |
4.1.2滚筒的防护
滚筒的防护应釆用防护罩(板)(见图5)或防夹楔(见图6)。
釆用防护罩时,应符合图5和表2的规定。从防护罩(板)的边缘到滚筒(或压带轮、车轮)中心的距离 e不应小于表2中的规定值,防护罩内侧至滚筒体端面的距离(图5中的/ɔ应按带宽不同,在20 mm〜 80 mm之间选取。防护罩可用金属框架加钢板或多孔板、钢板网、钢丝网制作。
采用防夹楔时,应在安装时保证防夹楔与输送带、滚筒间的间隙如图6所示。防夹楔的材质为减磨 材料、型钢或钢板,其长度应等于滚筒体的长度,厚度50 mm。
e 一防护罩(板)边缘到滚筒(或压带轮、车轮)中心线的距离。
表2 韓位为毫米
|
滚筒(或压带轮、车轮)的直径 |
防护罩(板)边缘到滚筒 (或压带轮、车轮)中心线的距离e |
|
200 — 500 |
950 |
|
630〜800 |
1 000 |
|
1 000 |
1 050 |
|
1 250〜1 600 |
1 IOO |
|
1 800 — 2 000 |
1 150 |
沮位为毫米
说明:
1——防夹楔
图6
4.1.3托辐的防护
4.1.3.1输送松散物料且在凸弧段内相邻两组承载托辐的夹角大于3°时,应对托辐两侧用防护板进行 防护。防护板可用金属框架加钢丝网制作。装在凸弧段第1组托銀前300 mm处、高度在成槽形的输 送带边缘线上部250 mm和下部200 mm之间(见图7)。
单位为毫米
说明:
1 槽形输送带边缘线。 图7
4.1.3.2输送成件物品且在凸弧段内相邻两组承载托辗的夹角大于3°时,应在托辗的间隔中用金属板 或其他类似材料制成的防护板进行防护(见图8)。防护板应有足够的刚度,至托辗辐子外圆的距离t 和距输送带的距离&不得大于5 mm。
说明:
1 ——输送带;
2-—防护板。
4.1.3.3在冋程分支凸弧段两相邻托辐组的夹角大于3°时,也应按照4.1.3.1的规定对托辍生行防护。 为防止地面、机架变形等原因导致冋程托辐吊耳间距加大,造成冋程托辐辐子坠落而伤及人亨和财产安 全的事件发生,当回程托辗辐子距地面高度大于1.4 m时,不得使用辐子轴为两端通透铁扁结构的辍 子.而应使用两端带卡沟槽结构的辐子。
4.1.3.4过渡托辍应用4.1.3.1所述的防护板防护。若受安装位置所限,也可用图9所示的亨示牌(尺 寸40 mm X 60 mm)固定在每组过渡托辗两侧的边支柱上,予以警示。
ʌ
CaUtiOn,meehanieaɪ InjUry
图9
4.1.3.5导料槽下方的托辍应釆用安装在导料槽支架外侧的防护板予以防护(防护板见4.1.. .1所述)。 防护板的长度及安装位置见图IOO图10a)、图10b)、图IOC)的左侧为托辍相对于导料槽尾啬不同位置 的三种情况。在注明“具有挤夹危险的第1组托辐”左侧的托辗为普通的、不具挤夹危险爭托辐。图 10a)、图Iob)的右侧为托辗相对于导料槽出口不同位置的两种情况。
单位为毫米
C)
说明:
1 一具有挤夹危险的第1组托辍;
2—导料槽;
3 --输送带;
4 --防护板。
图10
4.1.3.6压带轮两侧及其下方的托辗应采用防护板进行防护(见图II)O
仅位为毫米

说明:
1--压带轮;
2 -----输送带;
3 -具有挤夹危险的第1组托辐;
4- 防护板。
图11
4.1.4拉紧装置的防护
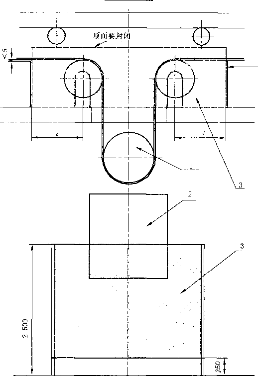
4.1.4.1应在垂直重锤拉紧装置上部两改向滚筒的两侧(或四周)及顶部设防护网。在重锤下方的地面 上设置由防护板组成的高度为2.5m的防护区(见图12) D应在防护板上装设两块永久性的警示牌,分 别写明“非经批准的人员不得入内”和“输送机运转时不得对拉紧滚筒进行检修和人工注油”等学样。若 拉紧滚筒下方是厂房时,应在重锤箱上加装防坠装置。在张紧行程的极限位置应设限制器。汨果拉紧 钢丝绳设置在走台或走廊处的,应该设防护罩。
单位为毫米
输送带运行方向
说明:
1 --拉紧滚筒;
2 ―重锤箱;
3 ---防护板;
a --此边若敞开,就要保证尺寸e;若封闭,尺寸e可缩小。但应保证防护板顶边至输送带的距离小于5 mmŋ
图12
4.1.4.2车式重锤拉紧装置拉紧小车上的滚筒应按4.1.2的规定进行防护。拉紧塔架下的重锤应按 4.1.4.1的规定进行防护。拉紧小车行程的两端应设限位装置。全部拉紧行程范围应采用高度不低于 1 500 mm的护栏予以防护。
4.1.4.3液压拉紧装置拉紧小车上的滚筒应按4.1.2的规定进行防护。全部拉紧行程范围(含定滑轮、 液压油缸)应釆用高度不低于1 500 mm的护栏予以防护。
4.1.5驱动装置的防护
高速轴联轴器、低速轴联轴器、制动轮、制动盘及液力偶合器都应加装防护罩。当驱动装置设置在 地面或人员能接近的平台上且带速大于3.15 m/s时,整个驱动装置范围应釆用高度不低于1 500 mm 的护栏予以防护。
4.1.6翻带装置的防护
翻带装置的翻带区段应采用高度不低于1 500 mm的护栏予以防护。
4.1.7卸料车的防护
在卸料车行走的极限位置应设止挡装置,并确保卸料车不脱轨、不翻倒。典型的防护示例匝图13。
说明:
1— —卸料车;
2— —车轮防护板;
3 •一滚筒防护板;
4 --轨道。
图13
4.1.8金属结构件的防护
凡人员可能刖蹭或碰撞部位的外露型钢的端部翼缘应倒成钝角;接料板及漏斗、护罩延伸郛分的下 边缘位于地面以上距离大于300 mm时,其边缘应釆取向内弯成角度或卷边等措施。
4.1.9接料板
4.1.9.1当传动滚筒位于回程分支且承载分支输送带距传动滚筒顶部2 In以上时,应在输送市承载分 支与传动滚筒间装设接料板(见图14)。
说明:
1—-一接料板。
图14
4.1.9.2当输送机架空越过人行通道时,应在人行通道上方的承载分支输送带下装设接料板。
4.1.10防护板
防护板可以用金属框架和有孔钢板、钢板网或钢丝网制成。其具体要求应符合GB 23821 - 2009 中 4.2.3、4.2.4.1、4.3 的规定。
当防护板可能被人踩上时,要求它在0.2 m×0.2 m的面积内承受1 500 N的静压力后,其基准尺 寸的永久变形不超过1%,且不与任何运动部件接触。
4.1.11输送机(或输送线)应(宜)装设安全保护装置
应(宜)装设的安全保护装置如下:
a) 倾斜向上运料的输送机,当其满载停车后逆转力矩大于零时,应装设防止逆转的制动器或逆 止器;
b) 倾斜向下运料的输送机,当其满载运行时驱动力矩为负值时,应装设防止超速的安全装置;
C)应装设防止输送带跑偏的保护和报警装置;
CI)宜设输送带在传动滚筒上打滑的检测装置;
e) 有动力张紧装置的自动控制的输送机宜设瞬时张力检测器;
f) 在有6级以上大风侵袭危险的露天或沿海地区使用的输送机宜设防止输送带翻转的装置;
g) 运送大块、坚硬物料的钢绳芯输送机应装设防止输送带纵向撕裂的保护装置;
h) 宜设漏斗堵塞报警装置;
i) 沿输送机人行通道的全长应设置急停拉绳开关。拉绳开关的间距不得大于60 m。当输送机的 长度小于30 m时,允许不设拉绳开关而用急停按钮代替,但从输送机长度方向上的任何一点 到急停按钮的距离不得大于10 mo
4.1.12产品使用维护说明书
带式输送机制造商应向用户提供产品使用维护说明书,其内容除产品介绍、产品参数、使用说明、维 护周期及检修内容、润滑说明、易损件目录、备件目录、随机文件目录等外,还应包括附录A所提示的在 使用和维护中的安全要求及相关注意事项。
4.2安装阶段
4.2.1 安装单位应遵循 GB 50270、GB 50168、GB 50169.GB 50170,GB 50254 和 GB 50255 ⅛< 规定,同 时参阅“产品使用维护说明书”,制定安装方案并实施。
4.2.2应按图纸和产品使用维护说明书中“安全防护装置的清单和安装地点的说明”的要求,人真安装 所有的安全防护装置。
4.2.3安装完成后,应将安装剩余的零部件及危险品清理干净。
4.2.4所有的通道、扶手、梯子、护拦、跨越桥安装完成之前,输送机不得试车。
4.3使用和维护阶段
使用单位应根据本单位的具体情况,参照下述提示,制定设备使用的规章制度:
a) 输送机不应用来完成设计规定以外的任务,也不应在非正常工作条件下使用。
b) 使用者不得随意改变装料点位置、增大输送量或进行其他影响设备性能的改动。
C)严禁输送机载人。
d) 严禁人员在输送机上行走、躺卧或骑坐。在没有跨越梯时,不得在输送机上跨越。
e) 输送机所有的安全防护装置必须齐全,并设专人定期检查和校验。应在输送机的整一寿命期 间,保持其安全防护水平不下降。
f) 严禁随意拆除安全防护装置、更改防护项目。使用者若要改变防护项目或结构,应经it有关责 任者批准。维修时临时拆除或移位的安全防护装置应在维修完成后及时复原。
g) 输送机在运转中的检查和调整作业应在有防护装置的情况下进行。
h) 严禁在输送机运行时对拉紧滚筒进行人工手动加油。
i) 对输送机没有防护装置的部位进行检查、调整、维护和清扫等作业,应在输送机停车并关闭驱 动装置后进行。如果不得不在无防护装置的运转部位进行维修,应有一个人守护着「在工作 的人员。该人应熟悉在意外情况下釆取何种措施,并应站立在靠近一个随时可以停的装置 旁边。
j) 输送机运行时不得打开转载点护罩检查孔。
k) 紧急停车后,应查明原因,并釆取有效措施排除失效之处后方能再次起动。应及时涓理输送 机周边的堆积物品,尤其要保证通往电气保护开关的通道畅通。
D应经常检查紧急停车开关、跑偏开关动作的有效性,尤其在环境温度有较大变化时。
m) 定期检查拉紧钢丝绳的状况,达到报废条件时应及时更换。
n) 对输送机电气系统进行的维护,应确保该输送机处于无法启动状态。否则不得与该轴送机或 其下游输送机的机械维修同步进行。
O) 在进行机械或电气维修时应断开电源,以确保输送机无法启动,并挂“有人工作,禁止合闸”指 示牌。
P) 在对输送机的电气控制系统及检测保护装置(包括机侧箱)进行维修前后,应用万用者对浮地 的直流控制电的正、负极进行对地绝缘检测。
Q) 当维修的输送机与上游或下游输送机有关联时,应在上游或下游输送机上釆取相同们安全停 电措施。
r)所有的起动操作应由经过考核并持有上岗证的人员执行。其他人员一律不得随意操伫或干扰 输送机的正常运行。
S)输送机停机一个月以上重新使用前,应对所有的机械、电气设备进行检查,确认正棠后方准 使用。
附录 A
(规范性附录) 产品使用维护说明书
在产品使用维护说明书中,应视每台产品的具体情况就下述诸点做出提示或说明:
严禁在未经制造商或其授权代理人同意的情况下改变输送机的设计;
-严禁输送原设计认定以外的物料和人员;
-输送能力不得超过设计值;
严禁人员在输送机上行走、躺卧或骑坐;
一—安全防护装置的清单和安装地点的说明;
一只有经过批准的人员才能起动、运行、调整、检修本输送机;
一应保持防护水平在输送机的全部寿命期内不变,防护装置若有损坏,应及时整修,只有整修达 到原设计水平时才能继续使用本输送机;
―使用者若要改变防护项目或结构,应经过有关责任人批准;
—— 倾斜输送机带料停车后,检修制动器、逆止器时应特别注意,防止输送带在物料带动下滑动; 只有在有防护板(罩)的地方才能对正在运行的输送机进行检修和调整;
-不许在输送机运行时对拉紧滚筒进行人工手动加油;
——对于必须将某个防护板或安全装置拆卸(或移位)后才能维修的场合,应详细说明怎样才能使 维修得以安全进行;
—— 停机检修时拆下的防护装置应在重新装配好后,方能再次起动输送机;
—说明防护板及安全装置的安装顺序、定位尺寸;
-一说明所供产品超过5 t的独立部件的重量、尺寸和起吊点;
——说明确保安装期间输送机及其各部件稳定的方法;
--应及时清理输送机周边的堆积物品,尤其要保证通往电气保护开关的通道通畅;
—应经常检查紧急停车开关、跑偏开关动作的准确性,尤其在环境温度有较大变化时;
一-安全保护装置检修时应断电检修,确需带电检修时,应将主回路断开,以避免误启动;
—-提供高强度螺栓清单,说明安装位置、拧紧力矩及检查频率;
—一钢丝绳的报废条件;
一紧急停车后,应查明原因,并采取有效措施修复失效部位后方能再次起动。
中华人民共和国
国家标准
带式输送机安全规充
GB 14784—2013
*
中国标准出版社出版发行 北京市朝阳区和平里西街甲2号(100013) 北京市西城区三里河北街16号〔00045)
总编室:(010)64275323 发行中心:(CIO)51780235 读者服务部:(010)6852391:
中国标准出版社秦皇岛印刷厂印刷 各地新华书店经销
*
开本880X 1230 1/16 印张1.25 ■数28千字 2014年3月第一版 2014年3月第一次印刷
GB 14784-2013
*
书砂:155066 • 1 -48477 定价 2k 00 元
如有印装差错由本社发行中心调换 版权专有侵权必究
举报电话= (010)685101(7
打印H期:2014年4月9H F009A