ICS 23. 020. 30
J 74
GB 16804—2011
代替 GB 16804—1997
PreCaUtiOnary IabeIS for gas CyIinderS
(ISO 7225 :2005 ,Gas CyIinderS一PreCaUtiOnary IabeIS,MOD)
2011-12-30 发布
2012-12-01 实施
本标准全部技术内容为强制性。
本标准按照GB/T 1. 1—2009«标准化工作导则 第1部分:标准的结构和编写》给出的规则起草。
本标准代替GB 16804—1997≪气瓶警示标签》。
本标准与原GB 16804—1997相比,主要技术变化如下:
——增加规范性引用文件;
——根据联合国《关于危险物品运输的建议书:规章范本》,明确说明了主要危险性和次要危险性的 确定方法;
—■规定面签和底签可以印刷在一起;
——增加了“必要时,底签的形状和尺寸可参照GB 15258的规定,但所含信息应满足本标准5. 5. 2 的要求”的条款,以便用户将化学品安全标签与气瓶警示标签合一。
本标准使用重新起草法修改采用ISo 7225:2005«气瓶 警示标签》。
本标准与ISO 7225:2005相比在结构上有较多调整,附录A中列出了本标准与ISO 722512005的 章条编号对照一览表。
本标准与ISO 7225的技术性差异及其原因如下:
——关于规范性引用文件,本标准做了具有技术性差异的调整,调整的情况集中反映在第2章“规 范性引用文件”中,具体调整如下:增加引用了 GB/T 13005、GB 15258、GB 16163以及联合国 关于危险物品运输的建议书规章范本;
——调整了术语内容,为适应国内标准的使用,将“主要危险性气“次要危险性”增加至第3章“术语 和定义”删除了;
111
——根据联合国《关于危险物品运输的建议书:规章范本》,增加了第4章“瓶装介质主要危险性及 次要危险性的确定”,以便于标准的使用;
——增加了 5.2.2中“关于必要时底签的形状和尺寸可参照GB 15258的规定,但所含信息应满足 本标准5.5.2的规定”。
本标准做了以下编辑性修改:
-^5. 4.1中增加了“即对易燃气体底色为红色,对非易燃无毒气体底色为绿色,对毒性气体,底色 为白色。"的补充说明;
CQ
——5.5.1中增加了“面签上文字和符号的大小应易于识别和辨认。面签上的符号为黑色,文字为 黑色印刷体。但对腐蚀性气体,其文字说明'腐蚀性'应以白色字印在面签的黑底上。每个面 签上有一条黑色边线,该线画在边缘内侧,距边缘0∙05如”的补充说明;
——6.1中增加了“每只气瓶第一次充装时即应粘贴标签。如发现标签脱落、撕裂、污损、字迹模糊 不清时,充装单位应及时补贴或更换标签。”的补充说明;
——6. 2中增加了“应避免标签被气瓶上的任何部件或其他标签所遮盖。标签不应被折叠,面签和 底签不应分开粘贴。在气瓶的整个使用期内标签应保持完好无损、清晰可见,'的补充说明。
本标准由全国气瓶标准化技术委员会(SAC/TC 31)提出并归口。
本标准起草单位:中国特种设备检测研究院、大连市锅炉压力容器检验研究院、杭州新世纪混合气 体有限公司、北京天海工业有限公司O
本标准主要起草人:梁琳、胡军、沈建林、张贺军、郑宁。
本标准所代替标准的历次版本发布情况为:
---GB 16804—1997。
在气瓶上使用警示标签的目的是推动气瓶及所装气体的标识,并对与所装气体相关的主要危险做 出警告。警示标签同时能提供其他基本信息,例如,用来显示气体或混合气体的名称及分子式,以及附 加的警示说明。
气瓶警示标签
1范
本标准规定了用于充装单一气体或混合气体的单个气瓶上的警示标签的设计、内容及应用。 本标准不适用于集装气瓶和集装架。
2规范性引用文件
下列文件对于本文件的应用是必不可少的。凡是注日期的引用文件,仅注日期的版本适用于本文 件。凡是不注日期的引用文件,其最新版本(包括所有的修改单)适用于本文件。
GB/T 13005气瓶术语
GB 15258化学品安全标签编写规定
GB 16163瓶装压缩气体分类
联合国关于危险物品运输的建议书
规章范本(UN ST/SG/AC. 10/1/Rev. 16, Umted NationS
ReCOmmendatiOnS On the TranSPOrt Of DangerOUS GOOdS一MOdel RegUIatiOnS)
3术语和定义
GB/T 13005确立的以及下列术语和定义适用于本文件。 *■
3. 1
主要危险性 Primary hazard
反映介质所具有的主要危险特性。
3.2
次要危险性 SUbSidiary hazard
反映介质所具有的、与主要危险性相比较为次要的危险特性
4瓶装介质主要危险性及次要危险性的确定
4. 1瓶装介质的主要危险性及次要危险性由充装单位根据GB 16163及《联合国关于危险物品运输的 建议书规章范本》确定:
类别
主要危险性分为:第2类
次要危险性分为:第5类
项别
气体
2∙ 1项:易燃气体
2.2项:非易燃无毒气体(包括窒息性气体、氧化性气体以及不属于 其他项别的气体)
2. 3项:毒性气体
氧化性物质和有机过氧化物
5.1项:氧化性物质
腐蚀性物质
具有两个项别以上的气体或混合气体,其危险性的先后顺序如下:
a) 2.3项优先于所有其他项;
b) 2.1项优先于2. 2项。
4. 2如果某一种第2类气体具有一种或多种次要危险性,应根据表1使用标签。
表1具有次要危险性的第2类气体标签
≡
|
项 别 |
主要危险性 |
次要危险性 |
|
2. 1 |
2. 1 |
无 |
|
2.2 |
2. 2 |
无 |
|
2.2 |
5. 1 | |
|
2. 3 |
2. 3 |
无 |
|
2.3 |
2. 1 | |
|
2. 3 |
5. 1 | |
|
2.3 |
5. 1,8 | |
|
2.3 |
8 | |
|
2. 3 |
2. 1,8 |
5警示标签设计和内容
5. 1 一般规定
警示标签应符合《联合国关于危险物品运输的建议书规章范本》或其他有关运输的规程的要求。 警示标签应设计的清晰、可见、易读。警示标签应由面签和底签两部分组成。
a) 面签:即菱形部分。当有两种或三种危险需要明示时,应有一个或两个次要危险性面签与主要 危险性面签同时使用;当需要两个或三个危险性面签时,次要危险性面签应放置在主要危险性 面签的右边。面签可以部分重叠,如图1〜图3所示。在任何情况下代表主要危险性的面签 和所有标签上的编号应清晰可见,符号应可以识别。
b) 底签:底签和面签应分别制作并粘贴到气瓶上或印刷在一起。图1〜图4所示是底签和面签 排列的示例;也可采用其他排列方式,如面签可放在底签的上方或下方。
5.2尺寸和形状
5. 2. 1面签的尺寸和形状见图1〜图4。面签边长a的最小长度按表2的规定。
表2面签尺寸
|
气瓶外径D/mm |
面签边长OJmm |
|
D<75 |
≥10 |
|
75≤D<18O L . — T-FFF ∙∙ ^ ^ ----------- |
≥15 |
|
D≥180 |
≥25 |
5. 2.2底签的尺寸和形状见图1〜图4,必要时底签的形状和尺寸可参照GB 15258的规定,但所含信 息应满足5.5. 2的规定。
5.3材料
标签和胶合剂所用的材料应在运输、储存和使用条件下经久耐用。标签上的胶合剂应与气瓶外表 面的材料相容。
5.4颜色
5. 4. 1面签的底色应符合《联合国关于危险物品运输的建议书 规章范本》的规定,即对易燃气体底色 为红色,对非易燃无毒气体底色为绿色,对毒性气体,底色为白色。示例参见见附录BO
5. 4. 2底签的颜色和外观应与面签形成对比。
5.5文字与符号 5.5. 1面签的设计、符号、编号及文字应符合《联合国关于危险物品运输的建议书 规章范本》或其他 有关运输的规程的要求。面签上文字和符号的大小应易于识别和辨认。面签上的符号为黑色,文字为 黑色印刷体。但对腐蚀性气体,其文字说明“腐蚀性”应以白色字印在面签的黑底上。示例参见附录B。
每个面签上有一条黑色边线,该线画在边缘内侧,距边缘。・O^O
5. 5.2底签上文字的大小应易于识别和辨认,字色为黑色。底签上应记录有关危险货物运输相关法规 及危险物质标签相关法规以及准备工作的信息,至少应包含下列内容:
a)
所装气体识别:
——单一气体应有化学名称及分子式;
—混合气体应有导致危险性的主要成分的化学名称及分子式,如果主要成分的化学名称或 分子式已被标识在气瓶的其他地方,也可只在底签上印上通用术语或商品名称。
b)
C)
d)
气瓶及瓶内所装气体危险性的附加信息和在运输、储存及使用上应遵守的警示及其他说明。 气瓶充装单位的名称、地址、邮政编码、电话号码。
充装量。
6警示标签的应用
6. 1充装单位职责
充装单位应保证根据气瓶内所装气体粘贴、除去、更换标签。每只气瓶第一次充装时即应粘贴标 签。如发现标签脱落、撕裂、污损、字迹模糊不清时,充装单位应及时补贴或更换标签。
6.2标签的粘贴
标签应牢固地粘贴在气瓶上并保持标记清晰可见。应避免标签被气瓶上的任何部件或其他标签所 遮盖。标签不应被折叠,面签和底签不应分开粘贴。在气瓶的整个使用期内标签应保持完好无损、清晰 可见。
6.3标签的放置
标签不得覆盖任何充装所需的永久性标记。放置面签的首选位置应在气瓶瓶肩上或瓶肩正下(最 大50 mm) O对小气瓶(10 L及以下),标签可以放置在瓶体上。如尺寸允许,标签可放在气瓶颈圈上。 危险性面签等于或大于100 mmX100 mm时,应放置在气瓶筒体部位。
Ill
6.4已有标签的处理
只有当原有标签信息内容完全清晰时,才可以用新标签覆盖旧标签。否则,原有标签应被彻底除 去。主要危险性面签应部分覆盖在次要危险性面签上面(见图1)。
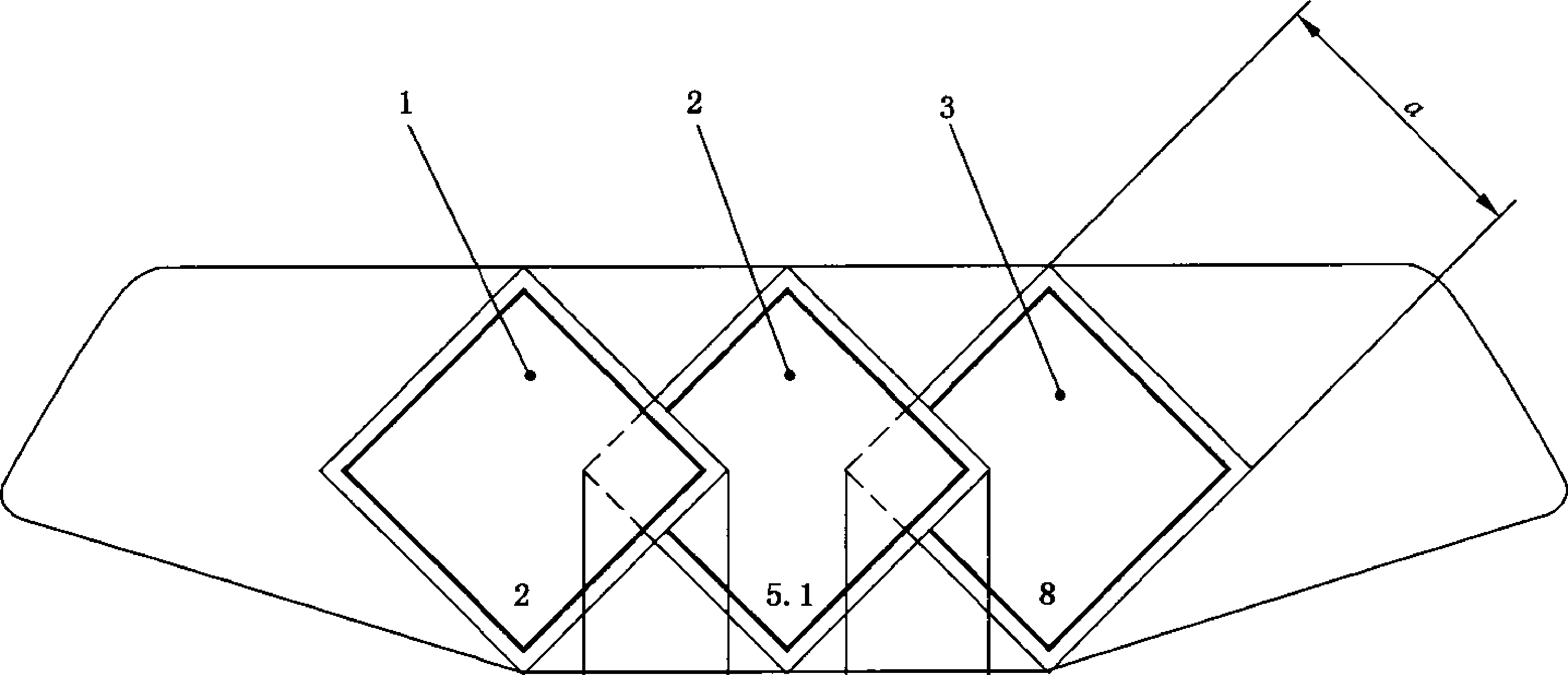
说明:
1——主要危险性面签;
2--次要危险性面签。
图1主要和次要危险性面签及底签的示例
≤0* 5α ≤0, 5口
------V-----1
说明:
1— —主要危险性面签;
2— —第一次要危险性面签;
3— —第二次要危险性面签。
主要和两个次要危险性面签及底签的示例
说明:
1— —底签包含5. 5. 2中要求的信息,底签的尺寸和形状可自选;
2— 危险性面签包含危险符号、表B. 1中的类别号及危险性描述。
3主要危险性面签及底签的示例
附录A
(资料性附录)
国家标准与国际标准章条编号对照一览表
表A.1给出了本标准与ISO 7225:2005的章条编号对照情况。
表A. 1本标准与ISO 7225:2005的章条编号对照情况
|
本标准章条编号 |
对应ISO 7225:2005章条编号 |
|
1 |
1 |
|
2 |
— |
|
2. 1 | |
|
3. 1 | |
|
3∙2 |
-- |
|
4 |
— |
|
5. 1 |
3.1 |
|
5. 2 |
3. 2 |
|
5. 3 |
3. 3 |
|
5. 4 |
3.4 1 √ |
|
5.5 |
3. 5 |
|
6. 1 |
4. 1 |
|
6. 2 |
4.2 |
|
6.3 |
4. 3 |
|
6.4 |
4. 4 |
|
附录A |
— |
|
附录B |
附录A |
附录B
(资料性附录)
危险性面签的示例
9