ICS 13.100
C 68
GB 4053.1—2009 代替 GB 4053. 1—1993
Safety requirements for fixed SteeI IadderS and PIatform— Part 1 : SteeI VertiCaI IadderS
2009-03-31 发布
2009-12-01 实施
中华人民共和国国家质量监督检验检疫总局发布 中国国家标准化管理委员会发布
GB 4053«固定式钢梯及平台安全要求》分为以下几个部分:
---GB 4053. 1 钢直梯;
---GB 4053. 2 钢斜梯;
--GB 4053. 3工业防护栏杆及钢平台。
本部分为GB 4053«固定式钢梯及平台安全要求》的第1部分。
本部分是对GB 4053. 1-1993«固定式钢直梯安全技术条件》的修订。
本部分代替GB 4053. 1-1993«固定式钢直梯安全技术条件》。
本部分与GB 4053. 1—1993相比主要变化如下:
——修改了对材料的要求;
——增加了梯子支撑及其连接件的载荷规定;
——增加了固定式钢直梯倾角范围的规定;
——修改了防锈及防腐蚀的要求;
——增加了防雷电保护接地的要求;
——修改了梯段最大高度及平台间距的规定;
——修改了应设置护笼梯段的高度的要求;
——修改了梯子内侧净宽度尺寸的规定;
——修改了踏棍间距的规定;
——修改了有关踏棍尺寸的规定;
——增加了在非正常环境下使用的梯子的踏棍尺寸要求;
——修改了梯梁尺寸的规定;
——增加了在非正常环境下使用的梯梁的尺寸要求;
——修改了护笼构件尺寸的规定;
——修改了水平笼箍间距的规定;
——增加了护笼立杆间距及空隙的要求;
——增加了护笼立杆间距及护笼构件形成空隙的规定;
——修改了护笼底部距下端基准面高度的规定。
本部分由国家安全生产监督管理总局提出。
本部分由全国安全生产标准化技术委员会归口。
本部分负责起草单位:吉林省安全科学技术研究院、长春工业大学、长春工程学院。
本部分主要起草人:肖建民、郑凡颖、曲生、韩连英、孙伟。
本部分所代替标准的历次版本发布情况为:
---GB 4053. 1—1983 ;
---GB 4053. 1—1993。
固定式钢梯及平台安全要求 第1部分:钢直梯
本部分规定了固定式钢直梯的设计、制造和安装方面的基本安全要求。
本部分适用于工业企业内工作场所中使用的固定式钢直梯(另有标准规定的除外)。
下列文件中的条款通过GB 4053的本部分的引用而成为本部分的条款。凡是注日期的引用文件, 其随后所有的修改单(不包括勘误的内容)或修订版均不适用于本部分,然而,鼓励根据本部分达成协议 的各方研究是否可使用这些文件的最新版本。凡是不注日期的引用文件,其最新版本适用于本部分。
GB 4053.3固定式钢梯及平台安全要求 第3部分:工业防护栏杆及钢平台
GB 50057建筑物防雷设计规范
GB 50205钢结构工程施工质量验收规范
下列术语和定义适用于本部分。
3.1
固定式钢直梯fixed Steel ladder
永久性安装在建筑物或设备上,与水平面成75°〜90。倾角主要构件为钢材制造的直梯(见图DO
3.2
梯梁(梯框)Stik (rail)
用来安装踏棍或其他横向承载件的梯子侧边构件。
3.3
踏棍rung
供使用者上下梯时脚踩踏的梯子构件。
3.4
护笼(安全护笼)Cage ( Cage guard)
安装在梯梁或固定结构上,封闭梯子周围攀登空间防止人员坠落的框架结构。
3.5
支撑 SUPPort
用来将钢直梯固定在建筑物或设备上的构件。
3.6
(直梯)扶手handrail
钢直梯顶端供攀登者手握的构件。
3.7
内侧净宽度 inside CIear Width
两梯梁内侧平行于踏棍测量的距离,简称梯宽O
3.8
梯子上端基准面至下端基准面间的垂直距离,简称梯高O
4. 1. 1钢直梯采用钢材的力学性能应不低于Q235-B,并具有碳含量合格保证。
4. 1.2支撑宜采用角钢、钢板或钢板焊接成T型钢制作,埋没或焊接时必须牢固可靠o
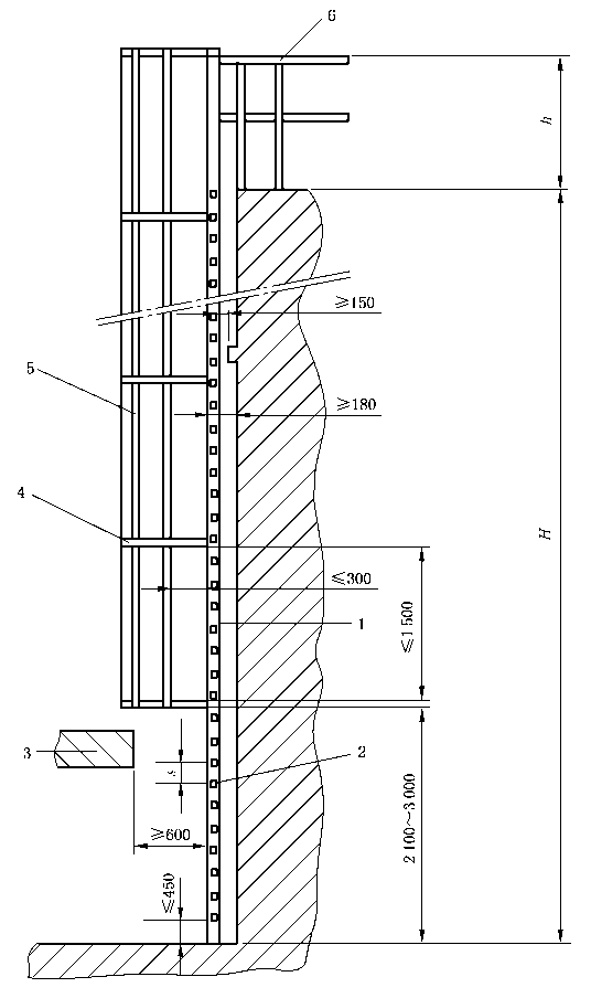
单位为毫米
6---栏杆;
H--梯段高;
犺--栏杆高;
S——踏棍间距;H<15 OOO犺 ≥1 050;s=225 〜300。
1— —梯梁;
2— —踏棍;
3--非连续障碍;
4——护笼笼箍;
5--护笼立杆;
注:图中省略了梯子支撑O
4.2钢直梯倾角
钢直梯应与其固定的结构表面平行并尽可能垂直水平面设置。当受条件限制不能垂直水平面时, 两梯梁中心线所在平面与水平面倾角应在75。〜90。范围内。
4. 3设计载荷
4.3. 1梯梁设计载荷按组装固定后其上端承受2 kN垂直集中活载荷计算(高度按支撑间距选取,无 中间支撑时按两端固定点距离选取)。在任何方向上的挠曲变形应不大于2 mm。
4.3.2踏棍设计载荷按在其中点承受IkN垂直集中活载荷计算。允许挠度不大于踏棍长度的 1/25GO
4. 3. 3每对梯子支撑及其连接件应能承受3 kN的垂直载荷及G. 5 kN的拉出载荷。
4.4制造安装
4.4. 1钢直梯应采用焊接连接,焊接要求应符合GB 5G2G5的规定。采用其他方式连接时,连接强度 应不低于焊接。安装后的梯子不应有歪斜、扭曲、变形及其他缺陷。
4.4.2制造安装工艺应确保梯子及其所有部件的表面光滑、无锐边、尖角、毛刺或其他可能对梯子使用 者造成伤害或妨碍其通过的外部缺陷。
4.4.3安装在固定结构上的钢直梯,应下部固定,其上部的支撑与固定结构牢固连接,在梯梁上开设长 圆孔,采用螺栓连接。
4.4.4固定在设备上的钢直梯当温差较大时,相邻支撑中应一对支撑完全固定,另一对支撑在梯梁上 开设长圆孔,采用螺栓连接。
4.5. 1固定式钢直梯的设计应使其积留湿气最小,以减少梯子的锈蚀和腐蚀。
4. 5.2根据钢直梯使用场合及环境条件,应对梯子进行合适的防锈及防腐涂装。
4.5.3在自然环境中使用的梯子,应对其至少涂一层底漆和一层(或多层)面漆;或进行热浸镀锌,或采 用等效的金属保护方法。
4.5.4在持续潮湿条件下使用的梯子,建议进行热浸镀锌,或采用特殊涂层或采用耐腐蚀材料。
在室外安装的钢直梯和连接部分的雷电保护,连接和接地附件应符合GB 5GG57的要求。
5. 1. 1无基础的钢直梯,至少焊两对支撑,将梯梁固定在结构、建筑物或设备上。相邻两对支撑的竖向 间距,应根据梯梁截面尺寸、梯子内侧净宽度及其在钢结构或混凝土结构的拉拔载荷特性确定。
5. 1.2当梯梁采用6G mm×1G mm的扁钢,梯子内侧净宽度为4GG mm时,相邻两对支撑的竖向间距 应不大于3 GGG mmo
5.2. 1对未设护笼的梯子,由踏棍中心线到攀登面最近的连续性表面的垂直距离应不小于76G mm。 对于非连续性障碍物,垂直距离应不小于6GG mm。
5.2.2由踏棍中心线到梯子后侧建筑物、结构或设备的连续性表面垂直距离应不小于18G mm。对非 连续性障碍物,垂直距离应不小于15G mm(见图1)。
5.2.3对未设护笼的梯子,梯子中心线到侧面最近的永久性物体的距离均应不小于38G mm。
5.2.4对前向进出式梯子,顶端踏棍上表面应与到达平台或屋面平齐,由踏棍中心线到前面最近的结 构、建筑物或设备边缘的距离应为18G mm〜3GG mm,必要时应提供引导平台使通过距离减少至 18G mm〜3GG mm。
5.2. 5侧向进出式梯子中心线至平台或屋面距离应为38G mm〜5GG mm。梯梁外侧与平台或屋面之 间距离应为18G mm〜3GG mm(见图2) O
5.3. 1单段梯高宜不大于IO m,攀登高度大于IOm时宜采用多段梯,梯段水平交错布置,并设梯间平 台,平台的垂直间距宜为6 m。单段梯及多段梯的梯高均应不大于15 m。
5.3.2梯段高度大于3 m时宜设置安全护笼。单梯段高度大于7m时,应设置安全护笼。当攀登高 度小于7 m,但梯子顶部在地面、地板或屋顶之上高度大于7 m时,也应设置安全护笼。
5.3.3当护笼用于多段梯时,每个梯段应与相邻的梯段水平交错并有足够的间距(见图2),设有适当 空间的安全进、出引导平台,以保护使用者的安全。
5.4内侧净宽度
5. 4. 1梯梁间踏棍供踩踏表面的内侧净宽度应为4OO mm〜6OO mm,在同一攀登高度上该宽度应相 同。由于工作面所限,攀登高度在5 m以下时,梯子内侧净宽度可小于4OO mm,但应不小于3OO mm。
单位为毫米
5.5. 1 梯子的整个攀登高度上所有的踏棍垂直间距应相等,相邻踏棍垂直间距应为225 mm〜
3OO mm,梯子下端的第一级踏棍距基准面距离应不大于45O mm(见图1)。
5.5.2圆形踏棍直径应不小于2Omm,若采用其他截面形状的踏棍,其水平方向深度应不小于2O mm。 踏棍截面直径或外接圆直径应不大于35 mm,以便于抓握。在同一攀登高度上踏棍的截面形状及尺寸 应一致。
5.5.3在正常环境下使用的梯子,踏棍应采用直径不小于2O mm的圆钢,或等效力学性能的正方形、 长方形或其他形状的实心或空心型材。
5.5.4在非正常环境(如潮湿或腐蚀)下使用的梯子,踏棍应采用直径不小于25 mm的圆钢,或等效力 学性能的正方形、长方形或其他形状的实心或空心型材。
4
5.5.5踏棍应相互平行且水平设置。
5.5.6在因环境条件有可预见的打滑风险时,应对踏棍采取附加的防滑措施。
5.6梯梁
5.6. 1梯梁的表面形状应使其在整个攀登高度上能为使用者提供一致的平滑手握表面,不应采用不便 于手握紧的不规则形状截面(如大角钢、工字钢梁等)的梯梁。在同一攀登高度上梯梁应保持相同形状。 5.6.2在正常环境下使用的梯子,梯梁应采用不小于60 mmX10 mm的扁钢,或具有等效强度的其他 实心或空心型钢材。
5.6.3在非正常环境(如潮湿或腐蚀)下使用的梯子,梯梁应采用不小于60 mmX12 mm的扁钢,或具 有等效强度的其他实心或空心型钢材。
5.6.4在整个梯子的同一攀登长度上梯梁截面尺寸应保持一致。容许长细比不宜大于200。
5.6.5梯梁所有接头应设计成保证梯梁整个结构的连续性。除非所用材料型号有要求,不应在中间支 撑处出现接头。
5.6.6如果要对梯梁因温度变化引起膨胀产生弯曲或应力增大采取针对性技术措施,则应在接头处采 取上述措施。
5.6.7 前向或侧向进出式梯子的梯梁应延长至梯子顶部进、出平面或平台顶面之上高度不小于 GB 4053. 3中规定的栏杆高度。
5.6.8前向进出式梯子的顶部踏棍不应省略。梯梁延长段宜为喇叭型扩大,以使梯梁顶部内侧水平间 距不小于600 mm,不大于760 mm。
5.6.9对侧向进出式梯子,梯梁和踏棍在延长段应为连续的。
5.7护笼
5.7. 1护笼宜采用圆形结构,应包括一组水平笼箍和至少5根立杆(见图3)。其他等效结构也可 采用。
单位为毫米
a)圆形护笼中间笼箍
A
b)圆形护笼顶部笼箍
A = 400~600;B = 650~800;C=650~800
图3护笼结构示意图
5.7.2水平笼箍采用不小于50mm×6mm的扁钢,立杆采用不小于40mm×5mm的扁钢。水平笼 箍应固定到梯梁上,立杆应在水平笼箍内侧并间距相等,与其牢固连接。
5.7.3护笼应能支撑梯子预定的活载荷和恒载荷。
5.7.4 护笼内侧深度由踏棍中心线起应不小于650 mm,不大于800 mm,圆形护笼的直径应为 650 mm〜800 mm,其他形式的护笼内侧宽度应不小于650 mm,不大于800 mm。护笼内侧应无任何突 出物(见图3)。
5.7.5 水平笼箍垂直间距应不大于1 500 mm。立杆间距应不大于300 mm,均匀分布。护笼各构件 形成的最大空隙应不大于0. 4m2 0
5.7.6护笼底部距梯段下端基准面应不小于2 100 mm,不大于3 000 mm。护笼的底部宜呈喇叭形, 此时其底部水平笼箍和上一级笼箍间在圆周上的距离不小于100 mm。
5.7.7护笼顶部在平台或梯子顶部进、出平面之上的高度应不小于GB 4053.3中规定的栏杆高度,并 有进、出平台的措施或进出口。
5.7.8未能固定到梯梁上的平台以上或进、出口以上的护笼部件应固定到护栏上或直接固定到结构、 建筑物或设备上。
GB 4053.1—2009
中华人民共和国
国家标准
固定式钢梯及平台安全要求
第1部分:钢直梯
GB 4053.1—2009
*
中国标准出版社出版发行
北京复兴门外三里河北街16号
邮政编码:100045
网址 WWW. spc. net. Cn
电话:68523946 68517548
中国标准出版社秦皇岛印刷厂印刷 各地新华书店经销
*
开本880×1230 1/16印张0.75字数13千字
2009年7月第一版2009年7月第一次印刷
*
书号:155066 • 1-37872
GB 4053. 1-2009
如有印装差错由本社发行中心调换 版权专有侵权必究 举报电话:(010)68533533