ICS 29.020

K 48

备案号:68961-2019


DL

中华人民共和

电力行业标准

DL/T 1000.4 — 2018

标称电压高于IOOOV架空线路绝缘子 使用导则

4部分:直流系统用棒形悬式复合绝缘子

APPIiCatiOll guide Of insulators for OVerhead IineS With a nominal VOltage OVer IOOOV

—Part4:COmPOSite insulators for d.c. SyStemS

2018-12-25 发布


2019-05-01 实施

国家能源局发布

目 次

前言

1范围

2规范性引用文件

3术语和定义

4 一般技术要求

5选择原则

6检验

7储存、运输及安装

8验收

9日常巡检与维护

IO技术管理

附录A (规范性附录)伞裙和护套最小厚度测量

附录B (资料性附录)±40OkV±110OkV复合绝缘子用均压装置典型参数

附录C (规范性附录)复合绝缘子抽样验收试验

附录D (资料性附录)复合绝缘了损坏(故障)统计表

-XX.        -ɪ-

刖   亏

本部分按照GBrrl.1-2009《标准化工作导则 第1部分:标准的结构和编写》给出的规则起草。

Dl√Γ IOOO《标称电压高于IooOV架空线路绝缘子 使用导则》分为六个部分:

——第1部分:交流系统用瓷或玻璃绝缘子:

——第2部分:直流系统用瓷或玻璃绝缘子;

——第3部分:交流系统用棒形悬式复合绝缘于:

——第4部分:直流系统用棒形悬式夏合绝缘子;

——第5部分:交流系统用长棒形瓷绝缘子;

——第6部分:直流系统用长棒形瓷绝缘

本部分为Dur I(XX)的第4部分。

本部分由中国电力企业联合会提出。

本部分巾电力行业绝缘了标准化技术委员会(DUTC 16)归口。

本部分主要起草单位:中国南方电网有限责任公司超高压输电公司贵阳局、中国电力科学研究院 有限公司、清华大学、广东电网有限责任公司、国家电网北京经济技术研究院、国网山东省电力公司 电力科学研究院、襄阳国网合成绝缘子有限公司、山东泰光电气有限公司、武汉灿能电力科技有限公 司、江东金具设备有限公司。

本部分主要起草人:尚涛、徐望圣、吴光亚、杨泽明、田应富、钟连宏、张锐、李三、陈飞、乐波、 周军、邓桃、武文华、梁蟻东、陈东、沈庆河、梅念、赵峥、厉璇、刘辉、刘峰、张洋、吴兆峰、 滕国利、杨红军、卢燕龙、徐志磊。

本标准为首次发布。

本部分在执行过程中的意见或建议反馈至中国电力企业联合会标准化管理中心(北京市白广路二 条•号,100761).

标称电压高于IoOOV架空线路绝缘子使用导则

4部分:直流系统用棒形悬式复合绝缘子

1范围

本部分规定了标称电压高于150OV直流架空线路用棒形悬式复合绝缘子使用的…般技术要求、选 择原则、检验、储存、运输、安装、验收、日常巡检与维护、技术管理。

本部分适用于标称电压高于150OV的宜流架空线路、换流站用悬垂或耐张复合绝缘于(以下简称 绝缘子)。

2规范性引用文件

下列文件对于本文件的应用是必不可少的。凡是注日期的引用文件,仅注日期的版本适用于本文 件。凡是不注日期的引用文件,其最新版本(包括所有的修改単)适用于本文件。

GB311.1绝缘配合 第1部分:定义、原则和规则

GB311.2绝缘配合 第2部分:使用导则

GBfT 4056绝缘子串元件的球窝连接尺寸

GBrr 19519架空线路绝缘于标称电压高于IoOOV交流系统用悬垂和耐张复合绝缘于定义、 试验方法及接收准则

GB/T 21421.1标称电压高于IOOoV的架空线路用复合绝缘子串元件 第1部分:标准强度等级 和端部附件

GBfT 26218.1污秽条件下使用的高压绝缘于的选择和尺寸确定 第1部分:定义、信息和一般原则

GBZT 50064交流电气装置的过电压保护和绝缘配合设计规范

DL368输电线路用绝缘子污秽外绝缘的高海拔修正

DLTr 376电力复合绝缘子用硅橡胶绝缘材料通用技术条件

DlTT 664带电设备红外诊断应用规范

DLTT 741架空输电线路运行规程

DLfT 810 ±500kV及以上电圧等级直流棒形悬式复合绝缘子技术条件

DlTT 1474标称电压高于IoOOV交、直流系统用复合绝缘子憎水性测最方法

DLTT 1579棒形悬式复合绝缘子用端部装配件技术规范

DlTr 1580交、宜流棒形悬式复合绝缘子用芯棒技术规范

JBfT 8177绝缘子金属附件热镀锌层通用技术条件

JB/T 11219.1高压架空线路負合绝缘子用端部装配件 第1部分:绝缘子串元件用端部装聞件

3术语和定义

GB19519GBrr 26218.1, DUT 810界定的以及下列术语和定义适用于本文件。

3.1

劣化aging

复合绝缘子伞套材料明显出现变硬、变脆、粉化、裂纹和开裂、起痕、树枝状通道、蚀损、憎水 性下降,绝缘子出现密封破坏、内部发热及机械强度明显下降的现象。

3.2

耐应力腐蚀芯棒 StreSS and acid resistant COrC

在一定温度20P±5∙C)IN浓度(该浓度与937g水中注入63g纯硝酸的浓度相同)的硝酸溶 液中,在耐受给定的机械拉伸负荷和持续时间后,在酸液浸泡处未出现裂纹的芯棒。

3.3

复合绝缘子损坏 COmPOSitC insulator damage

复合绝缘子的电气或机械性能不能满足运行要求,如出现内绝缘击穿、断裂及本部分9.4规定需要 更换的几种情况。

3.4

复合绝缘子损坏率 damage rate Of COmPOSitC insulator

运行复合绝缘子损坏的只数与运行复合绝缘子只数之比,用百分数表示.

3.5

复合绝塚子故障 COmPOSitC insulator failure

其合绝缘子自身质量损坏和外界因素(如雷击、鸟害、污秽、覆冰/雪、风偏等)导致的跳闸。

3.6

复合绝缘子故障率 failure rate Of COmPOSite insulator

运行复合绝缘K发生故障的次数与运行复合绝缘子只数之比,用百分数表示。

3.7

复合绝缘子年故障率 annual failure rate Of COmPoSite insulator

某一区域在一定运行年限内,夏合绝缘子出现故障的只数之和与运行复合绝缘子只数之比,用百 分数表示。

3.8

复合绝缘子年损坏率 damage rate Of COmPOSitC insulator

某一区域在一定运行年限内,复合绝缘子出现损坏的只数之和与运行复合绝缘子只数之比,用百 分数表示。

4 一般技术要求

4.1基本要求

绝缘子应符合GBrrI9519DLZr 810的规定,并满足:

a) 伞套材料选用高温硫化硅橡胶绝缘材料:

b) 绝缘子两端端部装配件的装配采用压接式工艺;

C)釆用耐应力腐蚀芯棒。

4.2端部装配件

端部装配件应符合GB∕T21421.I, JB11219.1DLTT 1579的规定,并满足:

a) 端部装配件锌层符合JBΛΓ 8177的规定。绝缘子压接部位的镀锌层不得有起皮、分层、开裂或 脱落等缺陷;

b) 端部装配件连接结构尺寸应符合GBfT4056的规定:

C) 160kN及以上强度等级的端部装配件釆用锻造工艺。

4.3伞裙、护套材料

伞裙、护套材料的憎水性、电气、机械性能应满足DLrr 376, DLTT 81。的规定。

4.4伞裙和护套最小厚度

复合绝缘子的伞裙和护套最小厚度应满足表1规定。伞裙和护套最小厚度测貝方法见附录A

1复合绝缘子伞裙和护套最小厚度

电压等级 kV

±400

±500

±660

±800及以上

护套最小厚度 mm

5.0

5.0

5.0

6.0

伞裙最小厚度 mɪn

大小伞裙边缘

3.5

3.5

3.5

3.5

大伞裙根部

6.0

7.0

7.0

7.0

1小余的上倾角与大伞相同.

2 ±50kV±165kV柔性宜流系统待定.___________________________________________

4.5芯棒

绝缘子的芯棒性能应满足DITr 1580的规定。

4.6电气性能

4.6.1绝缘水平

绝缘水平的选择应满足GBfT311.1GBΓΓ311.2的规定。

当绝缘子用于海拔超过IOoOm时,按DlTT 368进行校正。

4.6.2无线电干扰水平

在规定1.1倍域高运行电压(Um为最高运行电压)下,安装所设计的均压装置后绝缘子的无线 电干扰水平不大于5∞μV.

4.7机械性能

4.7.1額定机械拉伸负荷等级

绝缘于的额定机械拉伸负荷(SML)宜从下列等级中选取:160kN210kN300kN. 420 ( 400) kN

550 (530) kN, 840kNl∞0kN,

4.7.2试验负荷

试凝负荷应满足以下规定:

5选择原则

5.1 一般原则

在新建、扩建或改建输变电工程中,绝缘子的选择应遵循"技术成熟、工艺先进、质量可靠、有 运行经验”的原则。新产品批斌使用之前,应通过定型试验,且试运行时间不得少于1年。一般情况 下,+40OkV及以上产品试运行数最不应小于90只•年。

运行绝缘子年损坏率应小于0.05%.

常用伞形如图I所示•


b)-一大一小伞


C) 一大两小伞

d) -*大一中两小伞


a)等径伞

注:C为伞间岐小距膚.

1常用伞形示意图

5.2人工污秽直流耐受电压

绝缘子应满足人工污秽直流耐受电压试验要求。在给定等值附盐密度卜的人工污秽宜流耐受电压 应满足运行对其要求。

注:宜流岌合绝缘r的爬电因素正在研究中.

5.3均压装置

均压装置应满足以卜要求:

a) 绝缘子高压端和接地端应各安装-个均压装置:

b) 均压装置设计应使复合绝缘子端部场强控制在合理范围:

C)采用双节结构的复合绝缘子,中间连接部分应安装满足场强控制和防电晕技术要求的均压屏蔽 装置:

d) 均压装覚的材料宜使用铝合金,并具有足够的机械强度,均压环的管径、环径及屏蔽深度应满 足场强控制、防电晕等有关技术要求:

e) 设计均压装置时应使均压装置的安装位置具有唯•性:

f) 是否采用防鸟害型均压装置由需方选择;

g) ±40OkV±110OkV夏合绝缘子用均压装置的典型配置及参数推荐参见附录B∙

5.4电气特性

电气特性应满足GB311.1GB50064及本部分的規定。

5.5机械特性

机械特性应满足GB/T 19519, DL/T810GBΛΓ21421.k JB/T 11219.1及本部分的规定。

5.6特殊要求

特殊要求如卜,:

a) 瓷或玻璃绝缘子与复合绝缘于相互更换时,应满足尺寸、机械负荷及电气性能(雷电、操作) 的等效性,还应校核其耐宙水平、风偏和导线对地及交义跨越距离;

b) 用于多宙区的绝缘子,其干弧距离不应小于设计规程所规定的盘型悬式绝缘子串的干孤距离;

C)对覆冰区应加强防止冰闪措施,推荐采用增加大伞间距的伞形结构,如一大两小伞、大-小-中-小-大伞或大-中-小伞等:

d)用于强风地区(风速≥20m∕s)的绝缘子,其伞裙边缘厚度不低于3.8mm,根部厚度不低于 13rnm,伞伸出差不大于20mm,根部倒角半径不低于IOmm

6检验

6.1新绝缘子的验收试验

新绝缘子在挂网前,应进行验收试装。软收试验内容应满足本部分附录C的规定。

6.2运行绝缘子的抽检试验

6.2.1抽检周期

抽检周期应满足以下规定:

a) 正常情况下,运行时间达5年〜8年的复合绝缘于应按批进行•次抽检试毁,并结合积污和运 行状态做好记录分析;

b) 第一次抽检后,应根据抽检结果,确定下一次抽检时间,抽检周期不宜超过5年;

C)特殊情况下,应结合运行经验,缩短抽检周期。

6.2.2抽样数量

抽样试验使用两种样本一ElE2,样本的大小见表2。若被检验绝缘子多于IOooO只,则应将 它们分成几批,每批的数量在2000只〜IoOoO只。试验结果应分别对每批做出评定。

绝缘了的批次可按制造企业、运行年限、电压等级、运行环境等,并由各地结合运行实际确定。 一般情况下,抽样数量按表2规定进行。

2抽样试验样本数量

批 量N

样本大小______

El

E2

NW300

2

1

3OOVNW2OOO

4

3

2000VNW 5000

8

4

5000VNWloOOO

12

6

6.2.3抽检项目

运行绝缘子抽检项冃见表3

3抽检项目

序号

__________试验项目名称__________

试品数Bt

试验方法

1

憎水性试验

E1+E2

DL/T 1474

2

带护套芯棒水扩散试验

E2

D Iyr 810

3

水点后的陡波前冲击酎受电压试验

E2

DL/T810

4

_________密封性能试验

El中取1

DIZT 810

5

机械破坏负荷试验

El

D 1√T 810

1密封性能试验时,規定施加的机械拉伸负荷为90%额定机械拉伸负荷(SML) .

2为积累绝缘子运行经验,宜測最抽检绝缘子的污秽度._____________________________

6.2.4憎水性检验周期及判定准则

运行绝缘子憎水性检验周期及判定准则见表4

4憎水性检验周期及判定准则

憎水性等级

检验周期

_______¥_______

判定准则

HCI-HC2

6

继续运行

HC3 HC4

3

继续运行

HC5

1

继续运行,须跟踪检测

HC6

退出运行

6.2.5检验评定准则

如果仅有1只试品不符合表3中第2、第3、第4项中的任-项时,则在同批产品中加倍抽样进行 重复试毁。若第一次试騎时有超过1只试品不合格或在重复试验中仍有1只试品不合格,则该批(指 同一厂家在同-年挂网运行在相近环境的同•线路的绝缘子)复合绝缘子应退出运行。

若仅有I只试品机械破坏强度低于90%额定机械拉伸负荷SML)时,应在同批产品中加倍抽样试 验,若第一次试验时有超过I只或重复试验中仍有1只试品的机械破坏强度低于90%额定机械拉伸负荷 (SML)时,则该批绝缘于应退出运行•

6.3运行绝缘子的带电检测

对于运行绝缘子,可通过红外诊断、憎水性检测等手段评估分析绝缘子的运行状况。红外诊断方 法见DS 664,憎水性检测方法见DLZT 1474.

7储存、运输及安装

7.1储存

本部分规定的储存是指复合绝缘子在使用单位的储存。储存前应检査绝缘子外包装不应有明显挤 压、破损痕迹。外包装合格后储存。

7.1.2库房储存

绝缘于应储存在干燥、通风的库房中,防止水浸、鼠咬等外力造成的损坏,禁止在绝缘于上直接 压重物或堆放有尖锐棱角物品,避免伞裙变形或机械损伤。包装物堆放高度应符合制造厂要求,-般 不宜超过8层。

7.1.3户外储存

户外储存除满足以上规定要求外,还应做好防雨措施。

7.2运输

本部分规定的运输是指复合绝缘K从储存地点运至安装现场。运输和搬运时必须在包装完好的情 况下进行.

7.2.2汽车运输

当采用汽车运输时,绝缘子包装箱(筒)堆放应满足7.2.1的规定。卸货时,严禁拖拽、抛摔,保 证包装箱(简)平稳落地。

7.2.3人工搬运

人工搬运较检4m以上)的装有绝缘子的包装箱(筒)时,应由3人或3人以上进行搬运,避免 绝缘子损伤。应按外包装标识位置人工搬运。对于较K的绝缘子,应釆取措施,避免绝缘子损伤。

7.3安装

安装前须按DUr 810对绝缘子逐一进行外观检査,伞裙撕裂、护套受损或端部密封破坏的绝缘子 禁止使用。绝缘子安装应注意:

a) 轻拿轻放,不应投掷,并避免与尖硬物碰撞、摩擦。

b) 起吊时绳结要打在金属附件上,禁止直接在伞套上绑扎。

C)禁止.踩踏绝缘子伞套。

d) 正确安装均压装置,注意安装到位,不得装反,并仔细调整环面与绝缘子轴线垂直。对于开口 型均压装置,注意两端开口方向一致。

e) 对于使用在鸟啄绝缘子频发的地区,带电投运前宜有鸟啄防护措施。

8验收

绝缘子安装前的验收内容一般包括:

a) 出厂合格证。

b) 装箱单与附件的一致性.

C)安装说明书。

d) 锁紧销。

e) 合同规定的内容。

f 检査外包装是否完好,核对规格、型号,并现场拆除外包装检査绝缘子外观。绝缘了外观应符 合Dlyr 810要求,如发现不符合部分要求,或个裙有永久变形使相邻余裙α间距超过三分之 -•的不宜使用。

9日常巡检与维护

9.1日常巡检

对于已运行的绝缘子,一般应按Dur 741规定进行日常巡视、登杆检査和定期监测。检査内容应 包括:

a) 在雨、雾、露、雪等y象条件下绝缘于表面的局部放电情况及憎水性能是否减弱或消失。

b) 硅橡胶伞裙和护套表面是否有蚀损、漏电起痕、树枝状放电或电弧烧伤痕迹。

C)伞裙是否出现硬化、脆化、粉化、开裂、破损等现象。

d) 伞裙是否变形,伞裙之间黏接部位是否有脱胶等现象。

e) 端部金具连接部位是否有明显的滑移,密封是否破坏。

f) 是否岀现钢脚锈蚀、钢脚弯曲、电弧烧损、锁紧销缺少。

g) 闪络后伞裙和护套表面被电孤灼伤。

h) 均压装置是否齐全,安装位置是否正确。

i) 锌环腐蚀情况。

j) 护套检査(鸟啄频发地区).

k) 观察或检査结果应记录存档.

9.2特殊检查

中、重污区的绝缘子应定期检査其憎水性能是否减弱或消失。当灰密测鼠值超过2.0mg∕cm2时,应 加强憎水性跟踪检测。

9.3维护

运行维护内容包括:

a) 当线路遭受覆冰、台风、暴风雨、舞动等不良工况,应对绝缘子及连接金具进行检査。

b) 当绝缘子发生闪络后,应对绝缘子进行检査:若绝缘子伞相和护套、端部附件无明显损伤时,

一般可不更换.

C)同批绝缘子出现普遍性缺陷时,应对该批绝缘子进行检测。

d) 绝缘子受到外力破坏时,若仅个别伞裙上发现微小破损,则可不更换。

e) 杆塔涂刷防锈漆时,应对绝缘子加以遮护,避免油漆滴落到绝缘子表面。

f) 对于特殊污秽地区需采取特殊维护措施。

g) 当绝缘了表面憎水性尚未永久消失,雨雾天气未出现明显放电时,可继续使用。

9.4更换

若单只绝缘子出现以下情况之一,应予以更换:

a) 伞裙脆化(伞裙对折时开裂);

b) 憎水性永久消失;

C)护套受损危及芯棒;

d) 伞裙大量破损(超出1/4伞裙数量):

e) 伞裙和护套出现严重烧蚀:

f) 绝缘了各连接部位密封失效、出现裂缝和滑移;

g) 6.2.36.2.4检测项目检测后不满足要求的;

h) 采用红外热像仪检测温升异常,经过分析评估,不能继续使用的.

如批次绝缘子在6.2.36.2.4项抽检试验结果中,机电性能未出现明显下降时(例如机械破坏负荷 不低于90%额定值,雷电、操作冲击耐受性能满足相关要求),可根据实际情况逐步更换。

9.5运行统计

应对每批次的绝缘子建立运行档案,并分类统计复合绝缘子的闪络小故和质量问题。统计格式参 见附录D

10技术管理

10.1建立档案

运行单位应根据DLTT741规定建立设备档案和进行技术管理。档案内容包括:

a)绝缘子制造单位、生产日期、规格、型号、主要技术参数、挂网运行时间、线路名称、塔号、 相别、运行环境、巡视记录、定期检査祀录、试验记录、事故处理、抽样检测等;

b)定型试验报告、出厂试验报告、出厂合格证另、安装使用说明书等:

C)异常及缺陷记录、缺陷处理及消缺记录等;

d)应加强复合绝缘子损坏(故障)统计,统计表参见附录D

10.2状态评价

运行单位应根据运行巡视、停运检査及抽样试验结果对绝缘子的运行状况进行评估分析总结。

附录A

(规范性附录)

伞裙和护套最小厚度测量

A.1伞裙最小厚度

A.1.1测量部位

为便f统一,本部分规定通过测呆:以图A.1所示部位的序度,来比较分析不同绝缘子的伞裙最小厚度。

A.1伞裙最小厚度测量示意图

A.1.2试品准备

试样在绝缘子大伞上随机选取。

A.1.3测量方法

推荐采用橡胶手提式測原计或其他等效的仪器测M:,其测卮精度不应小于0.0Imn1.

Iit时应避免余裙表面变形。有争议时,以断面厚度为准.

每只绝缘子取3个大余的试样。每个试样选取2个不同部位进行测量,以平均值表示毎个试样的此 小厚度。

A.2护套最小厚度

A.2.1试品

可从机械破坏负荷试凝后绝缘子的完好部分抽取。

A.2.2试验方法

每只绝缘子任取三个剖而,测量剖开断而芯棒护套的最小厚度。

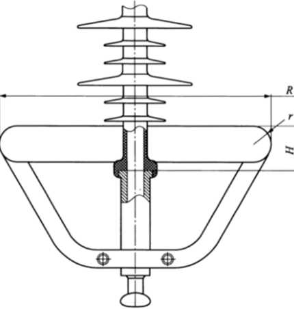
附录B

(资料性附录)

±400kV~± IlOOkV复合绝缘子用均压装置典型参数

均压装置的常用结构形式为圆环形,主要尺寸包括环外径R、圆管半径八屏蔽深度H等。示意图 见图B.I.

B.1均压装置示意图

典型均压装置配置参数见表B. 1

B.1典型均压装置配置参数

电压等级 kV

____________________配賞参数(RirIH)_____________________

高压端 mm

低压端

mm

±4Ooa

232/16/32 (小环)

800/40/260 (大环)

560/30/12Ob

±5∞

400/30/100

400/30/80

±660c

232/16/32 (小环)

800/40/260 (大环)

560/30/120

±800

232/16/32 (小环) 1240/60/320 (大环)

560/30/120

±1100

232/16/32 (小环) 1600/80/420 (大环)

560/30/120

β青藏联网工程设计参数,并己按300Om海拔进行修正.

b 560/30/120表示均压环外径/?、岡管半径,、屏蔽深度H分别为56Omm30mm12Omm,其他类似。

C宁东直流工程设计参数.______________________________________________

Il

附录C (规范性附录) 复合绝缘子抽样验收试验

C.1总则

抽样试验使用两种样本——EIE2,此两种样本的大小见表C.K若被检验多于IO OOOH,则应将 它们分成儿批,每批的数量在2000只〜IooOO只。试验结果分别对每批做出评定。

绝缘子从该批中随机地抽取,对抽取样本进行相应的抽样试验。

抽样试验项目包括:

——尺寸检査(E1+E2)

——锁紧系统检査E2)

——镀锌层试验E2)

——冲击击穿电压耐受试驶(E1)

——毁证金属附件和伞套间界面的渗透性E2)和验证额定机械负荷的试验E1)

——1.2倍额定机械负荷耐受试验E1)

——最小护套厚度检査EIK

如果有一只试品不能满足任一项试骑要求,则按照重复试验程序进行重复试验。若仅尺寸检査不 合格,则允许优选。

C.1抽样方案

StN

样本大小__________

EI

E2

____试品总数____

NW 300

2

2

4

3OOVNW2OOO

4

3

7

2000VNW50∞

8

4

12

5000<ΛΓ≤ 10000

12

6

18

C.2重复试验程序

如果仅有只绝缘子或金属件不能满足抽样试毁要求,则抽取原先提交试號数量两倍的新样品进 行重复试騎。

重复试验包括未通过的该项试臆及对该项试凝有影响的相关项试驶。

如果有两只或更多只绝缘子或金属附件不能满足抽样试验中的任何一项,或如果在重复试監中有 任何一项试验不通过。则认为该批绝缘子不能满足本部分要求,并由制造厂收回。

若能清楚地知道试凝未通过的原因,则制造厂可以从该批中剔除所有有缺陷的绝缘子。然后将挑 选后的批再提交试鹼。抽取等于第一•次抽取数量三倍的试品进行重复试凝。如果在重复试装中有任何 绝缘子不通过,则认为该批绝缘于不能满足本部分要求,由制造厂收冋。

附录D (资料性附录) 复合绝缘子损坏(故障)统计表

复合绝缘了损坏统计表和故障统计表分别见表D.1和表D.2

D.1复合绝缘子损坏统计表

变电站或线路名称

电压等级

投运时间

绝缘「用号

制造企业

生产日期

损坏描述

D.2复合绝缘子故障统计表

变电站或线路名称

电压等级

投近时间

绝缘「型号

制造企业

生产日期

故障描述

'I'华人氏共和国 电力行业标准 标称电压高于IOOOV架空线路绝塚子 使用导则

4部分:直流系统用棒形悬式复合绝缘子

DLzT IOoO.4 —2018

中国电力出版社出版、发行

(北京市东城区北京站西街 19 V IoOoO5 http://www.ccpp.sgcc.COm.cn) 北京传奇佳彩印刷冇限公司印刷

*

20197月第-版 20197月北京第•次印刷

880 ⅞X 1230臺米16升本1印张27 F

印数Ool-500

统 小号155198 • 1435 定价15.00

版权专有侵权必究


I5如仃印装质償问题,我社甘績中心负贵退换

为您提供最及时、Iti准确、炎仪碱的电力标准信息


155198.1435