备案号:J2370—2017
中华人民共和国化工行业标准
HG/T 20229—2017
代替 HG 20229—1991
化工设备、管道防腐蚀工程 施工及验收规范
COde for construction and acceptance Of ChemlCal equipment and PiPeline anticorrosive engineering
2017-04-12 发布
2017-10-01 实施
中华人民共禾口国工业禾口信息化咅)5 发 布
中华人民共和国化工行业标准
化工设备、管道防腐蚀工程 施工及验收规范
COde for COnStrUCtiOn and acceptance Of Chelnical equipment and PiPeline anticorrosive engineering
HG/T 20229—2017
主编单位:中国化学工程集团公司
中化二建集团有限公司
全国化工施工标准化管理中心站
批准部门:中华人民共和国工业和信息化部
实施日期:2017年10月1日
科学技术文献出版社
SClENTIFlC ANDTECHNICAL DOCUMENTArION PRESS
•北京•
中华人民共和国工业和信息化部
公 告
2017年第14号
工业和信息化部批准《铝型材辗式矫正机》等652项行业标准 (标准编号、名称、主要内容及实施日期见附件),其中机械行业标准 249项、航空行业标准14项、船舶行业标准29项、制药装备行业标准 8项、汽车行业标准22项、化工行业标准14项、冶金行业标准30项、 建材行业标准50项、石化行业标准24项、纺织行业标准46项、轻工 行业标准69项、包装行业标准10项、电子行业标准16项、通信行业 标准71项;批准《车用超级电容器》等2项行业标准修改单,现予公 布。行业标准修改单自发布之日起实施。
以上机械行业标准由机械工业出版社出版,航空行业标准由中 国航空综合技术研究所组织出版,船舶行业标准由中国船舶工业综 合技术经济研究院组织出版,制药装备、包装行业标准由中国计划出 版社出版,汽车行业标准及化工行业工程建设标准由科学技术文献 出版社出版,化工行业产品标准由化工出版社出版,冶金行业标准由 冶金工业出版社出版,建材行业标准由建材工业出版社出版,石化行 业标准由中国石化出版社出版,纺织行业标准由中国标准出版社出 版,轻工行业标准由中国轻工业出版社出版,电子行业标准由工业和 信息化部电子工业标准化研究院组织出版,通信行业标准由人民邮 电出版社出版。
附件:6项化工行业工程建设标准编号、标准名称和实施日期
中华人民共和国工业和信息化部
二O—七年四月十二日
附件:
6项化工行业工程建设标准编号、标准名称和实施日期
|
序号 |
标准编号 |
标准名称 |
被代替标准编号 |
实施日期 |
|
327 |
HG/T 20660—2017 |
压力容器中化学介质毒性危害和 爆炸危险程度分类标准 |
HG 20660—2000 |
2017-10-01 |
|
332 |
HG/T 20206—2017 |
化工机器安装工程施工及验收规 范(中小型活塞式压缩机) |
HGJ 206—1992 |
2017-10-01 |
|
333 |
HG/T 20205—2017 |
化工机器安装工程施工及验收规 范(离心式压缩机)________ |
HGJ 205—1992 |
2017-10-01 |
|
334 |
HG/T 20201—2017 |
化工工程建设起重规范 |
HG 20201—2000 |
2017-10-01 |
|
335 |
HG/T 20212—2017 |
金属焊接结构湿式气柜施工及验 收规范____________ |
HGJ 212—1983 |
2017-10-01 |
|
336 |
HG/T 20229—2017 |
化工设备、管道防腐蚀工程施工 及验收规范__________ |
HGJ 229—1991 |
2017-10-01 |
本规范根据工业和信息化部(工信厅科〔2009〕104号文)和中国石油和化学工业联合会(中石化 联质发C2OO93136号文)的要求,由中国石油和化工勘察设计协会委托全国化工施工标准化管理中 心站组织修订。
本规范自实施之日起代替HGJ 229—1991《工业设备、管道防腐蚀工程施工及验收规范》。
本规范编制组经广泛的调查研究,认真总结和吸收了我国化工及相关行业建设项目防腐蚀工程 施工和管理的经验,参考有关国际标准和国外先进标准,并在广泛征求意见的基础上,修订本规范。
本规范主要技术内容是:总则、术语、基本规定、金属表面预处理、砖板衬里、橡胶衬里、纤维增强 塑料衬里、塑料衬里、防腐蚀涂层、玻璃鳞片衬里、金属热喷涂、铅衬里、喷涂型聚脈衬里、氯丁胶乳砂 浆整体面层衬里、阴极保护、安全技术要求、环境保护技术要求和工程交接等。
本规范与HGJ 229—1991相比,主要变化如下:
(1) 标准名称修改为《化工设备、管道防腐蚀工程施工及验收规范》;
(2) 新增术语、玻璃鳞片衬里、喷涂型聚脈衬里、氯丁胶乳砂浆整体面层衬里、阴极保护和环境 保护技术措施共6章,改写气喷涂为金属热喷涂1章;
(3) 删除了原标准附录E水玻璃胶泥的热处理条件及橡胶硫化条件、附录F橡胶板贴衬的剥离 强度试验、附录G自然硫化氯丁胶未硫化时的修补要求和附录H考试规定等内容,增加了附录E涂 料使用量的估算等内容;
(4) 其他的章节在名称、内容和编排顺序上进行了调整、修改和补充。
本规范由中国石油和化学工业联合会提出并归口。
本规范的技术内容由中化二建集团有限公司负责解释。本规范在执行过程中如有意见和建议, 请与中化二建集团有限公司联系(联系地址:山西省太原市长风商务区谐园路9号化建大厦,邮编: 030021,电话:0351-6599009/6599299)以供今后修订时参考。
本规范主编单位、主要起草人和主要审查人:
主编单位:中国化学工程集团公司
中化二建集团有限公司
全国化工施工标准化管理中心站
|
主要起草人:王冰 |
胡富申 |
邙维萍 |
王瑞军 |
董宁师 |
王丽霞 |
王喜萍 |
|
李文才 |
秦金瓜 |
张永胜 |
刘文珍 |
殷敏杰 |
刘录军 | |
|
主要审查人:侯锐钢 |
董秀峰 |
刘福云 |
潘小洁 |
沈青 |
陆士平 |
赖广森 |
|
刘英涛 |
辜志俊 |
目 次
COntentS
8. 5 COnStrUCtiOn Of PIaStiC Iining for PiPe
APPendiX A QUality index Of raw material
APPendiX B TeSting method for raw material and finished PrOdUCtS
APPendiX C MiXtUre ratio Of COnStrUCtiOn
APPendiX D RegUlating method for Water glass modulus and denSity
APPendiX E The estimation Of COating USage
EXPIanatiOn Of WOrding in this Standard
AdditiOn: EXPlanatiOn Of the PrOViSiOnS
Vl
1.0.1为提高化工设备、管道防腐蚀工程的施工水平,加强防腐蚀工程施工过程的质量控制,保证 防腐蚀工程的施工质量,制定本规范。
1.0.2本规范适用于化工、煤化工和石油化工建设项目中以钢、铸铁为基体的设备,管道防腐蚀工 程的施工及验收。
1.0.3防腐蚀施工所用的材料应具有产品质量文件。其产品质量文件应包括下列内容:
1原材料性能检测报告。
2质量技术指标及检测方法。
3材料安全数据表。
4技术鉴定文件。
1.0.4需要现场配制使用的材料,应经试验确定。经试验确定的配合比不得任意改变。
1.0.5防腐蚀工程施工应按设计文件及本规范的规定执行。当需要变更设计、材料代用或采用新 材料时,应经原设计单位同意。
1. 0. 6化工设备、管道防腐蚀工程的施工及验收除应符合本规范外,尚应符合国家现行有关标准的 规定。
2. 0.1 材料安全数据表 material Safety data Sheet(MSDS)
材料安全数据表是关于危险化学品的燃烧和爆炸性能、毒性和环境危害、安全使用、泄漏应急救 护处置、主要理化参数和法律法规方面的综合性文件。
2. 0. 2 纤维增强塑料衬里 Iining PrOjeCt Of fiber reinforced PIaStiCS
纤维增强塑料衬里是指以合成树脂为黏结剂,纤维及其织物为增强材料,贴衬或喷射的设备、管 道衬里层或隔离层。
2. 0. 3 玻璃鳞片衬里 Iining Of glass—flake
玻璃鳞片衬里是以耐腐蚀树脂为基料,以玻璃鳞片为骨料,添加各种功能性添加剂混配而成的 胶泥状防腐蚀材料,涂覆于经处理的待防护基体表面而形成的防腐蚀衬里层。
2. 0. 4 衬铅 Iining Iead
在设备或管道表面贴衬铅板的一种衬里施工方法。
2. 0. 5 搪铅 enamel Iead
利用铅在熔融状态下的溶合力或黏着力紧密结合在钢铁表面上的一种铅衬里施工方法。
2. 0. 6 阴极保护 CathOdiC PrOteCtiOn
通过阴极极化而控制电化学腐蚀的一种保护方法,可分为外加电流保护法和牺牲阳极保护法。
2. 0. 7 辅助阳极 impressed curTentanOde
与外加电流电源的正极相连,仅限于以导电为目的的电极。
2. 0. 8 参比电极 reference electrode
在测量电位时用以作为参照的、可再现电位的电极。
2. 0. 9 汇流点 drain POint
阴极电缆与被保护构筑物的连接点。
3.1 一般规定
3.1.1防腐蚀工程的施工应具备下列条件:
1设计及相关技术文件应齐全,施工图纸已经会审。
2已完成施工方案和技术交底。
3施工人员已进行技术和安全培训。
4材料、施工机具、检测仪器和施工场地已齐备。
5防护设施安全可靠,施工用水、电、气、汽可满足连续施工的需要。
6已制定了相应的安全应急预案。
3.1.2设备、管道的加工制作应符合施工图及设计文件的要求。在防腐蚀工程施工前,应进行检查 验收,并应办理交接手续。
3.1.3在防腐蚀工程施工过程中应进行中间检查。
3.1. 4设备、管道外壁附件的焊接和切割工作,应在防腐蚀工程施工前完成。
3.1. 5在防腐蚀工程施工过程中,不得同时进行焊接、气割和直接敲击作业。
3.1.6转动设备在防腐蚀施工后,应做静平衡或动平衡复核检查。
3.1.7受压的设备、管道在防腐蚀施工前,应进行强度或严密性试验,合格后方可进行防腐蚀施工。 当试验前进行防腐蚀施工时,应留出全部焊缝,并将焊缝两侧的防腐蚀层做成阶梯状接头,待试验合 格后再进行防腐蚀施工。
3.1.8对不可拆卸的密闭设备必须设置人孔,且数量不应少于两个。
3.1.9已防腐蚀合格的设备或管道在吊装和运输时,应采取防护措施,不得碰撞和损伤防腐蚀层, 并应妥善保管。
3.2基体要求
3. 2.1应对设备、管道表面的锐角、棱角、毛边、铸造残留物进行打磨,表面应光滑平整和圆弧过渡。
3.2.2衬里设备、管道的基体应符合现行行业标准HG/T 20678《衬里钢壳设计技术规定》的有关 规定。
3. 2.3基体表面预处理完毕应进行中间检查,并应办理工序交接手续后,方可进行防腐蚀工程的 施工。
3.3 焊缝的要求及处理
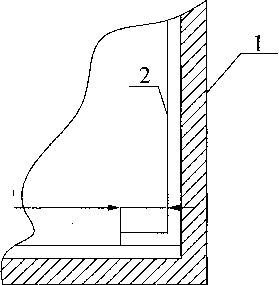
3.3.1设备、管道的焊接坡口型式应符合设计规定。焊缝表面应饱满,无缺陷。焊缝与母材宜磨平 或平滑过渡,焊缝高度不应大于2 mm(图3. 3. 1),并应彻底清除焊接飞溅物。
¾
图3.3.1对接焊缝
3.3.2设备转角和接管部位的焊缝应饱满,并应打磨成钝角,形成圆弧过渡,不得有毛刺和棱角。
3.3.3角焊缝的焊角高(图3. 3. 3-1)应大于或等于5 mm;凸出角焊缝的焊接圆弧半径(图3. 3. 3-2) 应大于或等于3 mm,内角的焊接圆弧半径(图3.3. 3-3)应大于或等于10 mmO
图3.3.3-1角焊缝 图3.3.3-2凸出角焊缝 图3.3.3-3内角焊缝
3.3.4施焊过程中,不得在基体母材上引弧;清理组对卡具时,不得损伤基体母材。
4.1 一般规定
4.1.1金属表面预处理质量等级划分应符合下列规定:
1喷射或抛射除锈质量等级应分为SaKSa2.Sa2¼^Sa3四级。
2手工或动力工具除锈质量等级应分为St2、St3两级。
3化学方式除锈质量等级应为Pi 一级。
4.1.2金属表面预处理可采用喷射或抛射、手工或动力工具等方式,质量等级应符合现行国家标准 GB/T 8923.1《涂覆涂料前钢材表面处理 表面清洁度的目视评定 第1部分:未涂覆过的钢材表 面和全面清除原有涂层后的钢材表面的锈蚀等级和处理等级》的有关规定。
4.1. 3化学方式处理后的金属表面应完全除去油脂、氧化皮和锈蚀物。
4.1.4金属基体表面处理后,应涂覆底层涂料,间隔时间不宜超过4 h。当相对湿度大于80%时,宜 采用干燥措施或应停止表面预处理作业。
4.1.5当设计对防腐蚀衬里层的金属表面预处理无质量要求时,其质量要求应符合表4.1.5的 规定。
表4.1. 5防腐蚀层对金属表面预处理的质量要求
|
序号 |
防腐层类别 |
金属表面预处理质量等级 |
|
1 |
金属热喷涂 |
Sa3级 |
|
2 |
橡胶衬里、搪铅、纤维增强塑料衬里、树脂胶泥砖板衬里、涂料涂层、塑料板黏 结衬里、玻璃鳞片衬里、喷涂聚腿衬里 |
Sa2K级或Pi级 |
|
3 |
水玻璃胶泥砖板衬里、涂料涂层、氯丁胶乳水泥砂浆衬里 |
Sa2级或St3级或Pi级 |
|
4 |
衬铅、塑料板非黏结衬里 |
Sal级或St2级 |
注:Pi级仅适用于搪铅、水玻璃胶泥砖板衬里或喷射处理无法进行的场合。
4.1.6预处理后的金属基体表面氯离子含量应符合设计规定。
4.1.7经预处理后的金属基体表面在保管和运输过程中发生再度污染或锈蚀时,应重新进行处理。
4.2 施 工
4. 2.1釆用喷射或抛射处理时,应釆取防止粉尘扩散的措施。
4.2.2喷射或抛射处理釆用的磨料粒度应符合表4.2.2的规定。磨料应经筛选,不得含有油污,含 水量不应大于l%o
表4. 2.2磨料粒度选用表
|
序号 |
磨料种类 |
磨料粒度组成标准筛号∕mm |
|
1 |
铁丸或钢丸 |
全部通过14筛号,不通过35筛号,20筛号筛余量不得小于85% |
|
2 |
钢线粒 |
线粒直径1.0,线粒长度等于直径,其偏差不得大于直径的士 40% |
|
3 |
激冷铁砂或激冷铁丸 |
全部通过18筛号,不通过45筛号,30筛号筛余量不得小于85% |
|
4 |
金刚砂 |
全部通过10筛号,不通过45筛号,30筛号筛余量不得小于40% |
|
5 |
石英砂 |
全部通过7筛号,不通过45筛号,20筛号筛余量不得小于40% |
4. 2. 3磨料需重复使用时,应符合本规范第4. 2. 2条的规定。
4. 2.4螺纹、密封面及表面不作喷射或抛射处理的光洁面应妥善保护,不得受损。
4. 2.5进行喷射或抛射作业时,金属表面温度应高于露点温度3 OCO当温度差值低于3 °C时,应停 止作业。在不同的环境温度和相对湿度下,露点数据的确定应符合表4. 2. 5的规定。
表4. 2.5 露点(TP)数据确定表
|
环境温度/°C |
相对湿度/% | ||||||||||||
|
30 |
35 |
40 |
45 |
50 |
55 |
60 |
65 |
70 |
75 |
80 |
85 |
90 | |
|
露点/°C | |||||||||||||
|
6 |
-10.0 |
—8. 0 |
-6.2 |
一 4.7 |
—3. 2 |
—2.1 |
-1.0 |
-0. 1 |
0. 9 |
1.8 |
2.8 |
3.7 |
4.5 |
|
8 |
-8.8 |
—6. 6 |
-4.8 |
-3.2 |
—1. 6 |
-0.4 |
0. 8 |
1.8 |
2.8 |
3.8 |
4.7 |
5. 9 |
6. 5 |
|
10 |
-6.7 |
-4. 7 |
-2. 9 |
-1.4 |
0.1 |
1.4 |
2.6 |
3.7 |
4.8 |
5.8 |
6.7 |
7. 6 |
8.4 |
|
12 |
—5. 0 |
—2. 9 |
-1.1 |
0. 5 |
1.9 |
3. 2 |
4.5 |
5. 6 |
6.7 |
7.7 |
8.7 |
9. 6 |
10.4 |
|
14 |
一 4.3 |
-1. 2 |
0. 6 |
2.3 |
3.8 |
5. 1 |
6.4 |
7.5 |
8. 6 |
9.7 |
10. 6 |
11.5 |
12.4 |
|
16 |
—1. 5 |
0. 6 |
2.4 |
4. 1 |
5. 6 |
6. 9 |
8.3 |
9.6 |
10. 5 |
11. 6 |
12. 6 |
13. 5 |
14.4 |
|
18 |
0. 2 |
2. 3 |
4.2 |
5. 9 |
7.4 |
8.8 |
10.1 |
11.3 |
12. 5 |
13. 5 |
14.5 |
15.5 |
16. 3 |
|
20 |
1. 9 |
4.1 |
6.0 |
7.7 |
9. 3 |
10.7 |
12.0 |
13.2 |
14.4 |
15.4 |
16.4 |
17.4 |
18.3 |
|
22 |
3.7 |
5. 9 |
7.8 |
9.5 |
11.1 |
12. 5 |
13. 9 |
15.1 |
16. 3 |
17.4 |
18.4 |
19.4 |
20. 3 |
|
24 |
5.4 |
7. 6 |
9. 6 |
11. 3 |
12. 9 |
14.3 |
15.8 |
17.0 |
18.2 |
19. 3 |
20. 3 |
21. 3 |
22. 3 |
|
26 |
7. 1 |
9. 3 |
11.4 |
13. 1 |
14.8 |
16.2 |
17.6 |
18. 9 |
20.1 |
21.2 |
22.3 |
24.3 |
24.2 |
|
28 |
8. 8 |
11.1 |
13. 1 |
14. 9 |
16.6 |
18. 1 |
19.5 |
20.8 |
22. 0 |
23. 1 |
24.2 |
25. 3 |
26.2 |
|
30 |
10. 5 |
12.8 |
14. 9 |
16. 7 |
18.4 |
19. 9 |
21.4 |
22. 7 |
23. 9 |
25. 1 |
26. 2 |
27. 2 |
28.2 |
|
32 |
12.3 |
14.6 |
16.7 |
18. 5 |
20. 3 |
21. 7 |
23.2 |
24. 6 |
25.8 |
27.0 |
28.1 |
29.2 |
30. 1 |
|
34 |
14.0 |
18.4 |
18.5 |
20. 3 |
22.1 |
24. 3 |
25. 1 |
26. 5 |
27.7 |
28.9 |
30.0 |
31.2 |
32. 1 |
|
36 |
15. 7 |
18.1 |
20. 3 |
22. 1 |
23.9 |
25. 5 |
27.0 |
28.4 |
29. 6 |
30. 9 |
32. 0 |
33. 1 |
34. 1 |
|
38 |
17.4 |
19. 8 |
22.0 |
23. 9 |
25. 7 |
27. 3 |
28. 9 |
30.1 |
31. 6 |
32.8 |
33. 9 |
35. 1 |
36. 1 |
|
40 |
19. 1 |
21. 5 |
23. 9 |
25. 7 |
27.6 |
29. 1 |
30.7 |
32.2 |
33. 5 |
34. 7 |
35. 9 |
37.0 |
38. 0 |
4. 2.6动力工具处理可采用手持风动或电动小型机械进行。
4.2.7釆用手工或动力工具处理时,不得使基体受损或变形。
4. 2.8经化学处理后的基体表面应干燥、洁净。
4.3质量检查
4.3.1经处理后的金属表面应洁净,其清洁度应符合现行国家标准GB/T 8923. 1《涂覆涂料前钢 材表面处理表面清洁度的目视评定第1部分:未涂覆过的钢材表面和全面清除原有涂层后的钢 材表面的锈蚀等级和处理等级》的有关规定。
4.3.2喷射或抛射处理后的金属表面粗糙度应符合表4.3.2的规定。
表4.3.2 金属表面粗糙度等级
|
序号 |
级别 |
粗糙度参考值Ry∕μm | |
|
丸状磨料 |
棱角状磨料 | ||
|
1 |
细级 |
25 〜40 |
25 〜60 |
|
2 |
中级 |
40 〜70 |
60 〜IOo |
|
3 |
粗级 |
70 〜IOO |
IOo〜150 |
注:Ry系指轮廓峰顶线和轮廓谷底线之间的距离。
4.3.3化学处理后的金属基体表面的氯离子含量应按现行国家标准GB/T 18570. 5《涂覆涂料前 钢材表面处理 表面清洁度的评定试验 第5部分:涂覆涂料前钢材表面的氯化物测定(离子探测 管法)》的有关规定进行测定。
5.1 一般规定
5.1.1砖板衬里工程应包括下列内容:
1水玻璃胶泥衬砌砖板的设备、管道及管件的衬里层。
2树脂胶泥衬砌砖板的设备、管道及管件的衬里层。
5.1.2施工环境温度宜为15 °C〜30 °C,相对湿度不宜大于80%。当环境温度低于10 °C时,应采 取加热保温措施,但不得采用明火或蒸汽直接加热。
5.1.3树脂、固化剂、稀释剂等材料应密闭储存在阴凉、干燥的通风处,并应有防火措施。
5.1.4设备接管衬里的施工应在设备本体衬砌前进行,并应符合下列规定:
1接管衬里用材料应符合设计规定。
2接管衬里不得突出法兰表面,管口应与法兰面处在同一平面或低于接管法兰密封面3 mm〜
5 mm;当接管设有隔离层,隔离层应与金属管黏结牢固,并翻边到设备内表面和法兰面。
3接管衬里用衬管应进行固定,直至胶泥固化,不得出现偏心或位移。
4在全部管口衬好并待胶泥固化后,再衬砌砖板。
5.1.5砖板使用前应挑选、洗净和干燥,表面应无灰尘、水分和油污现象。
5.1. 6衬砌前,宜先进行砖板试排。
5.1.7水玻璃胶泥和树脂胶泥在施工或固化期间,不得与水或水蒸汽接触,并应防暴晒。施工场所 应通风良好。
5.1.8配料用的容器和工具应耐腐蚀,并应清洁、干燥、无油污和无固化残渣。
5.1.9各种胶泥在施工过程中,当有凝固结块等现象时,不得继续使用。
5.2原材料及制成品的质量要求
5.2.1砖板的品种、规格和等级应符合设计规定。当设计无规定时,应符合下列规定:
1耐酸砖的质量应符合现行国家标准GB/T 8488《耐酸砖》的有关规定,耐酸耐温砖的质量应 符合现行行业标准JC/T 424《耐酸耐温砖》的有关规定。
2铸石板的质量应符合现行行业标准JC/T 514. 1《铸石制品 铸石板》的有关规定。
3碳砖的质量应符合本规范附录A表A.0.1的规定。
5.2.2水玻璃胶泥的原材料应符合下列规定:
1水玻璃胶泥应包括钠水玻璃胶泥和钾水玻璃胶泥。
2钠水玻璃的质量应符合现行国家标准GB/T 4209《工业硅酸钠》的有关规定。
3钾水玻璃的质量应符合现行行业标准CECS 116《钾水玻璃防腐蚀工程技术规程》的有关 规定。
4钠水玻璃固化剂采用氟硅酸钠,其质量应符合现行国家标准GB 23936《工业氟硅酸钠》的有 关规定。
5钾水玻璃的固化剂采用缩合磷酸铝,其质量应符合本规范附录A表A.0.2的规定。
5.2.3树脂胶泥常用的树脂应符合下列规定:
1树脂胶泥包括环氧树脂胶泥、乙烯基酯树脂胶泥、不饱和聚酯树脂胶泥、咲喃树脂胶泥和酚 醛树脂胶泥。
2树脂类材料的耐腐蚀性能应按本规范附录A表A.0.3确定。
3 环氧树脂的质量应符合现行国家标准GB/T 13657《双酚-A型环氧树脂》的有关规定。
4乙烯基酯树脂的质量应符合现行国家标准GB/T 50590《乙烯基酯树脂防腐蚀工程技术规 范》的有关规定。
5不饱和聚酯树脂的质量应符合现行国家标准GB/T 8237《纤维增强塑料用液体不饱和聚酯 树脂》的有关规定。
6 咲喃树脂的质量应符合现行行业标准CECS 01《咲喃树脂防腐蚀工程技术规程》的有关 规定。
7 酚醛树脂的质量应符合本规范附录A表A. 0.4的规定。
5.2.4树脂胶泥常用的固化剂应符合下列规定:
1环氧树脂的固化剂应优先选用低毒固化剂,其质量应符合本规范附录A表A. 0.5的规定。
2乙烯基酯树脂和不饱和聚酯树脂常温固化使用的固化剂应包括引发剂和促进剂,其质量应 符合现行国家标准GB 50212《建筑防腐蚀工程施工及验收规范》的有关规定。
3咲喃树脂的固化剂应为氨基磺酸类酸性固化剂。
4酚醛树脂的固化剂应优先选用低毒的荼磺酸类固化剂,也可选用苯磺酰氯固化剂,其质量应 符合本规范附录A表A.0.6的规定。
5. 2.5树脂胶泥的稀释剂应符合下列规定:
1环氧胶泥宜采用正丁基缩水甘油醍、苯基缩水甘油醍等活性稀释剂,也可采用丙酮、无水乙 醇、二甲苯等非活性稀释剂。
2乙烯基酯树脂和不饱和聚酯树脂的稀释剂应采用苯乙烯。
3咲喃树脂和酚醛树脂的稀释剂应采用无水乙醇。
5. 2. 6填料质量应符合下列规定:
1填料应洁净干燥,其质量应符合本规范附录A表A.0.7的规定。
2树脂胶泥采用酸性固化剂时,其粉料耐酸度不应小于98%,并不得含有铁质、碳酸盐杂质。
3当树脂胶泥用于含氢氟酸类介质的防腐蚀工程时,应选用硫酸钥粉或石墨粉;用于含碱类介 质的防腐蚀工程时,不宜选用石英粉。
4水玻璃胶泥不宜单独使用石英粉。
5.2.7水玻璃胶泥的质量应符合表5.2.7的规定。
表5. 2.7水玻璃胶泥的质量
|
项目 |
钠水玻璃胶泥 |
钾水玻璃胶泥 | |||
|
密实型 |
普通型 |
密实型 |
普通型 | ||
|
初凝时间∕min |
≥45 |
≥45 |
≥45 |
≥45 | |
|
终凝时间/h |
≤12 |
≤12 |
≤15 |
≤15 | |
|
抗拉强度/MPa |
≥3. 0 |
≥2. 5 |
≥3 |
≥2. 5 | |
|
与耐酸砖黏结强度/MPa |
≥1.2 |
≥1.0 |
≥1.2 |
≥1.2 | |
|
抗渗等级/MPa |
≥1. 2 |
一 |
≥1.4 |
一 | |
|
吸水率(煤油吸收法)/% |
一 |
≤15 |
一 |
≤10 | |
|
浸酸安定性 |
合格 |
合格 |
合格 |
合格 | |
|
耐热极限温度/°C |
100—300 |
一 |
一 |
一 |
合格 |
|
300〜900 |
一 |
一 |
一 |
合格 | |
注:表中耐热极限温度,仅用于有耐热要求的防腐蚀工程。
5.2.8树脂胶泥的质量应符合表5.2.8的规定。
表5. 2.8树脂胶泥的质量
|
项目 |
环氧 树脂 |
乙烯基 酯树脂 |
不饱和聚酯树脂 |
咲喃 树脂 |
酚醛 树脂 | ||||
|
双酚 A型 |
二甲 苯型 |
间苯型 |
邻苯型 | ||||||
|
抗压强度/MPa |
≥80 |
≥80 |
≥70 |
≥80 |
≥80 |
≥80 |
≥70 |
≥70 | |
|
抗拉强度/MPa |
≥9 |
≥9 |
≥9 |
≥9 |
≥9 |
≥9 |
>6 |
≥β | |
|
黏结强 度/MPa |
与耐酸砖 |
≥3 |
≥2. 5 |
≥2. 5 |
≥3 |
≥1. 5 |
≥1.5 |
≥2. 5 |
≥1 |
|
与铸石板 |
≥4 |
一 |
一 |
一 |
一 |
一 |
≥0. 8 |
≥0. 8 | |
|
与碳砖 |
≥β |
一 |
一 |
一 |
— |
一 |
≥1. 5 |
≥4 | |
|
抗渗透性(水压不透)∕MPa |
1. 6 |
1.6 |
1.6 |
1.6 |
1.6 |
1. 6 |
1. 6 |
1.6 | |
5. 2.9原材料和制成品质量的试验方法应符合本规范附录B的有关规定。
5.3胶泥的配制
5.3.1钠水玻璃胶泥的配制应符合下列规定:
1钠水玻璃胶泥的施工配合比可按本规范附录C表C.0.1选用。
2当采用机械搅拌时,应先将填料和固化剂加入搅拌机内搅拌均匀,再加入钠水玻璃搅拌 均匀。
3当采用人工搅拌时,应先将填料和固化剂混合,过筛后搅拌均匀,再逐渐加入钠水玻璃搅拌
・10・
均匀。
4 钠水玻璃胶泥的稠度应为30 mm〜36 mmO
5密实型钠水玻璃胶泥配制时,应加入密实剂,并应湿拌直至均匀。
5.3.2钾水玻璃胶泥的配制应符合下列规定:
1钾水玻璃胶泥的施工配合比可按本规范附录C表C.0.2选用。
2钾水玻璃胶泥配制时,应先将钾水玻璃胶泥粉干拌均匀,再加入钾水玻璃湿拌,直至均匀。
3钾水玻璃胶泥的稠度宜为30 mm〜35 mm,施工时应有一定的流动性和稠度。
5. 3. 3水玻璃模数和密度的调整应符合本规范附录D的规定。
5.3.4环氧树脂胶泥的配制应符合下列规定:
1环氧树脂胶泥的施工配合比可按本规范附录C表C.0.3选用。
2环氧树脂配制时,应采用非明火先加热至40。C左右。将稀释剂按比例加入容器中,搅拌均 匀并冷却至室温,配制成环氧树脂液备用。
3使用时,取定量的树脂液,按比例依次加入固化剂和填料,并应逐次搅拌均匀,制成胶泥料。
5. 3. 5乙烯基酯树脂和不饱和聚酯树脂胶泥的配制应符合下列规定:
1乙烯基酯树脂和不饱和聚酯树脂胶泥的施工配合比可按本规范附录C表C.0.4选用。
2按施工配合比先将乙烯基酯树脂或不饱和聚酯树脂与促进剂混匀,再加入引发剂混匀,配制 成树脂胶料。
3在配制成的树脂胶料中加入填料,搅拌均匀,制成胶泥料。
5. 3. 6咲喃树脂胶泥的配制应符合下列规定:
1咲喃树脂胶泥的施工配合比可按本规范附录C表C. 0.5选用。
2将糠醇糠醛树脂按比例与糠醇糠醛树脂胶泥粉混合,搅拌均匀,制成胶泥料。
3将糠酮糠醛树脂与增塑剂、固化剂混合,搅拌均匀,制成树脂胶料。在配制成的糠酮糠醛树 脂胶料中加入粉料,搅拌均匀,制成胶泥料。
5.3.7酚醛树脂胶泥的配制应符合下列规定:
1酚醛树脂胶泥的施工配合比可按本规范附录C表C. 0. 6选用。
2称取定量的酚醛树脂,加入稀释剂搅拌均匀,再加入固化剂搅拌均匀,制成树脂胶料。
3在配制成的树脂胶料中,加入填料搅拌均匀,制成胶泥料。
4 配制胶泥时,不宜加入稀释剂。
5.4砖板衬砌
5. 4.1砖板衬砌时,应先在设备、管道表面均匀涂刷树脂封底料一遍。
5.4.2砖板衬里隔离层的施工应符合本规范第7章的有关规定。
5.4.3砖板衬砌时,宜采用揉挤法进行,并应符合下列规定:
1衬砌时,顺序应由低往高。阴角处立面砖板应压住平面砖板,阳角处平面砖板应压住立面 砖板。
2衬砌砖板应错缝排列,同一层中纵缝或横缝应错开砖板宽度的1/2,最小不得少于1/3,两层 以上砖板衬砌不得出现叠缝。
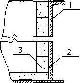
3底部或顶盖衬砌砖板宜采用方形[图5.4. 3-l(a)].人字形[图5.4. 3-l(b)].环形[图5.4. 3-1
(c)]和条形[图5.4. 3-l(d)]排列形式。
(a)
1 设备壳体;2--砖板;3--胶泥
图5.4. 3-1设备底部或顶盖衬砌砖板排列方式
4立式设备衬砌砖板宜采用环形排列[图5.4. 3-2(a)],筒体环向缝为连续缝,纵向缝应相互错 开;卧式设备宜釆用交错排列[图5.4. 3-2(b)],筒体纵向缝为连续缝,环向缝应相互错开。
(a)立式设备砖板排列 (b)卧式设备砖板排列
图5.4.3-2设备筒体砖板排列方式
5.4.4设备底、盖与筒体的砖板连接处衬砌宜错缝排列,不得出现十字缝。
5.4.5立衬时,一次连续衬砌的高度应以不变形为限,待凝固后再继续施工;平衬时,应采取防止滑 动的措施。
5.4.6设备顶盖衬里施工应符合下列规定:
1衬砌砖板时,设备顶盖宜倒置。
2胶泥抹面时,应先将铁丝网点焊在顶盖上;当胶泥厚度〉5 mm时,宜分次施工。
5.4.7砖板结合层厚度、灰缝宽度和勾缝尺寸应符合表5.4.7的规定。
表5.4.7砖板结合层厚度、灰缝宽度和勾缝尺寸 丄
单位:mm
|
材料名称 |
水玻璃胶泥衬砌 |
树脂胶泥衬砌 | |||
|
结合层厚度 |
灰缝宽度 |
结合层厚度 |
灰缝宽度 | ||
|
耐酸砖 耐温耐酸砖 |
厚度W30 |
3〜5 |
2〜3 |
3〜4 |
2〜3 |
|
厚度〉30 |
4〜7 |
2〜4 |
4〜6 |
2〜4 | |
|
碳砖 |
4〜5 |
1〜2 |
3〜4 |
1〜2 | |
|
铸石板 |
4〜5 |
1〜2 |
3〜4 |
1〜2 | |
5.4.8胶泥常温固化时间应符合表5.4.8的规定。
表5.4.8 胶泥常温固化时间
单位:d
|
胶泥名称 |
固化时间(15 °C以上) | |
|
钠水玻璃胶泥 |
普通型 |
>10 |
|
密实型 |
>10 | |
|
钾水玻璃胶泥 |
普通型 |
>15 |
|
密实型 |
>28 | |
|
环氧树脂胶泥 |
7〜10 | |
|
乙烯基酯树脂胶泥 |
7〜10 | |
|
不饱和树脂胶泥 |
7〜10 | |
|
咲喃树脂胶泥 |
>12 | |
|
酚醛树脂胶泥 |
20 〜25 | |
5.4.9胶泥砖板衬里衬砌完毕后,当需进行热处理时,温度应均匀,并应防止局部受热。热处理温 度与时间应符合表5.4. 9的规定。
表5.4.9 热处理温度与时间
|
胶泥名称 |
常温固化/d |
热处理温度及时间/h | ||||||
|
常温〜 40 °C |
40 °C |
40 °C 〜 60 OC |
60 °C |
60 OC 〜 80 OC |
80 °C |
80 °C 至 常温 | ||
|
钠水玻璃胶泥 |
3 |
2 |
8 |
2 |
8 |
2 |
24 |
缓慢降温约 15 °C∕h |
|
钾水玻璃胶泥 |
3 |
2 |
8 |
2 |
8 |
2 |
24 | |
|
环氧树脂胶泥 |
1 |
2 |
4 |
2 |
4 |
2 |
8 | |
|
乙烯基酯树脂胶泥 |
1 |
2 |
一 |
一 |
一 |
3 |
一 | |
|
不饱和聚酯树脂胶泥 |
1 |
2 |
一 |
一 |
— |
3 |
一 | |
|
咲喃树脂胶泥 |
3〜7 |
2 |
4 |
8 |
4 |
2 |
24 〜72 | |
|
酚醛树脂胶泥 |
1 |
2 |
4 |
2 |
4 |
2 |
24 | |
注:升温和降温均应缓慢进行。
5. 4.10水玻璃胶泥衬砌的砖板衬里工程养护后,应进行酸化处理,并应符合下列规定:
1每次处理前应清除表面的白色析出物。
2采用浓度为30%〜40%的硫酸进行表面酸化处理至无白色结晶盐析出时为止。
3酸化处理次数不宜少于4次。每次间隔时间,钠水玻璃胶泥不应少于8 h;钾水玻璃胶泥不 应少于4 h0
5.5质量检查
5.5.1耐酸砖、耐酸耐温砖、铸石板、碳砖材料的品种、规格和等级应符合本规范第5. 2. 1条的 规定。
5. 5. 2水玻璃类原材料和树脂类原材料的质量应符合本规范第5. 2. 2条和第5. 2. 3条的规定。
5. 5. 3填料应洁净、干燥,其质量应符合本规范第5. 2. 6条的规定。
5.5.4胶泥衬砌的砖板结合层应饱满密实、黏结牢固、固化完全;平面砖板砌体应无滑移,立面砖板 砌体应无变形;灰缝应挤严、饱满,表面应平滑,并应无裂缝、气孔;结合层厚度和灰缝宽度应符合本 规范表5.4.7的规定。
5. 5. 5砖板衬里面层相邻砖板高差和表面平整度应符合下列规定:
1相邻砖板之间的高差不得大于1 mmO
2砖板衬里表面平整度的允许空隙不得大于4 mmO
5.5.6砖板衬里面层坡度的允许偏差应为坡长的士0.2⅝o做泼水试验时,水应能顺利排出。
5.5.7人孔、接管的套管衬砌应牢固,胶泥填充应饱满,抹缝应平整,套管不得突出法兰平面。
5.5.8在衬里层施工过程中,应检查胶泥气孔和胶泥饱满程度,胶泥缝不得有气孔和裂纹现象。
5.5.9胶泥固化度检查应符合下列规定:
1胶泥的抗压强度应符合本规范表5.2.8的有关规定。
2采用白棉花团蘸丙酮擦试胶泥表面时,棉花无染色或粘挂现象。
6橡胶衬里
6.1 一般规定
6.1.1橡胶衬里工程应包括下列内容:
1加热硫化橡胶衬里。
2自然硫化橡胶衬里。
3预硫化橡胶衬里。
6.1.2橡胶衬里施工环境温度宜为15 °C〜30 °C,相对湿度不宜大于80%,或基体温度高于空气露 点温度3 °C以上。当施工环境温度低于15 °C时,应采取措施提高环境温度,不得使用明火加热升 温;当环境温度超过35 °C时,不宜进行施工。
6.1.3衬胶场所应干燥、无尘,通风应良好。作业人员的衬胶用具及个人防护用品应清洁,并应防 静电。进入设备内应穿软底鞋。
6.1.4胶板的储存除应符合现行国家标准GB/T 18241. 1《橡胶衬里 第1部分:设备防腐衬里》的 有关规定外,尚应符合下列规定:
1胶板的放置不得挤压变形或粘连。
2需低温冷藏的胶板和胶黏剂,在运输过程和施工现场应设置冷藏集装箱,冷藏温度应符合规 定,并应做好记录。
6.1.5设备、管道和管件应符合下列规定:
1衬里设备内部构件的结构应满足衬胶工艺要求,焊缝应连续,其质量应符合本规范第3. 3节 的规定。
2 公称尺寸不大于700 mm的衬胶设备,其高度不宜大于700 mm;公称尺寸为800 mm〜 1 200 mm的衬胶设备,其高度不宜大于1 500 mmO当设备高度大于以上要求时,应分段采用法兰 连接。
3本体硫化的衬胶设备,在衬里施工前,应出具压力试验合格证。衬胶前应选定进汽(气)管、 压力表及安全附件的接口,底部应设置冷凝水排放口。
4零部件衬胶后的几何尺寸应满足其公差配合要求。
6.1.6管件的制作,除应符合现行国家标准GB 50235《工业金属管道工程施工规范》的有关规定 外,尚应符合下列规定:
1衬里管道宜采用无缝管。当釆用铸铁管时,内壁应平整光滑,无砂眼、气孔、沟槽或重皮 缺陷。
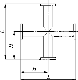
2当设计无特殊要求时,直管、三通、四通的最大允许长度(图6.1. 6),应符合表6. 1. 6的规定。
图6.1.6三通、四通
表6.1.6直管、三通、四通的最大允许长度 丄
单位:mm
|
序号 |
公称直径 |
最大允许长度 | ||
|
直管 |
三通、四通 | |||
|
L |
H | |||
|
1 |
25 |
≤500 |
≤500 |
80 |
|
2 |
40 |
≤1000 |
≤1000 |
100 |
|
3 |
50 |
≤2000 |
≤2000 |
110 |
|
4 |
65 |
≤3000 |
≤3000 |
120 |
|
5 |
80 |
≤3000 |
≤3000 |
130 |
|
6 |
100 |
≤3000 |
≤3000 |
140 |
|
7 |
125 |
≤3000 |
≤3000 |
155 |
|
8 |
150 |
≤3000 |
≤3000 |
175 |
|
9 |
200 |
≤5000 |
≤5000 |
200 |
|
10 |
250 |
≤5000 |
≤5000 |
230 |
|
11 |
300 |
≤5000 |
≤5000 |
260 |
3弯头的弯曲角度不应小于90°,且应只在一个平面上弯曲。
4超长弯头、液封管、并联管的管件制作,应分段采用法兰连接;三通、四通、弯头和异径管管 件,宜设置松套法兰。
5衬里管道不得使用褶皱弯管和采用抽条焊接法制作的异径管;法兰密封面不得车制密封 沟槽。
6.1.7胶板、胶黏剂和稀释剂宜由同一供应方提供,并应配套使用。
6.1.8槽罐类设备衬里施工,宜按先罐壁,再罐顶,后罐底的贴衬顺序进行。
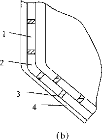
6.1.9当设备内脚手架搭设或拆除时,不得损坏衬里层。
6.2原材料的质量要求
6. 2.1胶板质量应符合下列规定:
1用于衬里施工的胶板,不应有气泡、杂质或孔洞缺陷,其质量应符合现行国家标准 GB/T 18241. 1《橡胶衬里 第1部分:设备防腐衬里》的有关规定。
2胶板的化学、物理、机械性能应符合设计规定。
3受挤压变形或粘连的胶板及出现早期硫化变质现象的胶板,不得用于衬里施工。
4超过保质期的胶板应进行复检。
6.2.2胶黏剂应符合下列规定:
1胶黏剂的黏结强度应符合现行国家标准GB/T 18241. 1《橡胶衬里 第1部分:设备防腐衬 里》的有关规定,且初粘性能应满足贴衬工艺的要求。
2胶黏剂储存期间不得发生沉淀、溶剂挥发和结块变质现象。
6.2. 3硫化橡胶制成品质量的试验方法应符合本规范附录B的有关规定。
6. 3加热硫化橡胶衬里施工
6.3.1胶板展开后应进行外观检查和针孔检查。有缺陷时,应做出记号,并在下料时剔除;对个别 气泡或针孔应进行修补。
6.3.2胶板下料应准确,并应减少接缝。对形状复杂的工件,下料前应制作样板,并应按样板下料。
6.3.3胶板衬里层的接缝应采用搭接。多层衬里的底层、中间层和设备转动部件,可采用对接。搭 接尺寸应准确,方向应与介质流动方向一致。胶板厚度为2 mm时,搭接宽度宜为20 mm~25 mm; 胶板厚度为3 mm时,搭接宽度宜为25 mm〜30 mm;设备转角处接缝的搭接宽度宜为50 mm;多层 胶板衬里时,相邻胶层的接缝应错开,错开距离不得小于100 mmO
6.3.4胶板的削边应平直,宽窄应一致,削边宽度应为10 mm〜15 mm,削边方向应与设备的转动 方向或介质流动方向一致。
6.3.5胶板裁切或削边的工具宜采用冷裁刀或电烙铁。釆用电烙铁裁胶时,温度应为170。C〜 210 OCO
6.3.6涂刷胶黏剂前,应对基体表面采用稀释剂擦拭洁净,并应干燥。胶黏剂在使用前应搅拌均 匀。胶黏剂涂刷应薄而均匀,不得漏涂、堆积、流淌或起泡,上下两遍胶黏剂的涂刷方向应纵横交错。 涂刷第二遍胶黏剂前,应清除第一遍胶黏剂表面上的沙尘,并将第一遍胶黏剂表面的气孔清理或修 补合格后,方可涂刷第二遍胶黏剂。
6.3.7胶膜的干燥时间应符合表6.3.7的规定。
表6.3.7胶膜的干燥时间
|
序号 |
遍数 |
干燥程度 |
干燥时间∕min |
|
1 |
1〜2 |
胶膜干至不粘手 |
30 〜120 |
|
2 |
末遍 |
胶膜干至微粘手但不起丝 |
10—15 |
6.3.8金属表面的缺陷、砂眼及无法进行修磨的焊缝和转角处,应在涂末遍胶黏剂前,釆用刷过胶 黏剂并经干燥的胶条填塞,并应圆滑过渡。
6. 3.9设备及零部件的衬里可釆用热烙法、热贴法和压轮滚压法。
6.3.10用热贴法或压轮滚压法贴衬的设备、管道及零部件宜采用恒压法硫化。
6.3.11胶板铺放位置应正确,不得起褶或拉扯变薄。贴合时,胶膜应完整,发现脱落应及时补刷。
6.3.12胶板贴衬时,应依次压合,排净黏合面间的气体,不得漏压。胶板接缝应压合严实,边缘呈 圆滑过渡,不得出现翘起或剥离。
6.3.13采用热烙法贴衬时,电烙铁的操作温度宜为100。C〜180 °C,热烙铁不得在胶板上停留。采 用热贴法贴衬时,胶板加热温度宜为50 °C〜60 °C,且加热时间不宜超过30 minO 6.3.14贴衬至法兰密封面上的胶板应平整,不得有径向沟槽或超过1 mm的凸起。
6.3.15本体硫化设备法兰的衬胶应符合下列规定:
1采用与设备衬里相同的胶板,并应按法兰外径尺寸下料,其内径尺寸应较法兰孔大30 mm〜 60 mm,并应切成30°坡口。
2先贴衬已硫化的法兰胶板,再衬法兰管内未硫化胶板,并应翻至法兰面上已硫化胶板的坡口 上边,压合密实。搭接处应与底层胶板粘牢,并应圆滑,不得有翘边或毛刺。
6.3.16衬胶后的胶板需加工时,胶层厚度应留出加工余量。
6. 3.17 小口径管道衬胶可釆用预制胶筒法,并应符合下列规定:
1公称尺寸大于200 mm的管道,可釆用滚压法。
2公称尺寸小于或等于200 mm的管道,可采用气顶法、气顶砂袋法或气囊牵引法。
6. 3.18贴衬工序完成后,应进行中间检查,并应符合下列规定:
1釆用卡尺、直尺或卷尺复核衬胶各部位尺寸应符合设计文件的规定。
2检查胶层表面不得有漏烙、漏压或烙焦现象。当发现胶层内存有空气时,应用针刺破气泡, 排净气体,再用刷过胶浆并经干燥的胶条填塞针眼,并应烫压平整。
3衬里层应按本规范第6. 6.4条的规定进行电火花针孔检查,不得有漏电现象。
4在确认检查无误,缺陷完全消除后,方可进行硫化。
6.3.19胶层气泡的修补应符合下列规定:
1切除气泡的面积应比气泡周边大10 mm〜15 mm,并应切成30°坡口 ;同时剪切一片尺寸相 同的胶片,进行贴衬并压合严实,修补块不得有翘边和离层。
2底层修补平整后,间隔时间应为4 h〜6 h,再贴衬面层修补块。面层修补块尺寸,应比底层 修补块外径大50 mm〜60 mmO
6.3.20胶板的硫化可釆用硫化罐直接硫化法和本体硫化法。
6. 3.21硫化罐直接硫化应符合下列规定:
1胶板的硫化条件应由供应商提供。但最终硫化条件尚应根据衬里胶板种类、胶层厚度、设备 或工件厚度、贴衬方法、硫化方式和现场条件确定。
2在硫化过程中,气源应充足,压力不得波动,并不得产生负压。
6. 3. 22本体硫化应符合下列规定:
1本体硫化法可分为热水或常压蒸汽硫化法。
2设备壳体、人孔或接管等突出部位,其外部应釆取保温措施。
3硫化过程中,应随时排放蒸汽冷凝液,设备内不得有积液。蒸汽冷凝液排出管应设置在设备 最低处。
4法兰或法兰盖的密封垫厚度应大于衬里层的厚度。可在法兰盖或堵板上设置一阀门定期排 放接管处积液。
6.3. 23热水硫化或常压蒸汽硫化适用于常压或微负压设备衬里。热水硫化或常压蒸汽硫化应符 合下列规定:
1设备外壳应保温。
2有盖设备的顶部应设置放空管与大气相通。
3热水硫化设备在硫化过程中,全部胶层应与水浴相接触。
4应有蒸汽、热水、冷水供给系统。水浴温度应均匀,胶层不得有局部过热现象。
5硫化终止时,不宜立即排水。应在水位不变时,通过上部注入冷水,下部排放热水的方法进 行降温处理。当水温冷却至40。C以下时,方可将水排净。
6 热水硫化温度应为95 OC-IOO OCo
7常压蒸汽硫化过程中,设备内的温度宜为95 OC-IOO °C,且蒸汽不得直接喷到设备的胶面 上,硫化过程中应进行中间检查。
8硫化终止时间,应根据测定其相同条件下试件的硬度来确定。当硬度不足时,应继续进行硫 化,任何部位不得产生过硫化现象。
6.4自然硫化橡胶衬里施工
6.4.1自然硫化橡胶衬里适用于常温自硫化的大型非受压设备或管道衬里。
6. 4.2胶板和胶黏剂在施工前,应按本规范第6. 3. 1条的规定进行外观检查,并应按本规范附录 B. 3. 5的有关规定进行黏合强度试验。
6.4.3 经冷藏的胶板,应解冻和预热后下料。预热温度宜为50 °C〜60 °C,预热时间不宜超过 30 min O
6. 4.4胶板的切割或削边,可采用冷切法或电热切割法。电热切割温度宜为170。C〜210 °C。削边 应平直,宽窄应一致,边角不应大于30oo
6.4. 5接缝应采用搭接型式,除设备转角处接缝的搭接宽度为30 mm〜50 mm外,其余搭接宽度和 搭接方向应符合本规范第6. 3. 3条的规定。
6.4.6接头应釆用丁字缝,不得有通缝。贴衬丁字缝时,应先将下层搭接缝处的突出部位削成斜 面,再贴衬上层胶板,丁字缝错缝距离应大于200 Inmo
6.4.7底涂料和胶黏剂在使用前,应搅拌均匀,并应做黏度测定。
6.4.8底涂料和胶黏剂的涂刷应符合本规范第6. 3. 6条的规定。
6.4.9胶黏剂的涂刷应在底涂料干燥后的有效期内进行。当超过规定的涂刷间隔期限时,应在涂 胶黏剂前重新涂刷一层中间涂料。
6. 4.10第二遍胶黏剂的涂刷工作,应在前一遍胶膜干至不粘手时进行。
6. 4.11胶板的贴衬作业应在末遍胶黏剂胶膜干至微粘手但不起丝时进行。在胶板贴衬过程中,胶 板的搭接处应涂刷经溶剂稀释后的胶黏剂2遍。
6.4.12胶膜不得受潮或受阳光直射,并不得受灰尘及油类污染。
6.4.13胶板贴衬时应用专用压滚,依次压合,排净黏结面间的空气,不得漏压。胶板的接缝应压合 严密,边缘呈圆滑过渡。
6.4.14压滚或刮板的用力程度应以胶板压合面出现压(刮)痕为限,前后两次滚(刮)压宽度应重叠 1/3〜1/2。
6.4.15滚(刮)压出现的气泡,应随时切口放气,并应按本规范第6. 3. 19条的规定进行修补。
6. 4.16衬胶作业每个阶段结束后,应按本规范第6. 3. 18条的规定对胶层进行中间检查。
6.4.17经中间检查发现有起鼓、脱层、针孔缺陷时,应按本规范第6.3.19条的规定进行修补。
6.4.18胶板的自然硫化时间应由胶板生产厂提供。衬里层自硫化期间,设备应封闭,并应采取防 水、防暴晒的措施。
6.4.19在与贴衬作业同步、条件相同的情况下,试板的制备应符合下列规定:
1罐顶:施工开始时和施工结束时,各制作2件。
2罐壁:上、中、下各制作2件。
3罐底:制作2件。
试板应为300 IiIm× 300 mm的钢板,其表面预处理质量和贴衬工艺应与现场施工条件相同。制 作完毕后,应置于罐内自然硫化,并应作为产品最终检查的依据。
6.5预硫化橡胶衬里施工
6.5.1在衬里施工前,胶板和胶黏剂应按本规范附录B的有关规定做黏合强度试验和贴合工艺试 验。试验合格后,方可进行衬里施工。
6. 5.2贴合工艺试验应选择贴衬应力最大的部位,以贴衬后胶板不起鼓、不离层、不翘边为合格。
6. 5. 3 在试验过程中,可改变贴衬工艺;施工时应按试验合格的工艺条件进行。
6.5.4底涂料的涂刷作业,应在金属基体表面预处理合格后4 h内进行,且金属基体表面不得有凝 露;当相对湿度超过75%时,应釆取除湿措施。
6.5.5胶板下料的形状应合理,尺寸应准确,应减少贴衬应力。胶板接缝应符合下列规定:
1接缝应采取搭接,其宽度应为25 mm~30 mm。
2搭接方向应与设备内介质流动方向一致。
3削边应平直,宽度不应小于胶板厚度的3倍〜3. 5倍,并应宽窄一致。
6.5.6底涂料和胶黏剂的涂刷应符合本规范第6.3.6条的规定。胶板贴合面应采用稀释剂清洗 后,将其刷毛,再涂刷胶黏剂2遍。在涂刷第二遍胶黏剂时,第一遍胶黏剂不得被咬起。第二遍胶黏 剂的涂刷应在第一遍胶黏剂干至不粘手时进行。
6.5.7衬胶作业应在第二遍胶黏剂干至微粘手时进行。
6.5.8底涂料和胶黏剂的刷涂、配制、搅拌程序,应按胶板生产厂家使用说明书进行。各组分应搅 拌均匀,并应在2 h内用完。出现结块现象时不得使用。
6.5.9胶板的贴衬操作应符合本规范第6.4.13条至第6.4.15条的规定。
6.5.10底层胶板贴衬完毕后,应按本规范第6. 3. 18条的规定进行中间检查。
6.5.11对接缝应加贴盖缝胶条,盖缝胶条宜为宽40 mm、厚1 mm〜L 5 mmO盖缝胶条的贴衬应 符合本规范第6.4. 13条至第6.4. 15条的规定。
6.6质量检查
6.6.1用目测或锤击法检查胶层外观质量和胶层与金属表面的黏结情况。胶层表面允许有凹陷和 深度不应超过0. 5 mm的外伤、印痕和嵌杂物,不得出现裂纹或海绵状气孔。
6.6.2衬胶制品的胶层和金属表面间不得有脱层现象。
6.6.3衬胶后胶层各部分尺寸应符合设计规定。转动部件应按设计规定进行静平衡试验或动平衡 试验。
6.6.4橡胶衬里层针孔检测应按现行国家标准GB 18241. 1《橡胶衬里 第1部分:设备防腐衬里》 附录B的有关规定进行检查,并应符合下列规定:
1采用电火花检测仪进行针孔检测。
2检查胶层搭接缝时,探头与接缝应成点接触;检查胶板时,探头与胶板应成线接触,接触长度 应为150 mm;检测时,探头行走速度不宜大于100 mm/sO
3 胶板检测电压应为3 kV/mm〜6 kV/mmO
4 检测时,衬里层应无击穿现象。
6. 6.5釆用磁性测厚仪检查橡胶衬里层厚度,其允许偏差应符合现行国家标准GB 18241. H橡胶 衬里 第1部分:设备防腐衬里》的有关规定。
6. 6.6硫化胶板的硬度除应符合现行国家标准GB 18241. 1 ≪橡胶衬里 第1部分:设备防腐衬里》 的有关规定外,尚应符合下列规定:
1硬橡胶或半硬橡胶应采用现行国家标准GB/T 2411 «塑料和硬橡胶 使用硬度计测定压痕 硬度(邵氏硬度)》的有关规定进行硬度测量;软橡胶应按现行国家标准GB/T 531. 1《硫化橡胶或热 塑性橡胶压入硬度试验方法 第1部分:邵氏硬度计法(邵尔硬度)》的有关规定进行硬度测量。
2硬度测量点数:硫化罐硫化,每罐不得少于5点;本体硫化设备,每个衬胶面不得少于2处, 每处测点应为3个。热水硫化或自然硫化的设备,可在与设备一起硫化的试板上进行,每块试板的 测点不得少于3个。上述测点的算术平均值,均应在胶板制造厂提供的硬度范围内。
3硬度测点处的厚度应符合下列规定:
D软橡胶板的测量总厚度不得小于6 mmo
2) 硬橡胶和半硬橡胶板的测量总厚度不得小于4 mmO
3) 当衬里层或试板厚度不足时,可采用加贴圆片法。
4测定时的环境应符合现行国家标准GB/T 2941《橡胶物理试验方法试样制备和调节通用程 序》的有关规定。胶板制造厂应提供不同温度下和标准温度下该种胶板硬度换算表。
6.6.7当胶层有裂纹、针孔缺陷时,应根据缺陷的严重程度确定修补或报废。
7纤维增强塑料衬里
7.1 一般规定
7.1.1纤维增强塑料衬里工程应包括以环氧树脂、乙烯基酯树脂、不饱和聚酯树脂、咲喃树脂和酚 醛树脂热固性树脂为黏结剂,纤维及其织物为增强材料,贴衬或喷射施工的纤维增强塑料设备、管道 的衬里层和隔离层。
7.1.2 施工环境温度宜为15 °C〜30 °C,相对湿度不宜大于80%o当环境温度低于10。C时,应采 取加热保温措施,不得采用明火或蒸汽直接加热。
7.1.3 室外施工宜设置施工棚。施工及养护期间,应采取防水、防火、防沙尘、防结露、防暴晒的 措施。
7.1.4当采用咲喃树脂或酚醛树脂等进行衬里时,基层表面应釆用环氧树脂、乙烯基酯树脂和不饱 和聚酯树脂的胶料进行封底隔离。
7.1. 5纤维增强材料应采用玻璃纤维布、毡或有机纤维及其织物,其贴衬顺序应符合下列规定: 1立式设备、矩形设备和管道贴衬时,应先顶面,后垂直面,再水平面。
2圆筒形卧式设备贴衬时,应先两端封头内表面,后中部筒体,再人孔;先贴衬下半部,待树脂 凝胶后,再贴衬另外半部。
7.1. 6 树脂材料施工前,应通过试验选定适宜的施工配合比后,方可进行大面积施工。
7.2原材料及制成品的质量要求
7. 2.1树脂类材料的质量应符合本规范第5.2. 3条的规定。
7. 2. 2树脂类常用固化剂的质量应符合本规范第5. 2.4条的规定。
7.2.3树脂类材料的稀释剂应符合本规范第5.2.5条的规定。
7.2.4纤维增强塑料衬里用纤维及其织物应符合下列规定:
1采用无碱或中碱玻璃纤维材料时,其化学成分应符合现行行业标准JC 935《玻璃纤维工业 用玻璃球》的有关规定。不得使用陶土地蜗生产的玻璃纤维布。
2釆用非石蜡乳液型的无捻玻璃纤维方格平纹布时,厚度宜为0.2 mm〜0.4 mm,经纬密度应 为(4 X 4〜8X8)纱根数∕cm2 O
3采用玻璃纤维短切毡时,单位质量宜为(300〜450)g∕m2°
4采用玻璃纤维表面毡时,单位质量宜为(30〜50)g∕m2°
5用于含氢氟酸类介质的防腐蚀工程时,应选用涤纶晶格布或涤纶毡。涤纶晶格布的经纬密 度,应为(8X8)纱根数/cm?;涤纶毡的单位质量宜为30 g∕m2 O
7. 2. 5粉料应洁净干燥,其耐酸率不应小于95% ,并应符合下列规定:
1当使用酸性固化剂时,粉料的耐酸率不应小于98%,并不得含有铁质、碳酸盐等杂质;其体积
安定性应合格,含水率不应大于0. 5%;细度要求0. 15 mm筛孔的筛余量不应大于5%,0. 088 mm 筛孔的筛余量为10%〜30%。
2当用于含氢氟酸类介质的防腐蚀工程时,应选用硫酸钥粉或石墨粉。
3当用于含碱类介质的防腐蚀工程时,不宜选用石英粉。
7.2.6纤维增强塑料制成品的质量应符合表7.2.6的规定。
表7. 2.6纤维增强塑料制成品的质量
|
项目 |
环氧 树脂 |
乙烯基 酯树脂 |
不饱和聚酯树脂 |
咲喃 树脂 |
酚醛 树脂 | |||
|
双酚 A型 |
二甲 苯型 |
间苯型 |
邻苯型 | |||||
|
抗拉强度/MPa |
≥100 |
≥100 |
≥100 |
≥100 |
≥90 |
≥90 |
≥80 |
≥60 |
|
弯曲强度/MPa |
≥250 |
≥250 |
≥250 |
≥250 |
≥250 |
≥230 |
一 |
— |
7. 2. 7原材料和制成品质量的试验方法应符合本规范附录B的有关规定。
7.3胶料的配制
7.3.1配料容器和工具应清洁、干燥,并应无油污、无固化残渣。
7.3.2纤维增强塑料胶料的配制,应符合下列规定:
1环氧树脂胶料的配制应符合本规范第5.3.4条的规定。
2乙烯基酯树脂、不饱和聚酯树脂胶料的配制应符合本规范第5. 3. 5条的规定。
3咲喃树脂胶料配制应符合本规范第5. 3.6条的规定。
4酚醛树脂胶料配制应符合本规范第5. 3.7条的规定。
7.3.3配制好的各种树脂胶料应在初凝前用完。使用过程中,树脂胶料有凝固、结块现象时不得 使用。
7.4 施 工
7.4.1纤维增强塑料衬里应采用间断法或连续法手工糊制工艺。酚醛树脂衬里应釆用间断法 施工。
7.4.2纤维增强塑料衬里的封底层和修补层的施工应符合下列规定:
1封底层:在处理的基层表面,将配好的打底胶料均匀地涂刷于待衬件表面,不得有漏涂、流挂 缺陷,自然固化时间不宜少于24 h。
2修补层:底涂料胶凝后,在基层的凹陷不平处,应釆用树脂胶泥料修补填平,凹凸不平的焊缝 及转角处应用胶泥抹成圆弧过渡,自然固化不宜少于24 ho
7. 4.3纤维增强塑料衬里间断法施工应符合下列规定:
1玻璃纤维布应剪边。当采用涤纶布时,应进行防收缩的前处理。
2先均匀涂刷一层铺衬胶料后,衬一层纤维增强材料,应贴实并赶净气泡后,再涂一层胶料,胶 料应饱满。
3前一层铺衬层自然固化24 h后,应修整表面,再按上述程序铺衬以下各层,直至达到设计规
・23・
定的层数或厚度。
4每铺衬一层,均应检查前一铺衬层的质量,当有毛刺、脱层和气泡缺陷时,应进行修补。
5铺衬时,上下两层纤维增强材料的接缝应错开,错开距离不得小于50 mmO阴阳角处应增加 1层〜2层纤维增强材料。搭接应顺物料流动方向。
6贴衬接管的纤维增强材料与贴衬内壁的纤维增强材料应层层错开,搭接宽度不应小于50 mm;设备转角、接管处、法兰平面、人孔及其他受力并受介质冲刷的部位,均应增加1层〜2层纤维 增强材料,翻边处应剪开贴紧。
7平盖可用宽幅纤维增强材料,一次连续成型;弧型面可将纤维增强材料剪成扇形,再贴衬。
8面层施工时,应均匀涂刷面层胶料,自然固化24 h后,再涂刷第二层面层胶料。
7. 4.4纤维增强塑料衬里连续法施工应符合下列规定:
1连续法施工的封底层、修补层施工应符合本规范第7.4. 2条的规定;贴衬纤维增强材料的施 工、纤维增强材料搭接要求及面层施工应符合本规范第7.4. 3条的有关规定。
2平面和立面一次连续铺衬层数不宜超过3层;厚度应以不产生滑移、固化后不起壳或脱层进 行确定。
3应在前一次连续铺衬层固化后,再进行下一次连续铺衬层的施工。
4连续铺衬到设计规定的层数或厚度后,应自然固化24 h,再进行面层施工。
7. 4.5用纤维增强塑料做设备、管道及管件衬里隔离层时,可不涂刷面层胶料。
7.4.6环氧纤维增强塑料、乙烯基酯纤维增强塑料和不饱和聚酯纤维增强塑料的衬里常温养护时 间不应少于15 d,咲喃纤维增强塑料的衬里常温养护时间不应少于20 d,酚醛纤维增强塑料的衬里 常温养护时间不应少于25 do
7. 4.7纤维增强塑料衬里热处理温度及固化时间应符合表7.4.7的规定。热处理应严格控制升温 和降温的速度。
表7. 4.7纤维增强塑料衬里热处理温度及固化时间
|
纤维增强塑料类型 |
常温固 化时间 h |
热处理温度及固化时间/h | ||||||
|
常温〜 40 °C |
40 OC |
40 °C 〜 60 OC |
60 OC |
60 °C 〜 80 OC |
80 OC |
降温至 常温 | ||
|
环氧纤维增强塑料 |
≥24 |
1 |
4 |
2 |
4 |
2 |
4 |
缓慢冷却约 15 °C/h |
|
不饱和聚酯纤维增强塑料 |
>24 |
1 |
4 |
2 |
4 |
2 |
8 | |
|
咲喃纤维增强塑料 |
>24 |
1 |
4 |
2 |
2 |
2 |
2 | |
|
酚醛纤维增强塑料 |
≥24 |
2 |
4 |
2 |
6 |
4 |
14 | |
7.5质量检查
7.5.1纤维增强塑料衬里层的外观检查应符合下列规定:
1衬里层表面允许最大气泡直径应为3 mm,每平方米的气泡数量不应少于3个。
2衬里层表面不得有深度0.5 mm以上的裂纹。
3衬里层表面应平整光滑。
4衬里层不得有返白。
5衬里层与基体的黏结应牢固,并应无分层、脱层、纤维裸露、树脂结节、异物夹杂、色泽明显不 匀现象。
7.5.2衬里层的厚度采用磁性测厚仪检查,应符合设计规定,其允许偏差应为一0.2 mm。
7.5.3衬里层的微孔检查,采用电火花探测器进行检测,检测电压或电火花长度应根据不同膜厚以 试验确定,也可按每毫米衬里层3 kV检测,以不打火花为合格。
7.5.4纤维增强塑料衬里的树脂含量应按现行国家标准GB/T 2577《纤维增强塑料树脂含量试验 方法》的有关规定进行检查。玻璃纤维布的树脂含量不应少于45% ;玻璃纤维短切毡的树脂含量不 应少于70% ;玻璃纤维表面毡的树脂含量不应少于90⅝o
7. 5. 5固化度的检查,应符合下列规定:
1采用白棉花球蘸丙酮擦拭衬里表面,以表面树脂不溶、不黏、不掉为合格。
2固化度检查。采用丙酮萃取法抽样检查环氧纤维增强塑料、乙烯基酯纤维增强塑料、不饱和 聚脂纤维增强塑料、咲喃纤维增强塑料、酚醛纤维增强塑料中树脂的固化度,其测定方法应按现行国 家标准GB/T 2576《纤维增强塑料树脂不可溶分含量试验方法》和GB/T 2577《纤维增强塑料树脂 含量试验方法》的规定进行,试样应不少于3个,树脂固化度应不低于85%,或符合设计图纸的规 定值。
7.5.6硬度检查应采用巴柯尔硬度计在试件上测出相应的巴氏硬度,用测出的巴氏硬度换算出近 似固化度。测定方法应按现行国家标准GB/T 3854《增强塑料巴柯尔硬度试验方法》的有关规定 进行。
8塑料衬里
8.1 一般规定
8.1.1塑料衬里工程应包括下列内容:
1设备软聚氯乙烯衬里。
2设备与管道聚四氟乙烯、四氟乙烯-乙烯共聚物、聚偏氟乙烯的氟塑料衬里。
3管道聚丙烯、聚乙烯、聚氯乙烯的通用塑料衬里。
8.1.2施工宜在洁净的室内或棚内进行。当环境温度低于15 °C时,宜对塑料板进行局部加热处 理,表面不得出现熔融或焦化现象。
8.1. 3塑料板及焊条应储存在避光、干燥、洁净的仓库内;塑料板材存放应远离热源,并应在有效期 内使用。
8.1.4黏结剂应存放在阴凉、通风的仓库内,并应配备消防器材。
8.1.5塑料板材在运输与储存期间不得损伤。
8.1.6从事塑料衬里设备焊接作业的焊工,应进行塑料焊接培训,并应考试合格。焊工培训应由具 有相应专业技术能力和资质的单位进行。
8.2原材料的质量要求
8. 2.1软聚氯乙烯板的质量应符合本规范附录A表A.0.8的规定。
8.2.2聚四氟乙烯板的质量应符合现行行业标准QB/T 3625《聚四氟乙烯板》的有关规定。
8.2.3四氟乙烯-乙烯共聚物板的质量应符合本规范附录A表A. 0. 9的规定。
8.2.4聚偏氟乙烯板的质量应符合本规范附录A中表A. 0.10的规定。
8. 2. 5软聚氯乙烯板衬里用胶黏剂的质量应符合本规范附录A表A.0.11的规定。
8.2.6氟塑料板衬里用胶黏剂的质量应符合本规范附录A表A. 0.12的规定。
8.2.7塑料焊条应与焊件材质相同,表面应平整光洁,并应无节瘤、折痕、气泡和杂质,颜色应均匀 一致。
8.2.8聚四氟乙烯管材质量应符合现行行业标准HG/T 3705《金属网聚四氟乙烯复合管和管件》 的有关规定;聚丙烯、聚乙烯和聚氯乙烯管材及管件的质量应符合现行行业标准HG 20538《衬塑 (PP、PE、PVC)钢管和管件》的有关规定。
8.2.9塑料衬里设备质量应符合现行行业标准HG/T 4088《塑料衬里设备 通用技术条件》的有 关规定。
8. 2.10塑料衬里用原材料及制成品质量的试验方法应符合本规范附录B的有关规定。
8.3软聚氯乙烯板衬里施工
8.3.1设备软聚氯乙烯衬里工艺应包括空铺法、压条螺栓固定法和黏结法。
8.3.2软聚氯乙烯板下料应准确,在焊接或粘贴前应进行预拼。对形状复杂的部位,应制作样板, 并应按样板下料。
8.3.3 软板铺衬时,铺放应平整、位置应正确,不得翘曲和起褶。法兰密封面处的衬里层应平整,不 得有径向沟槽或超过1 mm的突起。
8.3.4铺衬前,应根据设备的形状和大小,在被铺衬设备的底部沿周圈开设4个〜12个直径应为
4 mm〜10 mm的孔,作为注水试漏时的检漏孔。
8.3.5软聚氯乙烯板的焊接应符合下列规定:
1软聚氯乙烯板焊接应釆用热风焊枪本体熔融加压焊接法,接缝处应满焊封缝。
2覆盖支撑扁钢的衬里层间的衔接和螺栓保护帽与衬里层相接处应焊接。
3焊接前,距离焊道两侧各100 mm范围内的表面,不得有灰尘和油污,并宜进行脱脂处理。
4焊接应采用搭接,搭接宽度宜为20 mm〜25 mm。
5软聚氯乙烯板焊接工艺参数应符合表8.3.5的规定。
表8.3.5软聚氯乙烯板焊接工艺参数
|
项目名称 |
工艺参数 | |
|
焊枪出口热风温度/°C |
165 — 170 | |
|
焊接速度/(mm/min) |
400〜500 | |
|
焊枪与焊道间夹角/(°) |
30 〜35 | |
|
焊枪与软板平面间夹角/(°) |
平焊 |
20 〜25 |
|
立焊 |
20 〜30 | |
6每条焊缝应一次连续焊完,接头处应焊透。
7焊接时,压碾锤头用力应均匀一致,并应紧随焊枪向前压碾,不得中断或延后。
8软板与介质接触的一面,焊后应削去边缘棱角。
8.3.6软聚氯乙烯塑料板空铺法的施工应符合下列规定:
1空铺法应先铺衬立面,再铺衬底部。
2支撑扁钢的棱角应磨平。
3衬里层应翻边于设备外壁,翻边处应固定;衬里与钢壳体应进行固定。
4设备人孔与接管衬里应在筒体衬里完成后进行。
8. 3. 7 软聚氯乙烯塑料板压条螺钉固定法的施工应符合下列规定:
1施工顺序应先铺衬封头,再铺衬筒体。
2支撑扁钢或压条、压板的棱角和焊接接头应磨平,支撑扁钢与设备内壁应撑紧,压条应用螺 钉拧紧,并应固定牢固,支撑扁钢或压条外应覆盖软板并焊牢。
3压条螺钉固定时,螺钉应预焊于被衬金属表面,并应成三角形布置。
4椭圆封头、锥体封头的压条宜由中心向外辐射排列,平底设备的底部或卧式设备的下半部可
・27・ 减少螺钉的数量。
5采用软聚氯乙烯塑料板对碳钢制的螺栓、压条、压板等加以保护。
8. 3. 8软聚氯乙烯板粘贴法的施工应符合下列规定:
1被铺衬设备的内表面处理质量应符合本规范第4.1. 5条的规定,并除去油污和水分后,釆用 酒精或丙酮进行脱脂处理。
2 软聚氯乙烯板粘贴接缝可釆用对接或搭接。搭接缝的搭接宽度宜为25 mm~35 mm,边角 应小于30°,削边应平整,削边宽度应为10 mm〜15 mm;对接缝应加贴盖缝软板,宽度宜为50 mm, 厚度宜为1 mm〜L 5 mm,施工均可采用黏结法或本体熔融加压焊接法。当搭接缝采用黏结时,刀 痕应磨平;采用本体熔融加压焊接法时,接缝处不得涂刷胶料。
3软聚氯乙烯板粘贴面应打毛至无反光。
4软聚氯乙烯板的粘贴可采用满涂或局部涂胶粘贴法。当采用局部涂胶黏剂法时,应在接头 两侧涂刷胶黏剂,其涂刷间距宜为500 mm,宽度宜为100 mm〜200 mmO
5粘贴时应在软聚氯乙烯板黏合面、金属基层内表面和接缝处各涂刷胶黏剂2遍,上下涂层应 纵横交错,涂刷应均匀,不得漏涂。两遍胶料总厚度应为0.1 mm〜0.2 mm,第二遍涂刷应在第一遍 胶黏剂干至不粘手时进行,第二遍胶黏剂干至微粘手时,再进行软聚氯乙烯板的粘贴。
6粘贴时,应依次将粘贴面间的气体排净,并应采用重物加压法、辐压法或软锤敲击法进行压 合,接缝处应压合紧密,不得出现剥离或翘角缺陷。
7当胶黏剂不能满足耐腐蚀和强度要求时,应在接缝处采用焊条封焊,并应符合本规范第
8.3. 5条的规定。
8粘贴完成后应进行养护,养护时间应按胶黏剂的固化时间确定。固化前不得受外力振动或 使用。
8.4氟塑料衬里施工
8.4.1设备与管道氟塑料衬里应采用黏结复合法和松衬法。
8.4.2氟塑料板的接缝可釆用对接或搭接,其接缝焊接可采用热风焊或热压焊。四氟乙烯-乙烯共 聚物和聚偏氟乙烯应釆用热风焊,聚四氟乙烯应采用热压焊。
8.4. 3四氟乙烯-乙烯共聚物和聚偏氟乙烯板的焊接应符合下列规定:
1焊接部位应切成60。〜80。的坡口,并应用溶剂清洗焊口;焊条与被焊件间宜呈90°,焊枪与被 焊件间宜呈45°,距离宜为10 mmO
2焊接时,热风温度宜为430 °C〜460 °C,焊接速度每分钟宜为50 mm〜IOomm。
3板-板焊接型式宜采用V型坡口 [图8.4. 3-1 (a)和图8. 4. 3-l(b)];对强度要求高的板-板焊 接宜采用V型坡口上加盖板[图8.4. 3-l(c)]o
(a) (b) (C)
图8.4. 3-1板-板焊接形式
4圆筒与支管间焊接型式宜采用角焊缝(图8.4. 3-2) O
• 28 •
图8.4.3-2圆筒与支管焊接型式
8.4.4聚四氟乙烯板的焊接应符合下列规定:
1板与板的焊接宜采用搭接型式[图8.4.4 (a)]和对接增强焊型式[图8.4.4 (b)]o
(a)搭接焊 (b)对接增强焊
图8.4.4板-板焊接型式
2聚四氟乙烯焊接温度宜为(390士5) OC ,并应根据板厚控制焊接压力,焊接间隔时间宜为8 ho
8. 4.5氟塑料板粘贴法施工应符合下列规定:
1涂覆胶黏剂之前氟塑料板表面应作除净处理。设备基体黏合面喷砂处理后的粗糙度应为 RalOO-Ra200o
2氟塑料板粘贴面应有过渡层或做钠荼处理,与设备基体应釆用胶黏剂黏合。
3设备基体的排气孔开设应符合本规范第8.3.4条的规定。
4氟塑料板和设备基体黏合时,衬层和基体粘贴面应先分别涂胶黏剂2遍,并应纵横交错进 行。涂刷应均匀,不得漏涂。
5粘贴时,应依次将粘贴面间的气体排净,并釆用重物加压法、辐压法或软锤敲击法进行压合, 接缝处应压合紧密,不得出现剥离或翘角。
8. 4.6松衬法适用于小型设备衬装。采用松衬法施工时,可先将氟塑料板焊成筒体后,再进行衬 装,并应翻边。
8.4.7管道氟塑料衬里采用松衬法施工时,宜先加工好外径比钢管内径稍小的衬管,插入钢管后, 再进行管内加压,衬管与钢管内壁应贴紧。
8.5管道塑料衬里施工
8. 5.1管道塑料衬里应采用松衬法。
8.5.2法兰与壳体或法兰与支管的连接处转角应圆弧过渡,焊缝处不应有凸出的焊疤,管内壁不得 有高出的锐角,表面应洁净不得有油污。
8.5.3塑料管的外径与钢管内径间隙不应大于2 mmO
8.5.4对套入金属管道内的塑料管,应在法兰连接处进行加热、翻边和压平。
8.6质量检查
8. 6.1塑料衬里的外观质量应符合下列规定:
1塑料衬里与外壳贴合应平整、紧密,厚度应均匀,外观应光滑,不得有起泡、裂纹和可见的油
污或碳化黑点缺陷。
2塑料衬里与外壳贴合应紧密。釆用橡胶锤轻击检查时,不得有夹层或空隙。
3软聚氯乙烯板表面允许有深度不超过0.5 mm的裂纹、刀痕或小孔缺陷;焊道应连续、均匀, 不得有烧焦或未焊透现象。
8.6.2塑料衬里设备管道的压力试验应符合下列规定:
1对压力容器的塑料衬里的液压试验应按现行行业标准HG/T 4089《塑料衬里设备 水压试 验方法》和HG 20640《塑料衬里》的有关规定执行。
2对压力管道的塑料衬里的液压试验应符合现行国家标准GB 50690《石油化工非金属管道工 程施工质量验收规范》的有关规定。
3软聚氯乙烯衬里设备釆用松衬法施工后应进行24 h注水试验,检漏孔内应无水渗出。发现 渗漏应进行修补,修补后应重新试验。
8.6.3塑料衬里层的电火花试验应按现行行业标准HG/T 4090《塑料衬里设备 电火花试验方 法》的有关规定执行。
8. 6. 4当衬里层施工完毕后,经盛水检查发现渗漏的部位时,应采用下列方法修复:
1应先排净设备内部积水,擦干衬里层表面。采用电火花检测仪进行渗漏点的检测,对有火花 释放的部位,应铲除渗漏点的衬里层或焊肉,再进行焊接修复。
2当电火花检测无法查出渗漏部位时,应对衬板进行全面检查,确定渗漏部位后,再进行补焊 修复。
9.1 一般规定
9.1.1防腐蚀涂料图层应包括环氧树脂类涂料、聚氨酯涂料、丙烯酸类涂料、高氯化聚乙烯类涂料、 有机硅耐热涂料、氟树脂涂料、聚硅氧烷类涂料、富锌类涂料、玻璃鳞片涂料、酚醛树脂涂料和醇酸树 脂涂料。
9.1.2涂料进场时,供料方除应提供符合本规范第1.0.3条规定的产品质量证明文件外,还应提供 涂装的基层表面处理工艺要求和施工工艺技术文件。
9.1.3腻子、底层涂料、中间层涂料、面层涂料涂层的层数和厚度应符合设计规定。
9.1.4 施工环境温度宜为10 °C〜30 °C,相对湿度不宜大于85%,被涂覆表面的温度应比露点温度 高 3 OCo
9.1. 5当设计对涂装前基材表面预处理无规定时,应符合本规范第4. 1. 5条的规定。
9.1. 6防腐蚀涂料施工前,应先进行试涂。
9.1.7涂层厚度应均匀,不得漏涂和误涂。
9.1.8涂料出现结块、凝胶和固化现象时不得使用。
9.2原材料及制成品的质量要求
9.2.1环氧树脂类涂料及涂层的质量应符合下列规定:
1无溶剂型环氧涂料的质量应符合现行行业标准SH/T 3022《石油化工设备和管道涂料防腐 蚀设计规范》的有关规定。
2环氧煤沥青涂料及涂层的质量应符合表9. 2. I-1的规定。
表9. 2.1-1 环氧煤沥青涂料及涂层的质量
|
项目 |
指标 | |||
|
底漆 |
面漆 | |||
|
干燥时间(25 °C+5 °C)∕h |
表干 |
常温型 |
≤1 |
≤4 |
|
低温型 |
≤0. 5 |
≤3 | ||
|
实干 |
≤12 |
≤12 | ||
|
颜色及外观 |
红棕色,无光 |
黑色,有光 | ||
|
附着力(划圈法)/级 |
1 |
1 | ||
|
柔韧性∕mm |
2 |
2 | ||
|
耐冲击性/ (kg∙cm) |
≥50 |
≥50 | ||
表9.2.1-1环氧煤沥青涂料及涂层的质量(续)
|
项目 |
指标 | ||
|
底漆 |
面漆 | ||
|
耐化学试剂性 |
10%硫酸(室温,3 d) |
漆膜完整,不脱落 | |
|
10%氢氧化钠(室温,3 CI) |
漆膜无变化 | ||
|
10%氯化钠(室温,3 d) |
漆膜无变化 | ||
3厚浆型环氧涂料及涂层的质量应符合表9. 2. 1-2的规定。
表9. 2.1-2厚浆型环氧涂料及涂层的质量
|
项目 |
指标 | |
|
容器中的状态 |
搅拌后无硬块,呈均匀状态 | |
|
颜色及外观 |
各色 | |
|
固体含量(体积分数)/% |
≥75 | |
|
细度/ /ɪɪɪɪ |
<80 | |
|
黏度(基料)∕s |
300〜500 | |
|
干燥时间(23 °C)∕h |
表干 |
4 |
|
实干 |
10 | |
|
附着力/MPa |
>5 | |
|
柔韧性∕mm |
2 | |
|
耐冲击性/ (kg∙cm) |
≥50 | |
9.2.2聚氨酯涂料的质量应符合现行行业标准HG/T 2454《溶剂型聚氨酯涂料(双组分)》的有关 规定。
9.2.3丙烯酸类涂料的质量应符合现行国家标准GB/T 25264《溶剂型丙烯酸树脂涂料》的有关 规定。
9.2.4高氯化聚乙烯类涂料及涂层的质量应符合表9.2.4的规定。
表9.2.4高氯化聚乙烯类涂料及涂层质量
|
项目 |
指标 | |
|
漆膜外观 |
漆膜平整光滑 | |
|
附着力(划圈法)/级 |
2 | |
|
固体含量/% |
≥50 | |
|
干燥时间 |
表干∕min |
≤30 |
|
实干/h |
≤24 | |
表9.2.4高氯化聚乙烯类涂料及涂层质量(续)
|
项目 |
指标 |
|
耐冲击性/ (kg∙cm) |
≥50 |
|
柔韧性∕mm |
2 |
|
耐盐水性(3 % NaCl) |
7 d无起泡,无脱落 |
|
耐酸性(10%H2S04) |
7 d无起泡,无脱落 |
|
耐碱性(10%NaOH) |
7 d无起泡,无脱落 |
|
人工加速老化(QUV) |
200 h无粉化,不起泡,无脱落 |
|
耐盐雾性 |
200 h无起泡,无锈点,无脱落 |
9.2.5有机硅耐热涂料的质量应符合现行行业标准HG/T 3362《铝粉有机硅烘干耐热漆(双组 分)》的有关规定。
9.2.6氟树脂涂料的质量应符合现行行业标准HG/T 3792《交联型氟树脂涂料》和HG/T 3793 《热熔型氟树脂(PVDF)涂料》的有关规定。
9.2.7聚硅氧烷涂料及涂层的质量应符合表9. 2. 7的规定。
表9.2.7聚硅氧烷涂料及涂层的质量
|
项目 |
指标 | |
|
不挥发性含量/% |
≥70 | |
|
干燥时间(25 °C)∕h |
表干 |
≤2 |
|
实干 |
≤24 | |
|
弯曲性∕mm |
≤2 | |
|
耐冲击性/cm |
≥50 | |
|
耐磨性(500 r/500 g)∕g |
≤0. 03 | |
|
附着力/MPa |
≥β | |
|
重涂性 |
重涂无障碍 | |
|
耐侯性(人工加速老化试验,配套涂层)∕h |
5 000,1 级 | |
9.2.8富锌类涂料的质量应符合现行行业标准HG/T 3668《富锌底漆》的有关规定。
9.2.9玻璃鳞片涂料及涂层的质量应符合表9. 2. 9的规定。
表9.2.9玻璃鳞片涂料及涂层的质量
|
项目 |
指标 |
|
外观 |
底漆:棕色半透明;面漆:各色 |
|
黏度(25 °C)/(Pa-s) |
0. 4〜0. 6 |
|
固体含量/% |
64 〜72 |
表9.2.9玻璃鳞片涂料及涂层的质量(续)
|
项目 |
指标 |
|
表干时间(25 °C)∕h |
≤2 |
|
实干时间(25 °C)∕h |
≤β |
|
黏结强度/MPa |
≥2 |
|
抗冲击性/(kg∙cm) |
≥25 |
|
抗渗性/MPa |
≥1. 5 |
9.2.10酚醛树脂涂料的质量应符合现行国家标准GB/T 25253《酚醛树脂涂料》的有关规定。 9.2.11醇酸树脂涂料的质量应符合现行国家标准GB/T 25251《醇酸树脂涂料》的有关规定。
9.2.12涂料质量的试验方法应符合本规范附录B的有关规定。
9.3 施 工
9.3.1涂料使用量可按本规范附录E计算。
9.3.2涂料配制与施工用的工具应洁净,不得混用;开桶后未用完的涂料应密封保存。
9.3.3涂层施工可采用刷涂法、滚涂法、空气喷涂或高压无气喷涂、静电喷涂等方法进行。
9.3.4涂料涂装应符合下列规定:
1涂料涂装方法宜根据涂料的性能、施工条件和被涂结构的形状选择。
2金属表面预处理后应在4 h内涂刷底漆。当发现返锈或污染时,应重新进行处理。
3底漆涂装前,应对标识、焊接坡口、螺纹特殊部位进行保护。
4上层涂膜实干后,方可进行下一层涂装。
5涂刷应按先里后外、先难后易、先上后下的顺序进行,涂刷方向应与介质流向一致。
6涂层应完整、均匀,上下两道涂层应相互垂直涂刷。
7在涂层干燥过程中,应釆取防雨、雪措施。
9. 3. 5环氧树脂类涂料的配制及施工应符合下列规定:
1环氧树脂类涂料应包括无溶剂型和溶剂型。溶剂型环氧树脂涂料包括环氧煤沥青和厚浆型 环氧涂料等。
2双组分涂料应按质量比配制,混合后应搅拌均匀。配制好的涂料宜熟化后使用,并应在规定 时间内用完。
3施工可采用刷涂和喷涂。当施工环境温度低或涂料黏度过大时,可加入专用稀释剂,面漆的 稀释剂用量不得超过5%。
4每层涂料的涂装应在前一层涂膜实干后,方可进行下一层涂装施工,涂装间隔时间应为12h 以上。涂装好的防腐层应自然固化。
5当贮存的涂料出现沉淀时,使用前应搅匀。
6涂料的贮存期在25 °C以下不宜超过10个月。
9.3.6聚氨酯涂料的配制与施工应符合下列规定:
1聚氨酯涂料可分为单组分和双组分。双组分涂料应按质量比配制,并应搅拌均匀。
2施工可采用刷涂和喷涂,每层涂装应在前一层涂膜干固后进行,施工间隔时间不宜超过 48 h0
3涂装黏度刷涂应为30 S〜50 s,喷涂应为20 S〜30 SO当黏度过高时,可采用专用稀释剂、环 已酮或二甲苯进行稀释。
4涂料的施工环境温度不宜小于5 OC。
5涂料的贮存期在25 °C以下不宜超过6个月。
9. 3. 7丙烯酸树脂及其改性涂料的配制与施工应符合下列规定:
1丙烯酸树脂改性涂料应包括丙烯酸树脂涂料、丙烯酸树脂改性氯化橡胶涂料和丙烯酸树脂 改性聚氨酯双组分涂料等。
2采用丙烯酸树脂改性涂料时,宜釆用环氧树脂类涂料做底层涂料。
3双组分涂料应按其组分要求以质量比配制,搅拌均匀,并在规定时间内用完。
4施工可采用刷涂和喷涂,每层涂装应在前一层涂膜干固后进行,施工间隔时间应大于3 h,不 宜超过48 h0
5涂料的施工环境温度不宜小于5 OCO
6涂料的贮存期在25 °C以下,单组分不宜超过10个月,双组分不宜超过6个月。
9. 3. 8高氯化聚乙烯涂料的配制与施工应符合下列规定:
1高氯化聚乙烯涂料为单组分。
2施工可采用喷涂和刷涂,每层涂装应在前一层涂膜干固后进行,施工间隔时间应符合表 9.3.8的规定。
表9.3.8高氯化聚乙烯涂料施工间隔时间
|
温度/°C |
O〜14 |
15 〜30 |
30以上 |
|
间隔时间/h |
>24 |
>10 |
>6 |
3 高氯化聚乙烯涂料的施工环境温度宜为0 °C〜35 OCo 4涂料的贮存期在25 °C以下不宜超过10个月。
9.3.9有机硅耐温涂料的配制及施工应符合下列规定:
1基层除锈要求不得低于Sa2½级。
2有机硅耐温涂料为双组分,应按质量比配制,并应搅拌均匀并熟化10 min〜15 min后使用。
3底涂层应选用配套底涂料,不得采用磷化底涂料打底。
4施工可采用喷涂和刷涂,底层涂料养护24 h后,进行面层涂料施工,面层涂料施工间隔时间 宜为1 ho
5涂装黏度喷涂应为15 S〜18 s,刷涂应为23 S〜26 So黏度过高时,可采用专用稀释剂稀释。
6施工环境温度不宜小于5 OC ,相对湿度不应大于70⅝o
7涂料的贮存期在25 OC以下保存不宜超过6个月。
9.3.10氟树脂涂料的配制及施工应符合下列规定:
1氟树脂涂料应包括聚四氟乙烯(PTFE).聚偏二氟乙烯(PVDF).聚氟乙烯(PVF)和氟碳树 脂涂料(FEVE)等。
2基层除锈要求不得低于Sa2¼级。
3氟涂料为双组分,应按质量比配制,并应搅拌均匀。
4氟涂料宜釆用喷涂法施工。
5施工环境温度宜为5 °C〜30 °C,相对湿度不宜大于80⅝o
6涂料的贮存期在25 °C以下不宜超过6个月。
9. 3.11聚硅氧烷涂料的配制及施工应符合下列规定:
1聚硅氧烷涂料为双组分,应按质量比配制,并应搅拌均匀。配制好的涂料宜在25 °C下熟化 30 min后使用,并应在8 h内用完。
2施工时不得与水、酸、醇、碱接触。
3固化剂应密封保存,不得出现胶凝现象。
4涂层施工及干燥期间,相对湿度不得大于85⅝o
5每层涂膜的施工间隔时间应大于24 h,最后一层涂膜涂装后应保养7 d后方可使用。
6涂料应贮存在阴凉、干燥的通风处,基料贮存期应为12个月,固化剂贮存期应为6个月。
9. 3.12富锌类涂料的配制及施工应符合下列规定:
1富锌类涂料应包括有机富锌涂料和无机富锌涂料。
2富锌类涂料应为双组分,应按质量比配制,并应搅拌均匀。
3基层表面预处理要求不得低于Sa2⅛级,表面粗糙度应为40 Vm〜70 Mmo
4涂装时,环境相对湿度不宜小于50⅝o
5大面积施工宜釆用喷涂法。
6富锌涂层施工后应使用配套涂层封闭,不得长期暴露在空气中。
7涂层表面出现白色析出物时,应打磨除去析出物后再重新涂装。
8涂料的贮存期在25 °C以下不宜超过10个月。
9.3.13玻璃鳞片涂料的施工应符合下列规定:
1玻璃鳞片涂料可釆用滚涂和刷涂。
2底漆可选用环氧锌黄底漆、环氧富锌、环氧铁红底漆。
3玻璃鳞片涂料的施工应在底层涂膜表干后进行。每次滚涂或刷涂时,均应在前一层涂膜表 干后进行,直至设计厚度。
4涂料的贮存期在25 °C以下不宜超过3个月。
9.3.14酚醛树脂涂料的施工应符合下列规定:
1酚醛树脂涂料可釆用刷涂或喷涂施工。
2酚醛树脂涂料的稀释剂应为200号溶剂油或松香水,涂装黏度应为40 S〜50 SO
3每层涂膜涂装间隔时间应大于24 h。
4需加热固化的酚醛树脂涂料,每涂覆一层经自然干固后应进行热处理,其热处理工艺应符合 表9.3.14的规定。
表9.3.14酚醛树脂涂料的热处理工艺
|
涂层 名称 |
热处理温度及时间/(oc,h) | |||||||
|
自然干 固时间 |
第一次 |
第二次 |
降温 时间 | |||||
|
升温时间 |
升温温度 |
恒温时间 |
升温时间 |
升温温度 |
恒温时间 | |||
|
底涂层 |
4〜8 |
5〜6 |
80 〜90 |
4 |
2 |
120 |
8 |
自然 冷却 |
|
面涂层 |
4〜8 |
5〜6 |
80 〜90 |
4 |
4 |
140〜160 |
18 | |
注:升温应缓慢均匀。
9.3.15醇酸树脂耐酸涂料的配制及施工应符合下列规定:
1稀释剂应采用松节油或200号溶剂油。
2 喷涂时,黏度应为25 S〜35 s,喷涂压力应为0. 25 MPa-0. 4 MPao
3刷涂时,黏度应为50 S〜70 So
4每次涂装应在前一层涂膜表干后进行,施工间隔时间应符合表9. 3. 15的规定。
表9.3.15醇酸树脂涂料的施工间隔时间
|
环境温度/°C |
0〜14 |
15 〜30 |
>30 |
|
间隔时间/h |
≥10 |
≥6 |
≥4 |
9.4质量检查
9.4.1涂层的外观质量应符合表9.4.1的规定。
表9. 4.1涂层外观质量
|
序号 |
检查项目 |
质量要求 |
检查方法 |
|
1 |
脱皮、漏涂、返锈、气泡、透底 |
不允许 |
目测 |
|
2 |
微孔 |
不允许 |
5倍〜10倍放大镜检查 |
|
3 |
流坠、皱皮 |
不允许 |
目测 |
|
4 |
光亮与光滑 |
光亮,均匀一致 |
目测 |
|
5 |
分色界限 |
允许偏差应为士3 mm |
钢尺 |
|
6 |
颜色、刷纹 |
颜色一致,纹理通顺 |
目测 |
9.4.2涂层厚度应采用磁性测厚仪或超声波测厚仪进行检测,其检测方法应符合现行国家标准 GB/T 13452. 2 «色漆和清漆 漆膜厚度的测定》的有关规定。涂层的厚度应均匀一致,层数应符合 设计规定;涂层干膜厚度小于设计厚度的测点数不应大于10%,且测点处实测干膜厚度不应小于设 计厚度的95⅝o
9.4.3涂层针孔检查应采用高电压火花仪或低电压漏涂检测仪进行,以不打出火花为合格,并应符 合下列规定:
1涂层厚度大于200 Vm应釆用高电压火花仪,其检测电压每微米涂层干膜厚度应为5 VO
2涂层厚度小于200 Vm应采用低电压漏涂检测仪,其检测电压每微米涂层干膜厚度应为5 V〜 90 VO
3设备防腐蚀涂层的针孔漏点每平方米不得超过2个,管道防腐蚀涂层每5 m针孔漏点不得 超过1个。
9.4.4涂层附着力的测定方法应符合本规范附录B. 3. 7的规定。
10.1 一般规定
10.1.1玻璃鳞片树脂衬里工程应包括乙烯基酯树脂类、双酚-A型不饱和聚酯树脂类和环氧树脂 类玻璃鳞片衬里。
10.1. 2玻璃鳞片衬里施工应符合下列规定:
1釆用乙烯基酯树脂和双酚-A型不饱和聚酯树脂时,环境温度宜为5 °C〜30 OCo
2采用环氧树脂类时,环境温度宜为10 °C〜30 OCO
3施工环境相对湿度应小于80%o
4施工基体表面温度应高于环境露点温度3 OCo
5底漆涂刷现场应有防尘、防雨、防杂物措施。
10.1. 3在施工和养护期间,应有避雨设施及防火、防暴晒措施。
10.1.4衬里材料应密闭贮存在阴凉、干燥的通风处,纤维材料应防潮贮存。
10.1. 5玻璃鳞片衬里施工前的基体表面除应符合本规范第4章的有关规定外,尚应符合下列规定:
1基体表面与内外支撑件间的焊接、钥!接应完成。
2设备基体及内支撑件焊缝必须满焊。
3衬里侧焊缝应平整、光滑,凸起高度不得超过1 mm;边角和边缘应打磨至大于或等于2 mm 的圆弧。
10.2原材料及制成品的质量要求
10. 2.1乙烯基酯树脂、不饱和聚酯树脂和环氧树脂的质量应符合本规范第5. 2. 3条的规定。
10. 2. 2玻璃鳞片质量应符合现行行业标准HG/T 2641《中碱玻璃鳞片》的有关规定。
10. 2.3玻璃鳞片衬里采用的固化剂应与所选用的树脂相配套,其质量应符合本规范第5.2.4条的 规定。
10. 2.4滚压作业用稀释剂,乙烯基酯树脂、双酚-A型不饱和聚酯树脂类玻璃鳞片衬里应为苯乙 烯;环氧树脂类玻璃鳞片衬里应为无水乙醇或丙酮。
10. 2. 5玻璃鳞片混合料的质量应符合表10.2.5的规定。
表10.2.5玻璃鳞片混合料的质量
|
项目 |
玻璃鳞片胶泥料 |
底涂料 |
面涂料 |
|
在容器中状态 |
在搅拌混合物时,应无固态物料聚集,无杂质 | ||
|
施工工艺性 |
刮抹,无障碍、不流挂 |
滚、刷涂,无障碍、不流挂 |
喷、滚、刷涂,无障碍、不流挂 |
|
胶凝时间(25°C)∕min |
45 土 15 |
60÷ 15 |
60+15 |
10. 2. 6玻璃鳞片制成品的质量应符合表10. 2.6的规定。
表10. 2.6玻璃鳞片制成品的质量
|
项目 |
乙烯基酯树脂类 |
双酚-A型不饱和聚酯树脂类 |
环氧树脂类 | |
|
拉伸强度/MPa |
>25 |
≥23 |
≥25 | |
|
弯曲强度/MPa |
≥35 |
≥32 |
≥30 | |
|
冲击强度(500 g×25 Cm) |
无裂缝,无剥离 |
无裂缝,无剥离 |
无裂缝,无剥离 | |
|
黏结强度/MPa |
拉剪法 |
212(底涂) |
210(底涂) |
214(底涂) |
|
拉开法 |
≥ 8 (底涂) |
≥ 7 (底涂) |
210(底涂) | |
|
巴氏硬度 |
≥ 40 |
≥ 40 |
≥ 42 | |
|
耐磨性(1 000 g,500 r)∕g |
≤ 0.05 |
≤ 0.05 |
≤ 0.05 | |
|
线膨胀系数(KXIOf) |
≤ 1.04 |
≤ 1.02 |
≤ 1. 06 | |
|
冷热交替试验 |
耐热型 |
150 OC(I h)和25 °C的水(IO min) 10个循环无裂缝、无剥离 | ||
|
普通型 |
130 OC(I h)和25 °C的水(Io min) 10个循环无裂缝、无剥离 | |||
10. 2. 7原材料和制成品质量的试验方法应符合本规范附录B的有关规定。
10.3 施 工
10. 3.1底涂层施工应符合下列规定:
1在底涂料中应按比例加入固化剂后,搅拌均匀,并应在初凝前用完。
2底涂料的施工宜采用刷涂或滚涂,不得漏涂。
3当釆用多层底涂料施工时,在不同温度下的涂装间隔时间应符合表10. 3. 1的规定。
表10.3.1底涂料在不同温度下的涂装间隔时间
|
底材温度/°C |
10 |
20 |
30 |
|
最短涂装间隔时间/h |
10 |
5 |
3 |
|
最长涂装间隔时间/h |
48 |
36 |
24 |
4上下两层涂刷方向应互相垂直。
10.3.2玻璃鳞片胶泥的配制应符合下列规定:
1乙烯基酯树脂、不饱和聚酯树脂胶泥的配制应符合本规范第5. 3.5条的规定;环氧树脂胶泥 的配制应符合本规范第5. 3. 4条的规定。
2在玻璃鳞片胶泥料中按比例加入固化剂,宜在真空度不低于0. 08 MPa的真空搅拌机中搅拌 均匀。
3配制好的玻璃鳞片胶泥料应在初凝前用完。当树脂胶泥料、玻璃鳞片胶泥料有凝固、结块现 象时,不得使用。
10.3.3玻璃鳞片胶泥层施工应符合下列规定:
1玻璃鳞片胶泥层的施工应在底涂层施工完成12 h后进行。
2 玻璃鳞片胶泥宜采用人工涂抹的方法施工。施工时应将玻璃鳞片胶泥摊铺在底涂层表面, 用抹刀单向有序、均匀地涂抹。
3滚压作业应与涂抹施工同步进行,玻璃鳞片胶泥衬里层表面应光滑均匀。
4初凝后的单层玻璃鳞片胶泥衬里施工厚度不宜大于1 mmo
5当玻璃鳞片胶泥衬里层大于1 mm时,宜分次施工。上下两层胶泥料的涂抹方向应相互垂 直;层间涂抹间隔时间应符合表10. 3. 1的规定。
6施工接缝应采用斜槎搭接方式,不得采用对接。每层施工接缝应相互错开。
10.3.4局部纤维增强部位的施工应符合下列规定:
1纤维增强用树脂应采用与玻璃鳞片胶泥相同的树脂配制。
2局部纤维增强区的玻璃鳞片衬里表面应打磨平整,并应采用稀释剂清洗干净,再按涂刷胶 料、贴衬纤维布的施工顺序逐层铺贴。
3局部纤维增强部位施工12 h后,应将纤维增强材料的毛边、气泡或脱层清除干净,并应采用 玻璃鳞片胶泥填平补齐。
10.3. 5玻璃鳞片面涂层的施工应符合下列规定:
1 在面层涂料中加入固化剂后应搅拌均匀,并应在初凝前用完。
2面层涂料施工可采用刷涂、滚涂或喷涂。
3多层面涂料施工时,涂装间隔时间应符合本规范表10. 3. 1的规定。
4采用乙烯基酯或不饱和聚酯树脂作为面涂料时,其最上一层应含有苯乙烯石蜡液。
10.3.6玻璃鳞片衬里层的养护时间应符合表10.3.6的规定。养护期内不得在衬里层表面进行施 工作业或踩踏。
表10.3.6玻璃鳞片衬里层的养护时间
|
环境温度/°C |
10 |
20 |
30 |
|
养护时间/h |
≥14 |
≥7 |
≥4 |
10.4质量检查
10. 4.1玻璃鳞片衬里施工过程的质量检查,应在每道工序施工结束后进行;最终质量检查应在衬 里结束24 h后进行。
10. 4. 2外观检查应符合下列规定:
1涂层表面应平整,颜色应均匀,应无漏涂、流淌、气泡和杂物。
2涂层与基层结合应牢固,并应无脱层和起壳现象。
10. 4.3表面固化度或硬度检查应符合下列规定:
1表面固化度应采用棉球蘸丙酮擦拭衬里表面,应无掉色和发黏现象。
2表面硬度的测定方法应符合现行国家标准GB/T 3854《增强塑料巴柯尔硬度试验方法》的 有关规定,其硬度值应符合本规范表10. 2. 6的规定。
10. 4.4 衬里层针孔检查的电火花检测电压应为3 kV∕mm,应无击穿现象。
10. 4.5采用磁性测厚仪检测衬里层厚度的允许偏差应为一0.2 mm。
11.1 一般规定
11.1.1金属热喷涂工程应包括锌及锌合金、铝及铝合金涂层的火焰喷涂和电弧喷涂施工。
11.1.2施工环境温度不宜低于5 °C,相对湿度不应大于80%,基体表面温度应比露点温度高3 OC 以上;在雨、雪和大雾天气,不得进行室外喷涂施工。
11.1.3待喷涂工件表面出现凝露时,不得进行喷涂作业。
11.1.4施工前应对热喷涂设备进行检查和试验。热喷涂设备的技术参数和喷涂性能应符合现行 国家标准GB/T 20019《热喷涂 热喷涂设备的验收检查》的有关规定。
11.1.5待喷涂表面预处理的质量要求应符合本规范第4.1. 5条的规定;不同涂层的待喷涂表面经 喷射或抛射处理后的表面粗糙度应符合表H. 1. 5的规定。
表11.1.5 喷射或抛射处理后的表面粗糙度(RZ)
|
热喷涂涂层 |
涂层设计厚度∕mm |
待喷涂表面粗糙度最小值/最大值∕pιm |
|
锌、铝及其合金 |
0. 10—0. 15 |
40/63 |
|
0. 20 |
63/80 | |
|
0. 30 |
80/100 |
11.2原材料的质量要求
11.2.1热喷涂用材料应符合现行国家标准GB/T 12608《热喷涂 火焰和电弧喷涂用线材、棒材 和芯材 分类和供货技术条件》的有关规定。
11.2.2热喷涂材料在使用前,应进行抽样检查。检查合格的材料应进行清洗、干燥,并应包装 贮存。
11.2.3热喷涂用线材应光洁、无锈、无油、无折痕,其直径标准尺寸及公差应符合表IL 2. 3的 规定。
表11.2.3 热喷涂用线材的直径标准尺寸及公差 丄
单位:mm
|
线材标准尺寸 |
60 |
弑2. 0〜2. 5) |
M3. 0〜4.0) |
|
公差∕mm |
0 —0. 050 |
0 —0. 060 |
0 -0. 070 |
11. 2. 4热喷涂用线材质量的试验方法应符合本规范附录B的有关规定。
11.3 施 工
11.3.1金属热喷涂施工应在基体表面预处理合格后及时进行。当工件表面无凝露时,喷涂间隔时 间不宜大于4 h。
11.3.2金属热喷涂施工前应经试喷,合格后方可正式施工。
11.3.3火焰喷涂的主要工艺参数应符合表11.3.3的规定。
表11.3.3线材火焰喷涂的主要工艺参数
|
项目 |
工艺参数(线径©3 mm时) | ||
|
锌及锌合金 |
铝及铝合金 | ||
|
气体压力/MPa |
氧气 |
0. 40〜0. 55 | |
|
乙焕气 |
0.07 〜0.10 | ||
|
压缩空气 |
0. 50〜0. 55 | ||
|
火焰焰性 |
中性焰 | ||
|
线材输送速度/ (mm∕s) |
30〜43 |
26 〜40 | |
|
喷涂距离∕mm |
IOO〜150 | ||
|
喷涂角度/(°) |
75 〜90 | ||
|
喷枪或工件移动速度/(mm/s) |
300〜400 | ||
|
喷涂基体表面温度/°C |
<100 | ||
注:表中工艺适用于射吸式气体喷涂枪。当使用不同参数的喷枪和线材时,工艺参数应进行调整。
11.3.4电弧喷涂的主要工艺参数应符合表IL 3.4的规定。
表11.3.4 电弧喷涂工艺参数
|
项目 |
工艺参数(线径©2 mm时) | |
|
锌及锌合金 |
铝及铝合金 | |
|
电弧电压/V |
24 〜28 |
30 〜34 |
|
电弧电流/A |
150—180 |
160〜200 |
|
线材输送速度/ (mm∕min) |
90 〜120 |
70 〜95 |
|
压缩空气压力/MPa |
0.55 〜0.6 | |
|
喷涂距离∕mm |
120〜200 | |
|
喷涂角度/(°) |
75 〜90 | |
|
喷枪或工件移动速度/(mm/s) |
400〜550 | |
|
喷涂基体表面温度/°C |
<100 | |
注:表中工艺适用于封闭雾化式电弧喷涂枪。当使用不同参数的喷枪和线材时,工艺参数应进行调整。
11.3.5 喷枪进行试喷调整时,应避开待喷涂表面。
11.3.6当对薄壁工件和构造复杂的表面喷涂时,喷枪的移动速度可进行调整。
11.3.7设计厚度等于或大于0. 10 mm的涂层,应分层喷涂,上下两层的喷涂方向应纵横交错。分 层喷涂时,喷枪喷涂的每一涂层均应平行搭接,搭接尺寸宜为喷幅宽度的1/4〜1/3;同层涂层的喷涂 方向宜一致。
11.3.8喷涂过程中,工件表面温度超过70 °C时,应采取间歇喷涂或冷却措施。
11.3.9 对难以施工的部位应先喷涂。喷涂操作时,宜降低热源功率,提高喷枪的移动速度,并应预 留涂层的阶梯形接头。
11.3.10大型设备或大面积施工时,应划区作业,分片喷涂。各分片的接头应错开,错开距离应大 于 100 mmo
11.3.11施工过程中应按本规范第IL 4节进行涂层外观和厚度的中间检查,发现缺陷应及时 处理。
11. 3.12金属热喷涂层的涂料封闭,应在涂层检查合格后进行,并应符合下列规定:
1当喷涂层受潮时,不得进行封闭。
2不做涂料封闭的喷涂层,应采用细铜丝刷进行刷光处理。
11.4质量检查
11. 4.1喷涂层外观质量应符合下列规定:
1表面应致密、平整、色泽一致。
2表面应无裂纹、翘皮、起泡或底材裸露的斑点,并应无未熔或附着不牢的金属颗粒。
3应按涂层面积的15%〜30%进行观察和指划检查。
11.4.2金属热喷涂层厚度应符合设计规定,涂层最小局部厚度不应小于设计规定值,其检查方法 应按现行国家标准GB/T 4956 «磁性基体上非磁性覆盖层 覆盖层厚度测量 磁性法》的有关规定 进行。
12.1 一般规定
12.1.1铅衬里工程应包括钢制工业设备及管道的衬铅和搪铅施工。
12.1.2衬铅和搪铅可采用氢氧焰或氧-乙块焰,且应采用中性焰。
12.1.3凡受压容器,应经压力试验合格后,方可进行铅衬里。
12. X. 4铅衬里设备的内表面应按设计规定进行处理,并应符合本规范第4. 1. 5条的规定。
12.2原材料的质量要求
12. 2.1铅板应无砂眼、裂缝及厚薄不均匀缺陷,表面应光滑清洁、不得有污物、泥砂和油脂。铅板 的化学成分及规格应符合设计及现行国家标准GB/T 1470《铅及铅锐合金板》的有关规定。
12. 2.2铅焊条的材质应与焊件材质相同,表面应干净,应无氧化膜及污物;也可采用母材制作焊 条。铅焊条的规格应符合表12.2.2的规定。
表12. 2. 2铅焊条的规格
单位
|
焊条号 |
特 |
1 |
2 |
3 |
4 |
5 |
|
焊条规格 (直径X长度) |
(2 〜3)X220 |
5X230 |
8X250 |
11X280 |
14X300 |
18X320 |
12. 2.3搪铅用母材应符合本规范第12.2.1条的规定。
12. 2.4搪铅常用焊剂的配比应符合表12.2.4的规定。
表12. 2.4搪铅常用焊剂的配比
|
序号 |
焊剂组成成分 | |||
|
氯化锌 |
氯化锡 |
氯化亚锡 |
水 | |
|
配方1 |
65 |
一 |
35 |
300 |
|
配方2 |
25 |
一 |
5〜7 |
75 |
|
配方3 |
45 |
25 |
— |
30 |
|
配方4 |
2 |
1 |
— |
6 |
注:氯化锌、氯化亚锡和氯化锡的纯度应为98%以上,水应采用蒸馅水。
12.3衬铅施工
12.3.1衬铅前的准备工作应符合下列规定:
1铅板下料场地应设置木制平台,且应平整干净,下料者应穿软底鞋。
• 46 ,
2敲打铅板应使用木制工具。
3已下好料的铅板,应标明尺寸和编号,并应妥善存放。
4整体设备衬里前,应先在外壳最低部位,设置直径为6 mm〜10 mm的检漏孔2个〜4个。
5吊装铅板前,应清除设备内的一切杂物,且不得用钢丝绳直接绑扎铅板。
12. 3. 2 衬铅可采用搪钉固定法、悬挂固定法、压板固定法或压条固定法,并应符合下列规定:
X各固定点间的距离宜为250 mm〜900 mm,应呈等边三角形排列。
2设备顶部可适当增加固定点。
3平底设备的底部可不用固定点。
4 3 mm以下的铅板处于方槽转角处的焊缝应采用搭接,其搭接宽度应为30 mm〜40 mmO
5塔、罐、槽等设备的人孔、进出料口的铅板焊接应釆用搭接,其搭接方向应与介质流向一致。
12.3.3铅板下料时,其排版应符合下列规定:
1焊缝应错开,其错开距离不得小于100 mmO
2各种衬铅结构应不宜采用仰焊。
12.3.4 铅板组对应符合下列规定:
1铅板与设备内壁应紧密贴合,不得凸凹不平。
2焊缝的组对应便于施焊。
3 铅板组对应采用点焊固定,点焊间距宜为200 mm—300 mmO
12.3.5铅板焊接前应符合下列规定:
1焊件表面应无油脂、泥砂、水或酸碱杂质。
2焊接坡口处不应有熔点较高的氧化铅层,施焊前应采用刮刀刮出金属光泽,并应随刮随焊, 对已刮净的焊口应在3 h内焊完。
3 多层焊时,每焊完一层,应刮净表面后,再焊下一层。
12.3.6 铅焊条选用应符合表12.3.6的规定。
表12.3.6铅焊条选用
|
板厚∕mm |
焊接位置 | |||
|
平焊 |
立焊 |
横焊 |
仰焊 | |
|
1〜2 |
1 |
特 |
特 |
特 |
|
3〜4 |
2 |
特 |
特 |
特 |
|
5〜7 |
3 |
1 |
1 |
特 |
|
8—10 |
4 |
4浓 |
2 |
— |
|
12 〜15 |
5 |
5浓 |
3 |
— |
注:1.加“※”为挡模焊;
2.立焊是指对接立焊。
12. 3.7铅板焊接工艺参数应符合表12. 3. 7的规定。
表12.3.7铅板焊接工艺参数
|
板厚∕mm |
焊接位置 | |||||||
|
平焊 |
立焊 |
横焊 |
仰焊 | |||||
|
焊嘴号 |
焰心长度∕mm |
焊嘴号 |
焰心长度∕mm |
焊嘴号 |
焰心长度∕mm |
焊嘴号 |
焰心长度∕mm | |
|
1〜3 |
1〜2 |
8 |
0〜1 |
4 |
0〜2 |
6 |
0〜1 |
4 |
|
4〜7 |
3〜4 |
8 |
0〜2 |
6 |
1〜2 |
8 |
0~-∙^2 |
6 |
|
8—10 |
4〜5 |
12 |
2〜3 |
8 |
3〜4 |
10 |
2〜3 |
8 |
|
12 〜15 |
6 |
15 |
2-~3 |
8 |
3〜4 |
10 |
2〜3 |
8 |
12.3.8铅焊对接接头型式应符合表12.3.8的规定。
表12.3.8铅焊接接头型式
单位:mm
表12. 3. 8铅焊接接头型式(续) ɪ
单位:mm
|
焊缝形式 |
板厚S |
间隙α |
钝边b |
焊缝宽«1 |
焊缝高如 | ||
|
1疋 |
>7 |
1 — 2. 5 |
一 |
一 |
2〜3 | ||
12.4搪铅施工
12. 4.1搪铅前的准备工作应符合下列规定:
1被搪设备的表面应平整,并应无氧化皮、夹杂物、油脂和化学杂质,并应露出金属光泽。
2被搪设备的焊缝应采取对接,焊缝余高不应大于3 mm,并应圆滑过渡。
3称量、配制和盛装焊剂的器皿、涂刷焊剂用的毛刷应清洁,不得被油脂污染。
12.4.2搪铅施工应釆用直接搪铅法或间接搪铅法。
12. 4.3直接搪铅法施工应符合下列规定:
1搪铅应在水平位置上进行,当基体倾斜超过30。C时,每次搪铅的厚度宜为2 mm〜4 mm,搪 道宽度宜为15 mm〜25 mmo
2搪铅至少应搪两层。在第一层铅搪完后,应采用清水将附着在表面上的焊剂洗净,用刮刀将 表面刮光后,再进行第二层搪铅直至所需厚度,最后一层应采用火焰重熔一次。
12. 4. 4间接搪铅法施工应符合下列规定:
1先在被搪表面采用加热涂锡法进行挂锡,挂锡层应薄而均匀,挂锡厚度应为15 Mm〜20 μm, 再进行搪铅。
2搪铅温度应为190 °C〜230 °C,锡层不得熔化流淌。
12. 4.5搪铅时,每层应进行中间检查,搪铅厚度应均匀一致,不应有夹渣、裂纹、鼓泡、气孔和焊瘤 缺陷。
12.5质量检查
12. 5.1铅衬里表面质量应符合下列规定:
1外观釆用目测或5倍〜10倍的放大镜全面检查,衬铅板表面不得有机械损伤、凹陷或减薄现 象;焊道应平整均匀,并应无缩孔、偏歪、错口现象。
2选择2处〜3处进行剖割检查时,焊缝内部不得有夹层、气孔、未焊透现象。
3常压设备应进行盛水试漏,当水灌满后,应保持24 h以上,检漏孔不得有渗漏现象。
4 受压设备应进行水压试验。试验压力应为工作压力的1. 25倍,达到试验压力后稳压 3 min-5 min,降至工作压力,保压时间不应小于1 h,压力不应下降,检漏孔处应无泄漏。
5衬铅后的零部件,可进行充气试验。将空气通入衬铅零部件衬里的夹层中,使其压力维持 0. 2 MPa-0. 3 MPa;在焊缝处涂上肥皂水,应无发泡。
6气密试验时,可将压力为0.01 MPa-O. 02 MPa的氨气通入设备衬里的夹层中,采用浸有酚 猷指示剂的试纸在焊道上移动,试纸不应变色;也可采用浓度为20%的硫酸涂于铅表面,3 h后用清 水冲洗,再用刚果红试剂检查焊缝和怀疑部位,刚果红不应变为蓝色。
7置换合格后,方可进行缺陷修焊。
12.5.2搪铅层表面质量应符合下列规定:
1釆用目测或5倍〜10倍的放大镜检查,表面应无裂纹、缩孔、夹渣现象。
2釆用磁性厚度测量仪进行厚度检查。当设计对厚度偏差无规定时,其厚度允许偏差应为 0%〜25%。不同部位的检测点,均应不少于3点。
3选定2处〜3处进行剖割检查时,搪铅层厚度应符合设计规定,结合层应无气孔和夹渣。
4搪铅层表面微孔检查,应按下列方法之一进行:
D在搪铅设备表面均匀涂抹20%的稀硫酸,放置48 h后进行检查,搪铅层表面应无腐蚀点; 当采用刚果红检查时,刚果红不应变为蓝色。
2)在设备内通入蒸汽,当湿度达到90%以上,停放40 h后进行检查,搪铅层表面应无锈斑。
5对特殊重要的设备,可采用超声波检测仪对搪铅层与设备本体的结合紧密程度进行检查,应 无脱层或起壳现象。
12.5.3对衬铅层和搪铅层的所有缺陷和在检查中破坏的部位应全部修补合格。
13.1 一般规定
13.1.1喷涂型聚脈涂层衬里工程应包括环氧底涂型聚脈和聚氨酯底涂型聚脈涂层的涂装。
13.1.2喷涂型聚脈涂层衬里施工所釆用的辅料应与聚脈具有相容性。
13.1.3 喷涂型聚脈涂层衬里的施工环境温度应大于5 °C,相对湿度不应大于85%,风速不应大于 5 m∕so
13.1.4 原料应储存在阴凉、干燥、通风、防雨和温度为10 °C〜40 °C的仓库内。
13.1.5聚脉喷涂前,应进行试喷。试喷合格后,方可进行大面积施工。
13.2原材料及制成品的质量要求
13.2.1 聚脈底层涂料、涂层涂料、面层涂料和修补料的原材料质量应符合现行行业标准 HG/T 20273《喷涂型聚脉防护材料涂装工程技术规范》的有关规定。
13.2.2聚腿底涂层的质量应符合表13.2.2的规定。
表13. 2. 2聚脉底涂层的质量
|
项目 |
指标 | |
|
环氧底涂 |
聚氨酯底涂 | |
|
底层涂料与钢板基体的黏结强度/MPa |
≥6 |
≥5 |
|
底层涂料与聚脈的黏结强度/MPa |
≥6 |
≥5 |
13.2.3聚脈涂层的质量应符合表13.2.3的规定。
表13. 2. 3聚脉涂层的质量
|
项目 |
指标 | ||
|
弹性聚脉涂料 |
刚性聚脉涂料 | ||
|
硬度 |
邵A |
≥80 |
一 |
|
邵D |
一 |
≥55 | |
|
拉伸强度/MPa |
≥10 |
≥20 | |
|
断裂伸长率/% |
≥250 |
≥20 | |
|
撕裂强度/(kN∕m) |
≥40 |
≥60 | |
|
附着力钢/MPa |
24. 5 |
≥8. O | |
|
低温柔性(一30 OC) |
不开裂 |
— | |
|
不透水性(0. 3 MPa/30 min) |
不透水 |
一 | |
|
电气强度/(mV∕m) |
≥15 |
≥25 | |
13. 2. 4聚脈面涂层的质量应符合表13.2.4的规定。
表13. 2. 4聚脉面涂层的质量
|
项目 |
指标 |
|
外观 |
涂刷均匀,无漏涂,色泽一致,无气泡、开裂和剥落 |
|
低温柔性(一30 OC) |
无开裂,无剥离 |
|
附着力(划格法) |
21级 |
|
耐水性(48 h) |
不起泡,不剥落 |
|
耐碱性(5%NaoH,240 h) |
无起泡、起皱、变色、剥落现象 |
|
耐酸性(5⅜H2SO4 ,240 h) |
无起泡、起皱、变色、剥落现象 |
|
耐盐性(3%NaeI,240 h) |
无起泡、起皱、变色、剥落现象 |
|
耐油性(机油,240 h) |
无起泡、起皱、变色、剥落现象 |
|
耐人工气候加速老化试验(1 500 h) |
无明显变色和粉化,无气泡,无裂纹 |
13. 2. 5聚脈修补涂层的质量应符合表13. 2. 5的规定。
表13.2.5聚脈修补涂层的质量
|
项目 |
指标 |
|
外观 |
平整,无明显色差,无气泡、壳层和开裂 |
|
拉伸强度/MPa |
≥10 |
|
断裂伸长率/% |
≥300 |
|
附着力/MPa |
≥3. 5 |
13. 2. 6聚脈衬里原材料和涂层质量的试验方法应符合本规范附录B的有关规定。
13.3 施 工
13.3.1喷涂型聚脈涂层衬里施工的金属基面应符合下列规定:
1需喷涂的设备内部构件,焊缝应满焊。
2设备及管道的内外壁表面处理应符合本规范第4. 1. 5条的规定。
3金属基面在湿度小于或等于70%条件下,放置时间不宜超过4 ho
13.3.2聚脉喷涂设备应符合下列规定:
1聚脈喷涂设备应采用专用双组分喷涂设备。主机压力应大于7 MPa;比例泵的工作压力应 为15 MPa〜32 MPa,压差应小于5 MPaO喷枪应采用撞击式混合高压喷射式,并应均匀雾化。设备 加热装置加热温度应大于65 °C,管道加热温度应大于45 OCO
2喷涂前应检查设备状况,并应确认性能完好;按设备操作程序启动设备,检查运行状况;调整 设备并设置工艺参数,一切正常后,方可进行涂敷作业。
13. 3. 3底涂层的施工应符合下列规定:
1底层涂料宜采用双组分室温固化体系。当环境温度低于io °C时,应采用低温固化体系。
2配制好的底层涂料应在规定的时间内用完,已初凝的涂料不得使用。
3将配制好的底层涂料应涂装均匀,涂层应连续,不得漏涂。
4底涂层宜采用喷涂、滚涂或刷涂进行。
5 底涂层的干膜厚度应为15 Vm〜35 μmo
6底涂层的养护时间应符合表13. 3. 3的规定。
表13. 3. 3底涂层的养护时间
|
底涂种类 |
使用温度/°C |
养护时间/h |
|
溶剂型聚氨酯涂料 |
≥15 |
1〜6 |
|
≥30 |
1〜3 | |
|
环氧涂料 |
≥15 |
4〜6 |
|
≤15 |
6〜10 | |
|
≤8 |
24 |
7当第一层底涂层的间隔时间超过表13. 3. 3的规定时,宜进行打磨处理,再进行第二层底涂 层的施工。
13. 3.4喷涂聚腿的施工应符合下列规定:
1喷涂聚脈施工应按从上至下,先顶面、再侧面、后底面的顺序进行。
2喷枪与待喷基面的角度应垂直,并应釆用小面积移动交叉喷涂。
3每次施工宽度应小于1 200 mm,相邻喷涂施工层间的搭接宽度应大于120 mmO
4设计厚度小于或等于2 mm时,应一次完成;设计厚度大于2 mm时,宜分两次完成。
5当接缝不连续喷涂时,应先进行表面处理后再喷涂,接缝喷涂宽度应大于150 mmO
6 设备内表面喷涂时,接管和人孔处应加厚0.5 mm-1.5 mm,焊缝处应加厚1.0 mm〜
2. 0 mm O
13. 3. 5聚脈涂层的修补应将聚腿涂层的鼓泡、脱层缺陷周围5 mm~20 mm范围内的涂层及基面 清理干净,并应打磨,涂刷层间黏合剂后再进行机械喷涂或手工修补。
13. 3.6面层施工应符合下列规定:
1面层涂料的单层施工厚度应大于30 μmo
2聚脈面涂层的施工宜采用滚涂或喷涂。
13.3.7涂层附着力现场检测试样应在施工过程中同步喷涂。
13.3.8聚脉喷涂层厚度应在喷涂完毕后立即进行检测。当厚度不符合设计规定时,应进行补喷。
补喷间隔时间和补喷要求应符合表13. 3. 8的规定。
表13.3.8 喷涂聚脈补喷间隔时间和补喷要求
|
环境温度/°C |
间隔时间/h |
补喷要求 |
|
≥15 |
>2 |
采用层间黏合剂处理后再喷涂 |
|
≤2 |
可直接复喷 | |
|
10 〜15 |
>3 |
釆用层间黏合剂处理后再喷涂 |
|
≤3 |
可直接复喷 | |
|
≤10 |
≥4 |
采用层间黏合剂处理后再喷涂 |
13.3.9喷涂聚脈涂层的养护时间应符合表13. 3. 9的规定。
表13. 3. 9喷涂聚脈涂层的养护时间
|
环境温度/°C |
>23 |
10 〜23 |
≤10 |
|
养护时间/h |
8 |
24 |
48 |
13. 3.10喷涂型聚腿施工完毕后的工件表面应采取保护措施。
13. 3.11喷涂作业每次完成后,应及时清洗喷涂设备并应进行日常养护o
13.4质量检查
13. 4.1喷涂型聚腿衬里涂层表面应平整,色泽应一致,并应无明显尖锐突出物、龟裂和尖口划伤缺 陷。每平方米面积内直径小于20 mm的不影响使用质量的鼓泡数量不得大于2个。
13.4.2喷涂型聚脈衬里涂层的厚度应符合设计规定。
13.4.3喷涂型聚脈衬里涂层表面的致密度应采用电火花检测仪检查,应无击穿现象。电火花检测 电压应符合现行行业标准JGJ/T 200《喷涂聚腿防水工程技术规程》附录D的有关规定。
13. 4. 4 喷涂型聚脉衬里的附着力应符合设计规定,与钢铁基层的附着力(拔起法)不应小于
6. 0 MPa,其检测方法应按本规范附录B. 4. 5的规定进行。
14.1 一般规定
14.1.1氯丁胶乳砂浆整体面层工程用于化工设备的防腐工程中塔器内壁及管道内壁等的防腐。
14.1.2施工环境温度宜为10°C〜35 °C。当环境温度低于5 °C时,应采取加热保温措施。
14.1. 3氯丁胶乳的存放应置于阴凉干燥处,贮存期不得超过6个月。
14.1.4氯丁胶乳砂浆整体面层衬里施工时,基层表面处理应符合本规范第4.1.8条的规定。焊缝 和搭接的部位,应釆用氯丁胶乳胶泥找平。
14.1.5施工用的工具和机械应及时清洗。
14.2原材料及制成品的质量要求
14. 2.1氯丁胶乳原材料的质量应符合本规范附录A中表A. 0. 13的规定。
14. 2.2拌制氯丁胶乳砂浆应釆用强度不低于32. 5 MPa的硅酸盐水泥或普通硅酸盐水泥,其质量 应符合现行国家标准GB 175—2007/XG2《通用硅酸盐水泥》的有关规定。
14. 2.3细骨料的质量应符合现行行业标准JGJ 52《普通混凝土用砂、石质量及检验方法》的有关 规定,其颗粒级配应符合表14. 2. 3的规定。
表14. 2.3细骨料的颗粒级配
|
筛孔∕mm |
5. 0 |
2. 5 |
1. 25 |
0. 63 |
0. 315 |
0. 16 |
|
筛余量/% |
0 |
0〜25 |
10 〜50 |
41 〜70 |
70 〜92 |
90 〜IoO |
14. 2. 4氯丁胶乳砂浆制成品的质量应符合表14. 2.4的规定O
表14. 2.4氯丁胶乳砂浆制成品的质量
|
项目 |
指标 |
|
抗压强度/MPa |
≥30. O |
|
抗折强度/MPa |
>3.0 |
|
与碳钢黏结强度/MPa |
≥1.8 |
|
抗渗等级/MPa |
≥1. 6 |
|
吸水率/% |
≤4. O |
|
初凝时间∕min |
>45 |
|
终凝时间/h |
<12 |
14. 2. 5氯丁胶乳水泥砂浆原材料和制成品质量的试验方法应符合本规范附录B的有关规定。
14.3配 制
14. 3.1氯丁胶乳砂浆的配合比宜按本规范附录C表C.0.7选用。
14.3.2氯丁胶乳砂浆的配制应符合下列规定:
1应将水泥与细骨料拌和均匀,再加入氯丁胶乳搅拌均匀。
2当釆用机械拌合时,宜釆用立式复式搅拌机。
3拌制好的砂浆应有良好的和易性。
14. 3. 3拌制好的氯丁胶乳砂浆应在初凝前用完,出现凝胶、结块现象时不得使用。
14.3.4氯丁胶乳素浆配制时,先将胶乳添加至水泥中,并应搅拌至呈糊状。
14.4 施 工
14. 4.1氯丁胶乳砂浆施工前,应先在基层表面涂刷氯丁胶乳素浆一遍,并应均匀,干至不粘手时, 再铺抹氯丁胶乳砂浆。
14. 4. 2氯丁胶乳砂浆应边摊铺边压抹,宜一次抹平。出现气泡时应刺破压紧,表面应密实。
14. 4.3 当一次抹压厚度大于10 mm时,应分层施工。待前一层干至不粘手时,再进行下一层 施工。
14. 4. 4氯丁胶乳砂浆施工12 h〜24 h后,宜在面层上再涂刷一层氯丁胶乳水泥素浆。
14. 4. 5氯丁胶乳砂浆抹面层表干后应进行覆膜潮湿养护7 d,自然养护21 do
14.5质量检查
14.5.1氯丁胶乳水泥砂浆制成品的抗压强度、抗折强度和黏结强度应符合本规范表14.2.4的 规定。
14.5.2氯丁胶乳水泥砂浆整体面层采用目测或5倍〜10倍放大镜检查,其表面应平整,并应无裂 缝、脱皮和起砂现象。
14.5.3氯丁胶乳水泥砂浆整体面层与转角、结构件、人孔和接管处应结合严密、黏结牢固、接缝平 整,并应无渗漏和空鼓现象。
14.5.4氯丁胶乳水泥砂浆层的厚度应符合设计规定。
15.1 一般规定
15.1.1阴极保护工程应包括外加电流阴极保护和牺牲阳极保护。
15.1. 2阴极保护工程所选用的电源设备及材料应符合设计规定。
15.1.3阴极保护工程的施工应按设计规定进行。
15.1.4对阴极保护工程施工过程中造成的金属面和导线裸露处,应采用与设备、管道防腐蚀层相 适应的防腐蚀材料绝缘。
15.2设备和管道的防腐蚀绝缘
15. 2.1管道绝缘可采用绝缘法兰、绝缘接头或绝缘套管等方式,并应符合下列规定:
1绝缘法兰、绝缘接头和绝缘套管材料应符合设计规定。
2绝缘材料的绝缘电阻值不应小于2 MΩo
3管道采用钢套管时,套管间支撑应按设计规定进行电绝缘。套管两端应采用非导电材料 密封。
4绝缘接头应按设计规定进行安装。对安装在有爆炸危险和建筑物地上装置的绝缘接头,应 采用防爆火花间隙跨接。
15.2.2管道非焊接连接应采用电缆跨接方式,跨接电缆截面应符合设计规定,电缆与管道连接应 采用焊接。
15.2.3 地下设备回填前,应对损坏的防腐层进行修补。应对设备、外部管道和其他金属设备进行 电绝缘。
15.3 外加电流阴极保护系统施工
15.3.1外加电流阴极保护系统应包括直流电源、辅助阳极、参比电极和汇流电缆。
15.3.2外加电流阴极保护系统的直流电源应符合设计规定。
15.3.3阴极保护用电源设备安装前,应存放在室温为5 °C〜40 °C,相对湿度小于70%的室内。
15.3.4阴极保护电源和电气设备的安装应符合现行国家标准GB 50254《电气装置安装工程施工 及验收规范》的有关规定。
15. 3. 5控制站内电源和电气设备在受电前,插件及接线应正确。
15.3.6辅助阳极应包括钢铁阳极、高硅铸铁阳极、石墨阳极、金属氧化物阳极和柔性阳极。常用辅 助阳极材料性能应符合表15. 3. 6的规定。
表15.3.6常用辅助阳极材料性能
|
阳极材料 |
钢铁 |
高硅铸铁 |
石墨 |
金属氧化物 |
柔性 | |
|
密度/(g∕cm3) |
7.8 |
7 |
2.1 |
5.18 |
一 | |
|
容许电流密度/(A∕dm2) |
— |
0.1 |
0. 025 |
0.1 |
52(有填充料) 82(无填充料) | |
|
消耗率/[kg∕(A∙a)] |
无焦炭床 |
10 |
0. 2〜0. 3 |
1 |
0.002 |
一 |
|
有焦炭床 |
5 |
0.1 |
0. 2〜0. 5 |
— |
≤6×10~6 | |
|
最大施工温度/°C |
一 |
一 |
一 |
一 |
-18 | |
|
最小弯曲半径∕mm |
一 |
一 |
一 |
— |
150 | |
15.3.7石墨辅助阳极的石墨化程度不应小于81%,灰分不应大于0. 5%,并应经亚麻油或石蜡浸
渍处理。
15.3.8辅助阳极装置的安装应符合下列规定:
1辅助阳极地床的位置、布置、数量均应符合设计规定。
2当辅助阳极埋设的土壤接地电阻大于1 Q时,可采用加降阻剂或食盐进行处理。
3辅助阳极表面应洁净。
4 辅助阳极埋设顶端距地面不应小于1.0 m0
5辅助阳极装置的焊接应符合现行国家标准GB 50236《现场设备、工业管道焊接工程施工规 范》的有关规定。
6高硅铸铁和石墨辅助阳极、连接电缆和阳极汇流电缆的焊接接头应密封,引线长度不应小于
1.5 m,与阳极的接触电阻不应大于0.01 Q,拉脱力不应小于阳极自身质量的L 5倍。
7高硅铸铁和石墨辅助阳极焊接应牢固,焊接处应釆用环氧树脂密封绝缘。
15. 3.9柔性阳极的埋设应符合下列规定:
1保护管道用柔性阳极应与管道平行埋设。
2保护设备用柔性阳极应置于设备底部沥青砂层下,盘旋布置,电缆接头应留在设备外侧。
15.3.10辅助阳极的填埋应符合下列规定:
1辅助阳极埋设时,接头密封应完好,表面应无缝隙。
2辅助阳极埋设时,其阳极四周应填埋焦炭琦,并应符合下列规定:
D焦炭磧的含碳量应大于85% ,粒径宜小于15 mmo
2) 阳极四周的焦炭磧厚度不宜小于100 mmO
3) 焦炭颗粒和周围回填土应夯实。
4) 焦炭磧中不得混入泥土。
3焦炭磕回填料顶部应采用粒径为5 mm〜10 mm的砾石或粗砂填埋,其厚度不应小于 500 mm,表层回填土应高出原自然地面200 mmO
4柔性阳极埋设时,其填充料最大粒径宜小于3. 2 mm,厚度应大于45 mmo
5采用预包覆焦炭晴的柔性阳极可直接埋设。
15.3.11辅助阳极采用深井埋设时,应立式放置;多支阳极应并联连接,并应置于深井中间位置。
15.3.12汇流电缆连接应符合下列规定:
1汇流电缆长度应留有余量。
2汇流电缆和来自阴极保护间的阳极架空线或电缆引线宜用螺栓固定,导线连接应采用接线 端子。
15.4牺牲阳极阴极保护系统施工
15. 4.1常用牺牲阳极的电化学性能应符合表15. 4. 1的规定。
表15.4.1常用牺牲阳极的电化学性能
|
电化学性能 |
锌合金 高纯锌 |
镁合金 | ||
|
标准型 |
镁镒型 | |||
|
密度/(g∕cm3) |
7. 14 |
1.77 |
1.74 | |
|
开路电位(相对SCE)/V |
—1. 03 |
-1. 48 |
-1. 56 | |
|
理论电容量/(A∙h∕kg) |
820 |
2 210 |
2 200 | |
|
在海水中,在3 mA/cm2条件下 |
电流效率/% |
95 |
55 |
50 |
|
发生电容量/(A∙h∕kg) |
780 |
1 220 |
1 IOO | |
|
消耗率/[kg∕(A∙a)] |
11.88 |
7.2 |
8. O | |
|
在土壤中,0.03 mA/Cm2条件下 |
电流效率/% |
≥65 |
≥50 |
40 |
|
发生电容量/(A∙h∕kg) |
530 |
1 IlO |
880 | |
|
消耗率/[kg/ (A∙a)] |
17.25 |
≤7. 92 |
10. O | |
注:在以上土壤介质作阳极性能试验时,阳极周围应有填包料。
15.4.2牺牲阳极可釆用钻孔或大开挖方法施工,并宜立式埋设。
15.4. 3牺牲阳极使用前,表面应无氧化膜及油污,并应呈金属光泽。
15.4.4牺牲阳极埋设的深度、位置和间距,当设计无规定时应符合下列规定:
1牺牲阳极埋设深度应在冰冻线下,并不应小于1.0 mo
2 埋设位置应距设备、管道外壁3 m〜5 m,埋设间距应为2 m〜3 mo
3牺牲阳极连接电缆敷设时应留有余量,其埋设深度不应小于0. 7 m,并应在四周垫50 mm〜 100 mm厚细砂,上部应采取覆盖措施。
15.4.5牺牲阳极电缆可采用铝热焊直接焊接到设备或管道上,也可与测试桩的连接片相连。
15.4.6牺牲阳极连接电缆和阳极钢芯采用焊接连接时,应保留电缆绝缘外皮的长度不应小于 50 mm。焊接处和阳极端面应打磨,清洗后应采用环氧树脂进行防腐绝缘,其厚度不应小于3 mm,且 不得有任何金属裸露。
15.4.7牺牲阳极化学填包料应符合下列规定:
1 土壤中的牺牲阳极应使用化学填包料包裹,填包料的配制应符合现行国家标准GB/T 21448
・59・
《埋地钢质管道阴极保护技术规范》的有关规定。
2填包料的称重、混合包装宜在室内进行,并应符合下列规定:
D填包料宜干调振荡包装,且包装袋不得采用人造纤维织物。
2)填包料应调拌均匀,膨润土部分不得釆用黏土。
3阳极孔内填包料宜在现场装填,与周围土壤应振捣密实,阳极应处于填包料中间位置o 4阳极埋地后应进行注水,并应达到饱和。
15.4.8牺牲阳极的回路电流调节,可在管道与牺牲阳极接线柱间串入调节电阻。
15.5附属设施施工
15.5.1参比电极性能及施工应符合下列规定:
1 土壤中的参比电极可采用硫酸铜电极、锌电极和甘汞电极。
2参比电极的主要性能应符合表15.5.1的规定。
表15. 5.1参比电极的主要性能
|
参比电极特性 |
铜-硫酸铜 |
锌-硫酸锌 |
|
稳定性/mV |
+ 10 |
+ 30 |
|
工作电流密度/(μA∕cm2) |
5 |
5 |
3硫酸铜饱和溶液的配制及硫酸铜的纯度均应符合设计规定。
4参比电极的埋设位置应靠近设备和管道,并应符合设计规定。
15.5. 2测试桩施工应符合下列规定:
1测试桩应沿管道线路走向进行设置,并应按设计规定进行施工。
2测试桩标志应醒目,埋设应牢固稳定,周围环境应干燥。
3焊接引线时应将防腐层清除干净,引线应与管道焊接牢固,焊后进行防腐绝缘处理。
4引线的连接应在管道埋设前进行。
5测试用引线不得在管道的应力集中处焊接。
6汇流点连接电缆、均压电缆和管道电流测试电缆的连接点应设在测试桩的接线盒内。
7测试桩应高出地面0.4 m以上,其数量、规格、编号、标志和埋设位置应符合现行国家标准 GB/T 21448《埋地钢质管道阴极保护技术规范》的有关规定。
8测试桩相对位置应符合设计规定,并应有隐蔽工程记录。
15.5.3导线敷设应符合下列规定:
1导线敷设方式可采用直埋或架空。
2电缆与设备或管道的连接可采用双点焊接方式。
3电缆与阳极的连接接头不应受力。
15.5.4检查片安装应符合下列规定:
1检查片的材质应与被保护体的材质相同。检查片制作尺寸、重量和处理应符合现行行业标 准SY/T 0029《埋地钢质检查片应用技术规范》的有关规定。
2当设计对检查片的数量和埋设位置无规定时,每组检查片宜为12片,其中6片应与被保护 体联接,6片应处于自然腐蚀状态。
3检查片埋设深度应与设备和管道的底标高相同,且应距设备和管道外壁300 mmO
15.6系统调试
15. 6.1管线和设备投入运行前应检测下列项目:
1沿线土壤电阻率。
2管道自然电位。
3辅助阴极区的土壤电阻。
4辅助阴极接地电阻。
5钢管防腐层电阻。
6钢管绝缘接头的性能。
15.6.2系统调试项目应包括下列内容:
1电源设备的输出电流、电压。
2管道保护电流。
3管道保护电位。
15.6.3釆用外加电流阴极保护时,设备和管道的阴极保护电位应符合现行国家标准GB/T 21448 《埋地钢质管道阴极保护技术规范》的有关规定。
15.6.4调试后的保护电位应为极化稳定后的保护电位,其极化时间不应少于72 h。极化完成后, 通电点电位应满足保护电位的要求。
15.6.5当采用反电位法调试保护电位时,应先开启主机再开启辅机;停运时,应先关闭辅机再关闭 主机。被保护体和阳极电位应调至最大保护电位。
15.6.6正常投运应符合下列规定:
1相邻两站的阴极保护电位不应小于一0.85V。
2在满足最小保护电位一0.85 V的条件下,通电点电位不应超过最大保护电位值。
3系统连续平稳运行72 h后,方可投入正常运行。
15.7质量检查
15.7.1设备、管道与辅助阳极、牺牲阳极的电连接应牢固。
15.7.2与设备、管道连接的法兰、接头、套管的绝缘性能应符合设计规定,其测试方法应符合现行 国家标准GB/T 21448《埋地钢质管道阴极保护技术规范》的有关规定。
15. 7. 3辅助阳极焊接处绝缘后,应采用电火花检漏仪检查,不得有针孔。
16.0.1密闭设备和管道内部有限空间作业安全应符合现行国家标准GB 12942《涂装作业安全规 程 有限空间作业安全技术要求》的有关规定。
16.0.2防腐车间、设备和管道内部的防腐蚀施工应设置机械通风,其通风量和风速应符合现行国 家标准GB 7692《涂装作业安全规程 涂漆前处理工艺安全及其通风净化》的有关规定。
16.0.3涂装现场应杜绝火源,应配备消防器材,并应由专人管理。
16.0.4防腐蚀工程用材料在运输、贮存、施工及养护过程中,不得与酸、碱化学介质接触。易挥发 的可燃溶剂,应保存在密封的容器内,不得暴晒,并应与热源、火种和施工现场隔离。
16.0.5易燃、易爆区操作人员不得穿带钉鞋,不得穿非阻燃型化纤织物,不得携带火种。
16.0.6防腐蚀施工设备应设有静电接地。对承受压力的施工设备应设有安全装置和压力表,并应 进行定期校验。定期校验不合格的施工设备不得使用。
16. 0. 7从事防腐蚀工程的操作人员,应采取下列劳动保护措施:
1防腐蚀施工的作业人员应进行定期体检。
2个人安全防护用品的选用应符合现行国家标准GB/T 11651《个体防护装备选用规范》和 GB 7691《涂装作业安全规程 安全管理通则》的有关规定。
17环境保护技术要求
17. 0.1防腐蚀施工中产生的固体废物的处理应釆取防扬散、防流失或其他防止污染环境的措施, 并应堆放到现场指定的场所,并应及时清运出场。
17. 0.2防腐蚀施工中产生粉尘的场所应设封闭围挡,并应采取降尘处理措施。
17. 0.3 防腐蚀施工场所应按现行国家标准GB 12523《建筑施工场界环境噪声排放标准》和 GB 12524《建筑施工场界噪声测量方法》的有关规定制定降噪措施。
17. 0.4防腐蚀施工中产生的污水应经沉淀后方可排放,废弃的油料、化学溶剂、酸液、碱液应集中 处理,不得随意倾倒。
17.0.5施工现场严禁焚烧各类废弃物。
18. 0.1交工验收应在该项防腐蚀工程的全部工序完成后进行,并应办理交接手续。
18.0.2防腐蚀工程交接前,建设单位或监理单位应组织相关单位进行检查和验收,并应确认下列 内容:
1施工范围和内容应符合合同规定。
2工程质量应符合设计文件及本规范的规定。
18. 0. 3防腐蚀工程交接时,施工单位应向建设单位或总承包单位提交下列资料:
1基层表面处理检查记录。
2设计变更通知单、材料代用的技术文件及施工过程中对重大技术问题的处理记录。
3各种耐腐蚀材料的质量证明书、进场检(试)验报告及现场复验报告。
4防腐蚀衬里施工记录。
5防腐蚀施工工序质量控制表。
6防腐蚀层检测报告、测试数据。
7防腐蚀工程交接证书。
附录A原材料的质量指标
表A. 0.1碳砖的质量
|
项目 |
指标 |
|
灰分/% |
≤2 |
|
抗压强度/MPa |
>65 |
|
抗拉强度/MPa |
≥15 |
|
抗折强度/MPa |
≥20 |
|
体积密度/(g∕cm3) |
≥1. 6 |
表A. 0.2缩合磷酸铝的质量
|
项目 |
指标 |
|
外观 |
白色粉末 |
|
密度/(g∕c∏?) |
2. 3〜2. 4 |
|
粒度/目 |
≤140 |
|
缩合度 |
3〜9 |
|
含铁量/% |
≤0. 1 |
|
含水量/% |
≤0. 3 |
|
烧灼减量(800 °C,4 h)∕% |
≤1 |
表A. 0.3树脂类材料的耐腐蚀性能
|
介质名称 |
环氧类 材料 |
酚醛类 材料 |
不饱和聚酯类材料 |
乙烯基酯类 材料 |
糠醇糠醛型 咲喃类材料 | |||
|
双酚-A型 |
邻苯型 |
间苯型 |
二甲苯型 | |||||
|
硫酸/% |
≤θo耐 |
≤70耐 |
≤70耐 |
V50耐 |
≤50耐 |
≤70耐 |
≤70耐 |
≤60耐 |
|
盐酸/% |
≤31耐 |
耐 |
耐 |
≤20耐 |
W31耐 |
≤31耐 |
耐 |
W20耐 |
|
硝酸/% |
≤10尚耐 |
≤10尚耐 |
≤40耐 |
≤5耐 |
≤20耐 |
≤40耐 |
≤40耐 |
≤10耐 |
|
醋酸/% |
≤10耐 |
耐 |
≤40耐 |
≤30耐 |
≤40耐 |
≤40耐 |
≤40耐 |
≤20耐 |
|
铭酸/% |
≤10尚耐 |
≤20耐 |
≤20耐 |
W5耐 |
≤10耐 |
≤20耐 |
≤20耐 |
W5耐 |
|
氢氟酸/% |
≤5尚耐 |
≤40耐 |
≤40耐 |
≤20耐 |
≤30耐 |
≤30尚耐 |
≤30耐 |
≤20耐 |
表A. 0.3树脂类材料的耐腐蚀性能(续)
|
介质名称 |
环氧类 材料 |
酚醛类 材料 |
不饱和聚酯类材料 |
乙烯基酯类 材料 |
糠醇糠醛型 咲喃类材料 | |||
|
双酚-A型 |
邻苯型 |
间苯型 |
二甲苯型 | |||||
|
氢氧化钠 |
耐 |
不耐 |
尚耐 |
不耐 |
尚耐 |
尚耐 |
尚耐 |
尚耐 |
|
碳酸钠/% |
耐 |
尚耐 |
≤20耐 |
不耐 |
尚耐 |
耐 |
耐 |
耐 |
|
氨水 |
耐 |
不耐 |
不耐 |
不耐 |
不耐 |
不耐 |
尚耐 |
尚耐 |
|
尿素 |
耐 |
耐 |
耐 |
耐 |
耐 |
尚耐 |
耐 |
耐 |
|
氯化铉 |
耐 |
耐 |
耐 |
耐 |
耐 |
耐 |
耐 |
耐 |
|
硝酸镂 |
耐 |
耐 |
耐 |
耐 |
耐 |
耐 |
耐 |
耐 |
|
硫酸钠 |
耐 |
尚耐 |
尚耐 |
尚耐 |
尚耐 |
耐 |
耐 |
耐 |
|
丙酮 |
尚耐 |
不耐 |
不耐 |
不耐 |
不耐 |
不耐 |
不耐 |
不耐 |
|
乙醇 |
耐 |
尚耐 |
尚耐 |
不耐 |
尚耐 |
尚耐 |
尚耐 |
尚耐 |
|
汽油 |
耐 |
耐 |
耐 |
耐 |
耐 |
尚耐 |
耐 |
耐 |
|
苯 |
耐 |
耐 |
尚耐 |
不耐 |
尚耐 |
不耐 |
尚耐 |
耐 |
|
5%硫酸和 5%氢氧化钠 交替作用 |
耐 |
不耐 |
尚耐 |
不耐 |
尚耐 |
耐 |
耐 |
耐 |
表A.0.4酚醛树脂的质量
|
项目 |
指标 | |
|
游离酚含量/% |
<10 | |
|
游离醛含量/% |
<2 | |
|
含水率/% |
<12 | |
|
黏度(落球黏度计,25 °C)∕s |
45 〜65 | |
|
储存期/月 |
20 OC |
1 |
|
冷藏或加入10%的苯甲醇 |
3 | |
表A.0.5环氧树脂固化剂的质量
|
项目 |
乙二胺 |
590# |
间苯二甲胺 |
T31 |
|
外观 |
有刺激性 无色液体 |
黄至棕褐色 高黏稠液体 |
无色至浅黄色 透明液体 |
透明棕色 黏状液体 |
|
沸点/C |
116 |
一 |
一 |
— |
|
熔点/C |
8. 5 |
一 |
12 °C(凝固点) |
一 |
表A. 0.5环氧树脂固化剂的质量(续)
|
项目 |
乙二胺 |
590# |
间苯二甲胺 |
T31 |
|
分子量 |
60 |
一 |
136 |
一 |
|
密度(25 °C)∕(g∕cm3) |
— |
一 |
一 |
1.08—1.09 |
|
胺值(KoH)/ (mg∕g) |
— |
一 |
一 |
460〜480 |
|
软化点/°C |
— |
≤20 |
一 |
一 |
|
灰分/% |
— |
一 |
0. 1 〜0. 5 |
一 |
|
黏度/(Pa∙s) |
一 |
一 |
0.006 8 |
一 |
注:L 590#系环氧丙烷苯甲醍与苯二胺的衍生物;
2. 间苯二甲胺系芳香胺类低毒型固化剂,可室温方便固化;
3. T31系苯酚、甲醛改性乙二胺类低毒型固化剂。
表A. 0.6 酚醛树脂固化剂质量
|
名称 |
项目 |
指标 |
|
NL固化剂 |
外观 |
暗灰色黏状液体 |
|
密度/(g∕cm3) |
1. 16 | |
|
酸度(以H2SO4计)/% |
18 + 2 | |
|
游离酸/% |
<6 | |
|
黏度(25 °C,涂-4杯)∕s |
20 〜30 | |
|
苯磺酰氯固化剂 |
外观 |
无色透明液体 |
|
熔点/°C |
14. 5 | |
|
纯度/% |
≥95 | |
|
水分/% |
<2 | |
|
游离酸/% |
<1 |
表A.0.7填料的质量
|
项目 |
指标 |
|
耐酸度/% |
≥95 |
|
含水率/% |
≤0. 5 |
|
细度 |
0. 15 mm筛孔筛余量不应大于5% ;0. 088 mm筛孔筛余量应为15%〜30% |
注:钾水玻璃胶泥粉的细度要求0. 45mm筛孔筛余量不应大于5%,0. 16 mm筛孔筛余量应为30%〜50%。
表A. 0.8软聚氯乙烯板的质量
|
项目 |
指标 |
|
相对密度/(g∕cm3) |
1.38 〜1.60 |
|
拉伸强度(纵、横向)∕MPa |
≥14 |
|
断裂伸长率(纵、横向)/% |
≥200 |
|
硬度(邵氏A)/度 |
75 〜85 |
|
加热损失率/% |
≤10 |
|
腐蚀度[(40 + l)⅝氢氧化钠]∕(g∕m2) |
÷1. 0之间 |
表A. 0.9四氟乙烯-乙烯共聚物板的质量
|
项目 |
指标 |
|
外观 |
表面自然色,质地均匀,不允许夹带任何杂质 |
|
拉伸强度/MPa |
40 〜50 |
|
使用温度/°C |
≤140 |
表A. 0.10聚偏氟乙烯板的质量
|
项目 |
指标 |
|
外观 |
表面自然色,质地均匀,不允许夹带任何杂质 |
|
拉伸强度/MPa |
39 〜59 |
|
使用温度/°C |
≤120 |
表A. 0.11 氯丁胶黏剂的质量
|
项目 |
指标 |
|
外观 |
淡黄色黏稠液体 |
|
固体含量/% |
≥25 |
|
黏度(25 °C)/(Pa-S) |
2〜3 |
|
使用温度/°C |
≤110 |
表A. 0.12氟塑料板过渡层用胶黏剂的质量
|
项目 |
指标 |
|
外观 |
自然色 |
|
黏度(25°C)∕(Pa∙s) |
2〜4 |
|
使用温度/°C |
150 |
表A. 0.13氯丁胶乳的质量
|
项目 |
指标 |
|
外观 |
乳白色无沉淀的均匀乳液 |
|
密度/(g∕cm3) |
≥1. 05 |
|
黏度 / (mPa∙s) |
Io 〜55 |
|
固体含量/% |
>47 |
|
PH值 |
≥9 |
|
储存稳定性 |
5 °C〜40 °C,3个月无明显变化 |
注:用上述质量的氯丁胶乳配制的砂浆不需另加助剂。
附录B原材料和制成品的试验方法
B.1 一般规定
B. 1.1试验方法按现行国家标准执行,无国家标准时应按本规范试验方法执行。
B. 1. 2原材料经试验结果不合格者,应加倍取样进行重复试验;仍不合格者,则不得使用。
B.2主要原材料取样法
B. 2.1耐酸砖、耐酸保温砖和铸石板的取样应按现行国家标准GB/T 8488《耐酸砖》、现行行业标 准JC/T 424《耐酸耐温砖》和JC/T 514. 1 «铸石制品 铸石板》的有关规定执行。
B. 2. 2粉料应从每批号中,随机抽样3袋,每袋不少于1 OOO g,可混合后检测;当该批号小于等于3 袋时,随机抽样1袋,样品量不少于3 000 go
B.2.3水玻璃类和树脂类原材料应从每批号桶装料中,随机抽样各3桶,每桶取样不少于Iooo g, 可混合后检测;当该批号小于或等于3桶时,随机抽样1桶,样品量不少于3 000 go
B. 3原材料的试验方法
B.3.1块材质量的测定应符合下列规定:
1耐酸砖、耐酸耐温砖、粉料的耐酸率测定应按现行国家标准GB/T 8488《耐酸砖》的有关规 定执行;铸石板耐酸率测定应按现行行业标准JC/T 258《铸石制品性能试验方法 耐酸、碱性能试 验》的有关规定执行。
2 耐酸砖、耐酸耐温砖的吸水率测定应按现行国家标准GB/T 8488《耐酸砖》的有关规定 执行。
3耐酸砖和耐酸耐温砖热稳定性的测定应按现行国家标准GB/T 8488《耐酸砖》的有关规定 执行。铸石板热稳定性的测定应按现行行业标准JC/T 261《铸石制品性能试验方法 耐急冷急热 性能试验》的有关规定执行。
4碳砖的抗折强度、抗压强度和抗拉强度等的测定应按现行行业标准JB/T 8133. 7《电炭制品 物理化学性能试验方法 抗折强度》、JB/T 8133. 8《电炭制品物理化学性能试验方法 抗压强度》、 JB/T 8133. 9《电炭制品物理化学性能试验方法 抗拉强度》、JB/T 8133. 14《电炭制品物理化学性 能试验方法 体积密度》和JB/T 8133. 17《电炭制品物理化学性能试验方法 灰分含量》的有关规 定执行。
B. 3. 2粉料的含水率、细度和耐酸粉料体积安定性、亲水系数的测定应按现行国家标准GB 50212 《建筑防腐蚀工程施工及验收规范》的有关规定执行。
B.3.3水玻璃类材料质量的测定应符合下列规定:
1钠水玻璃的模数、氧化钠和二氧化硅含量的测定,模数的计算均应按现行国家标准 GB/T 4209《工业硅酸钠》的有关规定执行。钠水玻璃密度的测定应按现行国家标准GB 50212《建 筑防腐蚀工程施工及验收规范》附录B的有关规定执行。
2钾水玻璃模数、二氧化硅、密度、混合料的含水率和细度的测定应按现行国家标准GB 50212 《建筑防腐蚀工程施工及验收规范》的有关规定执行。氧化钾含量的测定应按现行国家标准 GB/T 176《水泥化学分析方法》的有关规定执行。
B.3.4树脂类材料质量的测定应符合下列规定:
1双酚-A型环氧树脂环氧当量和软化点的测定应按现行国家标准GB/T 13657《双酚-A型 环氧树脂》的有关规定执行。
2不饱和聚酯树脂和乙烯基酯树脂的酸值、黏度、固体含量和25 °C凝胶时间的测定应符合下 列规定:
D酸值的测定应按现行国家标准GB/T 2895《塑料 聚酯树脂 部分酸值和总酸值的测定》 的有关规定执行。
2)黏度、固体含量和25 °C凝胶时间的测定应按现行国家标准GB/T 7193《不饱和聚酯树脂 试验方法》的有关规定执行。
3咲喃树脂的固体含量和黏度的测定应按现行国家标准GB 50212《建筑防腐蚀工程施工及验 收规范》的有关规定执行。
4酚醛树脂的游离酚含量、游离醛含量、含水率和黏度测定应按现行国家标准GB 50212《建筑 防腐蚀工程施工及验收规范》的有关规定执行。
B.3.5硫化橡胶板的物理性能的测定应符合下列规定:
1黏合强度的测定,硬质胶板应按现行国家标准GB/T 11211《硫化橡胶或热塑性橡胶与硬质 板材粘合强度的测定 二板法》的有关规定执行;软质胶板应按现行国家标准GB/T 7760《硫化橡胶 或热塑性橡胶与金属粘合强度的测定90。剥离法》的有关规定执行。
2拉伸强度的测定,硬质胶板应按现行行业标准HG/T 3849《硬质橡胶 拉伸强度和拉断伸 长率的测定》的有关规定执行;软质胶板应按现行国家标准GB/T 528《硫化橡胶或热塑性橡胶拉伸 应力应变性能的测定》的有关规定执行。
3硬度的测定应按现行国家标准GB/T 531. 1 «硫化橡胶或热塑性橡胶压入硬度试验方法 第1部分:邵氏硬度计法(邵尔硬度)》的有关规定执行。
B.3.6塑料衬里用聚四氟乙烯、乙烯-四氟乙烯共聚物、聚偏氟乙烯、聚丙烯、聚乙烯和软聚氯乙烯 拉伸强度的测定,管材应按现行国家标准GB/T 8804. 1 «热塑性塑料管材 拉伸性能测定 第1部 分:试验方法总则》的有关规定执行;板材应按现行国家标准GB/T 1040. 1《塑料 拉伸性能的测定 第1部分:总则》的有关规定执行。
B.3.7涂料的漆膜颜色、外观、黏度、干燥时间和附着力测定应符合下列规定:
1漆膜颜色的测定按现行国家标准GB/T 1722《清漆、清油及稀释剂颜色测定法》的有关规定 执行。
2漆膜外观的测定按现行国家标准GB/T 1721《清漆、清油及稀释剂外观和透明度测定法》的
有关规定执行O
3黏度的测定按现行国家标准GB/T 1723《漆膜黏度测定法》的有关规定执行。
4干燥时间的测定按现行国家标准GB/T 1728《漆膜、腻子膜干燥时间测定法》的有关规定 执行。
5附着力的测定应按现行国家标准GB 1720 «漆膜附着力测定法》和GB/T 5210 ≪色漆和清漆 拉开法附着力试验》的有关规定执行。
B.3.8玻璃鳞片的中碱玻璃原料的成分和玻璃鳞片的外观、厚度、片径、含水率、耐酸度的测定应按 现行国家标准GB 50212《建筑防腐蚀工程施工及验收规范》的有关规定执行。
B.3.9热喷涂线材质量的测定应按现行国家标准GB/T 12608 ≪热喷涂 火焰和电弧喷涂用线材、 棒材和芯材分类和供货技术条件》的有关规定执行。
B. 3.10聚脈衬里原材料的质量测定应按现行行业标准HG/T 3831《喷涂聚脈防护材料》的有关规 定执行。
B. 3.11聚合物胶乳的质量测定应按现行国家标准GB 50212《建筑防腐蚀工程施工及验收规范》的 有关规定执行。
B. 4制成品的试验方法
B. 4.1水玻璃胶泥的性能测定应按现行国家标准GB 50212《建筑防腐蚀工程施工及验收规范》的 有关规定执行。
B. 4.2树脂胶泥的性能测定应符合下列规定:
1树脂胶泥的抗拉强度的测定。
采用8字型金属试模进行(图B. 4. 2-1) O先将8字型试模擦拭干净,薄涂一层脱模剂,再将树脂 胶泥或树脂砂浆装入模内,在跳桌上振动25次,刮去多余的胶泥或砂浆,整平表面,在温度(23 士 2) °C和湿度(50±5)⅝的条件下养护14 d后,测定抗拉强度。将8字型试样放入夹具内 (图B. 4. 2 - 2),开动拉力机,速度为10 mm∕min,至试样断裂,记录拉力机读数,抗拉强度以MPa 表TK o
图B. 4. 2-1 8字型金属试模

图B. 4. 2-2 8字型试样抗拉强度的夹具
树脂胶泥的抗拉强度应按式(B. 4. 2)计算:
R拉=P/F .......................................... (B. 4. 2)
式中:
R拉——树脂胶泥的抗拉强度(MPa);
P——破坏荷载(N);
F——窄腰处截面积(Inm2) o
试验以3个试块为一组,取其平均值为抗拉强度。若其中1个试块的试验结果与平均值相差 15%时,应取其余2块平均值作为最后结果。
2树脂胶泥抗压强度、黏结强度的测定应按现行国家标准GB 50212 «建筑防腐蚀工程施工及 验收规范》的有关规定执行。
B.4.3纤维增强塑料制成品性能的测定应符合下列规定:
1拉伸强度的测定应按现行国家标准GB/T 1447《纤维增强塑料拉伸性能试验方法》的有关 规定执行。
2弯曲强度的测定应按现行国家标准GB/T 1449《纤维增强塑料弯曲性能试验方法》的有关 规定执行。
B. 4.4 玻璃鳞片胶泥的测定应符合下列规定:
1拉伸强度的测定应按现行国家标准GB/T 1447《纤维增强塑料拉伸性能试验方法》的有关 规定执行。
2弯曲强度的测定应按现行国家标准GB/T 1449《纤维增强塑料弯曲性能试验方法》的有关 规定执行。
3冲击强度的测定应按现行国家标准GB/T 1451《玻璃纤维增强塑料简支梁式冲击韧性试验 方法》的有关规定执行。
4黏结强度的测定应符合下列规定:
D拉剪法(拉伸剪切法)应按现行国家标准GB/T 7124《胶粘剂 拉伸剪切强度的测定(刚性 材料对刚性材料)》的有关规定,制作钢-钢剪切试件,每组5个。先对钢片进行机械打磨 处理,再将配制好的底涂料均匀地涂在待粘表面上,最后将钢片叠合搭接,搭接长度为 12. 5 mm;黏结面积312. 5 mm2 O试样在室温25 °C下养护3 do
2)拉开法应按现行国家标准GB/T 5210《色漆和清漆拉开法附着力试验》的有关规定执行。
5硬度的测定应按现行国家标准GB/T 3854《增强塑料巴柯尔硬度试验方法》的有关规定 执行。
6耐磨性的测定应按现行国家标准GB/T 1768《色漆和清漆 耐磨性的测定 旋转橡胶砂轮 法》的有关规定执行。
7线膨胀系数的测定应按现行国家标准GB/T 2572《纤维增强塑料平均线膨胀系数试验方 法》的有关规定执行。
8冷热交替试验应先制作3块150 mm×75 mm×5 mm碳钢板,经表面处理后,按涂覆工艺做 好试板(单面),在室温25 °C下养护3 d;再将试板放在150 OC (VEGF-2型为130 °C)的恒温箱内,1 h 后取出并立即放入25 °C自来水中冷却10 min,取出后用干布擦干,再次放入恒温箱内循环试验,并 交替进行10次。
B. 4. 5喷涂聚脈衬里的物理性能的测定应符合下列规定:
1聚腿衬里涂层的质量测定应按现行行业标准HG/T 3831 «喷涂聚脈防护材料》的有关规定 执行。
2聚腿衬里涂层黏结力的测定应符合下列规定:
D用锐刀在试样涂层上切取一个V型切口,刃口应切透涂层至金属表面,如从切口剥开的距 离小于6 mm,则认为黏结力合格;不合格时,釆用拔起法测其黏结力,奁8 MPa时为合格; 仍不合格时,则用剥离强度法检测,其剥离强度245 N∕cm2为合格。
2)测试部位由施工方和用户共同确定。
B. 4. 6氯丁胶乳水泥砂浆性能的测定应按现行国家标准GB 50212《建筑防腐蚀工程施工及验收规 范》的有关规定执行。
附录C施工配合比
表C. 0.1钠水玻璃胶泥的施工配合比
|
材料名称 |
配合比(质量比) | |||
|
普通型 |
密实型 | |||
|
配方一 |
配方二 | |||
|
钠水玻璃 |
100 |
100 |
100 | |
|
氟硅酸钠 |
15 〜18 |
一 |
15 〜18 | |
|
填料 |
铸石粉 |
250〜270 |
一 |
250〜270 |
|
瓷粉 |
(200〜250) |
一 |
— | |
|
石英粉:铸石粉(7:3) |
(200〜250) |
一 |
一 | |
|
石墨粉 |
(100—150) |
一 |
一 | |
|
IGl耐酸灰 |
— |
240〜250 |
一 | |
|
糠醇单体 |
一 |
一 |
3〜5 | |
注:1.表中氟硅酸钠用量是按水玻璃中氧化钠含量的变动而调整的,氟硅酸钠纯度按100%计;
2.配方一的填料可任选一种使用。
表C.O. 2钾水玻璃胶泥的施工配合比
|
材料名称 |
配合比(质量比) |
|
钾水玻璃 |
100 |
|
钾水玻璃胶泥粉(最大粒径0.45 mm) |
240〜250 |
注:1.钾水玻璃胶泥粉已含有钾水玻璃的固化剂和其他外加剂;
2.普通型钾水玻璃胶泥应釆用普通型的胶泥粉,密实型钾水玻璃胶泥应采用密实型的胶泥粉。
表C. 0.3环氧树脂胶泥的施工配合比
|
材料名称 |
配合比(质量比) | |
|
封底料 |
胶泥 | |
|
环氧树脂 EP 01451-310(E-44) |
100 |
100 |
|
稀释剂 |
40 〜60 |
10 〜20 |
表C. 0.3 环氧树脂胶泥的施工配合比(续)
|
材料名称 |
配合比(质量比) | ||
|
封底料 |
胶泥 | ||
|
固化剂 |
低毒固化剂 |
15 〜20 |
15 〜20 |
|
乙二胺 |
(6 〜8) |
(6—8) | |
|
增塑剂 |
邻苯二甲酸二丁酯 |
—— |
10 |
|
填料 |
石英粉(或瓷粉) |
— |
150〜250 |
|
铸石粉 |
—— |
(180〜250) | |
|
硫酸®!粉 |
—— |
(180〜250) | |
|
石墨粉 |
—— |
(IOO〜160) | |
注:1.除低毒固化剂和乙二胺外,还可用其他胺类固化剂,应优先选用低毒固化剂,用量应按供货商提供的比例或经
试验确定;
2. 当釆用乙二胺时,为降低毒性可将配合比所用乙二胺预先配制成乙二胺丙酮溶液(lɑ);
3. 当使用活性稀释剂时,固化剂的用量应适当增加,其配合比应按供货商提供的比例或经试验确定;
4. 固化剂和填料可任选一种使用;
5. 本表环氧树脂以EP 01451-310(E-44)举例。
表C. 0.4乙烯基酯树脂和不饱和聚酯树脂胶泥的施工配合比
|
材料名称 |
配合比(质量比) | ||
|
封底料 |
胶泥 | ||
|
乙烯基醋树脂或不饱和聚酯树脂 |
100 |
100 | |
|
稀释剂 |
苯乙烯 |
0〜15 |
— |
|
固化剂 |
引发剂 |
2〜4 |
2〜4 |
|
促进剂 |
0. 5—4 |
0. 5〜4 | |
|
填料 |
石英粉 |
— |
200〜250 |
|
铸石粉 |
— |
(250〜300) | |
|
硫酸钥粉 |
一 |
(250〜350) | |
注:1.表中括号内的数据用于耐含氟类介质工程;
2.过氧化二苯甲酰二丁酯糊引发剂与N,N-二甲基苯胺苯乙烯液促进剂配套;过氧化甲乙酮二甲酯溶液、过氧
化环己酮二丁酯糊引发剂与钻盐(含钻0. 6%)的苯乙烯液促进剂配套;
3.填料可任选一种使用。
表C. 0.5咲喃树脂胶泥的施工配合比
|
材料名称 |
配合比(质量比) | |||
|
封底料 |
胶泥 | |||
|
糠醇糠醛树脂 |
同环氧树脂、乙烯基酯树 脂或不饱和聚酯树脂封 底料 |
100 |
一 | |
|
糠酮糠醛树脂 |
— |
100 | ||
|
固化剂 |
苯磺酸型 |
一 |
12 〜18 | |
|
增塑剂 |
亚磷酸三苯酯(液体) |
一 |
10 | |
|
填料 |
石英粉(或瓷粉) |
— |
130〜200 | |
|
石英粉:铸石粉(9:1或8:2) |
一 |
(130—180) | ||
|
硫酸®!粉 |
一 |
(180〜220) | ||
|
糠醇糠醛树脂胶泥粉 |
350〜400 |
一 | ||
注:1.糠醇糠醛树脂胶泥粉内已含有酸性固化剂;
2.糠酮糠醛树脂填料可任选一种。
表C. 0.6酚醛树脂胶泥的施工配合比
|
材料名称 |
配合比(质量比) | |||
|
封底料 |
胶泥 | |||
|
1 |
2 | |||
|
酚醛树脂 |
同环氧树脂、乙烯基酯树 脂或不饱和聚酯树脂封 底料 |
100 |
100 | |
|
稀释剂 |
无水乙醇 |
一 |
。〜5 | |
|
固化剂 |
低毒酸性固化剂 |
6〜10 |
6〜10 | |
|
苯磺酰氯 |
(8—10) |
(8—10) | ||
|
填料 |
石英粉 |
150〜200 |
150〜200 | |
|
瓷粉 |
(150〜200) |
(150〜200) | ||
|
铸石粉 |
(180—230) |
(180〜230) | ||
|
石英粉:铸石粉(8:2) |
(150〜200) |
一 | ||
|
硫酸®!粉 |
(180〜220) |
一 | ||
|
石墨粉 |
(180〜230) |
(90〜120) | ||
注:固化剂和填料可任选一种使用。
表C. 0.7 氯丁胶乳水泥砂浆的配合比
|
材料名称 |
配合比(质量比) |
|
硅酸盐水泥或普通硅酸盐水泥 |
100 |
|
砂子 |
150〜250 |
|
氯丁胶乳 |
45 〜60 |
|
水 |
适量 |
注:应根据施工现场条件配制氯丁胶乳砂浆,水灰比宜经试验确定。
附录D水玻璃模数和密度的调整方法
D.1模数调整法
D.1.1水玻璃模数<2.6时,应进行模数调整。调整时,将两种模数的水玻璃在常温下相混合,并 不断搅拌直至均匀。
加入高模数的水玻璃质量按式(D. 1.1)计算:
G = (M2yxG X ⅛................................. L 1)
M-M2 N
式中:
G--加入高模数水玻璃的质量(g);
GI--低模数水玻璃的质量(g);
M—加入高模数水玻璃的模数;
Ml—— 低模数水玻璃的模数;
M2——要求的水玻璃模数;
NI——低模数水玻璃的氧化钠含量(%);
N——高模数水玻璃的氧化钠含量(%)。
D.1.2水玻璃模数>2.9时,可加入低模数的水玻璃进行调整。调整方法同D.l.lo
D.2密度调整法
D. 2.1水玻璃密度过小时,可加热脱水,进行调整。
D. 2.2水玻璃密度过大时,可在常温下加水,进行调整。
附录E涂料使用量的估算
E. 0.1涂料涂刷面积和漆膜厚度对照可参照表E.0.1o
表E. 0.1每Io(M) cm3 (100%固体含量)涂料涂刷面积和漆膜厚度对照
|
漆膜厚度∕pιm |
200 |
150 |
100 |
80 |
50 |
40 |
33.3 |
25 |
20 |
16.7 |
14. 3 |
12.5 |
11. 1 |
10 |
|
涂刷面积/m? |
5 |
6. 67 |
10 |
12. 5 |
20 |
25 |
30 |
40 |
50 |
60 |
70 |
80 |
90 |
100 |
E.0.2涂料使用量估算公式。
涂料的使用量可按式(E. 0. 2)进行计算:
G= ............................................. (E.0.2)
m
式中:
G~一涂料的计算使用量(g);
a--道漆膜厚度顷m);
P——涂料的密度(g∕cm3);
A——涂刷面积(m2);
α——涂装道数(道);
m——涂刷固体的含量(%)。
E. 0.3涂料实际使用量
在涂装施工过程中,涂装方法、被涂物表面的粗糙度、涂装损失等因素对涂料的实际使用量影响
较大,因此,计算使用量有一定的误差,一般取计算值的1. 5倍〜L 8倍作为实际使用量的估算值。
本标准用词说明
1为了便于在执行本规范条文时区别对待,对要求严格程度不同的用词说明如下:
1) 表示很严格,非这样做不可的用词:
正面词采用“必须”,反面词采用“严禁”。
2) 表示严格,在正常情况下均应这样做的用词:
正面词采用“应",反面词采用“不应”或“不得”。
3) 表示允许稍有选择,在条件许可时首先应这样做的用词: 正面词采用“宜”,反面词采用“不宜”。
4) 表示有选择,在一定条件下可以这样做的用词,釆用“可”。
2条文中指明应按其他有关标准、规范执行的写法为“应符合……的规定”或“应按 执行
引用标准名录
[1:建筑防腐蚀工程施工及验收规范GB 50212
[2] 工业金属管道工程施工规范GB 50235
[3] 现场设备、工业管道焊接工程施工规范GB 50236
[4] 电气装置安装工程低压电器施工及验收规范GB 50254
[5] 乙烯基酯树脂防腐蚀工程技术规范GB/T 50590
[6] 石油化工非金属管道工程施工质量验收规范GB 50690
[7] 通用硅酸盐水泥GB 175—2007/XG2
[8] 水泥化学分析方法GB/T 176
[9] 硫化橡胶或热塑性橡胶拉伸应力应变性能的测定GB/T 528
口0]硫化橡胶或热塑性橡胶 压入硬度试验方法 第1部分:邵氏硬度计法(邵尔硬度) GB/T 531. 1
[∏]塑料 拉伸性能的测定 第1部分:总则 GB/T 1040. 1
[12] 纤维增强塑料拉伸性能试验方法GB/T 1447
[13] 纤维增强塑料弯曲性能试验方法GB/T 1449
[14] 纤维增强塑料简支梁式冲击韧性试验方法GB/T 1451
[15] 铅及铅镣合金板GB/T 1470
[16] 漆膜附着力测定法GB 1720
[17] 清漆、清油及稀释剂外观和透明度测定法GB/T 1721
[18] 清漆、清油及稀释剂颜色测定法GB/T 1722
[19] 涂料黏度测定法GB/T 1723
[20] 漆膜、腻子膜干燥时间测定法GB/T 1728
[21] 色漆和清漆耐磨性的测定旋转橡胶砂轮法GB/T 1768
[22] 塑料和硬橡胶 使用硬度计测定压痕硬度(邵氏硬度)GB/T 2411
[23] 纤维增强塑料平均线膨胀系数试验方法GB/T 2572
[24] 纤维增强塑料树脂不可溶分含量试验方法GB/T 2576
[25] 纤维增强塑料树脂含量试验方法GB/T 2577
[26] 塑料聚酯树脂部分酸值和总酸值的测定GB/T 2895
[27] 橡胶物理试验方法试样制备和调节通用程序GB/T 2941
[28] 纤维增强塑料巴柯尔硬度试验方法GB/T 3854
[29] 工业硅酸钠 GB/T 4209
[30] 磁性基体上非磁性覆盖层覆盖层厚度测量磁性法GB/T 4956
[31] 色漆和清漆拉开法附着力试验GB/T 5210
[32] 胶黏剂拉伸剪切强度的测定(刚性材料对刚性材料)GB/T 7124
[33] 不饱和聚酯树脂试验方法 GB/T 7193
[34] 涂装作业安全规程安全管理通则GB 7691
[35] 涂装作业安全规程涂漆前处理工艺安全及其通风净化GB 7692
[36] 硫化橡胶或热塑性橡胶与硬质板材粘合强度的测定90°剥离法 GB/T 7760
[37] 纤维增强塑料用液体不饱和聚脂树脂GB/T 8237
[38] 耐酸砖 GB/T 8488
[39] 热塑性塑料管材 拉伸性能测定 第1部分:试验方法总则 GB/T 8804. 1
[40] 涂覆涂料前钢材表面处理 表面清洁度的目视评定 第1部分:未涂覆过的钢材表面和 全面清除原有涂层后的钢材表面的锈蚀等级和处理等级 GB/T 8923. 1
[4口热喷涂金属和其他无机覆盖层锌、铝及其合金GB/T 9793
[42] 硫化橡胶或热塑性橡胶 与金属粘合强度的测定二板法 GB/T 11211
[43] 个体防护装备选用规范GB/T 11651
[44] 建筑施工场界噪声限值GB 12523
[45] 建筑施工场界噪声测量方法GB 12524
[46] 热喷涂火焰和电弧喷涂用线材、棒材和芯材分类和供货技术条件GB/T 12608
[47] 涂装作业安全规程有限空间作业安全技术要求GB 12942
[48] 涂覆涂料前钢材表面处理 喷射清理后的钢材表面粗糙度特性 第1部分:用于评定喷 射清理后钢材表面粗糙度的ISO表面粗糙度比较样块的技术要求和定义 GB/T 13288. 1
[49] 色漆和清漆漆膜厚度的测定GB/T 13452. 2
[50] 双酚-A型环氧树脂 GB/T 13657
[51] 橡胶衬里 第1部分:设备防腐衬里 GB/T 18241. 1
[52] 涂覆涂料前钢材表面处理 表面清洁度的评定试验 第5部分:涂覆涂料前钢材表面的 氯化物测定(离子探测管法)GB/T 18570. 5
[53] 热喷涂 热喷涂设备的验收检查 GB/T 20019
[54] 埋地钢质管道阴极保护技术规范GB/T 21448
[55] 工业氟硅酸钠 GB 23936
[56] 醇酸树脂涂料GB/T 25251
[57] 酚醛树脂涂料GB/T 25253
[58] 溶剂型丙烯酸树脂涂料GB/T 25264
[59] 铸石制品性能试验方法 耐酸、碱性能试验JC/T 258
[60] 铸石制品性能试验方法耐急冷急热性能试验JC/T261
[61] 耐酸耐温砖 JC/T 424
[62] 铸石制品铸石板JC/T 514. 1
[63] 玻璃纤维工业用玻璃球JC 935
[64] 普通混凝土用砂、石质量及检验方法标准JGJ 52
[65] 喷涂聚腿防水工程技术规程JGJ/T 200
抗折强度 抗压强度 抗拉强度 体积密度 灰分含量
[66] 电炭制品物理化学性能试验方法
JB/T 8133. 7
JB/T 8133. 8
JB/T 8133. 9
JB/T 8133. 14
JB/T 8133. 17
[67] 电炭制品物理化学性能试验方法
[68] 电炭制品物理化学性能试验方法
[69] 电炭制品物理化学性能试验方法
[70] 电炭制品物理化学性能试验方法
[7口石油化工设备和管道涂料防腐蚀设计规范SH/T 3022
[72] 埋地钢质检查片应用技术规范SY/T 0029
[73] 聚四氟乙烯板QB/T 3625
[74] 咲喃树脂防腐蚀工程技术规程CECS 01
[75] 钾水玻璃防腐蚀工程技术规程CECS 116
[76] 溶剂型聚氨酯涂料(双组分)HG/T 2454
[77] 中碱玻璃鳞片HG/T 2641
[78] 铝粉有机硅烘干耐热漆(双组分)HG/T 3362
[79] 富锌底漆 HG/T 3668
[80] 金属网聚四氟乙烯复合管和管件 HG/T 3705
[81] 交联型氟树脂涂料HG/T 3792
[82] 热熔型氟树脂(PVDF)涂料HG/T 3793
[83] 喷涂聚腿防护材料HG/T 3831
[84] 硬质橡胶拉伸强度和拉断伸长率的测定HG/T 3849
[85] 塑料衬里设备通用技术条件HG/T 4088
[86] 塑料衬里设备水压试验方法HG/T 4089
[87] 塑料衬里设备电火花试验方法HG/T 4090
[88] 喷涂型聚服防护材料涂装工程技术规范HG/T 20273
[89] 衬塑(PP、PE、PVC)钢管和管件 HG 20538
[90] 塑料衬里 HG 20640
[91] 衬里钢壳设计技术规定HG/T 20678
中华人民共和国化工行业标准
化工设备、管道防腐蚀工程 施工及验收规范
HG/T 20229—2017
条文说明
修订说明
《化工设备、管道防腐蚀工程施工及验收规范MHG/T 20229—2017),经工业和信息化部于 2017年4月12日以第14号公告批准颁布。
本规范是在HGJ 229《工业设备、管道防腐蚀工程施工及验收规范》的基础上修订而成,其主编 单位是中国化学工程第二建设公司,参编单位是中国石油化工总公司第四建设公司,主要起草人是: 亟画、沈昌隆、I冯祥云|、庸祠、刘世芳。
本规范修订过程中,编制组进行了广泛的调查研究,认真总结和吸收了我国化工建设项目防腐 蚀工程的施工管理经验,广泛地征求了国内大中型化工工程建设企业的意见,以充分反映现行管理 体制下的化工行业施工管理的特点和要求,同时参考和采用了国家和其他行业的相关标准。
为便于施工、监理、总承包、建设等单位有关人员在使用本规范时能正确理解和执行条文规定, 《化工设备、管道防腐蚀工程施工及验收规范》编制组按章、节、条顺序编制了本标准的条文说明,对 条文规定的目的、依据及执行中需注意的有关事项进行了说明。但是,本条文说明不具备与标准正 文同等的法律效力,仅供使用者作为理解和把握规范的参考。
i.o.i本条为新增内容。制定本规范的目的是从施工的角度,按设计规定,对化工设备及管道从基 层表面预处理到防腐蚀层的施工进行全面控制,以保证施工质量。本次修订对施工过程的控制提出 了具体要求,同时为防腐蚀工程施工质量验收提供依据,从而为防腐蚀工程的安全性、耐久性提供可 靠保障。
1.0.2本规范是化工行业防腐蚀工程施工的专业规范,考虑到食品工业关于卫生条件的要求和核 电工业的特殊性,应按行业特殊要求执行,但对无特定要求的设备及管道防腐蚀工程可参考本规范 进行施工和验收。
1.0.3防腐蚀工程施工所采用的原材料质量的优劣是决定工程质量的关键因素之一。为防止不合 格材料和不符合设计规定的材料用于防腐蚀工程,材料进场应具有出厂合格证或质量证明书,以避 免因材料质量有问题而造成事故。在实施过程中应注意:
1有国家(行业)现行标准规定的,执行国家标准和行业标准。材料供应者应提供材料质量检 验报告单、产品合格证和材料安全数据表(MSDS),作为自查自检资料,并对施工过程提供技术保障。
2对没有国家(行业)现行标准规定的,材料供应商应提供材料的质量技术指标与相应的检测 方法。对进入施工现场的材料每一批均提供质量检验报告单和产品合格证,并以此作为材料使用方 互查互检的根据。
3进入施工现场的材料均应有复验合格的报告或提供省部级以上技术鉴定报告,以此作为第 三方质量检查的依据。
1.0.4强调了现场配制防腐材料时,应经过试验确定配合比。配制时,应注意以下几点:
1对生产企业已明确施工配合比的,如双组分涂料,施工时只需按要求将两组分直接混合均匀 即可。
2对加入量相对较大,但对影响不显著的材料,如环氧树脂、树脂胶泥等施工时固化剂的加入, 应按本规范附录C确定一个相对稳定的配合比,而不宜经常调整。
3对加入的材料品种较多,并受施工环境条件的影响而变化较大的材料,如不饱和聚酯树脂、 乙烯基酯树脂等施工时固化体系的加入,其配合比在符合本规范附录B规定的同时,还应通过试验 确定。当环境条件发生较大变化时,应重新进行试验确定。
1.0.5明确了应按设计文件的规定进行施工。随着科学技术的发展,新材料的应用日益增多,而目 前有个别材料在国内尚不能满足建设需要,应从国外引进。为使这些材料得到应用,通过试验获得 可靠数据或有实践证明,同时征得设计部门同意后,是可以采用的。
1.0.6本规范与现行国家有关施工安全、卫生、环保等标准配套使用时,应按国家有关标准、规范的 规定执行。
3.1 一般规定
3.1.1本条是指防腐蚀施工前应具备的条件。条文中分别对设计、施工等部门提出要求,同时也对 施工现场提出要求。只有具备了这些条件,方可开工,这样才能保证防腐蚀工程施工的质量。本条 在原规范第2. 1. 1条的基础上,增加“制定了相应的安全应急预案”的条款,以保证发生安全事故釆 取措施,把损失降到最低点。
3.1.2设备、管道的加工制作是防腐蚀施工的基础,在此工序交接时应进行中间检查,办理中间交 接手续,达到合格标准后,方可进行下道工序的防腐蚀施工。
3.1.3为保证防腐蚀工程施工质量,在施工过程中应进行中间检查,每日均应进行。不符合标准 的,应立即返修,不留隐患。
3.1.5 由于防腐蚀工程的绝大部分材料属易燃品,因此在防腐蚀工程施工开始后,如进行焊接、气 割及直接敲打等作业,均会对防腐蚀施工质量造成重大影响,并易发生火灾造成人员伤亡和国家财 产的重大损失。
3.1.6是指转动设备的转动部位,防腐蚀工程施工后应做静平衡检查,高转速设备还应做动平衡检 查,无条件者可向外委托检查。
3.1.8由于防腐蚀材料大部分有毒,且易燃易爆,所以必须设置人孔。数量不应少于2个,作为人 员出入、进料及送排风之用。
3.1.9防腐蚀工程结束后,在运输和吊装时,应防止碰撞和损坏。在未投入运行前,应妥善保管,如 采取封闭充水、遮盖等措施。
3.2基体要求
3.2.1本条是对原规范第2. 2.1和第2. 2. 2条的整合,对钢制品的钢材表面提出质量要求,特别是 铸铁和铸钢件的表面不得有空洞和多孔穴,并应保证设备及管道表面的平整和圆弧过渡,对棱角、毛 边和铸造残留物应全部彻底打磨、清理干净。
3.2.3经处理后的基体均应进行中间检查,并检查其粗糙度情况,合格后办理工序交接手续,经签 证后方可施工。
3.3焊缝的要求及处理
3.3.1为保证衬里质量,焊缝高度与母材应磨平或圆滑过渡。
3.3.2设备接管和转角部位的焊接,一是要求焊缝饱满,二是要求圆弧过渡,这主要是为了保证防 腐蚀工程质量。
3.3.3提出了角焊缝的焊接圆弧半径的具体数据要求,主要是为了贴衬平整,保证防腐蚀施工 质量。
3.3.4因施焊时在母材上引弧易损伤母材,清理工卡具时也易使母材产生凹坑,而影响母材质量。
4.1 一般规定
4.1.1-4.1.3金属表面预处理是一切防腐蚀衬里和涂层赖以附着于金属表面的必不可少的条件 和前提。金属表面预处理质量的好坏,直接影响衬里和涂层的施工质量和使用寿命。由于表面处理 的失败,使衬里层或涂层早期破坏,不仅对其本身修复造成经济损失,更为严重的是还会引起停产或 造成人身伤亡事故,其经济损失不可估量。
喷射或抛射方式和手工或动力工具方式的除锈质量等级,引用GB/T 8923. 1-2011《涂覆涂料 前钢材表面处理表面清洁度的目视评定第1部分:未涂覆过的钢材表面和全面清除原有涂层后 的钢材表面的锈蚀等级和处理等级》的有关规定。
化学处理方式作为对其他表面预处理方式的补充,仍在搪铅和砖板衬里中应用,但 GB/T 8923. 1—2011中未提及,故本条仍沿用原规范中化学方式的质量标准“Pi”。考虑到化学处理 是经酸洗及其后处理等连续进行的,而且后处理直接关系到预处理质量的好坏,故将化学处理质量 标准定在干燥处理工序之后。
4.1.5根据各类防腐蚀衬里或涂层的性能、种类及使用条件,对基体表面预处理的质量要求分别列 在表4.1.5中。表中若有两种以上处理方法时,应优先考虑第一种。
4.2施 工
4. 2.1对于含硅材料的喷砂操作,应遵守GB 7691—2003 «涂装作业安全规程 安全管理通则》的 有关规定。
4. 2.2明确提出对磨料质地和纯度的要求。理想的磨料应具备下列条件:动态硬度大,韧性好,比 重大,不碎裂,不会嵌入表面,操作过程中粉尘少,磨料不会污染被喷射表面等。
目前国内常用的磨料主要有铁丸或钢丸、钢线粒、激冷铁砂或激冷铁丸、金刚砂、石英砂等。
金属磨料的喷射效果以钢线粒为最好,铁砂次之,丸料最差。尽管以上材料的一次性投资较大, 但能反复多次使用,且喷射条件好,喷射效率高,故应用越来越广泛。
非金属磨料主要有金刚砂和石英砂等。金刚砂分天然和人造两种,尽管使用时粉尘较大,但不 含硅,目前使用较为广泛。石英砂质坚有棱,喷射效率高,被喷射表面有粗糙度,可多次使用,但价格 较贵。由于石英砂含有SiO2 ,其粉尘对人体危害很大,应严格控制使用。
磨料在使用前,应净化和筛选,不得含有油污,以避免污染被处理表面;大颗粒磨料应筛除,以避 免堵塞喷嘴。天然砂应选择质坚有棱的砂子,不应含有盐分、泥土、生物等混杂物。当含水量大于 1%时,应进行烘干或炒干。
金属磨料应防止受潮生锈,硬度是保证喷射效率和质量的关键,一般要求在RC50以上,由含碳 量0. 37%〜0. 44%的碳钢或合金钢淬火而得。
在喷射作业前,为了防止磨料受潮、雨淋或混入杂质,影响喷射效率和质量,磨料堆放场地应搭 设防雨棚,场地应坚实平整,以便收集和利用。
4.2.3磨料允许重复使用,但在重复使用前应进行检查、筛选,符合本规范第4. 2. 2条的规定,方可 使用。
4.2.5潮湿天气喷射后基体表面会重新生锈,故当基体表面温度低于露点以上3 °C时,喷射作业应 停止。露点温度的确定可直接查表4. 2. 5,表中纵向环境温度与横向相对湿度的交叉点即为该温度 和相对湿度下的露点值,如环境温度为18 °C、相对湿度为65%时,则露点温度为IL 3 °C。
4.2.8金属表面化学处理就是利用各种酸溶液与金属表面氧化物发生化学反应,使其溶解在酸溶 液或碱溶液中,从而达到除锈的目的,在施工中常被称为酸洗法。
浸泡法较常见,所需设备简单,但酸洗效果欠佳;循环法是在浸泡的基础上加以改进,由原来静 置态的酸液通过泵的循环成为流动状,除锈效果明显提高。对于大型密封容器,采用自动喷射酸洗 除锈法,具有效率高、用酸量少及操作条件好等优点。
经化学处理后的金属表面一般放置在空气流通处晾干或用压缩空气吹干,以免再度锈蚀。
4.3质量检查
4.3.2金属表面釆用喷射或抛射处理后,由于磨料的磨削和撞击作用出现的凹凸不平,用手触摸时 有毛糙的感觉,这种表面粗糙不平的程度就叫作表面粗糙度。
经喷射或抛射除锈基体表面处理后的金属表面粗糙度的大小应根据衬里层或涂料的种类、性质 和涂层的厚度而定。粗糙度太小,影响与基体的结合;粗糙度太大,则对于涂层需相应增加厚度,使 成本提高,否则就会产生“顶峰锈蚀”,留下质量隐患,影响涂料的使用寿命。为了达到理想的粗糙 度,本规范明确了金属表面粗糙度等级、参考值及检测方法。
专门制备一套基准样板,可以定量估计粗糙度。在国际上,如德国、美国、澳大利亚等国已有使 用,并已编入标准。在我国,多采用触针式的轮廓仪、比较样块进行比较等方法进行测量或比较。粗 糙度比较样块每2块为1套,用于评定丸状磨料清理后的表面用S样板,评定棱角状磨料清理后的 表面用G样板。
基体表面粗糙度比较样块可按照现行国家标准GB/T 13288. 1—2008《涂覆涂料前钢材表面处 理 喷射清理后的钢材表面粗糙度特性 第1部分:用于评定喷射清理后钢材表面粗糙度的ISO表 面粗糙度比较样块的技术要求和定义》的要求制作。
4.3.3金属表面受不同酸洗液作用,色泽可以不同,但应均匀一致,且不得再度生锈而出现新锈,使 表面发黄、有黄斑。冲冼用水应为洁净水,特别是不锈钢表面冲洗用水的氯离子含量不得超 过25 mg∕Lo
5.1 一般规定
5.1.1水玻璃胶泥主要包括钠水玻璃胶泥和钾水玻璃胶泥。水玻璃耐酸性及耐热性好,耐碱性和 耐水性差,钠水玻璃胶泥抗渗性能较差,密实型钾水玻璃胶泥由于具有良好的耐酸、耐热、抗渗透性 和黏结强度高等性能,经20多年的应用,现已广泛用于防腐蚀工程,并取得了良好的效果。
树脂胶泥在原规范的基础上增加了性能良好的乙烯基酯树脂胶泥和不饱和聚酯树脂胶泥等,删 除了环氧酚醛树脂、环氧咲喃树脂、环氧煤焦油树脂类材料,是因为:
近年来在工程应用中,可选的树脂品种很多,已很少釆用这3种复合树脂,且复合后的树脂综合 性能均不如环氧树脂,而且配制、施工都较复杂;在价格上,前两类复合树脂与纯环氧树脂差不多。 另外,煤焦油中含有大量苯、荼、蔥等致癌物质,其脱水处理工艺不符合环保要求。
乙烯基酯树脂又叫环氧(甲基)丙烯酸树脂,由一种环氧树脂和一种含烯键的不饱和一元梭酸 (丙烯酸或甲基丙烯酸)在催化剂存在下酯化反应得到的产物,它保留了环氧树脂的基本链段,又有 不饱和聚酯树脂的良好工艺性能,它在适宜条件下固化后,表现出某些特殊的优良性能。国外已普 遍应用于防腐蚀工程,国内目前也已规模生产和应用,工程应用情况良好。
不饱和聚酯树脂品种非常多,但基本可分为:双酚-A型、二甲苯型、间苯型和邻苯型,特点为工 艺性能优良、固化后树脂综合性能好。间苯型树脂耐热、耐腐蚀性和力学性能优于邻苯型树脂,但由 于间苯二甲酸原料的生产规模等因素,使间苯型树脂的价格明显高于邻苯型树脂的价格,但采用间 苯型树脂取代邻苯型树脂是一个发展趋势。目前,双酚-A型、二甲苯型树脂工程应用较多,积累的 经验也多。
环氧树脂胶泥耐酸、耐碱,黏结强度较高,但成本也高;酚醛树脂胶泥耐酸性好,但不耐碱,较脆, 黏结强度低;咲喃树脂胶泥耐酸、碱和有机溶剂较好,但与砖板的黏结力低;乙烯基酯树脂胶泥和不 饱和聚酯树脂胶泥耐腐蚀性能较好,与砖板的黏结强度低于环氧树脂胶泥,高于酚醛树脂胶泥和咲 喃树脂胶泥。
5.1.2施工环境温度和相对湿度对胶泥的质量有较大影响。施工环境温度不能过高,但也不能过 低,宜为15 °C〜30 °C,相对湿度不宜大于80%o
当施工环境温度高于30 °C时,水玻璃的黏稠度显著增加,不易于施工。配制时,水玻璃和氟硅 酸钠水解过快,胶泥易过早脱水硬化造成反应不完全,凝结时间太快,质量降低。当钠水玻璃材料施 工的环境温度低于10 °C,钾水玻璃材料施工的环境温度低于15 °C,采用苯磺酰氯作固化剂温度低 于17 °C时,水玻璃的黏度增大不利于施工,也易造成质量降低,而且即使固化期时间达到,但浸水实 验,均会有溶解溃裂。湿度大,水玻璃与氟硅酸钠反应产物的水分不易蒸发,其表面有泌水现象,并 伴有大量盐类析岀,水分蒸发后形成许多小孔,降低了抗渗性能。
当施工环境温度高于30 °C时,树脂胶泥初凝时间短,不易施工,但低于10 °C时树脂胶泥初凝时 间长,在衬砌后一两小时仍不初凝,易使砖板移动,胶泥流坠,使灰缝不饱满,影响施工进度及质量。 湿度大,影响稀释剂的挥发速度,从而减缓树脂胶泥的固化速度。实践证明,相对湿度大于80%时, 胶泥固化时间长,影响施工质量。
经调查,我国多数重点城市和地区的相对湿度冬季一般在70%左右,夏季一般在75%左右,而 超过80%的地区为数不多,故定为相对湿度不宜大于80%o
当施工环境温度低于10 °C时,乙二胺在8.5 °C时会结晶,苯磺酰氯的熔点为14.5 °C,如用乙醇 作稀释剂,温度低时则胶泥不固化。环氧树脂的软化点在12 °C-20 °C,造成树脂黏度增大,因此应 加过量的稀释剂,树脂的固化收缩力增大。为了保证质量,应严格控制施工环境温度及固化温度。
加热应釆用间接法,否则会使胶泥局部过热或过冷而造成水玻璃胶泥水解反应不充分,树脂胶 泥的蒸发物易蒸发不均匀,出现孔隙和起鼓现象。
原材料的使用温度不应低于15 OCO考虑到冬季气温低,如没有保温措施,材料处于低温或结冻 状态,必然要影响胶泥的使用性能和工程质量,但经预热或烘干的材料应冷却到40 °C以下方可 使用。
由于树脂及配套的固化剂品种多,只能确定一个最能保证质量的施工环境温度和相对湿度的指 标范围。特殊情况下施工(如低温、高湿、高温等)应及时与材料供应方联系,以取得支持,并应经试 验确定。
5.1.3材料在现场储存堆放过程中,若不注意防潮,则含水率过高对树脂的固化和制成品质量带来 影响,严重的甚至造成树脂不固化。胶泥大部分材料为有机化合物和易燃物,故严禁明火。
5.1. 7水玻璃胶泥在施工及固化期间,水玻璃与氟硅酸钠水解反应,尚未形成稳定的Si —O键时, 如遇水和蒸汽,则尚未反应部分或反应不完全的部分,表面被溶解而破坏。在固化期间,特别是在早 期,水玻璃和氟硅酸钠先进行水解,才相互反应,这样不能脱水过快,影响水分的不足,所以应防止 暴晒。
树脂胶泥在施工及固化期间,水的存在会影响未固化完全的树脂及制成品的质量;树脂胶泥在 初凝阶段,如阳光暴晒,硬化速度过快,造成胶泥裂纹、起鼓,故需防止暴晒。
5.2原材料及制成品的质量要求
5. 2.1增加了耐酸耐温砖,同时因缸砖、耐酸陶板的吸水率大,抗渗性差,且生产厂家少,目前使用 已不多,故删去了缸砖、耐酸陶板等内容。
砖板在使用前应按尺寸误差的大小进行挑选分类,以便分别使用。
5.2.2水玻璃是水玻璃胶泥的胶结料。
钠水玻璃的固化剂为氟硅酸钠。氟硅酸钠的纯度应不小于98%,氟化钠含量应低,细度应全部 通过0.15 mm筛孔;氟硅酸钠应防止受潮,一旦受潮应烘干,烘干温度可控制在IOO °C以下。氟硅 酸钠有毒,应妥善保管。
钾水玻璃固化剂为磷酸盐,主要是缩合磷酸铝AL(PO3)3^0缩合磷酸铝为无色无味的白色粉 末晶体,在高温下不熔融而成为胶体,在聚合反应下生成稳定的α-AlPO4,不溶于水,易溶于盐酸、 硝酸。
5.2.3树脂是树脂胶泥的胶结料。
环氧树脂是热塑性树脂,不会受热固化,只是黏度增加,可存放1年以上而不变质。双酚-A型 环氧树脂有较好的耐酸、耐碱及耐水解性能。EP 01441-310(E-51).EP 01451-310(E-44)是目前国内 防腐蚀工程常用的品种。E-42环氧树脂目前已很少在防腐蚀工程中使用,故本规范不再列入。
乙烯基酯树脂由于分子结构中易被水解破坏的酯基含量比双酚-A型和通用型不饱和聚酯树脂 少,且处于邻近交联双键的空间位阻保护之下,故具有更好的耐水和耐酸、碱性能。
不饱和聚酯树脂品种非常多,目前市场上用于树脂类防腐蚀工程的耐腐蚀不饱和聚酯树脂主要 是双酚-A型、间苯型、二甲苯型和邻苯型等品种。
双酚-A型不饱和聚酯树脂品种较多,一般以环氧封端嵌段共聚物和丙烯基双酚-A富马酸型 树脂的耐蚀性能为佳。
二甲苯型不饱和聚酯树脂采用一步法生产的树脂活性比较低,表面固化性能及耐热、耐腐蚀性 能有局限性。采用二步法合成的产品,树脂活性比较高,且耐热、耐腐蚀性能均有提高,工程应用性 能良好。
间苯型、邻苯型树脂不宜用于较强腐蚀环境。
目前市场上应用较多的是糠醇糠醛型树脂。对其他类型的咲喃树脂只要经过工程应用证明是 成功和成熟的,并符合本规范规定的制成品质量,经设计认可,也可使用。酚醛树脂主要采用热固性 酚醛树脂,常温施工中通过加入酸性固化剂,使其产生交联反应而成为热固性材料。酚醛树脂固化 物的分子结构中,因含有大量的苯环结构,具有较好的耐热性和耐腐蚀性(耐酸性更突出);同时因分 子中含有一定量的酸性酚羟基,能与碱发生反应生成可溶性的酚钠,故酚醛树脂不宜用于碱性介 质中。
酚醛树脂到目前为止全国无统一标准。由于各厂所用的催化剂不同(一般系以碳酸钠、氨水或 氢氧化钠为催化剂制成),树脂品种也不同,所以在黏度、性能上也有差异。
本规范给岀了酚醛树脂的质量。若含水率过高,固化物气孔率增多,抗渗性就差,胶泥强度也 低,故一般含水率不超过12%o游离酚含量过高,树脂与固化剂反应快,也不利于施工。在常温下酚 醛树脂不能久存,一般低于2(ΓC时,储存期为1个月。苯甲醇可作为酚醛树脂的缓聚剂,但加量不能 太大,因为苯甲醇直接影响树脂硬化过程。加量大,会导致固化太慢或完全不固化,树脂黏度大,黏 结力差,不方便施工。
5. 2.4 环氧树脂固化剂的品种非常多,目前工程上应用较多的主要是以T31 [LD50 = (7 850 + 1 122)mg∕kg]等为代表的低毒固化剂。其他环氧树脂固化剂使用时,其方法、配合比等应参照供应 方提供的产品技术文件要求。使用前,应经过检测和验证。
乙烯基酯树脂和不饱和聚酯树脂的引发剂用量对树脂固化速度影响很大。用量过多,固化速度 太快,不易控制,且力学性能变差;用量过少,则不能使固化反应充分进行,树脂的固化度下降,力学 性能和耐腐蚀性能达不到要求。常温下,按纯引发剂计,过氧化甲乙酮二甲酯溶液加入量为树脂重 量的1%左右为宜;过氧化二苯甲酰二丁酯糊或过氧化环己酮二丁酯糊引发剂的用量为树脂重量的 2%。在工程施工中,一般当引发剂用量一定时,通过加入促进剂的用量来控制树脂凝胶时间。施工 时,应通过试验确定引发剂、促进剂的用量。
咲喃树脂和酚醛树脂使用酸性固化剂,所以不能把含有酸性固化剂的树脂胶泥直接同基层接 触,否则酸性强的树脂胶泥与基层发生化学反应,会造成黏结不好,甚至脱层等现象。
酚醛树脂固化剂目前釆用以蔡磺酸型为代表的低毒酸性固化剂,固化物有良好的物理力学性能 和耐腐蚀性能,但在施工环境温度超过30 °C时,加入量较难掌握。使用苯磺酰氯的固化反应稳定, 固化物的性能较好,但苯磺酰氯在空气中会冒烟、有刺激性、毒性较大。
5.2.5稀释剂的主要作用是降低树脂的黏度,获得胶泥适宜的施工稠度,以便操作。稀释剂原则上 是少加或不加,视其树脂稠度而定。
丙酮等非活性稀释剂加入到环氧树脂中,只起降低黏度的作用,并不参与环氧树脂的固化反应, 加入后使树脂固化物强度、抗渗性等下降。活性稀释剂如正丁基缩水甘油醍、苯基缩水甘油醍等单 环氧基活性稀释剂可参加环氧树脂的固化反应,成为树脂固化物交联网络的一部分,树脂性能稳定。 但是活性稀释剂价格比非活性稀释剂高,所以目前主要还用丙酮等非活性稀释剂,但今后活性稀释 剂用量会不断增加,故将其列入规范。
酚醛树脂最好不用稀释剂,因酚醛树脂本身性脆,如果多加稀释剂,固化过程中挥发,更加影响 胶泥的收缩率和黏结强度。在树脂较稠非加不可时,加入量严格控制在树脂用量的10%以下,一般 在6%以下。在气温较低时,不宜用乙醇,因为乙醇在气温低时不易挥发,会影响胶泥的固化速度。 5.2.6填料作为骨料,在胶泥中不参与化学反应,但填料的品种和质量亦直接影响胶泥质量,因此, 应重视填料的品种选择和质量。填料选择主要依据介质条件、使用要求、施工性能、成本等进行综合 权衡,以满足主要的要求。粉料选用应符合以下规定:
1粉料含水率过大,会使水玻璃比重降低;树脂胶泥强度、黏结力等性能均受影响,严重的会造 成树脂不固化。在生产、包装、运输、储存过程中应注意控制在0. 5%左右。
2咲喃树脂、酚醛树脂的固化剂酸性较强,若粉料中含有铁质、碳酸盐等杂质时,将会同酸性固 化剂发生化学反应,使胶泥产生气泡,强度和抗渗性能降低。辉绿岩粉含铁质较多,不宜配制咲喃树 脂胶泥和酚醛树脂胶泥。
3石英粉和瓷粉耐一般酸性介质,硫酸锐粉和石墨粉耐氢氟酸介质。石英粉的耐碱性差,因此 在含碱类介质工程中,一般釆用铸石粉和石墨粉作填料,而不采用石英粉作填料。
4硫酸®!粉应呈中性,但因生产过程中采用过量的碱中和未反应的硫酸,又用水未洗干净而呈 偏碱性,施工中采用后会使含弱酸性钻盐的苯乙烯液促进剂失去作用,从而影响乙烯基酯树脂和不 饱和聚酯树脂的固化。石墨粉对采用钻盐的苯乙烯液促进剂的乙烯基酯树脂和不饱和聚酯树脂有 阻聚现象,使材料长期不固化。
5水玻璃胶泥粉料选用石英粉时,因其细度过细、收缩率大,容易产生裂纹,且化学稳定性较 差,不宜单独使用;铸石粉结构密实、吸水性小、黏度好、强度高、耐磨和抗渗性能好,可与石英粉混合 使用。
6粒度过细的粉料,其表面积增加,水玻璃用量也相应增加,致使胶泥增加了硬化后的剩余空 隙,增加了氟化物和游离水玻璃等有害成分,易产生裂纹。
5.2.7〜5.2.8胶泥的初凝时间对施工操作和质量都至关重要。胶泥初凝时间早,未等施工完成就 不能使用;胶泥初凝时间长,则在衬后一两天仍不初凝,易使砖板移动而使灰缝不饱满,影响施工进 度和质量。特别是胶泥终凝完全与否,对胶泥性能影响很大。胶泥的耐腐蚀性能是对胶泥完全固化 后而言的,因此要求胶泥固化较完全,而终凝时间还不能过长。
表中数据是根据现行国家标准GB 50212-2014《建筑防腐蚀工程施工及验收规范》的有关数据 和现场实际使用情况列入的。需要说明的是,由于施工现场环境条件的变化和限制,原材料质量的 差异,材料施工配合比的不同,施工技术水平的不同,固化条件的差异,现场取样后的制成品质量实 测指标会同该表有一些差异。
5.3胶泥的配制
5.3.1〜5.3.3水玻璃胶泥的配合比要求比较严格,稍有变动,则直接影响胶泥的物理化学性能,因 此配料时应严格控制。在配制胶泥时,既要考虑到原材料的具体情况,也应考虑到施工环境条件,所 以配合比应根据当地原材料情况和施工环境条件,通过试验确定。本规范提供了水玻璃胶泥参考配 合比。
氟硅酸钠的用量,应按式ɑ)计算:
G = L 5 X 籌 XloO .......................................... (1)
N2
式中:
G——氟硅酸钠用量占钠水玻璃用量的百分率(%);
NI——钠水玻璃中含氧化钠的百分率(%);
N2——氟硅酸钠的纯度(%)。
机械搅拌和人工搅拌,可根据实际施工条件选择,但注意应搅拌均匀。配制时应主要控制水玻 璃的模数和密度。密度过高的水玻璃(高于1.45 g∕cm3)会造成操作困难,收缩增大,凝结时间延长; 模数过低的水玻璃(低于2.4),由于其氧化钠的相对含量高,有害化学成分增加,酸稳定性降低。据 现有资料及以往施工经验,水玻璃最佳模数为2. 6〜2. 9,密度以选择(L 38〜L 42)g∕cm3为宜。在 气温较低或凝结时间加速时,用于胶泥的水玻璃模数可提高到2. 9〜3. 0,但比重可适当降低。例如, 购买的水玻璃不符合上述模数和密度的要求时,可按本规范附录D进行调整。
5.3.4〜5.3.7本规范中树脂胶泥的施工配合比是总结了工程实际应用经验,并在原规范的基础上 进行了补充、修订而确定的。因材料质量差异,施工环境条件等因素时有变化,选用时应通过现场固 化试验来确定合适的施工配合比。
5.4砖板衬砌
5. 4.2砖板衬里隔离层的做法应根据设计规定,采用玻璃钢或防腐蚀砂浆。
5.4.3〜5.4.6因胶泥黏度较大,为了衬砌密实,采用揉挤法较好。立面衬砌砖板衬里时,为防止受 力变形,在砌完一定高度时应停止衬砌,待胶泥硬化后受力不致变形时,再继续衬砌。
无论哪种形式的衬砌,砖板排列应按图纸施工。自选排列方案时应考虑如何避免胶泥累积收缩 可能产生的裂缝和砌体的受力方向。特别是应力集中的部位,应有足够的强度。
双层衬里的里外层砖板,应注意交错排列,否则会影响衬里的使用寿命。
在垂直面衬砌为立衬,砖板排列环向(水平方向)为直通缝,垂直线上皆为交错缝。如果衬砌只 在水平位置为卧砌,砖板排列轴向为直通缝。当在平面衬砌砖板时,其水平、垂直线方向皆为交 错缝。
拱式衬砌难度较大,需要拱模(木模或钢模)。拱模应有足够的强度,应保证砖板在衬砌固化过
程中不滑移,胶泥不流坠。
设备平底(盖)与筒体、椭圆形封头与筒体和锥形封头与筒体的连接方式如图1、图2和图3o
1——设备壳体;2——隔离层;3——砖板;4——胶泥;5——设备底板
图1设备平底与筒体衬砖板连接方式
1--设备壳体;2--隔离层;3--椭圆形封头;4--胶泥;5--砖板
图2设备椭圆形封头与筒体衬砖板连接方式
1--普通型砖板;2--异性砖板;3--胶泥;4--设备壳体;5--隔离层
图3设备锥底与筒体衬砖板连接方式
5.4.7砖板面层铺砌时,灰缝过宽,胶泥收缩大,易产生裂纹;灰缝过窄,胶泥不易填塞饱满且密实 度不易保证,影响使用年限。
5. 4. 8根据调查研究和试验资料证实,固化温度对水玻璃胶泥的各项性能指标有较大影响,特别是 耐水、耐稀酸性能。在工程实践中,产生不耐水、不耐稀酸的情况有两种:一是原材料的质量,配合比 选择不合适,施工后不管是在早期或后期遇水或稀酸都遭到破坏;二是水玻璃与固化剂正在水解反 应期间,尚未充分反应形成稳定的Si-O键时,正在反应和硬化的水玻璃类材料中尚未反应的部分, 遇水被溶解析出而遭到破坏。因此,合理的配合比和适当提高固化温度,特别是早期固化阶段,能为 水玻璃和固化剂充分反应创造有利条件,这样就可以大大提高其机械强度和抗水、抗稀酸破坏的 能力。
由于树脂品种、施工环境条件等存在不同,因此所需固化时间亦不同,同时固化温度的高低,对 胶泥最终性能均有影响。一般以常温(1 5°C-30 OC)固化为宜。固化环境温度低于15 °C时,应采取 措施,提高固化温度,延长养护时间。根据施工实际经验和树脂在常温下最完善的固化度情况提出 了表中的固化时间。
5.4.9用胶泥衬砌好的砖板衬里,为了保证质量,可进行热处理,以加速胶泥固化。热处理最高温 度一般以80 °C为宜。要求热处理面受热应均匀,防止局部过热,影响质量。
5.4.10凡水玻璃胶泥衬砌的砖板衬里,都需进行酸化处理。酸化处理的实质是用酸溶液将水玻璃 工程中未参加反应的水玻璃分解成耐酸、耐水的硅酸凝胶[Si(OH)4],从而提高耐腐蚀性、抗水性 能。处理方式可采用浸泡或涂刷。水玻璃材料达到固化期时,采用浓度40%硫酸浸泡2 d去液后, 养护3 d〜5 d,可以达到长期抗水作用。
大多数施工单位采用硫酸进行酸化处理,原因是硫酸比硝酸、盐酸气味小,工人操作时毒性小, 施工较方便。
5.5质量检查
5.5.1〜5.5.9砖板防腐蚀工程质量好坏的关键在于砖板本身的质量、衬砌砖板胶泥的质量和砖板 的施工质量。
目前由于生产防腐蚀材料的厂家较多,各厂的生产及管理水平不一,即便部分材料已有国家标 准或行业标准,不同地方、不同厂家生产的材料质量也有很大差异,故对到达现场的材料,应具有出 厂合格证、材料检测报告等质量证明文件。当施工方、监理或业主认为需要抽检时,现场有检测条件 的,可以在现场复验;或送样请第三方复验。
根据实际施工中的实际情况及其对工程质量的影响程度,规定了不同的最大偏差值,以此限制 超差的范围。
6.1 一般规定
6.1.1随着合成橡胶材料的发展,除传统的天然橡胶、丁苯橡胶、氯丁橡胶外,丁基橡胶及氯化丁基 橡胶、漠化丁基橡胶、氯磺化聚乙烯橡胶、乙丙橡胶等橡胶材料在橡胶衬里防腐蚀方面也得到了不同 程度的应用。随着橡胶助剂技术的日益发展,一种橡胶材料可以生产出适用于不同施工方法的衬里 橡胶材料。例如,丁基类橡胶不但可以制成预硫化衬里胶板,也可以制成自然硫化衬里胶板。为了 适应橡胶衬里材料技术的发展,促进新技术、新工艺、新材料、新产品的应用,本规范没有按橡胶材料 种类划分,而是以施工工艺方法进行了分类,为今后橡胶衬里材料的发展提供了更加广阔的空间。
6.1.2当施工环境温度低于15 °C时,胶板开始发硬,影响衬里操作和贴合质量;胶黏剂涂刷后溶剂 不易挥发,影响黏结力。当温度高于35 °C时,胶黏剂涂刷后,表面的溶剂蒸发过快,形成干膜,内部 溶剂不易挥发,留在胶膜内易出现起泡等质量问题。
相对湿度太高、金属表面易生锈、胶黏剂干燥时间太长等,均会影响黏结力。
当环境温度较低,湿度较高时,采用除湿或送热风的办法,可获得较好的效果。但由于衬胶场所 内多为易燃易爆物,为确保安全,不得使用明火加热。
6.1.3衬胶场所应设在专门的车间内或密封性能较好的临时板房内,保持干燥无尘,空气对流畅 通。在设备内衬胶时,应保持良好的通风和照明。由于衬胶场所内多为易燃易爆物,为防止因摩擦 产生静电发生事故,作业人员的衬胶用具及个人防护用品应保持清洁且防静电。
6.1. 4未硫化胶板在常温下有自硫化现象会失去塑性和黏结力,故胶板的储存应符合现行国家标 准GB/T 18241. 1—2014《橡胶衬里 第1部分:设备防腐衬里》的有关规定,并在规定的使用期内用 完。胶板到达现场后,应分类分批存放,不应乱堆,防止胶板受压粘连变形、碰撞刮破或超过使用 期限。
对于产品说明书中规定需要进行低温冷藏的胶板和胶黏剂,如自然硫化胶板等,在运输中和现 场存放时应放入冷藏箱内保持低温,防止胶板出现早期自硫化。冷藏温度应符合规定,并做好温度 记录。
6.1. 5对于本体硫化的设备,在衬胶前应审查设备的强度和刚度是否能承受硫化时的蒸汽压力,并 检查是否有试压合格证。
本体硫化的设备,在衬里前还应考虑好进汽、排空、排液、温度计、压力表、温度自动记录仪等接 管和仪器仪表的安装位置。如需在设备上开孔时,应征得设计同意。蒸汽冷凝液排放口应设在设备 硫化位置时的最底部,以便及时排净冷凝液,防止局部欠硫。
6.1.6表6.1.6中的H值,是根据最短接管考虑的。三通接管越短,对三通内焊缝的修磨及衬里 越有利。
管道的安装封闭段或经常需要检修的管件,宜设置松套法兰,以便于制作和拆装。
6.1. 8槽罐类设备衬里施工的3个阶段,适用于在内部需搭设脚手架的大型槽罐。
6.2原材料的质量要求
6.2.1〜6.2.2胶板的分类、标记、技术要求、性能指标、检验方法、检验规则及包装、运输贮存等均 应符合现行国家标准GB 18241. 1—2014《橡胶衬里 第1部分:设备防腐衬里》的有关规定。由于 不同品种的胶板所使用的胶黏剂也不同,故在包装上应明确区分。
6. 3加热硫化橡胶衬里施工
6.3.1胶板展开后的目测外观检查和必要时的电火花针孔检查,是把好衬胶层质量的第一关。采 用电火花针孔检测仪进行检查时应按照GB/T 18241. 1-2014《橡胶衬里 第1部分:设备防腐衬 里》附录A的有关规定执行。
6.3. 2胶板下料时应注意图纸要求和衬层结构特点,在尽量减少接缝的原则下,充分利用胶板。
6.3.3胶板搭接缝的宽度以确保接缝质量为前提,但若搭接太宽,不仅浪费材料,而且给接缝处的 电火花针孔检查造成困难。在调研了国内衬胶施工和使用情况的基础上,对接缝宽度作了规定,供 施工时参考。但是对于大型设备封头与筒体,顶、底与筒体的转角处结合缝,为便于衬里操作,搭接 宽度可适当放宽至30 mm~50 mmo
多层胶板衬里的相邻胶层,其接缝应错开的原因,一是为了方便操作,二是为了防止接缝泄露时 形成贯穿缝,其错开净距IOO mm为规定的最小间隔距离。
6.3.4削边对保证衬层质量很重要,其目的是使接缝严密、平整;削边斜坡宽10 mm〜15 mm,搭接 缝的厚度会相应减薄,有利于黏结强度的提高,同时削边方向应与设备的转动方向或介质流动方向 一致,以防因设备转动或介质流动冲刷而使接缝处胶层开脱。
6.3.5采用冷刀裁切胶板时,刀刃上应沾水,能减少胶板对刀的阻力,有利于提高裁胶效率,但裁胶 后应用干布擦净斜坡和胶面上的水。
釆用烙铁热裁切胶板时,烙铁温度达到230 °C时,胶板起皮;达到280 °C时,胶板会冒白烟; IOO °C以下时会影响裁胶效率。故本规范中规定烙铁温度控制在170 °C〜210 OCO
6.3.6涂刷第一遍胶黏剂前,金属表面应用稀释剂先擦干净。胶浆涂刷遍数直接影响到胶板与金 属的黏结力。根据试验和实际经验,在金属表面涂刷胶浆3遍,在胶板表面涂刷2遍〜3遍,贴衬后 其黏结强度可达7. 4 MPa,完全能满足衬胶的要求。
衬胶设备内悬浮的灰尘往往因缺少电子,很容易吸附在设备顶部或侧上部的阴角处,在涂刷第 二遍胶黏剂前,应进行清除。
6.3.7两层胶黏剂涂刷间隔时间以胶膜干燥程度为准,干燥时间仅供参考。实际干燥时间应根据 施工现场实际条件掌握。
6.3.8设备表面平整度、圆角过渡及对焊缝的要求,在设备制造厂出厂前应进行检查验收,质量应 予以保证。釆用胶条填塞仅仅是一种弥补的辅助方法。
6.3.9设备的贴衬方法,最常用的是热烙法、热贴法和压滚滚压法。后两种方法由于工具简单、效 率高,施工条件较好而被推广,其缺点是劳动强度大,仅在环境温度达到20 °C以上时,质量才有所 保证。
6.3.10为确保质量,采用热贴法和压滚滚压法贴衬后的衬胶制品一般均采用恒压法硫化。
6.3.11^6.3.13胶板贴衬和压实过程中,由中间向两侧推展和滚(刮)压是为了将黏合面间的空气 顺利排除。刮板压实法在橡胶衬里施工中已得到广泛的应用。刮板一般采用厚5 mm、宽30 mm的 电木板(或同等硬度、强度的塑料板)制成,一端磨成圆弧,另一端磨成30°的斜角,操作时用手握住刮 板,用斜角端的平刃与胶面成60°左右夹角均匀用力刮压(图4),每次重合1/3〜1/2。
刮板压实法的优点是胶面受力均匀,刮出的胶面平展,能较好地排除黏合面间的空气。尤其适 用于槽罐类或直径800 mm以上的管道衬胶。
在常压或正压条件下,采用挂线排气法虽便于施工,但在线绳里总是有微隙的,这给衬胶设备带 来隐患。近年来,随着衬胶技术的普遍提高和对衬胶质量要求的不断提高,挂线排气法已被淘汰。
6.3.14贴衬密封法兰的胶板应是整块,不得对接、不得有沟槽,应贴衬平整、黏结牢固,才能起到密 封、耐用的作用。
6.3.15本体硫化设备的法兰衬胶,先采用与设备衬里相同的硫化过的胶板,按要求下料,涂凉好胶 黏剂后,贴衬在对应的法兰上,当全部压合密实后,再将法兰管内翻出来的未硫化胶板贴衬在法兰面 上已硫化胶板的坡口上,并压实、平展圆滑(图5),可保证硫化时密封垫与胶面压合严密、硫化后光滑 平整,搭接处结合严密。多年实践证明,这种翻边搭接质量是可靠的。
(a) (b)
1 刮板;2 胶板 1 已硫化的胶板;2 未硫化胶板;3 设备的法兰
图4刮板操作示意图 图5法兰衬里
6.3.17小口径管道衬里采用预制胶筒法。胶筒的直径宜为:当管道公称直径小于100 mm时,胶 筒外径宜小于钢管内径2 mm〜4 mm;当管道公称直径为125 mm〜150 mm时,胶筒外径宜小于钢 管内径4 mm〜6 mm;当管道公称直径为200 mm~300 mm时,胶筒外径宜小于钢管内径6 mm〜 8 mm。若胶筒直径偏大,送入钢管后易起褶;若胶筒直径偏小,贴衬时易将胶板拉薄,局部厚度不足。 6.3.18〜6.3.19中间检查是衬胶过程中极其重要的一道工序,应把好质量关,认真进行三检。“三 检”即:检查贴合面是否有空气;检查搭接缝是否有翘边、离层、毛刺,搭接宽度是否不足;检查胶面是 否有深度大于0. 5 mm的气泡、伤痕和嵌杂物。在中间检查中发现的质量问题,应按要求及时进行 处理,以保证产品质量。
胶层气泡修补时,面层修补块尺寸应比底层修补块外径大50 mm~60 mm(图6) O
6.3.21硫化罐硫化应严格按照胶板生产厂家提供的硫化条件进行。设备、管道、管件未进硫化罐 前,应对硫化罐的仪表、阀门、密封件进行仔细检查,确认无误后方可使用。
设备、管道及管件进入硫化罐后,关闭排气阀,先用冷空气加压到0.25 MPa〜0.3 MPa之后,再 按生产厂家提供的硫化条件逐步打开压力蒸汽阀门,逐步升温,逐步加压至恒温,同时应注意及时排 水排汽,直至硫化全过程完成。
待硫化罐内的温度压力降至常温常压后,方可打开罐门,检查衬里硬度是否合格。确认已达到 硫化要求后,方可小心出罐,且不得碰坏法兰胶面或任何一处衬里。
6.3. 22本体硫化前应检查蒸汽管道是否工作正常,气源是否充足;气压是否符合要求,能否连续稳 定供气。应防止压力波动,避免产生负压,导致胶层脱落或鼓泡。本体硫化的法兰盲板应有足够的 强度。法兰盲板密封垫的厚度应大于衬里层的厚度(图7)。
1——上层修补块;2——底层修补块
1——盲板;2——橡胶密封垫;3——接管或人孔;
4--钢垫;5--衬胶层
图7密封垫安装位置
¢, +(50 mm~60 mm)
图6加热硫化橡胶衬里的修补
环境温度小于15 °C时,本体硫化设备应作外保温,特别是做好对人孔或外接管等凸出部位的外
保温。否则,会发生严重欠硫。
本体加压蒸汽硫化和硫化罐硫化基本相同,但仪器仪表应齐全,除各种阀门外,应根据设备衬里 面积的大小配备表1中所列仪器仪表。
表1本体硫化仪器配备
|
仪器、仪表名称 |
衬里面积 | |
|
<60 m2 |
≥60 m2 | |
|
蒸汽压力表/块 |
2 |
3 |
|
传感温度表/块 |
1 |
2 |
|
温度自动记录仪/套 |
1 |
1 |
衬里面积在60 m2以上的设备,为确保设备内温度均匀、监控准确,高压蒸汽进口和压力表、传 感温度表应分布在设备顶部和侧下部。但蒸汽管口不得直对设备内的某个部位,以防过硫。排汽出 水口,应装在设备最低的法兰盲板上,以免设备内积水,造成欠硫。
硫化时应严格按胶板生产厂家提供的硫化曲线,准确控制硫化条件。
6. 3. 23热水硫化或常压蒸汽硫化时应注意下列事项:
1热水硫化应有足够的冷水和高压蒸汽供给系统,进排水和供汽阀门应经检查并确认合格。 无盖设备可设置临时顶盖或临时过渡段。
硫化时至少应有两个温度计:一可相互验证,二可防止工作期间因其中一个损坏而致温度失去 监控。热水硫化温度应控制在95 OC-IOo OCo
硫化时间终止,当温度降至40 °C以下时,关闭进水阀,打开排水阀,使水位逐步下降。当降至一 定高度,便于检测衬里硬度时,应停止放水,进行硬度检测。
如果检查认定硬度不够时,应立即注水升温,并计算出尚需恒温硫化时间。终止时再降温、排 水、复查,直至认定合格为止。
2常压蒸汽硫化前应确认有足够的蒸汽供应气源,且阀门调控性能可靠;蒸汽供给方法和供汽 管件结构合理;监测用传感温度表数量及安放位置合理;设备外保温层性能可靠;与设备同时硫化的 同胶种的试件数量及放置部位合理、安全,方可通汽硫化。预定硫化时间到达后,应先取出同时放进 设备内的试件,并经冷却,检测认定合格后,方可停止硫化。
拆除硫化管道管件时,应注意拿稳轻放,不得碰坏硫化设备衬里的任何一个部位。
硫化终止时除硫化罐硫化以直接测定衬里层硬度来确认外,其余的硫化方式均可以测定其与设 备一起硫化的试件(挂片)的硬度来确定。考虑到挂片两面受热,而设备壳体衬里一面受热,根据经 验,当挂片的硬度值比规定值高出邵氏3度时,设备衬里胶层正好达到正硫化点。
6.4自然硫化橡胶衬里施工
6.4.1自然硫化橡胶的衬里施工,因具有在常温下进行自然硫化特点,无须考虑衬里设备在硫化时 对压力蒸汽的承受能力,从而适合于大型非受压设备的大面积施工。
6.4.3冷藏胶板在解冻和预热后,会产生收缩,故下料应在胶板解冻和预热之后进行。
6.4.4电热切割法操作方便,效率高,已被广泛采用。但为避免胶板分解或硫化,电热温度应控制 在 170 °C 〜210 OCo
胶板削边应平直,宽窄一致,边角不应大于30°,如图8所示。
图8胶板削边
6.4.7底涂料和胶黏剂的黏度关系到刷胶的质量和胶膜的厚度等,故当制造厂有要求时,应逐桶测 量、调配,使之符合要求。
6.4.8〜6.4.11涂刷间隔时间以触指不粘为限。干燥速度与环境温度和相对湿度有关。当环境温 度在10 °C〜15°C时,L5h可干;20 °C以上时,0. 5 h〜Ih可干。末遍的胶黏剂的胶膜干至微粘手指 但不起丝时,进行胶板贴合。为了确保接缝处的黏结质量,在衬胶过程中应用经甲苯稀释后的胶黏 剂涂刷接缝处的胶板2遍。
胶黏剂的中间涂料可使用经稀释后的底涂料。
6.4.13〜6.4.14压滚分大、中、小3种规格。大、中型压滚适用板面的压合,小型压滚适用于拐角、 接缝的压合。使用刮板压合时,刮板有坡口的直边,用来压板面,有圆弧的一端,用来压合拐角和 接缝。
6.4.16衬胶作业每个阶段结束后对胶层的检查(即中间检查),是消除隐患、确保衬胶质量的重要 环节,同时也是培养施工人员的责任感,加强施工人员质量观念的有力措施。
6. 4.19在贴衬作业同步条件相同情况下制作的试块,应妥善放在罐内,不得放在阳光下暴晒。拆 除罐内架杆、架板时,应事先移走,不得碰撞胶面。
6.5预硫化橡胶衬里施工
6. 5.1〜6. 5. 3黏合强度试验的目的是试验胶板和胶黏剂的黏合强度是否符合规定;贴合工艺试验 的目的是评定贴合的综合性能,应选择贴衬应力最大的部位,如人孔、接管、设备的拐角等部位。工 艺试验前,从排料到下料,贴衬的程序应编制一个合理的方案,然后进行工艺试验。贴衬工作正常, 未出现鼓起、离层等异常现象,即认为试验合格。
6.5.4当施工环境的相对湿度大于75%时,应釆用热风机和除湿机升温除湿,以防止金属表面返锈 或因潮湿而影响胶黏剂的黏结力。
6.5.5由于预硫化胶板本身的特点,在排料时应充分考虑到减少贴衬应力。下料应准确,稍有差 错,则由于胶板弹性大,不能依靠拉长胶板或塑性变形来弥补,势必造成接缝欠搭或过搭。为可靠起 见,对球形或椭圆形、锥形等部位,胶板在涂刷胶黏剂前,可先进行试排后再做出修整,直到合适为 止。特别是异形部位,应先放样后下料。由于预硫化胶板没有塑性,在接缝压合过程中不会像未硫 化胶板一样产生塑性变形,做到严丝合缝,故对坡口制作的要求较高,应做到坡口平直、宽窄一致、接 缝的上下坡口应搭接合适。
6.5.6预硫化胶板黏结性能较差,在刷胶黏剂前,要求用稀释剂清洗表面,使其微溶解后,用钢丝刷 将表面刷毛,再刷第一遍黏结剂,以提高黏结力。也有在涂刷首遍胶黏剂后立刻用钢丝刷刷毛,这样 会使黏结力更强些。
根据经验在基体表面或胶板面上涂刷胶黏剂后,一般情况下Ih〜2 h才能达到触指干。在基体 表面上涂刷第二遍胶黏剂时,个别情况下发现有将下层胶膜咬起的情况,为此应控制操作方法和凉 干时间,具体可由现场试验确定。
6.5.7第二遍胶黏剂涂刷后,晾胶时间不易过长,一般宜为涂刷后15 min-20 minO干燥程度至微 粘手指为宜,干燥时间应视环境温度和湿度情况而定,宜为10 min〜20 minO干燥时间过长,黏结强 度明显下降。涂刷第二遍胶黏剂后的凉胶场所应干净,并应防止太阳直射。
6.6质量检查
6.6.2调研中用户反映,处于真空或受压状态的设备、管道或设计温度高于60 °C的衬胶制品,当胶 层起泡或有脱层时,在使用过程中缺陷会扩大,直至破裂,严重影响使用,故不允许存在。
6.6.4衬里层的针孔检查,目前国内和国外通常使用电火花检测仪检查。检测时,应符合现行国家 标准GB 18241. 1-2014《橡胶衬里 第1部分:设备防腐衬里》附录A的有关规定。
胶板潮湿有水或不洁,会降低胶板的耐压性能,容易被高压电击穿,故胶板表面应清洁、干燥。 探头在胶层上停留时间太长,会使局部胶板变质,被电击穿,故探头不得在胶层上停留,一般应以 50 mm∕s~100 mm/s的速度快速通过衬里层表面,以防止击穿胶层。
6.6.6 在施工现场测量橡胶硬度,采用可携带式的A型邵氏硬度计,按现行国家标准 GB/T 531. 1-2008《硫化橡胶或热塑性橡胶压入硬度试验方法 第1部分:邵氏硬度计法(邵尔硬 度)》的有关规定进行软橡胶的硬度测量;采用D型邵氏硬度计,按现行国家标准GB/T 2411-2008 《塑料和硬橡胶 使用硬度计测定压痕硬度(邵氏硬度)》的有关规定进行半硬胶和硬胶的硬度测量。
从国内实际情况出发,结合施工实践,同时参考国外标准,规定了衬胶制品硬度检测点数。对于 ・107・
硫化罐硫化的衬胶制品,由于硫化条件好,同一罐硬度比较一致,所以每罐取5点后,取其算术平均 值即代表该罐硫化后胶层的硬度;对于本体硫化设备或热水硫化设备,由于硫化时各部分温度不一 致,硫化程度也不尽相同,应选择有代表性的衬胶面进行硬度测量,每处测量点3个以上,其算术平 均值应符合胶板制造厂提供的硬度值范围。
当衬里层或试板的厚度不足时,可在硬度测量处加贴圆片。圆片材料应与被测量胶板牌号相 同,直径不应小于30 mm,厚度不应小于2 mm,粘贴位置应由施工单位和建设单位共同协商,并应在 硫化前完成贴合工作。
环境温度对硬度值的影响较大,按要求应在标准温度(23 °C+2 OC)下测量,但因现场条件不满 足,所以胶板制造厂应提供在不同温度下与在标准温度下硬度值的对照表,以便在环境温度下测得 硬度后进行换算。
7.1 一般规定
7.1.1纤维增强塑料衬里用树脂主要包括:环氧树脂、乙烯基酯树脂、不饱和聚酯树脂、咲喃树脂和 酚醛树脂等热固性树脂;纤维主要包括玻璃纤维布、毡、有机纤维及其织物等。
7.1.2〜7.1.3以各种树脂为黏结剂,其黏度受施工环境温度的影响比较大,为了满足性能要求和 施工质量,故对施工的环境温度作了规定。为了保证施工安全,各种树脂不得用明火或蒸汽直接加 热;施工时,原材料的使用温度,被铺贴的设备、管道及管件的表面温度,均不应低于允许的施工环境 温度。
在施工现场应根据各种树脂材料的特性,采取相应的保护措施,在施工与养护期间,确保工程正 常进行。
树脂类防腐蚀衬里工程施工和养护的过程,实际上是树脂及制成品不断从液态向固态转化的过 程。水的存在会影响未固化完全的树脂及制成品的质量,而暴晒会使树脂及其制成品的固化速度加 快,温差变化大,收缩应力集中释放,容易产生开裂、起壳现象。
7.1.4咲喃树脂或酚醛树脂采用的是酸性固化剂,故在施工前,应釆用不使用酸性固化剂的树脂材 料做隔离层,再进行施工。目前,环氧树脂湿固化剂已解决了树脂在潮湿基层上的推广应用,其他树 脂尚未解决湿固化问题,故釆用树脂类材料用于潮湿基层时,应选用湿固化的环氧树脂胶料打底,以 增加与基层的结合力。
7.1.6树脂材料的固化速度与环境温度、湿度及固化剂用量有关。当环境温度较高而湿度较低时, 可适当降低固化剂的用量,反之则应加大固化剂的用量。因此,施工前应视现场实际情况试配。
树脂及其制成品固化性能的好坏,是决定树脂类防腐蚀工程施工质量好坏的关键。施工前应进 行简单而便捷的材料固化试验。固化正常的标志是优良的固化质量和适当的固化速度,而影响固化 的主要因素是施工环境和材料的施工配合比。当上述因素变化时,施工中应随时进行固化试验,以 调整施工配合比或改进施工环境状况。
7.2原材料及制成品的质量要求
7. 2.4〜7. 2. 6规定了纤维增强塑料树脂类原材料和制成品的技术要求,是保证纤维增强塑料衬里 质量的重要依据。表7.2.6的数据是根据多年现场经验确定的。
7.3胶料的配制
7.3.1〜7.3.3本规范中树脂纤维增强塑料的施工配合比,是结合工程实际应用经验,在原规范内 容的基础上进行了补充、修订而确定的。因材料质量差异,施工环境条件等因素时有变化,施工单位 在选用时,应通过现场固化实验来确定合适的施工配合比。
不同的树脂材料在配制过程中,具有不同的配制要求,故应按要求进行配制。
7.4施 工
7. 4.1采用手工糊制工艺施工,可分为间断法和连续法两种。一般情况下采用连续法施工。酚醛 树脂因为黏度大,黏结性较差,在固化过程中,会产生小分子和溶剂要挥发,因此酚醛树脂采用间断 法施工。
7. 4.2当底涂料未经24 h以上固化时,由于酚醛、咲喃树脂的酸性固化体系会使环氧底涂料长期 无法固化,即面层纤维增强塑料已固化,而底涂料仍然未干,故不能立即贴衬酚醛、咲喃树脂衬里。
在底涂料胶凝后,对设备的转角、焊缝及壳体的缺陷部位,采用腻子找平,并使转角部位圆弧过 渡。腻子釆用环氧配方或与第一层贴布胶料相适应。
7.4.3间断法衬里与连续法相比,有稍好的抗渗性能,衬里层的缺陷较少。铺衬工序应强调树脂胶 料应浸入到纤维增强材料中去,保证每一层纤维增强材料贴实,不产生气泡等缺陷。
7.4. 4连续法施工在立面铺衬纤维增强材料时,由于树脂自重及黏度小,往往造成树脂胶料流挂现 象,因此可在胶料中加入适量的耐蚀粉料或轻质二氧化硅(俗称气相白炭黑),以使胶料具有良好的 触变性能。一次连续铺衬层数太多或太厚,树脂初凝前可能会造成立面铺衬层下滑、平面铺衬层滑 移,且因树脂固化放热集中,其产生的收缩应力也大,容易造成纤维增强塑料脱层、起壳等质量问题, 故规定一次连续铺衬层数不宜超过3层。
7. 4. 6由于树脂品种、施工环境条件等存在不同,因此所需养护时间亦不同,同时养护温度的高低, 对制成品最终性能均有影响。一般以常温(15 °C〜30 °C)养护为宜。养护环境温度低于15 °C,应采 取措施,提高养护温度,延长养护时间。
7.5质量检查
7.5.3原材料制造和施工工艺水平在近年都取得了很大的进展,与原来相比有了很大的提高,所以 根据目前的施工水平制定本条文。
釆用电火花探测器检测微孔,不适用于以石墨粉为填料的纤维增强塑料衬里设备检查。
8.1 一般规定
8.1.1塑料衬里已经广泛应用于工业防腐蚀工程,除了聚氯乙烯、聚乙烯、聚丙烯等常见工程塑料 外,近几年氟塑料的使用也十分广泛。常用氟塑料的种类有聚四氟乙烯(PTFE).乙烯-四氟乙烯共 聚物(ETFE).聚偏氟乙烯(PVDF) O常用塑料的种类和用途见表2o
表2常用塑料的种类和用途
|
中文名称 |
聚四氟乙烯 |
乙烯-四氟 乙烯共聚物 |
聚偏氟乙烯 |
聚丙烯 |
聚乙烯 |
聚氯乙烯 |
|
英文缩写 |
PTFE |
ETFE |
PVDF |
PP |
PE |
PVC |
|
设备上用 |
O |
O |
O |
一 |
— |
O |
|
管道上用 |
O |
一 |
O |
O |
O |
O |
|
推荐耐温值/°C |
—20 〜200 |
—20〜140 |
—18 〜120 |
—14 〜IOo |
—20 〜85 |
—20 〜65 |
注:表中“O”为适用,“一"为不适用。
氟塑料具有高度的化学稳定性和耐高温、低温性能,耐腐蚀性强。其中聚四氟乙烯是最耐腐蚀 的材料之一,它耐老化性能好,是氟塑料中用量最大的一个品种,但聚四氟乙烯存在热胀冷缩比钢铁 大十多倍和冷流性等缺陷,通常釆用金属网聚四氟乙烯衬里,可以很好地解决这个问题。
聚氯乙烯价格低廉,具有较高的机械强度,焊接和成型性能良好,易于加工,且具有优异的耐腐 蚀性能,应用最广泛。
8.1.2环境温度低于15 °C时,软板开始发硬,不利于铺贴,且黏结剂也不易涂刷开。当环境温度低 于15 °C时,可采用加热设备内壁,用热气流局部预热软板的方法来提高操作温度,但加热温度不宜 太高,以防止软板焦化变质。
8.1. 6焊接质量是板材衬里设备的关键,如焊缝有漏点,腐蚀介质会通过该漏点渗到衬里与设备壁 之间的夹缝中,导致整个设备损坏及衬里脱落。为了保证焊接质量,应对焊工进行培训,并经考试 合格。
8.2原材料的质量要求
8.2.7由于塑料焊条目前还没有相应的国家和行业标准,施工中均采用与焊件材质相同并具有相 融性的材料制成。
・Ill・
8.3软聚氯乙烯板衬里施工
8.3.1软聚氯乙烯板衬里与设备壁固定的方法有两种:一种方法是用机械固定的方法,如空铺法和 压条螺栓固定法,是借助于扁钢箍或螺钉将软板固定;另一种方法如粘贴法,是通过黏结剂与设备固 定。空铺法和压条螺镣固定法的优点是金属表面预处理简单,操作条件较好,缺点是衬里层如有一 处渗漏就会造成整个设备壁的腐蚀,不能经受强烈的振动或搅动,黏结法的优点是下料较简单,软板 与设备贴合紧密,可承受一般的机械振动和搅动,缺点是对基层表面预处理的要求较高,操作条件 较差。
8.3.2为了方便操作和提高焊接质量,空铺法和压条螺栓固定法衬里宜先在设备外部进行预拼装 和焊接。软板下料时,应绘制衬里排版图,避免将料下错,并尽量减少焊缝,不宜釆用十字焊缝和在 焊缝上开口。
衬里工序为:对被衬设备的校核和检查f排版、软板下料f设备外预拼装和焊接f设备的内铺 衬、焊接f衬里检查。
8.3.3贴衬密封法兰的软板应是整块,不得对接、不得有沟槽,应贴衬平整、黏结牢固,才能起到密 封、耐用的作用。
8.3.4软聚氯乙烯塑料板采用黏结法时,设备可不开检漏孔。
8.3.5经过多年的经验积累和工程实践证明,软聚氯乙烯塑料板采用热风焊枪本体熔融加压焊接 工艺,其焊接的强度和严密性等均优于烙铁烫法,搭接宽度为20 mm〜25 mm时的焊接质量最好,使 用最可靠。
焊接时应采用分段预热法,将其焊道预热到发软时,立即进行焊接。每条焊缝应一次连续焊完, 接头处必须焊透。
本体熔融加压焊所需工机具:
1热风焊枪:电压220 V,功率大于500 Wo
2 气源:出口压力0. 1 MPa,气量3 m3∕minO
3调压变压器最在功率2 kW0
操作条件:
1焊嘴运动角度:焊嘴与焊道成30。〜35。夹角。
2 焊嘴静态出口温度:165 °C〜170 OCO
3 焊接速度:40Omm∕min〜50Omm/min。
4 焊嘴与软板距离2 mm~3 mmO
5焊枪焊接时,应边向前移动,边左右摆动,摆动频率为1次/s〜3次/s。当软板表面粘流大 时,用压轮滚碾实。碾压力与软板厚度和温度有关,板越厚,环境温度越低,碾压力越大。压碾锤头 用力应均匀一致,并紧随焊枪向前压碾,不得中断或延后。软板与介质接触的一面,焊道应均匀密 实,无鼓泡,挤出的浆料呈连续状。对挤出浆料的焊道应清理残渣,削去边缘棱角后再施焊。
8.3.6采用空铺法施工时,将软聚氯乙烯板平铺于设备内壁,搭接宽度为20 mm〜25 mm,并加热 成熔融状态后加压密实,翻边处应固定;衬里与钢壳体釆用扁钢加以固定(图9)o
8.3.7采用螺栓固定法时,螺钉按金属焊接工艺预焊于被衬金属表面,并成三角形布置(图10),其 ・112・
(a)空铺法衬里总图
(b)接管衬里
1--金属壳体;2 支撑扁钢;3 衬里软板
图9软聚氯乙烯空铺法衬里
立面行距M宜为400 mm,水平行距L宜为400 mm~500 mm;椭圆封头和锥体封头的立面行距M 宜为400 mm,水平行距L宜为900 mm;采用软聚氯乙烯塑料板对碳钢制的螺栓、压条、压板等加以 保护(图II)O
1--金属壳体;2--软板衬里;3--扁钢压条;4 固定螺栓
5——金属垫片与螺母紧固;6——软板焊缝
图10软聚氯乙烯压条螺钉固定法衬里
1--软聚氯乙烯防护帽;2--软聚氯乙烯衬里层;3 钢壳体
图11螺栓的保护
8.3.8软聚氯乙烯板衬里的粘贴法是通过黏结剂与设备内壁固定。黏结法衬里虽对基体表面处理 要求较高,操作条件较差,但其优点是下料较简单,软板与设备贴合紧密,可承受一般的机械振动和 搅动。
根据现场需要,也可将压条粘贴法与焊接法或螺栓固定法相结合。为使接缝严密可靠,黏结法 衬里的接缝和盖缝板可采用焊接;对于振动强烈或温差变化剧烈的场合,可采用黏结法结合螺栓固 定等。
软聚氯乙烯板黏结法衬里施工时,软板黏结面打毛是提高软板与设备之间黏结力的重要手段, 必须认真对待。
胶料的配比为氯丁胶黏剂比聚异氧酸酯为100: (7〜10),配制后的胶液应在2 h内用完。如超 过时间,则胶液变稠,影响操作,黏结力降低。
胶浆涂刷完毕后,应在避光、通风、无尘处干燥至手触不粘手时即进行现场贴衬,但不可过早地 贴衬,以免产生气泡。
清理黏结缝后,按焊接规定,视黏结缝质量情况,表面加焊。
8.4氟塑料衬里施工
8.4.1聚四氟乙烯具有高度的化学惰性与表面的光滑性,与其他材料或它自身直接黏结十分困难, 必须将其黏结面加以处理,处理方法是将其表面加一层复合玻璃纤维布制品过渡层或涂抹无水氨溶 液或钠-蔡络合物四氢咲喃溶液,再与设备基体釆用胶黏剂黏合。
8. 4.3因四氟乙烯-乙烯共聚物和聚偏氟乙烯流动性比聚四氟乙烯好,所以釆用热风焊。
热风焊接用焊机性能应符合下列规定:
焊条况mm,加热器功率1.3 kW,热风温度20 °C〜600 OCo
焊条厚2.5 mm,宽14 mm,加热器功率3 kW,热风温度20 °C〜600 °C,喷嘴特制。
8.4.4化工防腐制品的焊接应优先采用热压焊。热压焊是将两块塑料板在一定温度与一定压力 下,热压熔结在一起,其关键技术是如何使焊接面迅速而准确地达到所需的温度与压力。
板与板焊接:由于对接焊焊缝在焊接时很难夹住,即使夹住也不牢固,所以一般釆用搭接焊。但 搭接焊的聚四氟乙烯板不宜太厚,主要是因为焊缝处的两块板叠在一起对衬里翻边处的密封性能有 一定影响,可用于一些要求不严的衬里中。
焊接工艺主要是控制好温度、压力与时间3个条件。采用电热元件直接加热焊具,再由焊具把 热传给基材。直接测量焊接面的温度比较困难,常用的方法是将温度计插到靠近焊接件处的焊具 上,测量近似的温度,此温度需经多次试验才能得出。
焊接压力的大小对焊接质量影响较大,一般控制在1 MPa〜2 MPa为宜。但起始压力(加热前 的压力)不宜过高,以能保持焊具与基材之间全部达到良好接触为度。
8.4.5氟塑料板用粘贴法有两种工艺。一种是将内衬管外壁采用钠蔡络合物的四氢咲喃溶液处 理,然后用黏合剂涂抹于其表面和钢基体的内表面,衬好后,充气加压复合;另一种将内衬管外表面 加入一种能与黏合剂黏合的玻璃纤维物,然后用黏合剂使二者黏合,最后进行充气加压复合。
金属构件需复合内衬部位的内表面用有机溶剂清洗干净,除去油污和锈迹。
8.4.7现场氟塑料衬里施工一般采用松衬,即釆用缠绕管,推、挤压管等工艺做成外径比钢管内径 稍“小”的内衬管,“松"套进钢管内。松衬法的内衬管与钢壳之间贴得也很紧。
8.5管道塑料衬里施工
8.5.1管道塑料衬里在施工现场一般采用松衬法,在工厂内采用紧衬法,本规范仅适用于现场 施工。
8.5.2为了不损坏衬里材料,防止产生应力,法兰与壳体或法兰与钢管连接处转角应圆弧过渡。
8.5.3合理选择塑料管及与之配合的无缝钢管,要求塑料管的外径与钢管内径间隙不大于2 mmO
8.5.4塑料衬管长度应按钢管的长度加上所选用的法兰软垫厚度,以及塑料管有翻边的厚度之和。
8.6质量检查
8.6.1塑料衬里的外观质量检查时,特别注意检查翻边支管等关键部位,因为这些部位往往会出现 问题。碳化黑点主要是在加工成型时,部分灰尘等进入塑料里形成的,会影响产品的使用寿命,观测 时可用5倍放大镜进行观察。
8.6.2压力试验的目的是检测强度和密封情况。
8.6.3电火花检测的主要目的是检验衬里层的耐腐蚀性能和抗渗透性能。塑料衬里大多使用在腐 蚀性介质中,如水压检验已通过,表明强度和密封已经合格,但抗渗透性不一定合格,故应进行电火 花检测。
9.1 一般规定
9.1.1随着科技产品开发,施工技术及应用方法的迅速发展,防腐蚀涂料与涂装过程本身已经成为 门类繁多、品种齐全、装备复杂的专门技术,有力地推动着涂料工业的进步。从节能、环保、减排的角 度考虑,列入本规范的防腐蚀涂料品种有:环氧树脂类涂料、聚氨酯涂料、丙烯酸类涂料、高氯化聚乙 烯类涂料、有机硅耐热涂料、玻璃鳞片涂料、富锌类涂料、氟树脂涂料、聚硅氧烷涂料、醇酸树脂涂料、 酚醛树脂涂料,可基本满足现阶段工程应用。
9.1.2涂料供应商应针对自己的产品提供符合国家现行标准的涂料施工使用指南。其主要目的是 对涂料的涂装过程、质量检验过程提供指导与帮助。这既可以作为设计选材的主要参考依据,同时 也是正确施工的有效保证。
9.1.4在施工现场应首先保证基体表面温度高于露点3 °C以上。
9.1.7涂装施工过程中不得漏涂,更不得误涂。漏涂一般可以随时检查、发现,而误涂则一般不易 被人们察觉,为此,检查时除应检查是否漏涂外,还应检查是否误涂。
9.2原材料及制成品的质量要求
9.2.1〜9.2.12此条款为新增内容。主要明确了各种涂料及涂膜的质量及试验方法。
9.3 施 工
9.3.1涂料使用量可按本规范附录E进行计算,以方便施工。
9. 3. 3〜9. 3.4涂料涂装方法很多,施工时应根据涂料的性能、施工条件和被涂结构的形状进行选 择。明确提出了涂料涂装过程中的要求及涂装方法。
9.3.5〜9.3.15在原规范的基础上,增加了丙烯酸类涂料、高氯化聚乙烯类涂料、有机硅耐热涂料、 玻璃鳞片涂料、氟树脂涂料、聚硅氧烷涂料、醇酸树脂涂料的涂装要求。
9.4质量检查
9.4.3涂层针孔采用高电压火花仪检查针孔的精确度高,但易造成涂层受损,而釆用低电压漏涂检 测仪虽不会导致涂层受损,但检查针孔误差大。因此,在选用高电压火花仪时,应考虑涂层总厚度和 涂层的绝缘性,以选择合适的测量电压。对于检查出的针孔缺陷应按要求及时进行修补。
10.1 一般规定
10.1.1玻璃鳞片衬里防腐工程所列3种材料目前在国内已经有十多年的成功应用历史。由于胶 泥中的玻璃鳞片上下交错排列,形成了独特的屏蔽结构,具有下列特点:
1优良的抗介质渗透性和耐磨损性。
2硬化时收缩率小,热膨胀系数小,耐温度急变性好。
玻璃鳞片衬里适用于下列碳钢设备和管道的防腐蚀工程:烟气脱硫系统;烟道、吸收塔、烟囱;化 工贮槽、贮罐、塔器及管道;废气、废水处理设备、风机叶片;石油、海水输送管道;与同类树脂的玻璃 纤维增强塑料复合使用。
目前工程应用中,以乙烯基酯树脂鳞片衬里(VEGF型)类占大多数,尤其在国内燃煤电厂FGD 系统中的碳钢烟道、脱硫塔、烟囱中得到大量应用。
10.1.3施工环境湿度、温度及其变化对树脂的固化质量有直接影响。环境温度太低,树脂固化速 度较慢,甚至不固化;环境温度太高,树脂固化速度太快,施工不易控制。根据施工经验,一般在 5 °C〜30 °C施工环境温度范围内,施工质量可以保证。
相对湿度大于80%时,会减缓树脂胶料的固化速度,影响衬里质量。
10.1.4玻璃纤维布(毡)、粉料等在现场储存堆放过程中,如不注意防潮,则含水率过高对树脂的固 化和制成品质量带来影响,甚至造成树脂不固化。
10.1.5对衬里施工前的基体表面提出了要求。表面油污、油脂及其他非锈污染物的存在会影响衬 里与基体的附着力,衬里施工完成后,任何碳钢面与内外支撑件之间的焊接、钏接、螺栓连接都将破 坏衬里层的完整性,衬里侧焊缝、焊瘤、弧坑、焊渣等瑕疵都将影响衬里的施工质量。
10.2原材料及制成品的质量要求
10. 2.6^10. 2.7三类玻璃鳞片混合料(指未固化的)和制成品(指固化物)的质量,主要依据现行行 业标准HG/T 3797—2006《玻璃鳞片衬里胶泥》和近年来国内研究试验和工程应用经验的总结而 确定。
10.3 施 工
10.3.1处理好的基面,应在返锈前做完底涂料施工。底涂料在不同温度下的涂装时间间隔是根据 树脂的固化特点来确定的,这是确保层与层之间具有优良附着力的重要措施。
10.3.2玻璃鳞片胶泥的配制采用专用真空搅拌混料设备,主要是防止空气混入胶泥中,有效消除 配料中的气泡,保证衬里质量。
10.3.3 玻璃鳞片胶泥的单向刮抹施工,易使衬里表面不平整,通过滚压作业可使胶泥层光滑、平 整、均匀。树脂玻璃鳞片胶泥涂抹后,在初凝前,应用沾有适量配套稀释剂的羊毛辐往复滚压至胶泥 层光滑均匀为止。
衬里层间界面及端面处理的好坏,直接影响防腐施工界面的黏结强度,从而影响施工质量及衬 层寿命。同一层面涂抹的端部界面连接,不得采用对接方式,应采用斜槎搭接方式(图12)。
/衬里搭接缝
丨 ∖xf T
__ 50 mm
图12搭接结构
玻璃鳞片胶泥施工时,两层胶泥料涂抹方向应互相垂直,主要是为了防止漏涂或涂抹不均匀。
10.3.4纤维增强塑料所用树脂与玻璃鳞片胶泥所用树脂相同,以避免不同树脂之间的层间附着力 受影响。玻璃布增强后端部的玻璃纤维毛刺由于胶液浸渍固化而呈坚硬的毛刺或翘边,妨碍面漆的 涂刷与及时对玻璃布端部的封闭,因此应打磨平整。
10.3.5由于颜料、粉料中,某些微量的金属可能会对不饱和聚酯树脂和乙烯基酯树脂的引发剂或 促进剂产生阻聚作用,故在最上一层应用含有苯乙烯石蜡液的树脂胶料封面。
10.3.6由于树脂品种、施工环境条件的不同,养护时间和养护温度对制成品最终性能均有影响,故 所需养护时间和养护温度亦不同。
10.4质量检查
10.4.2^10.4.5规定了衬里层质量检查的具体方法,从涂层表面固化程度、硬度、针孔检查和厚度 等几方面来把关。
11.1 一般规定
11.1.1本规范选择现场施工中常用的火焰喷涂、电弧喷涂两种工艺,在设备、管道或金属结构表面 制备Zn、Al、ZnA115、AlMg5 4种防腐蚀涂层。
11.1.4施工前应全面对在用或新购置的热喷涂设备进行检查和试验。检查试验的系统应包括: 氧-乙焕热源和电弧电源供给系统、雾化气输入系统、线材输送系统、喷嘴系统、仪表监视和操作调控 系统及与设备连接的气路、电路系统。试验状态下,各系统的技术参数、性能、喷涂工作的稳定性等 应符合现行国家标准GB/T 20019—2005《热喷涂 热喷涂设备的验收检查》的有关规定。
11.1.5钢材表面粗糙度的检查可釆用参比样板进行,应注意以下要点:
1表面粗糙度参比样板应经相同工艺处理,并通过专用仪器检测;样板件数应为4件,其RZ值 分别为 40 ptm、63 Vm、80 Rm、IOo μm0
2表面粗糙度的检查应有良好的光线;目视检查宜与触觉检查结合进行(用手触摸、用细铁丝 划);参比样板应按涂层的设计厚度选取;被检查表面的粗糙度以符合表11. 1.5的最小值/最大值为 合格。
11.2原材料的质量要求
11.2.3 表11.2.3直接引用了 GB/T 12608—2003 «热喷涂 火焰和电弧喷涂用线材、棒材和芯 材 分类和供货技术条件》中表11的规定。
11.3 施 工
11.3.2为了获得满足使用要求的涂层,应结合其使用工况条件及各种涂层材料的成分、性能、工艺 特点、涂层性能及施工环境等综合考虑,经试喷涂确定适宜的喷涂工艺后,方可进行喷涂作业。
11. 3. 3〜11. 3.4规定了火焰喷涂和电弧喷涂在工程施工应用中的工艺参数。
线材火焰喷涂工艺大多采用氧-乙焕热源,使用射吸式气体喷枪和©2. Omm〜3.0 mm线材。
电弧喷涂工艺使用封闭雾化式电弧喷枪及其配套的电弧电源,常用线材规格为M.60 mm〜
2. 0 mmo
当采用不同热源和不同设备,以及不同直径的线材时,其工艺参数应作调整。
11.3.9对构造复杂的局部表面、喷涂空间受限的部位、厚壁与薄壁材料的结合处等,这些部位或局 部表面难以采用正常的喷涂参数进行施工,常易出现涂层严重缺陷引起返工,而一旦返工,将会影响 更大的范围。因此,难喷涂部位应先喷涂,完工后再进行大面积的展开施工。
11.3.12对裸涂层进行刷光处理,可封闭涂层的部分孔隙。进行刷光处理时,应做纵横两次刷光, 且应轻刷,不得造成涂层损伤。
11.4质量检查
11.4.2涂层厚度检验包括局部厚度检验和平均厚度检验,常用方法有磁性法、涡流法、X射线荧光 测厚法、B射线反向散射法、光学显微镜法及能谱法。磁性法因简便而为现场广泛釆用。
局部厚度是在基准面上进行规定次数厚度测量所得涂层厚度的平均值;最小局部厚度是各局部 厚度中的最小值。GB/T 9793—2012《热喷涂 金属和其他无机覆盖层 锌、铝及其合金》规定:“金 属喷涂层厚度由其最小局部厚度确定。”故最小局部厚度不应小于设计规定值。
12.1 一般规定
12.1.1铅衬里工程包括钢制化工设备、管道的衬铅和搪铅施工。衬铅主要用于稀硫酸和硫酸盐介 质,适用于常压或压力不高、温度较低和静载负荷作用下工作的设备;搪铅的耐腐蚀性能同衬铅,适 用于真空、振动、较高温度和传热等设备。但由于搪铅的施工条件较差,且施工时有大量的有毒铅蒸 汽放出,一般较少采用。
12.1.2铅板焊接的热源一般采用氢氧焰,且焊接时采用中性焰。在焊接厚度大于8 mm的平缝 时,采用氧-乙焕焰可以提高焊接速度。
搪铅常用的热源是氧-乙焕焰。
氢氧气配合比为时得到中性焰,氧气和乙焕气配合比为5:2时得到中性焰。
12.2原材料的质量要求
12.2.2铅焊条的质量直接影响焊接质量。铅焊时,熔铅的流动性大,加入焊条的速度应准确迅速。 焊条材质应与焊件材质相同;焊条表面应干净;焊条最好是圆形或近似圆形,直径均匀。
一般铅焊的焊条多数由焊工自制。铅焊条自制方法通常釆用钢模浇注或把铅板剪成正方形条。 使用前应把焊条表面的氧化铅膜刮净。
12. 2.4搪铅用的典型焊剂有氯化锌(ZnCl2)和氯化亚锡(SnCl2)两种水溶液。表中所列4种配方 中以第1种和第2种最为常用。第1种搪铅效果好,但搪铅时有刺激性较大的烟雾发生,其焊剂也 容易成黏液状附在搪道上不易清除;第2种结合情况也较好,但烟雾显著减小,对搪铅的劳动条件有 很大的改善。
配制时应注意以下几点:焊剂所用的氯化锌(ZnCI2)、氯化锡(SnCl4)和氯化亚锡(SnCl2)的纯度 应在98%以上;所用的水应该是纯净的,最好是蒸倒水。配制时,加热到50 °C〜80 °C,以利于焊药 的溶解;盛装和配制的器具应清洁,可用搪瓷、玻璃、塑料和铅材质的器具;称量应准确。
12.3衬铅施工
12.3.1在设备壳体底部设置检漏孔主要是作为铅衬里的试漏。
12.3.2搪钉固定法的优点是不损坏设备壳体,保证了壳体的严密性;缺点是若施工质量不好时,会 发生搪钉脱落现象。搪钉的形状一般为正方形或圆形,正方形边长为80 mm〜100 mm,圆形直径为 80 mm左右,其高度应高出衬铅板3 mm〜5 mm;各固定点间距为250 mm〜900 mm为宜,呈等边三 角形排列(图13)o
搪完后再挂衬铅板,挂衬完铅板需拍打铅板,使之与壳体贴靠,这时搪钉的部分即突起,将覆盖 搪钉的铅板割掉露出搪钉,然后将铅板与搪钉边缘焊接即可。
悬挂固定法适用于砖板衬里中以衬铅层为底层的铅衬里结构,设备上部结构为敞口式或分段组 装的可拆卸式,并设有法兰(图14)。衬铅板在法兰表面翻边固定,而后使衬铅板悬挂于壳体内壁并 紧贴壳体,并对所有焊缝进行焊接,使铅板形成一个整体的铅衬里层。
1——设备本体;2——衬铅板;3——搪钉 1——设备本体;2——衬铅层;3一块材衬里
图13搪钉固定法 图14悬挂固定法
压板(条)固定法(图15和图16)具有不损坏设备本体、施工较方便、施工质量容易保证等特点。 铅衬里上方孔之间的距离随实际而定,一般为300 mm〜500 mmO压板(条)是由碳钢制作的,规格 一般为长300 mm~500 mm、宽度为50 mm,厚度为3 mm左右。压板(条)的数量和分布位置随设备 大小、衬里面积、铅板厚薄及使用条件而定。铅覆盖板的材质及厚度应与衬铅板的材质及厚度相同。 一般情况下,铅覆盖板的形状与钢制压板(条)的形状类似,铅覆盖板的边缘蒙盖伸出量不小于 20 mm o
压板与设备 本体焊接
UnUOOs〜UnU OOs
1--设备本体;2--铅衬层;3--钢压板;4--铅盖板
图15压板固定法
1--设备本体;2--衬铅板;3--钢压条;4--铅防护条
图16压条固定法
3 mm以下的铅板处于设备转角处的焊缝应采用搭接(图17),其搭接宽度一般为30 mm〜 40 mm。设备接管及人孔铅板衬里应釆用搭接(图18),搭接方向应与介质流向一致。
12. 3. 3〜12. 3.4铅衬里的质量优劣,关键在于铅板质量和焊接质量,而焊接质量取决于铅板的组
30 mm〜40 mm
1--设备本体;2--衬铅板
图17设备转角处连接形式
1 2
(b)设备下部垂直接管
1——设备孔;2——孔衬铅板;3——衬铅板;4——焊缝 图18设备接管及人孔衬里及焊接
对是否妥善,焊缝的多少及位置是否合理。因此在下料和组对时,应注意以下要点:
1可在设备外面组焊的应预先焊好,以使铅板面积尽量增大,从而减少焊缝的数量,也考虑挂 铅板时的困难。
2挂铅板时应将焊缝组对到有利于施焊的位置上,以免施焊者看不到或焊炬施展不开。
3除较厚铅板外,一般衬里均应采用搭接形式,尽量避免对接形式。
4搭接焊缝也应尽量组对成易施焊的形式。
5各种衬铅结构应尽量避免仰焊。
点焊分为长线点焊和短线点焊,单层点焊和多层点焊。长线点焊适用于大型管件及受力较大的 焊缝;短线点焊适用于小型管件及一般焊缝;不加焊条的单层点焊用于较薄铅件或组对。
12.3.5焊接坡口和焊接环境应保持清洁。由于铅表面容易氧化,生成氧化膜,随着温度的升高,氧 化膜生成的速度会加快。氧化铅的熔点比铅高,相对密度较铅小,为防止形成夹渣或隔离层,强调边 刮边焊,不得放置。多层焊时,下层焊道表面的氧化膜也应刮去。
12.4搪铅施工
12. 4. 2直接搪铅是在脱脂和除锈完毕的被搪表面上搪铅;间接搪铅是在已经处理好的被搪表面 上,先挂一层锡,再把铅搪在锡层上。
12.4.3直接搪铅操作过程中应注意几点:
1搪铅时需要在水平面的位置上进行,倾斜会显著降低搪铅速度。一般不宜超过30°角,否则 搪铅温度太高,熔池尚未冷凝就会沿着坡度迅速流走,而温度过低又黏结不好。
2搪完第一层铅后,用清水刷净附在表面上的焊剂,并用刮刀将表面刮光,然后采用同样方法, 一层层地搪至所需要的厚度。特别注意不得再涂焊剂,以免焊剂中的锌和锡混入搪铅层中,影响其 耐腐蚀性能。搪完最后一层铅,应再用火焰跑一遍,使其平整并消除缺陷。火焰再跑一遍能使表面 铅层熔化,铅层中若有气孔可被堵死,夹渣也可以漂浮起来,并能消除一些缺陷。
12. 4. 4间接搪铅挂锡常用的方法有两种:锅内挂锡和加热涂锡。
锅内挂锡具有省锡、速度快的特点,但只适合于较小的工件。
工件搪铅温度控制在190 °C〜230 °C,温度不能再高,火焰不能对着工件表面,而是用余火对工 件加温。火焰应先烧熔焊条,使之滴落在被搪表面,靠火焰吹动,使熔铅淌开与锡层结合。
12.5质量检查
12.5.1若对焊缝质量有明显怀疑时,可对焊缝做剖割检查。由于铅很软,机械剖割容易将缺陷混 淆,难以辨别,所以常用火焰烧削法进行检查。剖割检查属破坏检查,检查后,需将被破坏处重新 衬好。
返修焊缝缺陷处时,应置换合格,方可动火施焊。
12.5.2搪铅层做剖割检查时,在搪铅表面选定2处〜3处,用扁铲将搪铅层铲掉一部分,检查黏结 情况和搪铅层厚度;也可采用钻孔的方法检查黏结和厚度情况。剖割检查属破坏检查,检查后,需将 被破坏处重新搪好。
采用超声波探伤仪检查时,探头应在搪铅层背面移动。若黏结良好,其示波器中显示波形是均 匀的;若黏结不好,则波形是杂乱的。
13.1 一般规定
13.1.1喷涂聚脈技术是国外近十年来,为适应环保需求而研制开发的一种新型施工技术,现已广 泛用于管道设备防腐蚀衬里,所以本规范增加喷涂聚脉防护层。
喷涂聚脈是一种运用注射反应(RlM)技术原理,釆用双组分体积比(1:1)高压输送设备,釆用无 溶剂聚氨酯原料开发的一种快速成膜专用喷涂涂装技术。
13.1.2喷涂聚脉与底涂层间黏合剂、修补料和保护面漆涂层应具有良好的相容性和黏结性能,因 生产企业的产品有差异性,而聚脈施工有特殊性,为保证施工工程质量,配套材料宜使用聚脈生产企 业推荐的产品。
13.1.3施工环境温度过低和空气相对湿度过大,则空气中的水很容易凝结在基层表面,严重降低 涂层附着力。另外,因喷涂到基层表面的物料本身温度较高,加上交联反应放热,容易将水分汽化, 进而在快速成型的聚脉涂层中形成针孔和孔洞等缺陷。
喷涂时风速过大则不易操作,物料四处飞扬,难以形成均匀的涂层,故对施工时的风速做出了明 确规定。
13.1.5喷涂聚脉的施工专业性强,要求一次成型,且不宜修补。因此正式喷涂前,应由现场技术主 管对设备控制工艺参数进行试喷确定,涂膜性能和施工状态达到要求后,才能固化设备参数,进行正 式喷涂。在喷涂过程中若出现温湿度、风力、基面环境等发生较大变化时,应适时调整设备控制参 数,以确保涂膜层质量。
13.2原材料及制成品的质量要求
13. 2.1明确提出了聚脈面层涂料和修补料原材料的质量应符合现行行业标准HG/T 20273— 2011《喷涂型聚脈防护材料涂装工程技术规范》的有关规定。
13.3 施 工
13.3.1喷涂型聚脈涂层衬里施工的金属基面不得有焊渣,焊缝不得有点焊空隙。喷砂处理后应彻 底清扫干净表面浮灰,否则喷涂后易造成涂层的麻点。除锈面积较大,尤其是在高湿环境下,不能及 时在规定时间内进行底漆涂装作业时,会造成大面积的返锈,从而降低涂层附着力。
13.3.5当发现涂层有鼓泡、脱层缺陷时,则需要对涂层缺陷进行修补。鼓泡处釆用刮刀切除原防 腐层,再用角磨机打磨并向外扩展5 mm〜20 mm,涂刷层间黏合剂或底涂处理剂,最后采用专用修 补设备喷涂聚脈修补刮平,并使整个涂层连续、致密。
13.3.10施工完毕后的涂层,为防止后续施工造成损伤常用的保护措施有设置设备警言牌和告知 牌,或对表面进行覆盖。
13.4质量检查
13.4. 2涂层厚度的检测一般采用磁性测厚仪检测法或超声检测法进行。
13.4.3采用150OV的直流电火花检验仪检测涂层表面的致密度。使用时应预先调节好电压,然 后以300 mm/s的速度在待测涂层表面匀速移动探头(保持与涂层表面轻微接触),根据检测仪所示 电压的变化及声音报警确定针孔的具体位置。
14.1 一般规定
14.1.1氯丁胶乳砂浆整体面层衬里是指设备、管道釆用改性阳离子型氯丁胶乳水泥砂浆衬里整体 面层衬里工程。氯丁胶乳是指经过加入助剂改性的阳离子氯丁胶乳,氯丁胶乳砂浆整体面层衬里适 用于碱、盐介质环境中的防腐,不宜用于酸性环境中的防腐。
14.1.2氯丁胶乳砂浆整体面层衬里不宜在雨、雪、大风或气温高且有阳光直射的环境中进行。
14.3配 制
14.3.1氯丁胶乳砂浆的配合比应参考本规范附录C表C.O. 7,并根据现场天气、细骨料的含水率 等因素,先试配试用,再确定实际应用的配合比。
14.4 施 工
14. 4.1在基层上先涂一遍氯丁胶乳素浆,不仅可起到封闭孔隙的作用,同时可增加砂浆与基层的 黏结力。
14. 4.3氯丁胶乳砂浆一次抹压厚度不应超过10 mm,否则很易脱落,由于加入稳定剂,氯丁胶乳砂 浆看似黏稠,实际内聚力较小,厚度过大脱落下来后修复困难,因此对超过10 mm的氯丁胶乳砂浆 宜分层施工。
14.4.4在氯丁胶乳砂浆表面涂刷氯丁胶乳水泥素浆,可部分修复表面缺陷,同时可在表面形成一 层富含氯丁胶乳的薄膜,提高防腐、防水性能,涂刷素浆尽可能一次完成,避免多次涂刷颜色不均匀。
14. 4. 5氯丁胶乳砂浆的湿养护很重要,一般在施工后1 h,高温大风天气时施工后0. 5 h内即应养 护,方法是喷雾和用遮盖物覆盖。遮盖物采用塑料薄膜、麻袋及草袋等,遮盖物四周应压实。多孔性 覆盖物在8 h内淋水,水量不宜过大,保持氯丁胶乳砂浆表面潮湿。
15.1 一般规定
15.1.1外加电流阴极保护适用于埋在导电性较差的介质和土壤中的设备及管道;牺牲阳极保护适 用于对防爆要求高、小电流、周围无电源的独立设备。
15.3外加电流阴极保护系统施工
15.3.6表15. 3.6列举了 5种常用辅助阳极材料性能,其导电性能好,极化小,寿命长。
15.5附属设施施工
15.5.2测试桩是用于定期检测埋地管道外加电流阴极保护参数和检验阴极保护效果,具有保护电 位、电流、电绝缘性能、故障短路等多种检测功能。
15.6系统调试
15.6.1 土壤电阻率在不同的测试时间、不同的状态和测试方法都可能造成测试误差,在测量完相 关数据后应进行测量的正确性分析。存在杂散电流的地方,应进行多次测量。
15.6.2系统测试是检测保护电流能否满足系统要求,是保证阴极保护设计和施工质量的关键环 节。在接通恒流仪电源前,应测量阳极地床的接地电阻、管道与阳极地床之间的电阻及管道地电位。
15.6.4外加电流阴极保护系统投入后,极化过程在72 h后才能达到稳定。
15.6.6阴极电位在一0.85 V时,系统可以达到完全保护。
15.7质量检查
15. 7.3电火花检测仪大多分为15 kV和30 kV两种,应根据设备、管道设计防腐层厚度来选择合 适的仪器,同时分为室内和野外用途两种。仪器附带计算表格,可根据涂层的厚度计算出电压大小。 电压过高,会击穿涂层;电压过低,无法检测出针孔等缺陷的具体位置。检测时应选择适当的接地 点,以保证检测质量。使用检测仪前应认真阅读说明书,以保证检测质量和人身安全。
16. 0.1有限空间即进出受到限制的密闭、狭窄、通风不良的分隔间,或深度大于1.2 m以上的封闭 或敞口的通风不良空间。
17. 0.1施工中产生的固体废物的收集、贮存、运输、利用、处置时,应采取覆盖、密闭措施,以防止固 体废物的扩散;产品的包装物应采用易回收利用、易处置或者在环境中可降解的薄膜覆盖物和商品 包装物,并对其进行回收,加以利用;及时清运工程施工过程中产生的固体废物,固体废物的贮存、利 用、处理和处置,按照所在地县级以上人民政府环境保护行政主管部门的要求执行。
17. 0. 2施工中产生的粉尘应设封闭围挡,防止与施工作业无关的人员进入,防止施工作业影响周 围环境;搅拌场所安装喷水雾装置进行降尘;在大风天气里不得进行对环境产生扬尘污染的施工 作业。
17.0.4施工中产生的污水不得直接倾倒或排入地下,以防对地表水和地下水造成污染,应收集后 统一处理。
17.0.5严禁焚烧各类废弃物,主要是为防止废弃物焚烧后产生的有害气体对大气造成污染。
18.0.3 在原规范第12. 0.2的基础上进行了归纳和补充,列出了施工单位向建设单位或总承包单 位提交的资料名称。
交工文件是防腐工程竣工后施工单位向建设单位或总承包单位交接的资料,它是生产运行、设 备及管道等检修的原始依据,也是保证工程质量的关键,不能忽视。
・131・