高危行业一线岗位安全生产指导手册
金属非金属地下矿山
叫 ULI M=I
凿石岗
2.3.1湖南水口山有色金属集团有限公司“8・19”冒顶片帮事故
我国矿产资源丰富,根据中华人民共和国自然资源部编制的《中国矿产资源报告 (2019)》,截至2018年底,已发现矿产173种,其中能源矿产13种、金属矿产59种、 非金属矿产95种、水气矿产6种。我国已成为全球少数几个矿种齐全、矿产资源总量 丰富的国家之一。随着社会经济的高速发展,重要矿产消费持续增长,金属非金属矿山 行业已成为国民经济发展的重要支柱。
目前,我国金属非金属固体矿产资源开采主要包括露天开采、地下开采、溶浸采矿 和海洋采矿4种方式。海洋采矿技术与装备的研发目前已取得重大突破,但还未能进行 工业化生产。溶浸采矿在地面堆浸、原地破碎溶浸和钻孔溶浸等方面已研发出成套技术 并得到应用,但目前产量比例不高。因此,大多数金属非金属矿产资源的供应主要来自 露天开采和地下开采。
地下开采需要从地表掘进通达矿体的各种通道,用以提升运输、通风、排水、行人 等,主要由开拓、提升运输、通风、供电、供气、供水、排水、充填等系统组成,建设 周期长、技术难度较大、回采率低、危险程度高。基于其特殊的作业环境,开采中除受 到溶洞、断层、破碎带、地下水、有害气体等地下开采环境限制,其自身的集约化程度、 装备水平、组织结构等均对安全生产有较大影响,进而形成了地下矿山作业区域点多面 广、作业条件多变复杂、作业通道狭窄灰暗等特点。受地下开采环境的限制,井下作业 过程中常见的风险主要为冒顶片帮、中毒窒息、透水、放炮、火药爆炸、火灾、物体打 击、高处坠落、机械伤害、车辆伤害、触电、坍塌等。
采掘作业是地下矿山的主要作业类型,通常经凿岩及爆破来破碎矿岩。凿岩作业是 矿山开采的首要工序,凿岩工是使用专业凿岩设备进行凿岩作业的人员。目前我国已广 泛采用机械凿岩,常用的凿岩设备主要有冲击式钻机、潜孔钻机和凿岩台车等。凿岩设 备按动力来源一般分为气动式、液压式、电动式,如图1-1所示。
L手持式凿岩机
—气腿式凿岩机
L按推进及支撑分-
—向上式凿岩机
「导轨式凿岩机
气动凿岩机
气动式
|
L有阀式凿岩机 按配气装置分T 「无阀式凿岩机 L内回转式凿岩机 按转钎装置分T | |
|
」外回转式凿岩机 | |
|
一低频凿岩机 | |
|
按冲击频率分一 |
—中频凿岩机 |
|
—高频凿岩机 | |
|
I 一干式凿岩机 | |
|
按排粉装置分T | |
|
—湿式凿岩机 | |
动力凿岩机分类
气动潜孔钻机
图1-1动力凿岩机分类
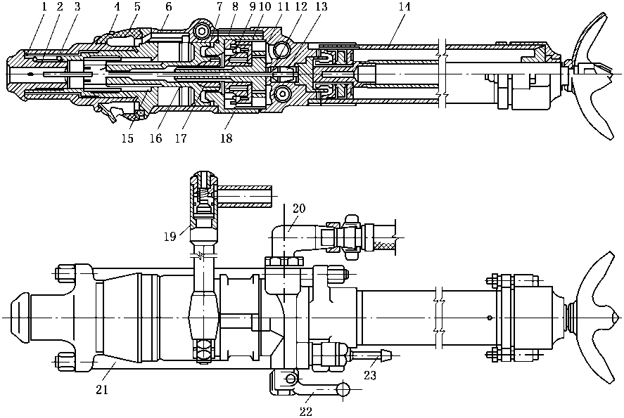
常用的凿岩设备中气腿式凿岩机机动灵活、凿岩台车安全高效,本手册以最常用的 气腿式凿岩机、凿岩台车为例进行说明。凿岩作业基本功能如图1-2所示,气腿式凿岩 机结构如图1-3所示,液压凿岩机结构如图1-4所示,凿岩台车结构如图1-5所示。
1 一活塞;2—钎尾;3 一接杆套;4一钎杆;5 一钎头 图1-2凿岩作业基本功能示意图
1 一机头;2一转动套;3 一钎套;4一转动螺母;5 一消音罩;6一缸体;7一配气缸;8 一阀盖;
9一阀;10 一棘轮;11一柄体;12 一气针;13 一水针;14 一气腿;15 —活塞;16一螺旋棒;17一螺旋 母;18 一阀柜;19一放气阀;20一气管接头;21 —长螺栓;22一操纵手柄;23 —水管接头
气腿式凿岩机结构
图1-3
A—机头部分;B—转动机构;C—钎尾反弹吸收装置;D—冲击机构
1—钎尾;2—耐磨衬套;3—供水装置;4—止动环;5—传动套;6—齿轮套;7—单向阀;
8一转钎套筒衬套;9一缓冲活塞;10一缓冲蓄能器;11—密封套;12—活塞前导向套;13一缸体;
14—活塞;15一阀芯;16—活塞后导向套;17一密封套;18一行程调节柱塞;19一油路控制孔道
图1-4液压凿岩机结构
1 —挂斗;2—控制器;3—电阻器;4—风动马达;5—液压操纵手柄;6—制动器;7—供风操纵手柄;
8—照明灯;9—操纵台;10—电动机;11—减速箱;12—固定气筒;13 —转柱;14—支撑气缸;
15 —工作大臂;16—支承油缸;17 —仰俯角油缸;18—凿岩机;19—推进器;20—补偿油缸;
21 一车架;22 一钎杆;23一回转油缸;24一摆角油缸
图1-5凿岩台车结构
《安全生产法》第二十五条规定,生产经营单位应当对从业人员进行安全生产教育 和培训,保证从业人员具备必要的安全生产知识,熟悉有关的安全生产规章制度和安全 操作规程,掌握本岗位的安全操作技能,了解事故应急处理措施,知悉自身在安全生产 方面的权利和义务。未经安全生产教育和培训合格的从业人员,不得上岗作业。
【说明】
培训时间:根据《金属非金属矿山安全规程》,所有生产作业人员每年至少接受20h的在职安全 教育;新进地下矿山的作业人员,应接受不少于72h的安全教育,经考试合格后,由老工人带领工 作至少4个月,熟悉本工种操作技术并经考核合格,方可独立工作。
岗位调换培训:根据《金属非金属矿山安全规程》,调换工种的人员应进行新岗位安全操作的培 训。
“四新培训”:根据《安全生产法》第二十六条,生产经营单位采用新工艺、新技术、新材料或 者使用新设备,必须了解、掌握其安全技术特性,采取有效的安全防护措施,并对从业人员进行专 门的安全生产教育和培训。
(1) 劳动保护权。《安全生产法》第四十九条规定,劳动合同应当载明有关保障从 业人员劳动安全、防止职业危害的事项,以及依法为从业人员办理工伤保险的事项。
(2) 知情权、建议权。《安全生产法》第五十条规定,从业人员有权了解其作业场 所和工作岗位存在的危险因素、防范措施及事故应急措施,有权对本单位的安全生产工 作提出建议。
(3) 批评、检举、控告权和依法拒绝权。《安全生产法》第五十一条规定,从业人 员有权对本单位安全生产工作中存在的问题提出批评、检举、控告;有权拒绝违章指挥 和强令冒险作业。
(4) 紧急避险权。《安全生产法》第五十二条规定,从业人员发现直接危及人身安 全的紧急情况时,有权停止作业或者在采取可能的应急措施后撤离作业场所。
(5) 工伤保险和民事索赔权。《安全生产法》第五十三条规定,因生产安全事故受 到损害的从业人员,除依法享有工伤保险外,依照有关民事法律尚有获得赔偿的权利的, 有权向本单位提出赔偿要求。
【说明】
认定工伤、视为工伤、不得认定为工伤或者视同工伤的情形:分别依据《工伤保险条例》第十 四条至第十六条。
提出工伤认定申请的人、时间及申请地点:《工伤保险条例》第十七条规定,所在单位应当自事 故伤害发生之日或者被诊断、鉴定为职业病之日起30日内,向统筹地区社会保险行政部门提出工伤 认定申请。用人单位未提出工伤认定申请的,工伤职工或者其近亲属、工会组织在事故伤害发生之 日或者被诊断、鉴定为职业病之日起1年内,可以直接向用人单位所在地统筹地区社会保险行政部 门提出工伤认定申请。
(1) 遵章守纪,正确佩戴和使用劳动防护用品。《安全生产法》第五十四条规定, 从业人员在作业过程中,应当严格遵守本单位的安全生产规章制度和操作规程,服从管 理,正确佩戴和使用劳动防护用品。
(2) 接受安全生产教育和培训。《安全生产法》第五十五条规定,从业人员应当接 受安全生产教育和培训,掌握本职工作所需的安全生产知识,提高安全生产技能,增强 事故预防和应急处理能力。
(3)报告危险。《安全生产法》第五十六条规定,从业人员发现事故隐患或者其他 不安全因素,应当立即向现场安全生产管理人员或者本单位负责人报告。
《安全生产法》第一百零四条规定,生产经营单位的从业人员不服从管理,违反安 全生产规章制度或者操作规程的,由生产经营单位给予批评教育,依照有关规章制度给 予处分;构成犯罪的,依照刑法有关规定追究刑事责任。
【说明】
构成犯罪,主要是指构成刑法规定的重大责任事故罪,即在生产作业中违反有关安全管理的规 定,导致发生重大伤亡事故或者造成其他严重后果的,处三年以下有期徒刑或者拘役;情节特别恶 劣的,处三年以上七年以下有期徒刑。
金属非金属矿山井下凿岩作业过程中,主要存在如下安全风险:冒顶片帮、中毒窒 息、透水、机械伤害、触电、高处坠落等。
2.1.1冒顶片帮
冒顶片帮是指采掘作业面、巷道、硐室在地压作用下变形、破坏,或因开挖、支护 不当,引起的顶部垮塌、侧壁脱落现象。
发生冒顶片帮的主要原因有:采矿方法选择不合理,顶板管理方法不当;地质情况 变化,地压增大;矿山未按照设计参数进行开采或设计参数不合理;作业人员疏忽大意, 检查不细致;处理浮石操作方法不当、违章违规作业等。
为防止冒顶片帮,应根据矿山地质条件选择合适的采矿方法及支护方式;强化地压 及采空区管理;加强采场顶板管理;严格执行“敲帮问顶”及安全确认制度。
2.1.2中毒窒息
中毒窒息是指井下作业过程中,吸入有毒有害气体(如一氧化碳、氮氧化物、硫化 氢、二氧化硫等),或因处在废弃的采空区等通风不良的密闭空间内,氧气浓度不够致 使人员发生突然晕倒或死亡的人身伤亡事故。
发生中毒窒息的主要原因有:没有建立完善的机械通风系统或违规停止运行,因通 风不良造成有毒有害气体积聚;长距离独头掘进巷道局部通风设施缺陷致使有毒有害气 体不能及时排出;未按规定检测有毒有害气体浓度,擅自进入采掘工作面、天井等作业 场所;贸然进入长期废弃的旧巷道或采空区;作业期间突遇不明的有害气体等。
为防止中毒窒息,矿井应建立完整的机械通风系统;井下风量、风速、风质应符合 《金属非金属矿山安全规程》要求;矿井、每个生产水平(中段)及每个采场应至少有 两个便于行人的安全出口;采场进行回采作业前应形成通风系统;加强局部通风管理, 采掘工作面配备功能满足要求的局部通风设施;及时封闭采空区和废弃巷道;每个凿岩 班组应配备便携式气体检测仪,对作业面进行气体检测,确认安全后方可进入作业面作 业。
透水是指矿井由于防治水措施不到位而导致地表水或地下水通过裂隙、断层、塌陷 区等各种通道无控制地涌入矿井工作面,造成人员伤亡或财产损失的水灾事故。
发生透水的主要原因有:采掘作业中,针对可疑的地质条件未进行超前探放水或及 时上报,采掘作业面意外与地下含水带、溶洞、积水空区(巷道)或地面水体连通;破 坏防水矿(岩)柱或未按设计要求留设防水矿(岩)柱。
为防止透水事故,应采用专门的探放水设备,作业过程中密切注意观测作业面透水 预兆,严格坚持“预测预报、有疑必探、先探后掘、先治后采”的探放水原则。
2.1.4机械伤害
机械伤害是指机械设备运转(静止)部件、工具、加工件直接与人体接触引起的夹 击、碰击、剪切、卷入、绞、碾、割、刺等伤害。
发生机械伤害的主要原因有:凿岩工在操作、维护、检查凿岩设备过程中,由于站 位错误、操作失误、设备缺陷等原因,被凿岩设备夹伤、被钎杆刺伤等。
为防止机械伤害,应使用符合要求的凿岩设备,保证设备安全防护装置齐全;加强 操作技能培训,作业过程中严格按照规程操作;发生故障及时报告,不得擅自处置。
2.1.5触电
触电是指人体直接触及电源或高压电经过空气或其他导电介质传递电流引起的电 击伤害。
凿岩工在行走或作业过程中,由于电线、电缆破损或误操作带电设备等原因,可能 造成触电伤害。
为防止触电,非专职电气作业人员不得擅自摆弄、检修电气设备,不得随意触摸(碰) 电气设备和电缆;电气设备应采取可靠的接地和漏电保护措施。
2.1.6高处坠落
高处坠落是指在基准面2m以上高处作业中发生坠落造成的伤亡事故。凿岩工井下 作业发生高处坠落的地点有天井、溜井、采场临空面等。
发生高处坠落的主要原因有:竖井、天井等凿岩作业中,未落实好安全防护措施, 未搭设作业平台或搭设的平台不稳固,未系好安全带或安全带未悬挂在牢固可靠处;人 员注意力不集中,在采场、天井上下梯子或在平台行走时失足摔落等。
为防止高处坠落,凿岩工在高度超过2m的高空作业时必须系好安全带,安全带必 须悬挂在牢固可靠处,下方应搭设稳固的安全平台;上、下天井、采场时应进行安全确 认,检查人梯、平台是否牢固,是否损坏,上下过程中两手必须抓紧梯梁。
事故隐患排查见表2-1。
表2-1事故隐患排查
|
序号 |
事故隐患 |
依据 |
隐患分级 |
|
1 |
每个采区(盘区、矿块),只有一个便于行 人的安全岀口 |
《金属非金属矿山安全规程》(GB 16423—2006) 6.2.1.2 《金属非金属矿山重大生产安全事 故隐患判定标准(试行)》(安监总 管一〔2017) 98 号) |
重大隐患 |
|
2 |
矿井未按照设计要求建立机械通风系统 |
《金属非金属矿山安全规程》(GB 16423—2006) 6.4.2 《金属非金属矿山重大生产安全事 故隐患判定标准(试行)》(安监总 管一〔2017) 98 号) |
重大隐患 |
|
3 |
风速、风量、风质不符合国家标准或行业标 准的要求。 a) 风量(风速)合格率低于60%; b) 风质合格率低于90%; C)作业环境空气质量合格率低于65%; d)有效风量率低于60% |
《金属非金属地下矿山通风技术规 范通风系统鉴定指标》(AQ 2013.5—2008) 4.1 《金属非金属矿山重大生产安全事 故隐患判定标准(试行)》(安监总 管一〔2017) 98 号) |
重大隐患 |
|
4 |
未配齐具有矿用产品安全标志的便携式气 体检测报警仪和自救器 |
《金属非金属地下矿山监测监控系 统建设规范 XAQ 2031—2011)4.11 《金属非金属地下矿山紧急避险系 统建设规范 XAQ 2033—2011) 4.8 |
重大隐患 |
|
序号 |
事故隐患 |
依据 |
隐患分级 |
|
《金属非金属矿山重大生产安全事 故隐患判定标准(试行)》(安监总 管一〔2017) 98 号) | |||
|
5 |
在突水威胁区域或可疑区域未进行探放水 即开展采掘作业 |
《金属非金属矿山安全规程》(GB 16423—2006) 6.6.3.6 《金属非金属矿山重大生产安全事 故隐患判定标准(试行)》(安监总 管一〔2017) 98 号) |
重大隐患 |
|
6 |
未搭好平台即进行凿岩 |
《金属非金属矿山安全规程》 (GB16423—2006) 6.2.2.2 |
一般隐患 |
|
7 |
未事先检查并处理顶板和两帮的浮石,或浮 石处理不彻底即开始凿岩作业 |
《金属非金属矿山安全规程》(GB 16423—2006) 6.2.1.7 |
一般隐患 |
|
8 |
采用浅孔留矿法采矿时,每一回采分层的放 矿量,低于凿岩工作面安全操作所需高度 |
《金属非金属矿山安全规程》(GB 16423—2006) 6.2.2.4 |
一般隐患 |
|
9 |
采用分层崩落法回采时,未在支护区域内进 行凿岩作业 |
《金属非金属矿山安全规程》(GB 16423—2006) 6.2.2.8 |
一般隐患 |
|
10 |
采用充填法采矿时,凿岩工在非管道输送充 填料的充填井下方通行和作业 |
《金属非金属矿山安全规程》(GB 16423—2006) 6.2.2.10 |
一般隐患 |
|
11 |
未采用湿式凿岩。湿式凿岩时,凿岩机的最 小供水量不满足除尘要求 |
《金属非金属矿山安全规程》(GB 16423—2006) 6.4.5.2 |
一般隐患 |
|
12 |
未每月对凿岩工作面粉尘浓度进行测定,未 逐月进行统计分析、上报和向职工公布 |
《金属非金属矿山安全规程》(GB 16423—2006) 7.1.5 |
一般隐患 |
(1) 作业场所采用淘汰的离心式局扇,造成风速、风量、风质不符合国家标准或行 业标准的要求,如图2-1所示。
(2) 未事先检查并处理顶板和两帮的浮石,或浮石处理不彻底即开始凿岩作业,如 图2-2所示。
图2-1离心式局扇 图2-2采场顶板浮石
1. 事故经过
2009年8月19日8时,李某按照派班指令到4号采场处理松石,安全员易某一起 来到采场,当时凿岩工陆某已搭好采场照明,正进行洒水。李某与易某先在掌子面处理 松石,其中一块松石处理不下,易某帮忙处理仍未能解决。随后陆某安排易某去采场下 层平巷叫助手把水开大,李某则沿采场右帮继续检查顶板松石,8时10分左右走到事 故发生地点,李某用撬棍点击顶板时,突然冒落一块大约长2.5m、宽1.2m、厚0.4m的 松石,将李某全部覆盖。
2. 事故原因
(1) 该采场顶板矿岩受贯穿顶板断层的挤压,节理、层理较发育,回采过程中松 石呈层状、块状出现,而且面积和体积较大。
(2) 李某安全意识不强,在检查处理松石时忽视安全,不认真遵守安全操作规程, 擅自进行单人作业,在没有仔细观察头顶及四周顶板并选好站立位置的情况下就“敲帮 问顶”,自己正好站在一块大松石下,造成头顶的松石受震动而冒落,因而发生事故。
(3) 凿岩工陆某没有履行好安全联保互保职责,在李某处理松石时不是协助李某 检查处理松石,而是只顾做开钻准备工作,联保互保不到位。
(4) 安全员易某没有认真履行安全员职责,安全督促、指导不力。
(5) 安全管理有漏洞,相关管理人员对安全技术把关不严、安全监管不到位。
(6) 安全教育效果较差,职工安全防范意识不强、自我保护能力差。
3. 防范措施
(1) 加强对职工的安全教育培训,提高职工安全意识和安全操作技能,并严格执 行安全操作规程、联保互保职责,杜绝违章指挥、违章作业。
(2) 加强工作纪律的贯彻落实,各项生产作业必须严格按工艺纪律执行,并严格 把关,杜绝违反工艺纪律的事件发生。
(3) 加强顶板管理,全矿组织一次顶板专项安全大检查,对各作业现场的顶板进 行一次全面检查和鉴定,并进行分级管理。对发现的顶板隐患必须立即制定整改措施进 行整改,以确保顶板安全。
(4) 加强管理考核力度,处罚生产现场安全管理不到位、隐患整改不及时、不彻 底的责任人及违章冒险作业人员。
1. 事故经过
2010年3月10日6时20分左右,二工区20中段508采场早班爆破致工作面9~10 号漏斗之间被爆堆堵死,508采场采用有底柱浅孔留矿法采矿,南北两个人行天井间距 离90m,采场工作面全长82m。采场上部中段巷道未拉到对应位置,没有开凿采场中央 回风天井。中班无人作业,18时40分,507采场放矿工周某、陈某等6人进班平场、 放矿,约19时15分到达508采场。周某、陈某和安全员雷某从北边上采场察看矿堆情 况和处理松石。司机喻某和倒矿工屈某先拉一车矿石倒到天井,放矿工廖某则在掌子面 等。喻某、屈某回到掌子面后,未见到廖某等4人,刚好附近398采场采矿工黄某、杨 某拉矿石到508采场附近,喻某、屈某叫上杨某、黄某二人一起去采场察看情况,发现 廖某等4人已中毒,于是立即进行救援,由于施救措施不当,导致8人全部中毒窒息死 亡。
2. 事故原因
(1) 采场设置不符合规程要求,未设置连通上中段的回风天井,未形成有效的通 风系统。
(2) 508采场未按规定设置有效的机械通风系统。中部在上一班爆破时被矿堆堵 死,导致通风回路被截断,炮烟无法及时排出。
(3) 采场南部局扇风筒未接到位。
(4) 作业人员未按规定进行气体检测。
(5) 安全管理不到位,未及时排查隐患并消除采场隐患。未及时了解采场情况, 上一班放矿未按要求放到位,导致中部空场高度不够,下一班爆破将采场中部堵死。
(6) 安全教育培训不到位,员工安全意识差,安全知识缺乏,未执行事故报告制 度,救援方法不当,造成事故扩大。
(1) 加强安全生产工作的领导与管理,全面落实各级安全生产责任制。
(2) 加强通风管理。一是完善矿井通风系统;二是加强局部通风管理;三是对通 风不良的废弃坑道及掌子面进行封闭,严防人员进入;四是制定通风管理制度并严格执 行。其中,一要对现有作业区域的通风系统进行测定评价;二要按规定建立定期的全井 测风制度,建立新作业点用风申报审批制度,做到有设计、有计划地用风;三要建立和 完善防中毒、防窒息的安全管理制度。
(3) 单个采掘作业面的工作人员应至少配备一台有效的便携式多种气体检测仪。
(4) 加强安全教育与培训,提高员工的安全意识和安全知识,使从业人员了解作 业场所的危险因素和事故预兆,掌握自救互救知识,防止遇险时盲目施救。
(5) 认真开展应急救援预案的学习、宣传和演练。健全和完善应急救援体系,定 期组织全员演练,配备相应的安全防护、救护器材,建立健全井下通信系统,提高事故 防范、报告和应急处理能力。
(6) 加大安全生产投入,加强安全隐患排查与整改,强化安全生产管理,防止同 类事故再发生。
2013年7月,施工单位通业公司卢某准备在苏子沟一采区一中段采矿,报告了建 设单位中全矿业公司陈某。陈某安排人员测量主井东南侧的两个小井深度及水位,了解 老窑积水情况。经测量,两个小井的井底标高分别为530m和543m,水深为40〜50m。 陈某告诉卢某采10多米没问题。7—9月,通业公司在一中段主井距井筒90m处左侧掘 进装运平巷11m,布置了一个采场进行采矿,又在采场顶部掘进一个直径约5m、倾角 30°、斜长约14m的斜眼,顶端标高525m,穿进护顶矿柱8.5m。9月13日,二中段470m 水平采场进行二次爆破。14时20分左右,老窑水突然从一中段斜眼突出,沿主井井筒 倾泻而下,瞬间淹没了主副井四、五中段。井口喷出20多米高的汽柱,并伴有声响, 透出的水有臭鸡蛋气味(含硫化氢气体)。四中段23名作业人员脱险,五中段5名作业 人员遇难。
2. 事故原因
(1) 540m水平老窑大量积水,水压高程达60m,形成高压水体。
(2) 未按设计施工,违规在一中段布置采场采矿,又在采场上部打眼,回采护顶 矿柱,致使护顶矿柱变薄,强度降低。
(3) 井下爆破地震波对护顶矿柱反复作用,造成护顶矿柱裂隙增多、扩张、延伸, 强度降低,稳定性减弱,抗滑动力逐渐减小。
(4) 未对周围小井及浅部采空区存在的隐患进行处理。
(5) 未坚持“预测预报、有疑必探、先探后掘、先治后采”的探放水原则,未采取 探放水措施。
(6) 施工管理混乱,项目发包过程中未签订安全生产管理协议,未进行安全技术 交底,未落实各单位安全生产主体责任。
3. 防范措施
(1) 调查核实矿区范围内的老采空区、积水区、含水层、岩溶带、地质构造等详 细情况,并填绘矿区水文地质图。
(2) 摸清矿井水与地下水、地表水和大气降水的水力联系,预判矿井透水的可能 性。
(3) 健全防治水组织机构和工作制度,严格按照“预测预报、有疑必探、先探后掘、 先治后采”的水害防治原则,落实“防、堵、疏、排、截”综合治理措施。
(4) 加强外包队伍管理,签订安全生产管理协议,明确安全责任,建立外包队伍 考核机制。
(5) 落实企业安全生产主体责任,严格按设计要求施工,严禁开采隔水矿柱等各 类保安矿柱。
凿岩岗操作流程如图3-1所示。
图3-1凿岩岗操作流程
(1)佩戴劳动防护用品,包括工作服、安全帽、防尘口罩、耳塞、长筒胶鞋、矿 灯、气体检测仪、自救器等。
(2) 熟悉所在生产区域的通信联络系统或应急电话。
(3) 知悉岗位可能出现的安全风险。
(4) 准时参加班前会,听取带班矿长(或安全管理者)的安全指令。
(5) 当面执行交接班程序,确认交接班记录本中事项,签字。
(6) 了解作业地点水文地质条件。
1. 材料准备
(1) 领取钎头、钎杆、润滑油。
(2) 带好备用的易损的零件和辅助工具,如水针、螺帽、密封胶圈、手锤、钎垫、 活动扳手、刀子、钳子、掏勺、风水管接头等。
(3) 带好备用的凿岩机和风水管。
2. 检查凿岩机
(1) 检查设备零部件。螺丝紧固无缺失,所有工器具齐全。
(2) 检查注油器。零件应齐全完好、清洁、润滑油充足。
(3) 检查钎头。应锋利,合金片无缺损、脱落,钎头水孔无堵塞,不合格的要进 行处理、更换。
(4) 检查钎杆。无弯曲、堵塞现象,如钎杆弯曲或中心孔不通应进行更换或处理。
注意:使用凿岩台车工作时,参照附录2“凿岩台车安全检查表”进行检查。
根据作业地点及操作设备的不同,准备工作按照平巷及采场、竖井(斜井)、天井 分别进行说明。由于凿岩台车在平巷及采场作业中的特殊性,故对凿岩台车“准备工作” 的补充条件单独进行说明。
(1) 打开局扇,使用气体检测仪测定现场空气质量,严格检查通风防尘设施,确 认排尽炮烟,通风良好且空气质量满足作业要求后,方可进入工作面。
(2) 设置好照明,保障作业面照明电压不超过36V。
(3) 检查顶板,处理好顶板及两帮浮石。
(4) 检查作业面残炮孔。发现有未处理的盲炮,应立即上报,由爆破工程技术人 员及爆破员按盲炮处理办法执行,凿岩工配合操作。
(5) 处理风水管路:①检查风水管路,风水管路完好、畅通、接头牢固可靠;② 将风水管悬挂在巷道边帮安全位置,挂钩要牢固。
(6) 接好供水支管,用水清洗工作面,清除粉尘。
(7) 连接风管、水管:①将供风支管接在压气管路上,开少许气门把风带里的脏 物和积水吹掉,而后接在凿岩机上;②水绳接到水管上以后,把水量调到凿岩用水量适 当位置后,接到凿岩机上。
(8) 标注孔位:①对好巷道的中心线和腰线,以确保工作面的设计方向和坡度; ②根据设计和任务要求,在作业面上标出炮眼位置,禁止将炮眼位置布置在残眼上。
井筒掘进凿岩作业前除应做好上述平巷中的准备工作外,还应进行如下工作(以正 向掘进为例):
(1) 检查井帮和顶部设备安全状况,以确保底部作业的安全。
(2) 由井筒下放风水绳时,严禁靠近井壁拉放;当风水绳接近工作面时,下放速 度应减慢。
(3) 在稳绳盘起落风水绳的作业人员,必须系好安全带。
(4) 采用激光定位、挂线等作业方式,保证井筒沿设计方向掘进。
(5) 在有涌水的井筒中作业,应将工作面的水排干净,露出岩底方可作业。
(6) 定好孔位和炮孔数量。
天井凿岩工作除做好水平巷道掘进时相同的准备工作外,还要做好如下工作(以反 向掘进为例):
(1) 处理天井四周和顶板浮石。
(2) 检查支护设施是否牢固,隔板是否齐全。
(3) 检查梯子及作业平台是否牢固。
(4) 风水管拉到工作面后,用绳子系在牢固的地方,以防止凿岩时脱落,造成人 员和设备事故。
(5) 天井凿岩需要使用钎子组时,在准备钎头时应按钎杆长短分别安装大小不同 的钎头,以方便换钎。
除按照“平巷及采场”中提出的对作业环境的准备工作外,使用凿岩台车时应注意:
(1) 清理设备上的泥土等杂物。
(2) 降下升降平台,倒回滑动工作台,缩回臂架,将推进梁调成水平状态,钻机 保持在始动位置,缩回支腿,方能行走。
(3) 行走前,应查看场地周围,确认前后左右无人及障碍物,按照引导人员的指 示信号作业,切不可误触操作杆。
(4) 时刻留意最大倾角,确认大臂处于行车位置。
(5) 行走时要平稳,特别是在上下坡时,避免紧急操作发生意外事故。
(6) 液压油温应保持在设备规定的范围内,超过时应立即停止行走,检查原因。
(7) 若台车在前进中需要倒车行驶时,必须待车完全停稳后再挂倒车挡进行。严 禁在行驶中挂倒退挡位。
(8) 行驶中注意观察仪表盘上的指示灯,发现问题立即采取措施,以防发生设备 事故。
(9) 注意周围的环境及车辆运行状态,台车出现气味、温度、声音异常,要及时 停车检查。
1)启动
(1) 启动前,将附近10m范围内的电气设备开关调至零位并闭锁,防止凿岩机漏 水造成电气短路。
(2) 先开水、后开风。
2) 试运转
接上风源、按住钻把风门开关进行试运转,确认无异常后安装钻头,钻头装上钎杆 之后要夹紧。
3) 定孔位
定孔位时,使钎头落在实矿(岩)上,如有浮矿(岩),应处理后再打眼。
4) 凿岩
(1)开眼时应把钻机操纵阀开到慢速运转位置,逐步推进至全速钻进。
(2) 严禁戴手套,袖口必须扎紧,防止钎杆转动而伤人。
(3) 站在风钻侧面,严禁正对孔口位置操作,凿岩机前方严禁站人。
(4) 脚要蹬实,严禁骑在气腿上打眼。
(5) 严禁在残眼内继续打眼。发现盲炮和残炮应立即上报,通知爆破技术人员组 织处理,未处理前不准作业。在残眼附近补钻孔时,必须在距残眼0.3m以上打平行眼。
(6) 钻进时若发现片帮、来压或钻孔中水量突然增大、顶钻等现象时,必须立即 停止钻进,但不得拔出钻杆,并向有关部门汇报听候处理。
(7) 经常观察排粉情况,排粉正常时,泥浆从孔口徐徐流出,若发现排粉间断或 岩粉呈岩浆状,应及时检查风、水路并及时予以处理。
(8) 凿岩高度超过2m以上时,应搭设牢固可靠的工作台。在工作台上打眼,要 把气腿的底座支牢,防止气腿滑倒。
(9) 在倾角较大的上山作业面打眼,其后应设防滑设施。
(10) 经常检查风水管的连接是否牢固,有无松脱现象。如接头不牢,应停钻处理 好后再开钻。
(11) 凿岩时风钻突然停止,要断开开关,检查设备故障,确认设备完好后再继续 作业。
(12) 在人员上下天井、竖井时要系好安全带,并发出联系信号上下对应,在没有 得到对方允许时不得任意上下。
(13) 站在梯子或平台上,应仔细检查梯子和平台的牢固性,两脚要站稳,工具、 材料、备件要放置稳当。
(14) 两人以上爬天井时,带物件的人要先下后上以免失落伤人。人员上下天井时 严禁双手持物。
1) 启动
(1) 确认周围无障碍物及人员,鸣笛示意后,启动。
(2) 每次启动的时间间隔不少于20s,若3次不能启动,应查明原因并处理后, 方可重新启动。
(3) 接通水源,冲洗过滤器。通过水压表检查水压。
(4) 打开车顶工作灯,启动工作油泵。
2) 试运转
发动机运转时如蜂鸣器报警,应及时停机检查维修。
3) 定孔位
(1) 对作业面进行安全确认后,调整好大臂与推进梁打眼时的位置,推进梁延伸, 顶紧凿岩作业面。
(2) 打开水阀门,检查水压及流水情况。
(3) 推动旋转手柄,使钎杆转动。
(4) 推动凿岩机推进手柄,使钎杆顶住岩面。
4) 凿岩
(1) 推动冲击手柄到轻冲击位置,进行开眼作业;眼门未开好,凿岩机可退回重 开。
(2) 严禁台车打干眼和打残眼。
(3) 台车前后不得有人逗留。
(4) 从上到下依次打眼。
(5) 随时注意系统有无泄漏,有无噪声、温度异常等不正常现象,及时判断并做 出处理。
(6) 观察凿岩机钎尾处,如有异常抖动,说明凿岩机蓄能器压力不足;注意胶管 捆扎和吊挂是否正常;注意液压系统温度是否正常。
(7) 未经允许台车司机不允许调整台车的防卡钎压力和推进压力。
注意:工作中坚持做到“预测预报、有疑必探、先探后掘、先治后采”,按设计要求 留设防水矿(岩)柱。
3.2.5停机
(1) 关闭操作阀。
(2) 关闭风水闸阀,先关风后关水。
(3) 取下钎杆、风水胶管等,并将其放至远离作业面不受爆破飞石冲击的安全地点。
(4) 吹好炮眼,关好风钻排气口。
(5) 分别卷好风绳、水绳。
(6) 清理现场,将风钻、钎杆、卷好的风水绳放入安全地点,风绳在上,水绳在下。
注意:紧急停钻。施工过程中遇到卡钎、跑偏或外界因素危及安全时,立即关闭操 作阀,停止作业。
(1) 停放在安全平坦的地方,严禁停放在软地基及侧壁和顶部有落石或崩落危险 的地方。
(2) 停放时将台车后支腿和前支腿牢固地支到地面。
(3) 停放后,应将导杆和动臂沿行走方向摆成水平位置,各操作杆置于中位,停 止发电机及发动机。
(4) 避免在斜坡上停车。若必须在斜坡上停车时,应张开支腿和垫以三角垫。
(5) 操作人员因故临时离开台车时,应切断台车电源,锁好台车门窗。
注意:作业中出现意外,需紧急停车,可按下红色紧急制动按钮刹住台车。
凿岩岗操作风险管控见表3-1。
表3-1凿岩岗操作风险管控
|
岗位操作 |
安全风险 |
可能造成 的事故 |
控制措施 |
|
准备工作 |
未使用气体检测仪测定现场环境即进 入工作面 |
中毒窒息 |
开启局扇,进入工作面使用气体检 测仪测定氧、一氧化碳、氮氧化合 物等气体含量。测定通风情况,包 括风速、风质、风量 |
|
进入工作面,未开启局扇 | |||
|
湿手接触局扇开关 |
触电 |
严禁湿手启动局扇开关 | |
|
照明电压高于36V |
触电 |
工作面照明必须采用不超过36V的 安全电压 | |
|
处理浮石时站在浮石下方 |
冒顶片帮 |
使用长度符合要求的撬杆;处理浮 石时,人员应站在通往安全岀口的 方向,不应站在浮石下方及独头巷 一侧 | |
|
搬运凿岩机、风水绳到作业面,用力 不当或配合不协调 |
其他伤害 (砸伤) |
双人配合作业,搬运前清理路面障 碍物 | |
|
竖井、天井凿岩中,靠近井壁拉放风 |
物体打击 |
严禁靠近井壁拉放风水绳,避免造 |
|
岗位操作 |
安全风险 |
可能造成 的事故 |
控制措施 |
|
水绳 |
成井筒附着物体碰落伤人 | ||
|
竖井、天井凿岩中,风水绳拉放速度 过快 |
物体打击 |
严格按要求控制风水绳下放速度, 避免到达工作面未减速造成失控 | |
|
使用凿岩台车清除危石 |
冒顶片帮 |
严禁用凿岩台车“找顶”或清除危石 | |
|
启动和凿岩 |
开机速度过快 |
机械伤害 |
开机中,钻机操作阀应开到慢速运 转位置 |
|
开孔时,先供气后供水,采用干式作 业 |
职业危害 (粉尘) |
开孔时,严格执行先供水、后供气 | |
|
打残留炮孔 |
放炮事故 |
打孔前,对爆破工作面全面检查, 对残孔、盲炮及时处理 | |
|
处理盲炮措施不当。如未及时上报由 专业爆破员进行处理,擅自拉岀起爆 药包,采用铁制工具私自掏炮眼等 |
放炮事故 |
发现存在未处理的盲炮及时上报, 按照规定的方法配合爆破作业人员 进行处理 | |
|
在凿岩机运转时修理、更换设备零部 件 |
机械伤害 |
凿岩机运转中严禁修理或更换零部 件。如岀现设备故障,应立即停机 检查 | |
|
带钎尾进行长时间的空运转 |
机械伤害 |
空运转前必须将接杆钎尾取下 | |
|
风绳接头与凿岩机连接松动,振动过 程造成脱扣 |
物体打击 |
凿岩时要随时注意风绳接头与凿岩 机连接的牢固性,发现松动现象立 即停机处理 | |
|
打眼过程中站位不当,正面操作 |
机械伤害 |
凿岩过程中应站在凿岩机后侧面作 业 | |
|
排粉异常,未及时关闭风水管 |
物体打击 |
运行中随时观察排粉情况,若排粉 增大或减少,应立即停机,关闭风 水管后检查设备 | |
|
戴手套扶持钎杆 |
机械伤害 |
严禁佩戴手套扶持钎杆。专人监护, 配合作业 | |
|
污物消除不净,强制开机操作 |
机械伤害 |
运行中适度推进,经常排粉 | |
|
处理断钎时,站在机器前方作业 |
机械伤害 |
严禁站在机器前方作业,应站在凿 岩机侧面处理断钎 | |
|
边打眼、边装药 |
放炮事故 |
严禁边打眼、边装药。凿岩工作结 |
|
岗位操作 |
安全风险 |
可能造成 的事故 |
控制措施 |
|
束后,应检测作业现场作业环境, 并通知专业爆破工进行装药作业 | |||
|
上下采场过程中未抓稳梯子 |
高处坠落 |
上下采场过程中应按照顺序依次进 入,途中应抓稳梯子扶手 | |
|
竖井、天井凿岩未系安全带 |
高处坠落 |
高处作业必须系好安全带,安全带 另一侧应固定在岩石稳固的位置 | |
|
竖井、天井凿岩中,向下抛掷工具或 其他物品 |
物体打击 |
严禁自上而下抛掷任何物品 | |
|
向上凿岩时,钻杆振动造成炮眼周围 岩石松动、冒落 |
冒顶片帮 |
随时观察工作面动态,发现异常现 象(如巨大的震顶声,大量支柱卸 荷或钻底严重,顶板来压显现强烈 或岀现台阶下沉现象等),必须立 即发岀警报,撤离所有人员,待顶 板稳定后由负责人按规定处理 | |
|
采用电动式凿岩台车作业前,未使用 电笔测试检查电缆和车体是否存在漏 电,或未及时处理漏电,带电操作 |
触电 |
接通电源后,要检查电源电压是否 符合标准;根据配电柜上的指示灯 检查电源相序是否正确,相序不正 确要进行处理。用电笔测试检查电 缆和车体是否存在漏电,有漏电必 须进行处理 | |
|
采用电动式凿岩台车作业中,徒手拖 拽电缆 |
触电 |
台车通电后,严禁徒手拖拽电缆 | |
|
电线电缆破损,未及时维护 |
触电 |
开机前检查电缆,确保电缆完好。 若发现破损,及时上报处理 | |
|
电缆浸水 |
触电 |
立即上报,由专业电工进行处理, 确保安全后再作业 | |
|
工作中破坏防水矿(岩)柱或未按设 计要求留设防水矿(岩)柱 |
透水 |
严格按设计留设防水矿(岩)柱 | |
|
未执行“预测预报、有疑必探、先探后 掘、先治后采”的探放水制度,未落实 防治水措施 |
严格执行超前探放水制度。发现可 疑现象,及时上报处理 |
|
岗位操作 |
安全风险 |
可能造成 的事故 |
控制措施 |
|
停机 |
先停水后停风 |
职业危害 (粉尘) |
停钻时,严格执行先停风、后停水 |
|
凿岩台车停放在软地基及侧壁和顶部 有落石或崩落危险的地方 |
车辆损坏 |
凿岩台车应停放在安全平坦的地方 |
1. 应急反应
迅速切断伤害源→判断事故情况→做好自身防护→脱离险境一施救自救→发出求 救信号(报告)。
2. 报告流程
岗位人员应急报告流程如图4-1所示。
图4-1岗位人员应急报告流程
(1) 报告人姓名、部门。
(2) 突发情况或事故发生的时间、地点。
(3) 事故简要经过、人员伤亡情况。
(4) 已采取的措施。
事故报告人向单位报告事故情况后,按指令撤离或实施现场应急处置。
(1) 单位负责人接到报告后,应于1h内向所在地县级人民政府应急管理部门报告。
(2) 情况紧急时,事故现场人员可以直接向所在地县级以上人民政府应急管理部 门报告。
凿岩工在采掘作业过程中,发现冒顶片帮征兆时,应迅速撤离,如无法撤离,应迅 速选择较安全地点进行躲避。
若已出现冒落,应察看受伤人员周边环境,确认无浮石继续冒落情况下,迅速将受 伤人员移至围岩稳固区域,通过应急电话发出求救信号。
若无法通过通信装置与地表取得联系,或报告成功后等待过程中,应采用敲击钢轨、 管道和岩石等方法,发出有规律的呼救信号,并每隔一定时间敲击一次,以便外部人员 得知求救信号,组织力量进行抢救。
若有人员受伤,在不能及时送往医院的等待救援过程中,应按照以下程序开展互救:
(1) 检查受伤者情况。
(2) 体表、肢体伤害处理:①普通体表外伤及时送出地表接受伤口消毒处理;② 大量出血者,应首先采用捆扎方法进行止血;③怀疑有骨折者,尽量避免活动受伤部位, 采用木板、硬纸板等作为临时固定材料进行骨折固定。
(3) 内部器官伤害处理:①怀疑有内部器官伤害,应采用担架等搬运受伤人员, 保持卧位;②一旦出现开放性腹部损伤,用干净纱布、毛巾覆盖伤口。
通过井下通信装置发出求救信号,实施自救互救:
(1) 在进入危险区域前必须佩戴好防毒面具,携带自救器、气体检测仪等防护用 品。
(2) 开启危险区域的局扇,保持良好通风。
(3) 迅速将中毒人员移至新鲜风流处静卧,同时注意保暖。
(4) 若中毒者还没有停止呼吸或心跳时,应清除中毒者口腔、鼻腔内的杂物,使 呼吸道保持畅通,并开启自救呼吸器给中毒者佩戴。
(5) 若中毒者心跳已经停止,应迅速进行心肺复苏。
(1) 透水后,应立即避开出水口和泄水流,迅速撤离到透水地点以上的水平。
行进中,应靠近巷道一侧,抓牢支架或其他固定物体。
(2) 如透水后迷失了方向,应朝着有风流通过的上山或行人天井方向撤退,并 留下行进方向的标志,以提示救护人员注意。
(3) 当被涌水围困无法撤退时,应迅速进入避难硐室避灾,并在硐室外留设明
显标志。
(4) 避灾等待救援期间,应保持情绪稳定,除轮流担任观察的人员外,其他人 均应静卧以减少体力和空气消耗。
(5) 避灾时,应用敲击巷道、岩壁等方法有规律、间断地发出呼救信号。
(1) 事故发生后,要立即停止现场活动,迅速切断机械电源,并高声呼叫求救。
(2) 将伤员放置于平坦的地方,有救护经验的人员应立即对伤员的伤势进行检查, 有针对性地进行紧急救护。
(3) 在进行上述现场处理后,应根据伤员伤情和现场条件迅速转运伤员。如果受 伤人员伤势不重,可采用背、抱、扶的方法将伤员运走。
(4) 如果受伤人员伤势较重,有大腿或脊柱骨折、大出血或休克等情况时,应把 伤员小心地放在担架或木板上抬送。转运时动作要平稳,上、下坡时担架要保持平衡, 不能一头高、一头低。伤员应头在后,这样便于观察伤员情况。
(5) 事故现场没有担架时,可用衣服、绳子、门板等制成简易担架使用。对于脊 柱骨折的伤员,应用硬木板做成的担架抬送,想办法将伤员固定在木板上,以免转运过 程中滚动或跌落。
(6)若伤者心跳已经停止,应迅速进行心肺复苏。
发现有人触电,应立即切断电源或使用绝缘用具使触电者尽快脱离电源,实施自救 与互救。
(1) 如开关箱在附近,可立即拉下开关或拔掉插头,断开电源。
(2) 如距离电源开关较远,应迅速用绝缘良好的电工钳或有干燥木柄的利器砍断 电线,或用干燥的木棒、竹竿、硬塑料管等迅速将电线拔离触电者。
(3) 若现场无任何合适的绝缘物(如橡胶、尼龙、木头等),救护人员可用几层干 燥的衣服将手包裹好,站在干燥的木板上拉触电者的衣服,使其脱离电源。
(4) 对高压触电,应迅速拉下开关,或由有经验的人采取特殊措施切断电源。
2. 救治触电者
(1)对触电后神志清醒者,派专人照顾、观察,情况稳定后方可正常活动。对轻 度昏迷或呼吸微弱者,可针刺或掐人中穴位,并送医院救治。
(2) 对触电后无呼吸但心脏有跳动者,应立即进行人工呼吸;对有呼吸但心脏停 止跳动者,应立即进行胸外心脏按压进行抢救。
(3) 如触电者心跳和呼吸都已停止,则须同时采取人工呼吸和俯卧压背法、仰卧 压胸法、心脏按压法等措施交替进行抢救。
|
确认项目 |
工区确认人员 |
整改情况二次 确认 | ||
|
现场作业人员 |
当班班长 |
安全巡检员 | ||
|
劳动防护用品是否穿戴正确 | ||||
|
交接班日志是否填写完整 | ||||
|
自救呼吸器是否携带至作业面 | ||||
|
便携气体检测仪测定的空气质量是否 达标 | ||||
|
照明是否充足 | ||||
|
局部通风设施是否到位 | ||||
|
浮石是否清理到位 | ||||
|
现场是否文明施工 | ||||
|
顶板有无防护措施 | ||||
|
夹钎器是否良好 | ||||
|
设备状态是否良好 | ||||
|
路面是否平整,有无杂物 | ||||
|
各阀门、密闭是否灵活良好 | ||||
|
各部螺丝是否紧固牢靠 | ||||
|
确认人员签字 | ||||
|
确认时间 | ||||
注:。寸为检查的项目(内容)处于良好安全状态,能够正常作业。
“X”为发现隐患但未进行处理,不允许开展相关作业。
“。”为发现问题需要立即整改,并已经整改。
|
检查内容 |
检查方法或工具 | |
|
— |
整机 | |
|
1 |
外观是否清洁,警示标志是否明显 |
外形观测 |
|
2 |
主要工作性能是否达到额定指标 |
外形观测,检查参数 |
|
3 |
各总成、零部件及附属装置是否齐全、完整;试运转时有无 漏油、异响 |
外形观测 |
|
4 |
钢结构有无变形,主要受力构件的焊缝有无开焊、裂纹,螺 栓连接及销连接是否牢靠 |
外形观测 |
|
二 |
动力系统 | |
|
5 |
柴油机启动、加速性能是否良好,怠速是否平稳 |
静态观测、动态听声 |
|
6 |
运转有无异响,水温、仪表指示数据是否准确,是否符合说 明书规定 |
静态观测、动态听声 |
|
7 |
柴油机曲轴箱内机油量不应过高或过低,宜在机油尺上、下 刻度中间稍上位置 |
静态观测、动态听声 |
|
8 |
空气、柴油、机油滤清器是否清洁,更换滤芯的时间是否符 合说明书规定 |
外形观测 |
|
9 |
水箱内外是否清洁,是否定期清洗 |
外形观测 |
|
10 |
当水温超过固定值时,节温装置能否自动打开 |
外形观测 |
|
11 |
风扇皮带是否松紧适度 |
外形观测 |
|
12 |
电气线路、油管管路是否排列整齐,卡固是否牢靠 |
外形观测 |
|
13 |
柴油机负荷调节器(调速器)是否配合合理;配置电动机运 行是否正常,有无异响及过热 |
静态观测、动态听声 |
|
三 |
液压系统 | |
|
14 |
各部液压元件是否齐全完好 |
外形观测 |
|
15 |
系统是否设置防止过载和液压冲击的安全装置,溢流阀工作 是否可靠,系统工作压力是否超过液压泵的额定压力 |
外形观测 |
|
16 |
液压缸的平衡阀和液压锁工作是否可靠 |
外形观测 |
|
17 |
液压管路连接是否可靠,有无渗漏 |
外形观测 |
|
18 |
液压油的型号、油质及油量是否符合要求,油压、油温是否 |
外形观测 |
|
序号 |
检查内容 |
检查方法或工具 |
|
正常 | ||
|
-四- |
电气装置 | |
|
19 |
配电柜内电缆是否连接牢靠,工作时温度是否正常 |
外形观测 |
|
20 |
电气设备能否控制准确可靠。在紧急情况下能否切断电源、 安全停车,各工作部分能否立即停止工作并停止在安全位置 |
动态试验 |
|
21 |
电器连接是否牢靠,有无松脱;导线、线束卡固是否牢靠 |
外形观测 |
|
22 |
各种仪表、照明、信号、喇叭、音响是否齐全有效 |
动态试验 |
|
23 |
电瓶是否清洁,固定牢靠。免维护电瓶的标志是否符合规定 |
外形观测 |
|
24 |
传感器接线是否可靠,表面有无污水和污渍,防护措施是否 完好 |
外形观测 |
|
25 |
控制面板能否始终正确显示岀设备的运行状态,发生异常时 能否清楚地显示岀其信息。面板上的按钮与旋钮动作是否灵 敏可靠 |
动态试验 |
|
26 |
各项检测设备工作是否正常 |
动态试验 |
|
-五- |
凿岩机 | |
|
27 |
各螺栓连接(凿岩机拉紧螺栓和安装螺栓,蓄能器螺栓,阀 盖螺栓等)是否牢靠紧固,有无松动 |
扭力扳手 |
|
28 |
各软管接头连接是否牢固,有无泄漏 |
外形观测 |
|
29 |
冲洗水压和润滑空气压力是否正常 |
外形观测 |
|
30 |
润滑器的润滑油是否足够,供油量是否适量 |
外形观测 |
|
31 |
钎尾接头是否完好,有无断裂 |
外形观测 |
|
32 |
蓄能器充气压力是否符合说明书的要求,隔膜有无破损 |
外形观测 |
|
六 |
推进器 | |
|
33 |
凿岩机在滑架上能否沿推进器的全长滑动,润滑是否良好 |
外形观测 |
|
34 |
推进器延伸油缸动作是否准确、快慢适度,有无泄漏 |
外形观测 |
|
35 |
钻杆衬套磨损是否符合规定,支架连接是否紧固,钻杆有无 弯曲变形;螺纹有无严重磨损。工作时是否导向良好,有无 摆动 |
外形观测、动态试验 |
|
36 |
软管有无老化、破损 |
外形观测 |
|
-七- |
钻W | |
|
37 |
液压缸有无跳动 |
外形观测 |
|
序号 |
检查内容 |
检查方法或工具 |
|
38 |
液压泵有无噪声、跳动 |
静态观测、动态听声 |
|
39 |
钻臂是否保持垂直面内的平行度 |
外形观测 |
|
40 |
钻臂工作是否平稳,各项动作是否灵敏准确 |
外形观测 |
|
-八- |
行走机构 | |
|
41 |
对于轮胎式凿岩台车,轮胎有无裂纹、变形;轮毂是否转动 灵活,有无异响。轮胎气压是否符合说明书规定,轮胎螺栓 和螺母是否齐全、紧固 |
外形观测,检查参数 |
|
42 |
车轮有无偏摆 |
外形观测 |
|
43 |
支腿是否稳定可靠 |
外形观测 |
|
44 |
对于轮轨式凿岩台车,轨道是否铺设平稳、线路平顺,铺设 的钢轨型号与台车行走机构是否匹配,止轮设施是否齐全 |
外形观测,动态试验 |
2. 《凿岩机械与气动工具 安全要求》(GB 17957—2005)
3. 《凿岩机械与气动工具 噪声限值》(GB 19872—2005)
4. 《凿岩机械与便携式动力工具 术语 第1部分:凿岩机械、气动工具和气动机
械》(GB/T 6247.1—2013)
5. 《凿岩机械与便携式动力工具 术语 第2部分:液压工具》(GB/T 6247.2—2013)
6. 《凿岩机械与便携式动力工具 术语 第3部分:零部件与机构》(GB/T 6247.3—
2013)
7. 《气腿式凿岩机》(JB/T 1674—2014)
名称
设置范围和地点
严禁酒后入井 井口
禁止入内
井下封闭区、盲巷、废 弃巷道及禁止人员入 内的地点
禁止井下睡觉
采掘作业区
禁止扒、蹬、跳人车
斜井
|
编号 |
图形 |
名称 |
设置范围和地点 |
|
5 |
禁止蹬钩 |
串车提升斜井上下口 | |
|
6 |
禁止车间乘人 |
串车提升斜井上下口 | |
|
mW | |||
|
7 |
禁止井下随意拆卸、敲打、撞击 矿灯 |
采掘作业面 | |
|
8 |
A |
当心冒顶 |
采掘作业面 |
|
编号 |
图形 |
名称 |
设置范围和地点 |
|
9 |
当心水灾 |
采掘作业面 | |
|
10 |
当心有害气体中毒 |
采掘作业面 | |
|
11 |
▲ |
当心触电 |
采掘作业面 |
|
12 |
A |
当心机械伤人 |
凿岩台车、凿岩机 |
|
13 |
A |
当心坠落 |
天井、竖井凿岩作业面 |
|
编号 |
图形 |
名称 |
设置范围和地点 |
|
14 |
區 |
当心爆炸 |
采掘作业面 |
|
15 |
必须戴矿工帽 |
采场、井口 | |
|
16 |
≡ |
必须随身携带自救器 |
入井口处、更衣室、领 自救器房等醒目地方 |
|
17 |
© |
必须携带矿灯 |
井口 |
|
18 |
必须戴防尘口罩 |
采掘作业面 |
|
编号 |
图形 |
名称 |
设置范围和地点 |
|
19 |
0 |
注意通风 |
采掘作业面 |
|
20 |
安全岀口 |
各条巷道通向安全岀 口的路线 | |
|
21 |
∏ |
躲避硐室 |
井下通往躲避硐室的 通道及躲避硐室入口 处 |
A.矿体倾角 B.采矿方法 C.采场运搬设备 D.采场生产能力
2. 金属矿山开采时,下面不属于回采工作主要作业的是()。
A.落矿 B.矿石运搬 C.地压管理 D.二次破碎
3. 关于采空区处理论述不正确的是()。
A. 崩落围岩处理采空区可分为自然崩落和强制崩落两种方式
B. 充填采空区可以有效缓解或阻止围岩变形,以保持其稳定,同时为回采矿柱创造 了良好的条件
C. 充填采空区与充填采矿法在充填工艺上的要求是一致的,并没有区别
D. 通常用封闭法处理采空区,上部覆岩应允许崩落,否则不能采用
4. 地下矿山开采的八大系统是指()。
A. 运输、提升、人行、通风、排水、供风、供电、充填
B. 运输、提升、人行、通风、通信、供水、供电、充填
C. 运输、提升、人行、通风、供水、供风、供电、排水
D. 开拓、提升运输、通风、供电、供气、供水、排水、充填
5. 急倾斜薄矿体采用浅孔留矿法开采时,矿石借助自重由采场经放矿口直接放出,所 采用的矿石运搬方式是()。
|
A.机械运搬 C.重力运搬 |
B.无轨设备运搬 D.爆力运搬 |
|
6.下面矿石不属于黑色金属矿石的是()。 | |
|
A.铁矿石 |
B.铜矿石 C.锰矿石 D.铬矿石 |
|
7.金属矿山凿岩中, |
掏槽眼的深度比其他炮眼深()mm。 |
|
A.100~150 |
B. 200~300 C.300~400 D.500~600 |
8.根据《有色金属采矿设计规范》对三级储量保有期限的规定,地下开采矿山开拓储
|
量要求保有期限为()年。 | ||||
|
A. 0.5~1 B.1~3 |
C. |
3~5 |
D. 5~10 | |
|
9. |
中等稳固岩层允许暴露的面积是 |
( |
)m2。 | |
|
A .<50 B.50~200 |
C. |
200~500 |
D.500~800 |
10. 《安全生产法》规定,未经()合格的从业人员,不得上岗作业。
A.基础知识教育 B.安全生产教育和培训 C.技术培训 D.理论培训
11. 从业人员有权对本单位安全生产工作中存在的问题提出批评、()、控告;有权 拒绝违章指挥和强令冒险作业。
A.起诉 B.检举 C.仲裁 D.罢工
12. 新进矿山的井下作业职工,接受教育培训的时间不得少于()h。
A.20 B.50 C.72 D.36
13. 非煤矿山等生产经营单位从业人员每年接受再培训的时间不得少于()学时。
A.10 B.20 C.30 D.40
14. 因生产安全事故受到损害的从业人员,除依法享有()夕卜,依照有关民事法律尚 有获得赔偿权利的,有权向本单位提出赔偿要求。
A.工伤保险 B.医疗保险 C.失业保险 D.养老保险
15. ()对本岗位的安全生产负直接责任。
A.岗位工人 B.班组长 C.职能机构负责人 D.其他负责人
16. 依据《工伤保险条例》的规定,职工发生事故伤害或者按《职业病防治法》规定被 诊断、鉴定为职业病的,所在单位应当自事故伤害发生之日或者被诊断、鉴定为职 业病之日起()日内,向统筹地区社会保险行政部门提出工伤认定申请。
A.10 B.15 C.30 D.60
17. 根据《劳动合同法》,下列关于解除劳动合同的说法中,正确的是()。
A. 用人单位未按照劳动合同约定提供劳动保护或劳动条件的,劳动者提前3日以书 面形式通知用人单位,可以解除劳动合同
B. 用人单位的规章制度违反法律、法规的规定,损害劳动者权益的,劳动者在试用 期内提前30日通知用人单位,可以解除劳动合同
C. 用人单位以暴力、威胁手段强迫劳动者劳动的,或者用人单位违章指挥,强令冒 险作业危及劳动者人身安全的,劳动者可以立即解除劳动合同,不必事先告知用人单位
D. 劳动者非因工负伤,在规定的医疗期满后不能从事原工作,也不能从事由用人单 位另行安排的工作的,用人单位提前3日以书面形式通知劳动者本人后,可以解除劳动 合同
18. 根据《劳动合同法》,用人单位自用工之日起超过1个月不满1年未与劳动者订立
书面劳动合同的,应当向劳动者每月支付()。
A. 1倍工资 B. 2倍工资 C. 3倍工资 D. 4倍工资
19. 《劳动法》规定,用人单位必须为劳动者提供符合国家规定的劳动安全卫生条件和 必要的()。
A.劳动防护费用 B.劳动安全补贴
C.劳动防护用品 D.劳动安全保障
20. 劳动防护用品使用前应首先做一次()检查。
A.质量 B.数量 C.外观 D.合格
21. 三级安全教育指()三级。
A. 企业法定代表人、项目负责人、班组长
B. 公司、车间、班组
C. 总包单位、分包单位、工程项目
D. 车间、班组、岗位
22. 事故的直接原因是指机械、物质或环境的不安全状态和()。
A. 没有安全操作规程或不健全
B. 人的不安全行为
C. 劳动组织不合理
D. 对现场工作缺乏检查或指导错误
23. 每个矿井至少有()个独立的直达地面的安全出口。
A. — B.两 C.三 D.四
24. 劳动者对用人单位管理人员违章指挥、强令冒险作业,有权()。
A.批评 B.检举 C.控告 D.拒绝执行
25. 在竖井、天井、溜井和漏斗口上方作业,作业人员应系安全带,作业时应()。
A.独立作业 B.设专人监护 C.不用监护 D.自行决定是否需要监护
26. 国家对严重危及生产安全的工艺、设备实行( )。
A.淘汰制度 B.废除制度 C.严惩制度 D.保护制度
27. 保养设备必须在停机后进行,( )在运转中进行维修保养或加油。
A.可以 B.允许 C.严禁 D.偶尔
28. 由井筒下放风水绳时,以下做法正确的是()。
A.靠近井壁拉放
B. 迅速下放,速度越快越好
C. 当风水绳接近工作面时,减慢下放速度
D. 井筒中间位置,匀速下放
29. 凿岩时,凿岩工应站在凿岩机( )。
A.正面 B.侧面 C.后面 D.前面都不是
30. 开钻时先开()后开(),停钻时先关()后关()。
A.水、风,风、水 B.风、水,水、风
C.水、风,水、风 D.风、水,风、水
31. 凿岩台车行驶中,以下做法正确的是()。
A. 注意观察仪表盘上的指示灯,发现问题立即采取措施
B. 台车出现气味、温度、声音异常,坚持到作业完成进行查看
C. 在行驶中挂倒退挡位
D. 选择最近路线,快速行驶至作业面
32. 天井凿岩时,上下要取得联系,运输设备、工具、材料要有可靠的()措施, 不准从上向下抛掷东西。
A.安全 B.计划 C.施工 D.保障
33. 采掘作业面工作照明所需电压,应使用()V以下的安全电压。
34. 同向凿岩时,距离小于( )m只准一头打孔。
35. 异向凿岩时,( )m内爆破,另一头人员必须撤出。
A.0.15 B.0.25 C.0.5 D.0.35
A.注水防尘 B.湿式作业 C.通风除尘 D.环境湿度
39. 矿山粉尘浓度的测定方法主要是()。
A.滤膜测尘法 B.焦磷酸质量法 C.红外分光分析法 D.光散射法
40. 对于地质条件复杂的矿山,在接近水体而又有断层通过的地区或与水体有联系的可 疑地段,必须坚持()的原则。
A.先米后探 B.边米边探
C.预测预报、有疑必探、先探后掘、先治后采 D.安全第一
41. 将伤员转运时,应让伤员的头部在(),救护人员要时刻注意伤员的面色、呼吸、 脉搏,必要时及时抢救。
A.前面 B.后面 C.前面、后面无所谓 D.侧面
42. 发生水灾后,当出水量很大,现场人员必须按照()进行撤离。
A.人多一起走B.避灾路线 C.沿就近出口出去 D.上坡方向
43. 井下一旦发生电气火灾,首先应该( )。
A.切断电源灭火 B.迅速汇报 C.迅速撤离 D.呼救
44. 发生透水事故后,井下排水设备()。
A停止运行 B.必须正常运行 C.撤出设备 D.保持现状
45. 工作面发生较大突水、水势很猛时应()。
A. 组织人员,将水源堵住
B. 避开水头、沿避灾路线撤离到上一水平或地面
C. 顺着水流撤离
D. 组织抽排水
46. 发生中毒窒息事故后,以下应急措施错误的是()。
A. 通过井下通信电话发出求救信号
B. 为节约时间,来不及穿戴防毒面具立即进入危险区域抢救伤员
C. 必须戴上防毒面具、自救器等防护用品后进入危险区
D. 迅速撤离至安全地点
1~5 ADCDC
16~20 CCBCC
31~35 AACCB
6~10 BBCBB
21~25 BBBDB
36~40 BBCAC
11~15 BCBAA
26~30 ACCBA
41~46 BBABBB
44